|
|
(21), (22) Заявка: 2009105436/02, 18.02.2009
(24) Дата начала отсчета срока действия патента:
18.02.2009
(46) Опубликовано: 20.08.2010
(56) Список документов, цитированных в отчете о поиске:
RU 2229091 C2, 20.05.2004. RU 2110039 C1, 27.04.1998. RU 2199079 C2, 20.02.2003. US 5297491 A, 29.03.1994. FR 2340531 A1, 02.09.1977.
Адрес для переписки:
630071, г.Новосибирск, ул. Стационарная, 60/1, ФГУП “Сибтекстильмаш. Спецтехника.Сервис”
|
(72) Автор(ы):
Канцлер Павел Васильевич (RU), Носов Владимир Иванович (RU)
(73) Патентообладатель(и):
Федеральное Государственное унитарное предприятие “Сибтекстильмаш. Спецтехника. Сервис” (RU)
|
(54) ГИЛЬЗА ДЛЯ МЕТАТЕЛЬНОГО ЗАРЯДА
(57) Реферат:
Изобретение относится к боеприпасам раздельного и унитарного заряжания. В гильзе дно сопряжено с корпусом по радиусу 0,03-0,25 от максимального наружного диаметра корпуса, толщина стенки дульца равна 0,21-0,96 толщины стенки корпуса в месте перехода образующей внутренней поверхности корпуса в дно, а наружный диаметр дульца равен 0,73-0,98 максимального наружного диаметра корпуса. Обеспечивается работа гильзы при давлении более 400 МПа с надежной обтюрацией пороховых газов при выстреле и необходимой прочностью и экстракцией. 7 з.п. ф-лы, 2 ил.
Изобретение относится к боеприпасам, в частности к конструкции сборных артиллерийских гильз с пластмассовым корпусом, и может найти широкое применение при производстве артиллерийских выстрелов раздельно-гильзового и унитарного заряжания.
В настоящее время ведутся работы по совершенствованию артиллерийских выстрелов в направлении увеличения дальности и улучшения кучности стрельбы, повышения эксплуатационных характеристик.
В связи с этим к артиллерийским гильзам предъявляются повышенные требования по обеспечению прочности корпуса и надежной обтюрации гильзой пороховых газов при выстреле.
Особенность этих гильз состоит в том, что они применяются для комплектации выстрелов к мощным орудиям крупных калибров, работающих при высоких давлениях.
Известна гильза (см. П.П.Пущин. Орудийные гильзы. – М.: ГИОП, 1941, с.10), состоящая из дульца, ската, корпуса, фланца, гнезда под средство воспламенения и плоского дна.
Такие гильзы нашли широкое применение для артиллерийских систем унитарного заряжания малых калибров, главным образом к автоматическим пушкам.
Недостатком этого технического решения является сложность изготовления гильз такого типа для выстрелов к мощным артиллерийским орудиям, имеющим зарядную камору большого объема и работающим при высоких рабочих давлениях.
Для установки средства воспламенения, соответствующего метательному заряду, требуется гнездо значительных параметров, вследствие чего плоское дно гильзы будет иметь толщину, превышающую расчетную по прочностным свойствам в 2,0-2,5 раза, что влечет за собой увеличение массы гильзы и значительный расход материалов, идущих на ее изготовление.
Задачей данного технического решения являлось создание гильзы для выстрелов к артиллерийским системам калибра не более 30 мм и рабочим давлением до 300 МПа (3000 кгс/см2) без предъявления требования по функционированию в орудиях более крупных калибров и давлениях свыше 300 МПа.
Общими признаками с предлагаемой конструкцией артиллерийской гильзы является наличие корпуса, фланца, резьбового гнезда под средство воспламенения, дна и дульца.
Наиболее близкой по технической сути и достигаемому техническому результату является гильза для метательного заряда, содержащая корпус, дульце, дно, сопряженное с корпусом по радиусу, выполненному равным 0,03-0,25 максимального наружного диаметра корпуса, резьбовое гнездо под средство воспламенения, фланец и сосок (патент РФ 2229091, опубл. 20.05.2004 г., БИ 14), принятая авторами за прототип.
Как видно из этого технического решения, выполнение радиуса сопряжения дна с корпусом, равным 0,03-0,25 максимального наружного диаметра корпуса, позволяет использовать данные гильзы в артиллерийских орудиях с давлением более 300 МПа, но до 400 МПа.
К причинам, препятствующим достижению указанного технического результата при использовании известной гильзы для метательного заряда, принятой авторами за прототип, относится то, что в гильзах к артиллерийским системам больших калибров и максимальным рабочим давлением 400 МПа и выше не обеспечивается заданная обтюрация гильзой пороховых газов при выстреле.
Общими признаками с предлагаемой авторами конструкцией гильзы для метательного заряда является наличие корпуса, дульца, дна, сопряженного с корпусом по радиусу, равному 0,03-0,25 максимального наружного диаметра корпуса, резьбового гнезда под средство воспламенения, фланца и соска.
В отличие от прототипа в предлагаемой авторами гильзе для метательного заряда дульце выполнено с толщиной стенки, равной 0,21-0,96 толщины стенки, корпуса в месте перехода образующей поверхности корпуса в дно, а наружный диаметр дульца выполнен равным 0,73-0,98 максимального наружного диаметра корпуса.
В частных случаях, то есть в конкретных формах исполнения, изобретение характеризуется следующими признаками:
– на наружной поверхности корпуса со стороны фланца выполнен цилиндрический участок, а расстояние от фланца до конца цилиндрического участка выполнено равным 0,25-3,1 радиуса сопряжения дна с корпусом;
– резьбовое гнедо под средство воспламенения выполнено со средним диаметром резьбы, равным 0,11-0,34 максимального наружного диаметра корпуса;
– высота соска выполнена равной 1,5-4,0 толщины дна;
– диаметр фланца выполнен не более максимального наружного диаметра корпуса;
– гильза выполнена из латуни;
– гильза выполнена из стали;
– гильза снабжена защитным антикоррозионным покрытием.
Именно это позволяет сделать вывод о наличии причинно-следственной связи между совокупностью существенных признаков заявляемого технического решения и достигаемым техническим результатом.
Указанные признаки, отличительные от прототипа и на которые распространяется испрашиваемый объем правовой охраны, во всех случаях достаточны.
Задачей предлагаемого изобретения является создание гильзы для метательного заряд, работающей при рабочем давлении свыше 400 МПа с обеспечением заданной обтюрации пороховых газов при выстреле.
Указанный технический результат при осуществлении изобретения достигается тем, что в известной гильзе для метательного заряда, содержащей корпус, дульце, дно, сопряженное с корпусом по радиусу, выполненному равным 0,03-0,25 максимального наружного диаметра корпуса, резьбовое гнездо под средство воспламенения, фланец и сосок, особенность заключается в том, что дульце выполнено с толщиной стенки, равной 0,21-0,96 толщины стенки корпуса в месте перехода образующей внутренней поверхности корпуса в дно, а наружный диаметр дульца выполнен равным 0,73-0,98 максимального наружного диаметра корпуса.
Новая совокупность конструктивных элементов, а также наличие связей между ними, позволяют в частности за счет:
– выполнения толщины стенки дульца, равной 0,21-0,96 толщины стенки корпуса в месте перехода образующей внутренней поверхности корпуса в дно, обеспечить необходимую обтюрацию гильзой пороховых газов и прочность корпуса гильзы при выстреле. Обтюрация осуществляется вследствие того, что под давлением пороховых газов происходит упругопластическое расширение гильзы, которое приводит к выбору зазора между каморой и гильзой. При толщине стенки корпуса менее 0,21 толщины стенки корпуса в месте перехода образующей внутренней поверхности корпуса в дно при воспламенении метательного заряда в гильзе металл в сечениях дульца под действием давления пороховых газов деформируется в радиальном направлении. С ростом давления пропорционально растет радиальная деформация и, соответственно, напряжения в этих сечениях. При превышении радиальных напряжений предела прочности металла происходит разрушение стенки дульца с образованием продольных трещин и прорывом пороховых газов, имеющих в своем составе до 40% токсичного газа – окиси углерода (CO), между гильзой и каморой орудия. Попадание указанных газов в боевое отделение танка, БМП или САО ведет к снижению условий жизнедеятельности и работы орудийных расчетов. При толщине стенки дульца более 0,96 толщины стенки корпуса в месте перехода образующей внутренней поверхности корпуса в дно при низких давлениях пороховых газов деформации дульца в радиальном направлении недостаточно для прижатия стенок дульца к каморе орудия и тем самым обеспечения обтюрации;
– выполнение наружного диаметра дульца, равным 0,73-0,98 максимального наружного диаметра корпуса, обеспечить обтюрацию и экстракцию, то есть извлечение стреляной гильзы из каморы полуавтоматикой орудия. При наружном диаметре дульца менее 0,73 максимального наружного диаметра корпуса время деформации стенок дульца до прижатия их к каморе больше, чем время прохождения потока пороховых газов по зазору между гильзой и каморой, вследствие чего происходит прорыв пороховых газов за казенный срез. При наружном диаметре дульца более 0,98 максимального наружного диаметра корпуса после выстрела дульце гильзы вследствие остаточных деформаций оказывается плотно прижатым к стенкам каморы и стреляная гильза не экстрактируется из каморы орудия.
Признаки, характеризующие изобретение в конкретных формах исполнения, позволяют, в частности, за счет:
– выполнения на наружной поверхности корпуса со стороны фланца цилиндрического участка на расстоянии от фланца до конца цилиндрического участка, равном 0,25-3,1 радиуса сопряжения дна с корпусом, обеспечить гарантированную экстракцию гильзы. При расстоянии от фланца до конца цилиндрического участка менее 0,25 радиуса сопряжения дна с корпусом не создается достаточного зазора между гильзой и каморой, чтобы в полной мере использовать упрочнение гильзы в процессе выстрела для снижения конечных натягов. При расстоянии от фланца до конца цилиндрического участка более 3,1 радиуса сопряжения дна с корпусом создается увеличенный зазор внизу корпуса, а чрезмерное увеличение начального зазора не приводит к снижению конечного натяга, так как в этом сечении из-за повышенных радиально-осевых деформаций превышается предел текучести металла корпуса и пластические деформации корпуса осуществляются без его упрочнения;
– выполнения среднего диаметра резьбы, равным 0,11-0,34 максимального диаметра корпуса, обеспечить прочность дна при выстреле и надежную экстракцию. При среднем диаметре резьбы менее 0,11 максимального диаметра корпуса при стрельбе с высокими рабочими давлениями нарушается целостность резьбы, ухудшается плотность прилегания витков резьбового соединения «гнездо-средство воспламенения», что ведет к прорыву пороховых газов за казенный срез орудия. При среднем диаметре резьбы более 0,34 максимального диаметра корпуса ухудшается плотность прилегания витков, что также приводит к прорыву пороховых газов;
– выполнения высоты соска, равной 1,5-4,0 толщины дна, обеспечить необходимую прочность дна гильзы при выстреле и ее надежную экстракцию. При высоте соска менее 1,5 толщины дна происходит резкий рост усилия защемления гильзы в каморе и ухудшение ее экстракции полуавтоматикой орудия. При высоте соска более 4,0 толщины дна прогибающие напряжения значительно превышают прочностные характеристики, что приводит к образования кольцевых надрывов, трещин и прорыву пороховых газов;
– выполнения диаметра фланца не более максимального наружного диаметра корпуса обеспечить автоматическую подачу выстрела из звеньевой ленты. При диаметре фланца более наружного диаметра корпуса усложняется подача патронов в камору автоматических орудий вследствие возможных утыканий выступающего фланца в элементы механизма подачи и заряжания;
– выполнение артиллерийских гильз из латуни или стали позволяет расширить сырьевую производственную базу и изготавливать изделия, наиболее полно удовлетворяющие предъявляемым требованиям;
– нанесение на гильзу защитного антикоррозионного покрытия позволяет обеспечить защиту от воздействия коррозии в процессе хранения и эксплуатации.
Вышеуказанные признаки, отличающие предлагаемое техническое решение от прототипа, не выявлены в других технических решениях и не известны из уровня техники в процессе проведения патентных исследований, что позволяет сделать вывод о соответствии изобретения критерию «новизна».
Исследуя уровень техники в ходе проведения патентного поиска по всем видам сведений, доступных в странах бывшего СССР и зарубежных странах, обнаружено, что предлагаемое техническое решение явным образом не следует из известного на сегодня уровня техники, следовательно, можно сделать вывод о соответствии критерию «изобретательский уровень».
Сущность изобретения заключается в том, что гильза для метательного заряда содержит корпус, дульце, дно, сопряженное с корпусом по радиусу, выполненному равным 0,03-0,25 максимального наружного диаметра корпуса, резьбовое гнездо под средство воспламенения, фланец и сосок, особенность заключается в том, что дульце выполнено с толщиной стенки, равной 0,21-0,96 толщины стенки корпуса в месте перехода образующей внутренней поверхности корпуса в дно, а наружный диаметр дульца выполнен равным 0,73-0,98 максимального наружного диаметра корпуса.
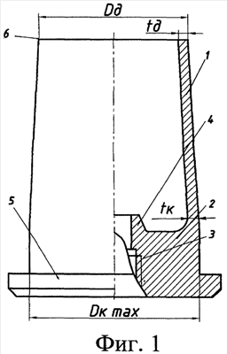
Сущность предлагаемого изобретения поясняется чертежами, где на фиг.1 представлена гильза для метательного заряда, на фиг.2 показан вариант исполнения гильзы для метательного заряда.
Предлагаемая гильза для метательного заряда состоит из корпуса 1, дна 2, резьбового гнезда под средство воспламенения 3, соска 4, фланца 5, дульца 6, где Dк max – максимальный наружный диаметр корпуса, tк – толщина стенки корпуса в месте перехода образующей внутренней поверхности корпуса в дно, Dд – наружный диаметр дульца, – толщина стенки дульца.
В частных случаях, то есть в конкретных формах исполнения в гильзе на наружной поверхности со стороны фланца, выполнен цилиндрический участок длиной – l, толщина дна – Тд, высота соска – Hс, средний диаметр резьбы гнезда под средство воспламенения – dср, диаметр фланца – Dф, максимальный диаметр корпуса – Dк max, R – радиус сопряжения дна с корпусом.
Вышеописанное устройство работает следующим образом.
Гильзу с метательным зарядом досылают в камору орудия. После срабатывания средства воспламенения, размещенного в гнезде 3, происходит воспламенение и сгорание метательного заряда. При этом давление пороховых газов воздействует на стенки дульца гильзы, которые, деформируясь, прижимаются к каморе орудия и обеспечивают надежную обтюрацию. После произведения выстрела стенки дульца в результате упругих деформаций обеспечивают зазор и, тем самым, нормальное извлечение стреляной гильзы.
Выполнение гильзы для метательного заряда в соответствии с изобретением позволяет создать гильзу, работающую при давлении более 400 МПа, имеющую гарантируемую обтюрацию пороховых газов с необходимой прочностью корпуса и надежной экстракцией стреляной гильзы полуавтоматикой орудия.
Изобретение может быть использовано при разработке боеприпасов различного назначения и калибров.
Указанный положительный эффект подтвержден испытаниями опытных образцов гильз для метательного заряда, выполненных в соответствии с изобретением.
В настоящее время разработана конструкторская документация, проведены испытания, намечено серийное производство.
Формула изобретения
1. Гильза для метательного заряда, содержащая корпус, дульце, дно, сопряженное с корпусом по радиусу, равному 0,03-0,25 максимального наружного диаметра корпуса, резьбовое гнездо под средство воспламенения, фланец и сосок, отличающаяся тем, что толщина стенки дульца равна 0,21-0,96 толщины стенки корпуса в месте перехода образующей внутренней поверхности корпуса в дно, а наружный диаметр дульца равен 0,73-0,98 максимального наружного диаметра корпуса.
2. Гильза по п.1, отличающаяся тем, что на наружной поверхности корпуса со стороны фланца выполнен цилиндрический участок, при этом расстояние от фланца до конца цилиндрического участка равно 0,25-0,31 радиуса сопряжения дна с корпусом.
3. Гильза по п.1, отличающаяся тем, что резьбовое гнездо под средство воспламенения выполнено со средним диаметром резьбы, равным 0,11-0,34 максимального наружного диаметра корпуса.
4. Гильза по п.1, отличающаяся тем, что высота соска равна 1,5-4,0 толщины дна.
5. Гильза по п.1, отличающаяся тем, что диаметр фланца выполнен не более максимального наружного диаметра корпуса.
6. Гильза по п.1, отличающаяся тем, что она выполнена из латуни.
7. Гильза по п.1, отличающаяся тем, что она выполнена из стали.
8. Гильза по п.1, отличающаяся тем, что она выполнена с защитным антифрикционным покрытием.
РИСУНКИ
|
|