|
|
(21), (22) Заявка: 2009118682/02, 18.05.2009
(24) Дата начала отсчета срока действия патента:
18.05.2009
(46) Опубликовано: 20.08.2010
(56) Список документов, цитированных в отчете о поиске:
RU 2147719 С1, 20.04.2000. FR 2625800 В1, 06.07.1990. RU 2296937 C1, 10.04.2007. RU 2285222 C2, 10.10.2006. RU 2147719 C1, 20.04.2000.
Адрес для переписки:
141371, Московская обл., г. Хотьково, ул. Заводская, ОАО ЦНИИСМ, патентное бюро
|
(72) Автор(ы):
Яиков Вячеслав Петрович (RU), Барынин Вячеслав Александрович (RU), Макаровец Николай Александрович (RU), Кульков Александр Алексеевич (RU), Плотников Владимир Иванович (RU), Плотников Роман Владимирович (RU), Пухов Андрей Аркадьевич (RU), Аляжединов Вадим Рашитович (RU)
(73) Патентообладатель(и):
Открытое акционерное общество Центральный научно-исследовательский институт специального машиностроения (RU)
|
(54) ПУСКОВАЯ ТРУБА РАКЕТНОЙ ПУСКОВОЙ УСТАНОВКИ
(57) Реферат:
Изобретение относится к области машиностроения, в частности к устройствам для запуска ракет, и может быть использовано для изготовления контейнеров или пусковых труб преимущественно герметичного исполнения. Пусковая труба 1 ракетной пусковой установки 2 содержит силовую оболочку 3, стакан 4 с наружным диском 5, выполненный из эластомера, плотно насаженный на силовую оболочку 3 снаружи до упора его дна в ее торец и обжатый хомутом 6. В зоне 7 хомута 6 на наружной поверхности 8 силовой оболочки 3 выполнена канавка 9. В канавку 9 посредством проволочных скоб 10 вдавлен стакан 4. Скобы 10 установлены между хомутом 6 и стаканом 4, изогнуты дугой по радиусу r внутренней поверхности хомута 6 и снабжены на концах загибами 11, вставленными в отверстия 12 хомута. Отверстия как минимум для одной скобы 10, перекрывающей зону стыка 13 хомута 6, выполнены в виде щелей. Изобретение обеспечивает повышение надежности пусковой трубы. 2 з.п. ф-лы, 4 ил.
Изобретение относится к области машиностроения, к устройствам для запуска ракет и может быть использовано для изготовления контейнеров или пусковых труб преимущественно герметичного исполнения.
Известна пусковая труба ракетной пусковой установки по заявке Франции 2625800 от 13.07.1989 г., МКП F41F 3/04.
Также известна пусковая труба ракетной пусковой установки по патенту RU 2147719 от 18.06.1999, МКП F41F 3/042, содержащая силовую оболочку, выполненный из эластомера стакан с наружным диском, плотно насаженный на силовую оболочку снаружи до упора его дна в ее торец и обжатый хомутом.
Известная пусковая труба как наиболее близкая по технической сущности и достигаемому результату выбрана в качестве прототипа.
Недостатком известной пусковой трубы является низкая надежность работы ее торцевого уплотнения из-за низкой герметизации в зоне стыка хомута, из-за низкой оптимизации усилия вышибания уплотнения, определяемого избыточным давлением в полости трубы, нижний предел которого определяется обеспечением работы в условиях пониженного атмосферного давления (в условиях авиатранспортирования без герметизации салона), а верхний – минимизацией отдачи при пуске (минимальным эффектом отдачи при пуске из «глухого» ствола), а также из-за сложного контроля степени затяжки хомута и ее регулировки для обеспечения перечисленных условий работы.
Технической задачей, на решение которой направлено заявляемое изобретение, является разработка пусковой трубы повышенной надежности работы.
Технический результат, который может быть получен при решении технической задачи, заключается в повышении надежности работы торцевого уплотнения трубы за счет повышения герметизации в зоне стыка хомута при увеличении равномерности контактного давления по герметизирующим поверхностям, а также за счет обеспечения заданного усилия вышибания уплотнения и возможности его регулировки.
Поставленная задача с достижением технического результата решается тем, что пусковая труба ракетной пусковой установки содержит силовую оболочку, выполненный из эластомера стакан с наружным диском, плотно насаженный на силовую оболочку снаружи до упора его дна в ее торец и обжатый хомутом, а в соответствии с изобретением в зоне установки хомута на наружной поверхности силовой оболочки выполнена канавка, в которую проволочными скобами вдавлен эластомер стакана, при этом скобы установлены между хомутом и стаканом, изогнуты дугой по радиусу внутренней поверхности хомута и снабжены на концах загибами, вставленными в отверстия хомута, а отверстия для как минимум одной скобы, перекрывающей зону стыка хомута, выполнены в виде щелей длиной, превышающей ход сближения элементов хомута при его затяжке, причем скоба расположена в секторе 20 40°, а стакан выполнен из резины, с высотой стенки размером
b=(0,05-0,08)D, где
D – калибр трубы, мм,
толщиной
s=(0,25-0,5)b,
при этом канавка наружной поверхности силовой оболочки выполнена глубиной
h=(0,2-0,45)s,
проволока скобы выполнена диаметром сечения
d=(0,6-2,5)h.
Отличительными признаками являются следующие признаки:
– в зоне установки хомута на наружной поверхности силовой оболочки выполнена канавка – признак соответствует изобретательскому уровню, предусматривает наличие новых элементов, направлен на решение поставленной задачи с достижением технического результата, на повышение надежности работы торцевого уплотнения трубы за счет повышения герметизации при создании лабиринта герметизирующими поверхностями, а также за счет оптимизации усилия вышибания уплотнения, так как это усилие обеспечено не столько трением контактных поверхностей, зависящих от степени затяжки хомута, как в известной конструкции, сколько наличием конструктивного элемента – ступеньки канавки;
– в которую проволочными скобами вдавлен эластомер стакана – признак предусматривает наличие новых элементов, их новую взаимосвязь, направлен на решение поставленной задачи с достижением технического результата, на повышение надежности работы торцевого уплотнения трубы за счет повышения герметизации при увеличении контактного давления герметизирующих элементов в зоне стыка хомута, а также за счет оптимизации усилия вышибания уплотнения взаимодействием новых элементов – ступеньки канавки и скоб;
– скобы установлены между хомутом и стаканом, изогнуты дугой по радиусу внутренней поверхности хомута и снабжены на концах загибами, вставленными в отверстия хомута, – признак предусматривает наличие новых элементов, новое взаимное расположение, новую взаимосвязь элементов и новую их форму, направлен на решение поставленной задачи с достижением технического результата, на повышение надежности работы торцевого уплотнения трубы за счет повышения герметизации в зоне стыка хомута и обеспечения заданного усилия вышибания уплотнения при собираемости с сохранением номинального положения сборочных элементов при затяжке хомута;
– отверстия для как минимум одной скобы, перекрывающей зону стыка хомута, выполнены в виде щелей длиной, превышающей ход сближения элементов хомута при его затяжке, – признак предусматривает новое взаимное расположение элементов и их новую взаимосвязь, направлен на решение поставленной задачи с достижением технического результата, на повышение надежности работы, на оптимизацию усилия вышибания уплотнения за счет контроля степени затяжки хомута или, что то же, хода сближения элементов хомута упором загиба скобы в край соответствующей щели;
– скоба расположена в секторе 20 40° – признак предусматривает новое взаимное расположение элементов, направлен на решение поставленной задачи с достижением технического результата, на повышение надежности работы торцевого уплотнения трубы за счет повышения герметизации в зоне стыка хомута и обеспечения заданного усилия вышибания уплотнения при собираемости с сохранением номинального положения сборочных элементов при затяжке хомута, так как исследованиями установлено, что расположение скобы в секторе, превышающем 40°, приводит к перекосу скоб при сборке, их выпаданию, то есть к снижению технологичности сборки;
– стакан выполнен из резины, с высотой стенки размером
b=(0,05-0,08)D, где
D – калибр трубы, мм,
толщиной
s=(0,25-0,5)b,
при этом канавка наружной поверхности силовой оболочки выполнена глубиной
h=(0,2-0,45)s – признак предусматривает обоснованное применение новых материалов и новое соотношение размеров, направлен на решение поставленной задачи с достижением технического результата, на повышение надежности работы торцевого уплотнения, так как исследованиями установлено, что новый материал и приведенное соотношение размеров обеспечивает герметичность уплотнения при оптимальном усилии его демонтажа;
– проволока скобы выполнена диаметром сечения
d=(0,6-2,5)h – признак предусматривает новое соотношение размеров элементов, направлен на решение поставленной задачи с достижением технического результата, на повышение надежности работы торцевого уплотнения за счет возможности регулировки усилия его демонтажа на этапе отработки для труб различного исполнения.
Указанные отличительные признаки являются существенными, поскольку каждый в отдельности и все совместно направлены на решение поставленной задачи с достижением технического результата. Использование единой совокупности существенных отличительных признаков в известных решениях не обнаружено, что характеризует соответствие технического решения критерию «новизна».
Единая совокупность новых существенных признаков с общими известными обеспечивает решение поставленной задачи с достижением технического результата и характеризует предложенное техническое решение существенными отличиями по сравнению с известным уровнем техники и аналогами. Данное техническое решение является результатом научно-исследовательской и экспериментальной работы по повышению надежности работы пусковых труб без использования известных проектировочных решений, рекомендаций, материалов и обладает неочевидностью, что свидетельствует о его соответствии критерию «изобретательский уровень».
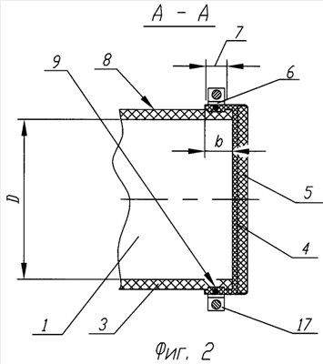
Сущность изобретения поясняется чертежами, где на фиг.1 представлен общий вид пусковой трубы ракетной пусковой установки, на фиг.2 представлен защитно-герметизирующий узел заднего торца, на фиг.3 – выносной элемент Б, на фиг.4 – общий вид хомута.
Пусковая труба 1 ракетной пусковой установки 2 содержит силовую оболочку 3, выполненный из эластомера стакан 4 с наружным диском 5, плотно насаженный на силовую оболочку 3 снаружи до упора его дна в ее торец и обжатый хомутом 6. В зоне 7 установки хомута 6 на наружной поверхности 8 силовой оболочки 3 выполнена канавка 9, в которую проволочными скобами 10 вдавлен эластомер стакана 4, при этом скобы 10 установлены между хомутом 6 и стаканом 4, изогнуты дугой по радиусу r внутренней поверхности хомута 6 и снабжены на концах загибами 11, вставленными в отверстия 12 хомута, а отверстия для как минимум одной скобы 10, перекрывающей зону стыка 13 хомута 6, выполнены в виде щелей 14 длиной 15, превышающей ход сближения 16 элементов 17 хомута 6 при его затяжке, причем скоба 6 расположена в секторе 20 40°, а стакан 4 выполнен из резины, с высотой стенки размером
b=(0,05-0,08)D, где
D – калибр трубы, мм,
толщиной
s=(0,25-0,5)b,
при этом канавка наружной поверхности силовой оболочки выполнена глубиной
h=(0,2-0,45)s,
проволока скобы выполнена диаметром сечения
d=(0,6-2,5)h.
Работает пусковая труба следующим образом.
При сборке герметизирующего уплотнения на торец трубы 1 устанавливают стакан 4, а на него устанавливают хомут 6. При этом элементы 17 хомута 6 раздвинуты максимально, скобы 10 загибами 11 вставлены в соответствующие отверстия 12 и расположены между хомутом 6 и резиновой стенкой стакана. Благодаря оптимальному расположению скоб 10 в секторе 20 40° последние занимают номинальное положение при сборке и затяжке хомута болтовым соединением 18. При затяжке хомута 6 загибы 11 скоб 10, перекрывающих зоны 13 стыка хомута, перемещаются от ближнего края щелевых отверстий 14 к дальнему. Критерием окончательной затяжки является упор всех загибов 11 в соответствующие дальние края щелей 14 или регламентированное расстояние между загибами и краями щелей. Перетяжка хомута 6 ведет к его перекосу и сползанию. Таким образом заявленная конструкция позволяет осуществлять контроль качества герметизирующего уплотнения как на стадии сборки, так и в процессе эксплуатации.
При эксплуатации (хранении) труба 1 сохраняет герметичность внутренней полости благодаря оптимальному контактному давлению в герметизирующих поверхностях, которое обеспечивается заявленным соотношением геометрических параметров элементов уплотнения.
При пуске из трубы 1 усилие демонтажа уплотнения обеспечивается взаимодействием ступеньки канавки 9 и вдавленным в канавку 9 эластомером стакана 4. Причем пусковые трубы 1 различного исполнения (стационарная пусковая установка, переносной ракетный комплекс и т.д.) требуют различного усилия демонтажа (степени отдачи), которое задается диаметром d проволоки скобы 10 и определяется опытным путем на стадии отработки.
Использование изобретения позволит создать высокотехнологичную конструкцию пусковой трубы с повышенной надежностью работы, что подтверждает использование по назначению. Осуществимость изобретений подтверждена положительными результатами испытаний пусковых труб, разработка и изготовление которых полностью основаны на представленном описании. В связи с этим новое техническое решение соответствует и критерию «промышленная применимость», т.е. уровню изобретения.
Формула изобретения
1. Пусковая труба ракетной пусковой установки, содержащая силовую оболочку, выполненный из эластомера стакан с наружным диском, плотно насаженный на силовую оболочку снаружи до упора его дна в ее торец и обжатый хомутом, отличающаяся тем, что в зоне установки хомута на наружной поверхности силовой оболочки выполнена канавка, в которую проволочными скобами вдавлен выполненный из эластомера стакан, при этом скобы установлены между хомутом и стаканом, изогнуты дугой по радиусу внутренней поверхности хомута и снабжены на концах загибами, вставленными в отверстия хомута, причем отверстия, как минимум, для одной скобы, перекрывающей зону стыка хомута, выполнены в виде щелей, длина которых превышает ход сближения элементов хомута при его затяжке.
2. Пусковая труба по п.1, отличающаяся тем, что скоба расположена в секторе 20 40°.
3. Пусковая труба по п.1, отличающаяся тем, что стакан выполнен из резины, с высотой стенки b=(0,05-0,08)D и толщиной s=(0,25-0, 5)b, где D – калибр трубы, мм, при этом канавка наружной поверхности силовой оболочки выполнена глубиной h=(0,2-0,45)s, а проволока скобы выполнена диаметром сечения d=(0,6-2,5)h.
РИСУНКИ
|
|