|
|
(21), (22) Заявка: 2009110108/02, 20.03.2009
(24) Дата начала отсчета срока действия патента:
20.03.2009
(46) Опубликовано: 20.08.2010
(56) Список документов, цитированных в отчете о поиске:
RU 2280902 С1, 27.07.2006. RU 2310150 С2, 10.11.2007. RU 2196951 С1, 20.01.2003. GB 2260188 А, 07.04.1993.
Адрес для переписки:
115191, Москва, Холодильный пер-к, 7, АРТ “Информэкспресс”, патентный отдел, Н.Л. Фокиной
|
(72) Автор(ы):
Кудряков Борис Иванович (RU)
(73) Патентообладатель(и):
Кудряков Борис Иванович (RU)
|
(54) СТРЕЛКОВЫЙ ТРЕНАЖЕР
(57) Реферат:
Изобретение относится к техническим средствам обучения пулевой стрельбе из различных видов стрелкового оружия. Стрелковый тренажер содержит мишенное поле с мишенными устройствами, каждое из которых включает мишень и оптический источник излучения. Оптико-электронный приемник излучения установлен на стрелковом оружии и связан с блоком звукового контроля. Оптико-электронный приемник излучения выполнен двухканальным. Один канал с ненаправленным приемом оптического излучения выполнен с возможностью формирования на своем выходе опорного светового сигнала. Его амплитуда остается постоянной в процессе смещения линии прицеливания в границах внешнего круга мишени. Другой канал с направленным приемом оптического излучения выполнен с возможностью формирования на своем выходе информационного сигнала в виде светового сигнала. Его амплитуда меняется от минимума при совпадении линии прицеливания с границей внешнего круга мишени до максимума, равного амплитуде указанного опорного сигнала при совпадении линии прицеливания с центром мишени. Технический результат заключается в повышении достоверности, точности и оперативности поступления стрелку информации о положении оружия при наведении на цель и в повышении точности стрельбы. 1 з.п. ф-лы, 1 ил.
Изобретение относится к техническим средствам обучения пулевой стрельбе из стрелкового оружия и может быть использовано для проверки и приведения к нормальному бою стрелкового оружия.
Кроме того, изобретение может быть использовано для измерения расстояния до цели на реальных дистанциях учебной стрельбы от 5 (10) до 1000 (1500) метров и корректировки точки прицеливания с учетом превышения траектории полета пули над линией прицеливания.
Наиболее близким аналогом является стрелковый тренажер, содержащий мишенное поле с мишенными устройствами, каждое из которых включает мишень и оптический источник излучения, оптико-электронный приемник излучения, установленный на стрелковом оружии и связанный с блоком звукового контроля (RU 2280902, опубл. 27.07.2006).
К недостаткам известного тренажера можно отнести необходимость проведения частых юстировок оружия в зависимости от удаленности цели от стрелка, низкую эффективность и точность визуально-звукового контроля, а также в нем не учтены особенности скоростной и медленной стрельбы.
Задачей изобретения является повышение его учебной весомости и качества обучения, сокращение сроков обучения и повышение эксплуатационных удобств.
Технический результат заключается в повышении достоверности, точности и оперативности поступления стрелку информации о положении оружия при наведении на цель, повышении точности стрельбы, в том числе и в условиях плохой видимости.
Поставленная задача достигается тем, что стрелковый тренажер содержит мишенное поле с мишенными устройствами, каждое из которых включает мишень и оптический источник излучения, оптико-электронный приемник излучения, установленный на стрелковом оружии и связанный с блоком звукового контроля, оптико-электронный приемник излучения выполнен двухканальным, при этом один канал с ненаправленным приемом оптического излучения выполнен с возможностью формирования на своем выходе опорного светового сигнала, амплитуда которого остается постоянной в процессе смещения линии прицеливания в границах внешнего круга мишени, а другой канал с направленным приемом оптического излучения выполнен с возможностью формирования на своем выходе информационного сигнала в виде светового сигнала, амплитуда которого меняется от минимума при совпадении линии прицеливания с границей внешнего круга мишени до максимума, равного амплитуде указанного опорного сигнала при совпадении линии прицеливания с центром мишени, причем блок звукового контроля выполнен с возможностью приема указанных опорного и информационного сигналов и преобразования их в соответствующие звуковые сигналы.
Предпочтительно, чтобы канал с ненаправленным приемом излучения был выполнен в виде расположенной на входе собирающей линзы, в главном фокусе которой установлена диафрагма с калиброванным отверстием и фотоэлемент, а канал с направленным приемом излучения был выполнен в виде собирающей линзы, установленной на входе, рассеивающей линзы, установленной между собирающей линзой и главным фокусом и преобразующей сфокусированный пучок в узконаправленный пучок параллельных лучей принятого сигнала, на пути которого на расчетном расстоянии от рассеивающей линзы установлена диафрагма с калиброванным отверстием и фотоэлемент.
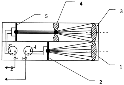
Изобретение поясняется чертежом, на котором представлена схема оптико-электронного приемника излучения.
Стрелковый тренажер содержит мишенное поле, на котором установлены от одного до трех мишенных устройств. Мишенное устройство содержит сменную мишень и оптический источник излучения, например инфракрасный (ИК) диод.
Приемником излучаемого диодом ИК излучения является оптико-электронная насадка (ОЭН), выполненная в виде оптико-электронного приемника (ОЭП) излучения и установленная на стрелковом оружии. ОЭП выполнен двухканальным, при этом один канал с ненаправленным приемом оптического излучения выполнен с возможностью формирования на своем выходе опорного светового сигнала, амплитуда которого остается постоянной в процессе смещения линии прицеливания в границах внешнего круга мишени. Другой канал с направленным приемом оптического излучения выполнен с возможностью формирования на своем выходе информационного сигнала в виде светового сигнала, амплитуда которого меняется от минимума при совпадении линии прицеливания с границей внешнего круга мишени до максимума, равного амплитуде указанного опорного сигнала при совпадении линии прицеливания с центром мишени.
ОЭП связан с блоком звукового контроля, выполненным с возможностью приема указанных опорного и информационного сигналов и преобразования их в соответствующие звуковые сигналы.
Так как оба канала формируются от единого оптического сигнала, поступающего от оптического источника излучения, что обеспечивает независимость относительных значений опорного и информационного сигналов от уровня входного сигнала, то относительная точность наведения оружия на цель не зависит от дистанции стрельбы. Это позволяет осуществить жесткую привязку текущего значения информационного сигнала к габариту кругов мишени и оперативно передать стрелку информацию в виде звуковых сигналов.
Канал с ненаправленным приемом излучения (см. чертеж) выполнен в виде расположенной на входе ОЭП собирающей линзы 1, в главном фокусе которой установлена диафрагма 2 с калиброванным отверстием и фотоэлемент (фотодиод). Постоянство амплитуды опорного сигнала обеспечивается тем, что оптическая система ОЭП рассчитана на прием излучения, поступающего от мишенного устройства в границах внешнего габаритного круга мишени.
Канал с направленным приемом излучения (см. чертеж) выполнен в виде собирающей линзы 3, установленной на входе ОЭП, рассеивающей линзы 4, установленной между собирающей линзой 3 и главным фокусом и преобразующей сфокусированный пучок в узконаправленный пучок параллельных лучей принятого сигнала, на пути которого на расчетном расстоянии от рассеивающей линзы 4 установлена диафрагма 5 с калиброванным отверстием, диаметр которого равен диаметру указанного узконаправленного пучка, и фотоэлемент.
Конструкция ОЭП при использовании длинноствольного оружия может отличаться тем, что конструктивный блок, состоящий из собирающей линзы 3 и рассеивающей линзы 4, в зависимости от дистанции стрельбы может перемещаться вдоль оптической оси.
Формула изобретения
1. Стрелковый тренажер, содержащий мишенное поле с мишенными устройствами, каждое из которых включает мишень и оптический источник излучения, оптико-электронный приемник излучения, установленный на стрелковом оружии и связанный с блоком звукового контроля, отличающийся тем, что оптико-электронный приемник излучения выполнен двухканальным, при этом один канал с ненаправленным приемом оптического излучения выполнен с возможностью формирования на своем выходе опорного светового сигнала, амплитуда которого остается постоянной в процессе смещения линии прицеливания в границах внешнего круга мишени, а другой канал с направленным приемом оптического излучения выполнен с возможностью формирования на своем выходе информационного сигнала в виде светового сигнала, амплитуда которого меняется от минимума при совпадении линии прицеливания с границей внешнего круга мишени до максимума, равного амплитуде указанного опорного сигнала при совпадении линии прицеливания с центром мишени, причем блок звукового контроля выполнен с возможностью приема указанных опорного и информационного сигналов и преобразования их в соответствующие звуковые сигналы.
2. Стрелковый тренажер по п.1, отличающийся тем, что канал с ненаправленным приемом излучения выполнен в виде расположенной на входе упомянутого приемника излучения собирающей линзы, в главном фокусе которой установлена диафрагма с калиброванным отверстием и фотоэлемент, а канал с направленным приемом излучения выполнен в виде собирающей линзы, установленной на входе упомянутого приемника излучения, рассеивающей линзы, установленной между собирающей линзой и главным фокусом и преобразующей сфокусированный пучок в узконаправленный пучок параллельных лучей принятого сигнала, на пути которого на расчетном расстоянии от рассеивающей линзы установлена диафрагма с калиброванным отверстием и фотоэлемент.
РИСУНКИ
|
|