|
|
(21), (22) Заявка: 2007141928/06, 12.04.2006
(24) Дата начала отсчета срока действия патента:
12.04.2006
(30) Конвенционный приоритет:
13.04.2005 FR 0503689
(43) Дата публикации заявки: 20.05.2009
(46) Опубликовано: 20.08.2010
(56) Список документов, цитированных в отчете о поиске:
US 2004/068847 A1, 15.04.2004. RU 2144157 C1, 10.01.2000. RU 2193133 C2, 20.11.2002. RU 2172445 C2, 20.08.2001. EP 0367169 A, 09.05.1990. US 848139 A, 26.03.1907. US 4963899 A, 04.09.1990.
(85) Дата перевода заявки PCT на национальную фазу:
13.11.2007
(86) Заявка PCT:
FR 2006/050341 20060412
(87) Публикация PCT:
WO 2006/109001 20061019
Адрес для переписки:
129090, Москва, ул.Б.Спасская, 25, стр.3, ООО “Юридическая фирма Городисский и Партнеры”, пат.пов. А.В.Мицу, рег. 364
|
(72) Автор(ы):
РИГОЛЛЕ Николя (FR), ПРЕВО Фабрис (FR), РУАНТРЮ Тони (FR)
(73) Патентообладатель(и):
ЭТАБЛИССМАН КАЙО (FR)
|
(54) ЗАЖИМНОЕ УСТРОЙСТВО С УСИЛЕННЫМИ ЗАЖИМНЫМИ УШКАМИ
(57) Реферат:
Изобретение относится к зажимным устройствам. Зажимное устройство содержит хомут, имеющий пару выступающих ушек, и средства сжатия, взаимодействующие с этими ушками. Каждое из ушек одной пары оснащено средствами усиления, способными противостоять деформации ушек под действием средств сжатия. Каждое ушко содержит соединительный участок с опоясывающей частью хомута, который выпрямлен относительно этой части, и прижимную стенку, с которой средства сжатия входят в контакт и которая отогнута к опоясывающей части. Между соединительным участком и прижимной стенкой предусмотрено пространство. Изобретение повышает надежность соединения устройства. 19 з.п. ф-лы, 22 ил.
Данное изобретение касается зажимного устройства, содержащего хомут, расположенный вокруг зажимаемого объекта и снабженный, по меньшей мере, одной парой выступающих ушек, а также средства зажима, выполненные с возможностью взаимодействия с ушками вышеупомянутой пары и взаимного перемещения последних для уменьшения диаметра хомута.
В частности, средства зажима являются средствами типа винта и гайки. Хомуты такого типа, например, для зажима двух гладких труб, расположенных встык, известны из патентной заявки EP 1181477. Обычно хомут содержит опоясывающую часть, относительно которой два зажимных ушка выпрямлены. Опоясывающая часть расположена вокруг зажимаемого объекта или объектов, и ушки, которые образуют приподнятые губки, расположены напротив друг друга, ограничивая между ними прорезь, ширина которой уменьшается во время сжатия.
В хомуте, описанном в вышеупомянутом патенте, ушки, образованные этими губками, находятся в непосредственной близости краев вышеупомянутой прорези. Даже если эти хомуты в целом удовлетворительно функционируют, в некоторых случаях зажим может оказаться малоэффективным вследствие неудовлетворительного взаимодействия средств сжатия, в частности винтовых средств, связанного, в частности, с неправильной направленностью одного или нескольких винтов; кроме того, существует риск изгиба ушей под воздействием усилий сжатия.
Задача изобретения состоит в усовершенствовании известных из уровня техники зажимных устройств.
Задача решается тем, что каждое ушко из вышеупомянутой пары содержит соединительный участок с опоясывающей частью хомута, который выпрямлен по отношению к вышеупомянутой опоясывающей части, и прижимную стенку, с которой контактируют средства сжатия, и которая отогнута к опоясывающей части, и что между соединительным участком и прижимной стенкой предусмотрено пространство.
Благодаря такой конфигурации усилия сжатия прикладываются непосредственно к прижимной стенке, то есть на расстоянии от соединительного участка ушка с опоясывающей частью. Если рассматриваются два ушка одной пары, которые расположены друг напротив друга, края прорези, ограниченной между этими ушками, расположены в основании их соответствующих соединительных участков. Даже если во время сжатия ушко стремится деформироваться, эта деформация не оказывает непосредственного влияния на ширину вышеупомянутой прорези, так что сжатие может быть обеспечено сокращением вышеупомянутой ширины. Кроме того, усилия сжатия прикладываются в районах ушек, удаленных от опоясывающей части и не имеют, таким образом, тенденции изменять кругообразность сечения опоясывающей части.
Когда средства сжатия используют, по меньшей мере, один винт, проходящий через ушки, направление этого винта улучшено потому, что для каждого ушка он использует две площадки, образованные соответственно в соединительном участке и в прижимной стенке.
Соединительный участок преимущественно является изогнутым, его вогнутость обращена к прижимной стенке. Он преимущественно имеет в своем основании, по меньшей мере, один выступ, в котором кривизна вышеупомянутого участка локально увеличена.
Тот факт, что соединительный участок является изогнутым, благоприятствует хорошему распределению усилий сжатия. Зона локально увеличенной кривизны в основании соединительного участка имеет значительный наклеп и, следовательно, мало подвержена деформациям во время сжатия. Кроме того, тот факт, что оба ушка, расположенные одно напротив другого, имеют выступы такого типа, позволяет локально уменьшить ширину прорези, чтобы приблизить опоясывающую часть к непрерывной замкнутой опоясывающей части.
Предпочтительно, чтобы каждое из ушек вышеупомянутой пары было оснащено средствами усиления, способными противостоять деформации ушек под действием средств сжатия.
Наличие таких средств усиления позволяет расширить предел пластической деформации ушек и исключить эффекты смятия, связанные с изгибанием ушек.
Средства усиления преимущественно расположены в пространстве, предусмотренном между соединительным участком и прижимной стенкой и сохраняют размеры этого пространства, то есть исключают излишнее сближение между прижимной стенкой и соединительным участком, которое повлекло бы за собой смятие ушка на самом себе.
Предпочтительно, чтобы средства усиления содержали усиливающую вставку, расположенную в пространстве, между соединительным участком и прижимной стенкой.
В качестве усиливающей вставки может быть использована деталь, отличающаяся простотой в изготовлении и расположенная во внутреннем пространстве ушка перед установкой средств сжатия. В случае, если указанные средства содержат винт, вставка имеет конфигурацию, обеспечивающую проход винта, например выемку или отверстие.
Предпочтительно также, чтобы средства усиления ушка содержали распорку, образованную в виде единой детали с ушком. Такое выполнение позволяет обойтись без дополнительной детали.
В частности, предпочтительно, чтобы средства усиления содержали, по меньшей мере, одну распорку, тянущуюся от прижимной стенки к соединительному участку.
Таким образом, средства усиления преимущественно содержат две распорки, образованные крыльями прижимной стенки, отогнутыми к соединительному участку таким образом, чтобы свободные концы этих крыльев могли взаимодействовать с вышеупомянутым участком и/или распоркой, отогнутой к соединительному участку от края прижимной стенки возле опоясывающей части, таким образом, чтобы свободный конец этой распорки мог взаимодействовать с соединительным участком.
Предпочтительно, чтобы средства усиления содержали, по меньшей мере, одну распорку, которая тянется от соединительного участка к прижимной стенке. Например, речь может идти о язычке, вырезанном в соединительной стенке и отогнутом по отношению к ней так, чтобы его свободный конец был расположен напротив прижимной стенки.
Предпочтительно также, чтобы устройство служило для герметичного соединения двух гладких труб, расположенных встык, и дополнительно содержало уплотняющее кольцо, располагаемое в муфте и окружающее смежные концы двух труб.
Возможны и другие варианты, например фиксация шланга, насаженного на трубу.
В дальнейшем изобретение поясняется описанием варианта его осуществления, представленного в качестве не ограничивающего примера со ссылками на приложенные чертежи, в числе которых:
Фиг.1 иллюстрирует вид в изометрии хомута согласно первому варианту осуществления изобретения;
Фиг.2 – вид сверху по стрелке II хомута с фиг.1;
Фиг.3 – подробный вид по стрелке III с фиг.2;
Фиг.4 – вид в разрезе по линии IV-IV с фиг.2;
Фиг.5 – вид в изометрии хомута согласно одному из вариантов;
Фиг.6 – подробный вид с торца по стрелке VI этого хомута;
Фиг.7A и 7B – два вида в изометрии, показывающие примеры реализации для средств усиления, образованных вставкой;
Фиг.8 – вид в изометрии хомута согласно одному из вариантов;
Фиг.9A – вид в изометрии хомута с вырезом, показывающий подробности реализации ушка этого хомута;
Фиг.9B – разрез в плоскости IXB-IXB с фиг.9A;
Фиг.9C – разрез в плоскости IXC-IXC с фиг.9B;
Фиг.10 – вид в изометрии того же хомута, без средств сжатия;
Фиг.11 – вид в изометрии хомута согласно одному из вариантов;
Фиг.12 – подробный вид по стрелке XII с фиг.11;
Фиг.13 – разрез в плоскости XII-XII с фиг.12;
Фиг.14 – вид ушка в изометрии, показывающий один из вариантов;
Фиг.15 – вид в разрезе в плоскости XV-XV с фиг.14;
Фиг.16 и 17 – частичные виды в изометрии хомутов согласно вариантам;
Фиг.18 – вид сверху хомута с фиг.17; и
Фиг.19 – вид хомута, в разрезе по линии XIX-XIX с фиг.18.
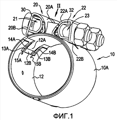
Зажимное устройство, изображенное на фиг.1 и 2, содержит хомут 10, внутри которого расположено уплотнительное кольцо 12 для окружения рядом расположенных концов двух гладких труб, герметично соединенных при помощи этого устройства. Уплотнительное кольцо может быть реализовано известным из патентной заявки EP 1181477 образом. Как показано на фиг.1, его концы содержат соответственно охватываемую структуру 12A и охватывающую структуру 12B, которая принимает охватываемую структуру во время сжатия, и которая ограничена между двумя контактными лапками 13A и 13B. Герметичный контакт образуется на контактных краях контактных лапок 13A и 13B, которые могут быть изогнуты во время сжатия, для улучшения условий проникновения охватываемой структуры в охватывающую структуру. Герметичный контакт образуется на краях контакта контактных лапок 13A и 13B, которые могут быть изогнуты во время сжатия, чтобы благоприятствовать проникновению охватываемой структуры в охватывающую структуру. Для содействия этому изгибу в нужном направлении в основании лапок выполнены надрезы 15A и 15B.
В указанной патентной заявке рассматривается особое строение прижимных ушек хомута и их усилений. Действительно, как это видно на фиг.1 и 2, хомут содержит, по меньшей мере, одну пару ушек 20, 22, расположенных друг напротив друга. В данном случае фиг.2 показывает, что хомут содержит две пары ушек 20, 22, между которыми выполнена прорезь 24 поперечная относительно оси A хомута для того, чтобы устранить связь между деформациями ушек обеих пар во время сжатия.
В данном случае ушки одной пары образованы отгибами соответствующих концов ленты, которая образует хомут. Продольная прорезь 26, параллельная оси A, выполнена между ушками одной пары. Считается, что во время сжатия ширина этой прорези уменьшается.
Представленные средства сжатия на каждую пару ушек содержат один винт 28 и одну гайку 29, взаимодействующую с резьбовым стержнем 28A винта, причем гайка взаимодействует с одним из пары ушек 20, тогда как головка 28B стержня взаимодействует с другим ушком 22.
Со ссылками на фиг.3 более подробно поясняется конструкция ушка 20, с учетом того, что строение ушка 22 полностью аналогично, при строгой симметричности относительно средней плоскости прорези 26.
Ушко 20 содержит соединительный участок 20A с опоясывающей частью 10A хомута, который выпрямлен относительно этой опоясывающей части, и прижимную стенку 20B, которая отогнута в направлении к этой опоясывающей части. Пространство 21 предусмотрено между соединительным участком и прижимной стенкой, образуя таким образом вышеупомянутую полость. Соединительный участок 22A и прижимная стенка 22B ушка 22, также как и полость 23, образованная в этом ушке, полностью идентичны, как показано на фиг.1 и 2.
Для каждого ушка прижимная стенка является частью ушка, с которой средства сжатия входят в контакт. Таким образом, гайка 29 опирается на прижимную стенку 20B, и головка 28B винта 28 опирается на прижимную стенку 22B ушка 22. Очевидно, что прижимные стенки и соединительные участки имеют отверстия 19, которые выровнены друг с другом, чтобы дать возможность прохода стержня винта в эти отверстия.
Соединительный участок 20A или 22A является изогнутым, его вогнутость обращена к прижимной стенке.
Как показано на фиг.2 и 3, соединительный участок каждого из ушек имеет в своем основании два выступа 34A и 24B соответственно, в которых кривизна вышеупомянутого соединительного участка локально увеличена. В данном случае для одного ушка два выступа 34A и 34B расположены на двух осевых концах ушка, тогда как промежуточная часть 34C, тянущаяся на почти всю длину ушка, предусмотрена между этими выступами. Ранее было показано, что соединительный участок является изогнутым. Действительно, этот соединительный участок преимущественно имеет постоянную кривизну, от своего основания вплоть до его вершины 20’A (с которой он связан прижимной стенкой 20B), за исключением выступов 34A и 34B, где кривизна локально увеличена. Как следует из фиг.2, поскольку выступающие части двух ушек одной пары находятся друг напротив друга, они локально уменьшают ширину прорези 26 между ними. На фиг.3 и 4 показано, что кругообразность опоясывающей части 10A хомута поддерживается в выступающих частях 34A и 34B, почти до самой вершины последних. Таким образом, поддержка, оказываемая опоясывающей частью хомута на один или несколько сжимаемых объектов, практически распределена по полной окружности, когда хомут зажат.
Фиг.4 дает возможность лучше понять преимущество конструкции ушек согласно изобретению.
Ушки 20 и 22 немного наклонены назад, то есть их соответствующие прижимные стенки наклонены на угол порядка от 20° до 40°, в частности близкий к 30°, относительно радиусов опоясывающей части, проходящих через их вершины 20’A, 22’A, в ходовом направлении удаляясь одно от другого к их концам, противостоящим их соединительным участкам. Стержень винта строго перпендикулярен среднему радиусу R опоясывающей части, проходящему в плоскости симметрии между ушками, относительно которого прижимные стенки ушек немного расходятся, например, на угол порядка от 2° до 10°, уходя к их свободным концам.
Стержень винта отделен от внутренних краев 19A и 19G (вблизи центра опоясывающей части) отверстиями 19, выполненными в прижимных стенках 20B и 22B и несет на внешних краях 19D и 19F соединительные участки 20A и 22A, тогда как небольшой зазор установлен на других краях 19B, 19C, 19E и 19H этих отверстий. Таким образом, стержень винта играет роль балки, с которой взаимодействуют края отверстий 19, способствуя, таким образом, возможности избежать чрезмерных деформаций этих ушек, что не исключает того, что в конце сжатия (не показано) прижимные стенки выпрямятся, чтобы стать приблизительно параллельными радиусу R, улучшая, таким образом, условия опоры головки винта и гайки на эти стенки.
Фиг.5 и 6 показывают вариант реализации этого хомута, для которого непрерывность поддержки опоясывающей частью зажимаемого объекта обеспечена благодаря лепесткам, которые проходят от одного конца хомута под другим концом.
Первое ушко 20 одной пары ушек образовано отгибом материала от первого конца 10’A ленты, из которой реализован хомут посредством накручивания этой ленты на нее саму. Точнее для образования ушка реализованы две прорези, тянущиеся по окружности хомута, то есть по длине ленты, образующей хомут, начиная от свободного конца ленты. Материал, тянущийся между этими двумя прорезями, отогнут для образования ушка 20, тогда как остаток конца свернут вместе с лентой для образования опоясывающей части хомута. Таким образом, ушко 20 образовано между двумя лепестками, которые тянутся по окружности опоясывающей части 10A, которую они продолжают за пределами ушка 20. В представленном примере, поскольку хомут имеет две пары ушек, также реализованы три лепестка: лепесток 36A между осевым концом хомута и первым ушком 20, лепесток 36B между двумя ушками 20, и лепесток 36C между вторым ушком 20 и другим осевым концом хомута. С целью расположить эти лепестки так, чтобы внутренняя периферия хомута была бы круглой, выпуклости 37A, 37B и 37C образованы на втором конце 10’B ленты, из которой образован хомут, не достигая ушек 22. Внутренняя высота H этих выпуклостей в точности соответствует толщине ленты, так что, как это видно на фиг.6, лепесток может быть размещен в каждой выпуклости, поддерживая, таким образом, кругообразность внутренней периферии хомута. В данном случае, поскольку реализованы три лепестка, образованы также три выпуклости, пригодные для их приема.
Как видно на фиг.1-4, каждое из ушек оснащено средствами усиления 30 и 32 соответственно, расположенными в полости 21 и 23 соответственно, устроенной внутри ушка, для исключения деформации этого последнего.
Согласно первому варианту для каждого ушка указанные средства усиления являются вставкой, расположенной в вышеупомянутой полости. Точнее каждая из вставок 30, 32, которые служат для усиления ушек, может иметь форму желоба на дне 30A, расположенном возле соединительного участка 20A ушка, в котором размещена эта вставка (фиг.7A). Желоб имеет U-образное сечение, с выпуклым дном, кривизна которого приспособлена к средней вогнутости соединительного участка ушка. Две крайние стенки 30B и 30C, образующие два крыла U-образного профиля, являются строго параллельными и расположены таким образом, что внутренняя поверхность прижимной стенки ушка, в котором расположена вставка, может упираться в свободные концы этих стенок.
Поскольку используемые средства зажима содержат винты, часть дна 30A желоба, образующего вставку, имеет отверстие 31, дающее возможность прохода винта через эту часть дна.
Фиг.7B показывает вариант реализации, в котором вставка 40, которая может также быть расположена в ушках 20 или 22, имеет почти плоскую часть дна 40A, предназначенную быть расположенной возле внутренней поверхности прижимной стенки ушка, в котором расположена вставка, и два крыла 40B и 40C соответственно, отогнутые относительно этой части дна, и свободные концы которых являются изогнутыми, чтобы иметь возможность взаимодействовать с внутренней поверхностью соединительного участка 20A или 20B ушка, которая является вогнутой.
Ниже приводится описание варианта осуществления изобретения. Из фиг.8 видно, что хомут содержит опоясывающую часть 110, с двумя ушками 120 и 122, расположенными друг напротив друга. В данном случае показан хомут, предназначенный, например, для зажима шланга или трубы, ширина пояса которой (измеренная вдоль оси A хомута) меньше, чем на фиг.1, и, следовательно, содержит единственную пару ушек 120 и 122. Сжатие осуществляется также при помощи системы винт-гайка, в которой гайка обозначена позицией 129, а винт 128 содержит стержень 128A и головку 128B.
Аналогично фиг.1, ушки приподняты относительно опоясывающей части 110A хомута. Полости также образованы внутри этих ушек, которые, как и на фиг.1, содержат соединительный участок 120A и 122A соответственно с опоясывающей частью хомута, который выпрямлен относительно этой опоясывающей части, и прижимную стенку, 120B и 122B соответственно.
Соединительные участки и прижимные стенки имеют выровненные друг с другом отверстия 119, обеспечивающие возможность прохода через них стержня винта.
Согласно этому варианту реализации средства усиления ушка содержат распорку, образованную в виде единой детали с ушком. В данном случае средства усиления содержат, по меньшей мере, одну распорку, которая тянется от прижимной стенки до соединительного участка. Точнее, как видно на фиг.9A и 9C, распорка 130 ушка 120 отогнута во внутреннее пространство 121 этого ушка к соединительному участку 120A от конца 120′ прижимной стенки 120B, которая находится напротив опоясывающей части 110A.
Таким образом, распорка 130 может быть просто реализована оконечной частью отогнутой почти под прямым углом относительно прижимной стенки 120B. Однако в представленном примере распорка сама делается жесткой посредством отогнутых крыльев 130A и 130B. Для реализации этих крыльев выполнены прорези, выровненные и параллельные оси A хомута от двух противоположных краев ленты, из которой образован хомут, на конце 120′ прижимной части. Между прорезями сохранена не расколотая часть, которая образует место присоединения распорки к прижимной стенке. Крылья 120A и 120B затем отогнуты таким образом, что в сечении, параллельном оси A хомута, распорка в точности имеет форму желоба. Для дополнительного усиления жесткости распорки края крыльев 130A и 130B могут иметь ребра жесткости или канавки, или, как в представленном примере, выемку 130’A, 130’B. Расстояние между отогнутыми крыльями 130A и 130B дает возможность прохода винта между этими крыльями, и распорка имеет форму продольного желоба для стержня винта.
Свободный конец 130C распорки 130 расположен возле внутренней поверхности соединительного участка 120, с которым он может взаимодействовать для противодействия смятию ушка. С учетом вогнутости этого соединительного участка свободный конец сформирован так, что длина распорки в районе краев отогнутых крыльев больше, чем в центральном районе впадины дна распорки.
Прорези, дающие возможность отгиба крыльев, могут быть простыми насечками на ленте, или иметь локально расширенный участок в зоне присоединения крыла к части дна распорки, как это видно в позиции 130D на фиг.9B. Распорка 132 реализована аналогично распорке 130 и отогнута во внутреннее пространство 123 ушка 122 от его прижимной стенки 122B.
В примере реализации согласно фиг.8-10 хомут содержит средства для закрепления головки винта во время его зажима. Точнее, как это видно на фиг.8 и 10, часть ушка, с которой взаимодействует головка винта, в данном случае прижимная стенка 122B ушка 122, содержит, по меньшей мере, одну выпуклость для закрепления для взаимодействия с приспособленной для этого формой, в частности гранью на головке винта. В данном случае две выпуклости для закрепления 115A и 115B образованы в прижимной стенке так, чтобы они выступали на внешней части последней. Эти выпуклости преимущественно образованы с помощью прорезей, то есть в районе, обращенном к части головки винта, с которой они взаимодействуют, при этом каждая из них имеет край закрепления, вырезанный в ленте.
В примере, представленном на фиг.8, головка винта имеет шестигранную форму, две противоположные грани которой упираются в края закрепления выпуклостей 115A и 115B. Преимуществом такого варианта выполнения является то, что устройство содержит средства для закрепления одного из элементов, состоящих из головки винта и гайки, возле ушка которого этот элемент расположен.
Чтобы удержать винт у прижимной стенки 122B, ушко 122 имеет удерживающую лапку 117, которая тянется от вершины этого ушка, над головкой винта, и свободный конец 117A которой отогнут к поверхности конца головки, после установки этого последнего. В ушках предусмотрены отверстия 119 в ушках для прохода стержня винта. Отверстие в соединительной стенке 122B ушка 122 образовано вырезом 119′, от которого приподнята лапка 117. Гайка может удерживаться аналогичной лапкой для удержания.
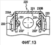
Ниже со ссылками на фиг.11-13 приводится вариант осуществления изобретения, использующий также средства усиления в виде единой детали с ушками. Речь идет о хомуте того же типа, что и хомут с фиг.1, и те же цифровые обозначения использованы для аналогичных частей.
Согласно этому варианту ушки 220 и 222 изменены для того, чтобы их средства усиления были бы образованы распорками в виде единой детали с ними. Каждое ушко содержит соединительный участок 220A или 222A и прижимную стенку 220B или 222B, аналогичные показанным на фиг.1. Для каждого ушка средства усиления содержат две распорки, которые тянутся от прижимной стенки к соединительному участку.
Точнее, если обратиться к фиг.13, описывающей ушко 220, видно, что эти распорки образованы крыльями 230A и 230B соответственно прижимной стенки 220B, которые отогнуты к соединительному участку 220A во внутреннее пространство 221 ушка. Распорки ушек 222 образованы таким же образом, на фиг.11 видны только крылья 232B ушек 222.
Таким образом, свободные концы крыльев расположены возле внутренней поверхности соединительного участка, следовательно, они могут взаимодействовать с ними, чтобы противостоять деформации ушка, то есть сближению между прижимной стенкой и соединительным участком.
Крылья, образующие распорки, преимущественно имеют средства для увеличения жесткости. В данном случае речь идет о канавках 231, точно параллельным длине крыльев, измеренной в направлении длины стержня винта, взаимодействующего с рассматриваемым ушком. Эти канавки тянутся на всю длину крыльев и в данном случае выполнены полыми от внутренней поверхности крыльев, противоположных стержню винта, расположенного между этими крыльями. Также возможна и обратная конструкция, в которой канавки будут полыми, начиная от внутренней поверхности крыльев.
Как показано на фиг.11-13, устройство содержит средства для закрепления распорок относительно соединительного участка. В данном случае, поскольку каждое ушко оснащено двумя крыльями, также предусмотрены два крепления. В представленном примере каждое крыло закреплено выпуклостью 233 соединительного участка, которая выступает по направлению к прижимной стенке. Преимущественно, каждая выпуклость образована пробоиной. Таким образом, вырез 233′ образован в ушке (см. ушко 222 на фиг.10) так, что когда оно выпрямлено, выпуклость имеет свободную кромку 233” (см. фиг.13), возле которой расположено крыло 230A или 230B, которое оно закрепляет.
Для каждого крыла выпуклость расположена на внешней части крыла, то есть со стороны, противоположной стержню винта. Таким образом, избегают того, чтобы у этого крыла не было тенденции отодвигаться от другого крыла того же ушка. Выпуклости 233 получают после изгиба крыльев, образующих распорки.
Далее со ссылками на фиг.14 и 15 будет описан еще один вариант осуществления изобретения. Для упрощения, на этих чертежах изображено одно единственное ушко 320, которое может быть аналогичным ранее описанным ушкам, за исключением того, что оно имеет другую распорку. Действительно, средства усиления этого ушка содержат распорку, образованную язычком 330, который вырезан из соединительного участка 320A ушка и который отогнут во внутреннее пространство 321 так, что он тянется к прижимной стенке. Когда винт установлен в ушко, этот язычок тянется точно параллельно стержню этого винта. Язычок расположен между винтом и основанием соединительного участка 320A, то есть между винтом и поясом 10A хомута.
Когда язычок отогнут, как показано на фиг.14 и 15, вырез язычка, открытый таким образом, образует отверстие 319 для прохода стержня винта. Как лучше видно на фиг.15, язычок преимущественно является вогнутым, для образования желоба для винта, эта вогнутость позволяет увеличить жесткость язычка, то есть противостоять его изгибу по длине. Свободный конец язычка на виде сверху имеет преимущественно прямоугольную форму, ограниченную верхним краем 319A отверстия 319. Таким образом, этот свободный конец лежит на внутренней поверхности прижимной стенки 320B, приспосабливаясь к форме последней.
Наличие язычка 330 локально уменьшает количество материала в соединительном участке и, следовательно, немного уменьшает его механическую прочность. Согласно этому варианту средства усиления могут быть образованы без добавления материала в хомут, и, следовательно, облегчая конструкцию последнего.
На фиг.16-19 проиллюстрированы варианты осуществления изобретения согласно фиг.8-10.
На фиг.16 ушки 420, 422, приподнятые относительно опоясывающей части 110 хомута, на виде сбоку имеют в точности квадратную форму.
Соединительные участки 420A, 422A с опоясывающей частью ушек тянутся в радиальном направлении и имеют форму плоских стенок, и их прижимные стенки 420B, 422B также являются плоскими и практически параллельными соединительным участкам. Эти прижимные стенки связаны с соединительными участками соединительными стенками 420C, 422C под прямым углом и ушки оканчиваются отогнутыми оконечными стенками 420D, 422D, которые также расположены под прямым углом, и соответствующие свободные концы которых упираются во внутренние поверхности соединительных участков.
Соединительные стенки 420C, 422C и отогнутые стенки 420D, 422D усилены внутренними выпуклостями 424, образующими ребра жесткости, параллельные стержню винта. Концы этих выпуклостей, соответственно соседние с внутренними поверхностями соединительных участков и с прижимными стенками, могут иметь форму свободных краев, упирающихся во внутренние поверхности. Помимо свободного конца отогнутых стенок 420D, 422D эти свободные края получены посредством поперечных прорезей, проделанных перед образованием выпуклостей или в процессе их образования.
Отогнутые стенки 420D, 422D, так же как и соединительные стенки 420C, 422C играют роль средств усиления ушек 420 и 422, реализованных в виде единой детали с ними, в форме встроенных распорок. Отметим, что отверстия в соединительных участках 420A, 422A и прижимных стенках 420B, 422B, через которые проходит стержень винта 128, ограничены цилиндрическими буртиками 426, которые тянутся во внутреннем пространстве 421, 423 соответственно, каждого из ушек. Эти буртики образованы отогнутыми краями этих отверстий. Они образуют направляющие опоры для винта, улучшающие его сопротивление продольному изгибу во время сжатия хомута.
На фиг.17-19 ушки 520 и 522 сформированы в виде цилиндров, параллельных стержню винта 128.
Точнее для каждого ушка соединительная стенка 520C между соединительным участком 520A или 522A и прижимной стенкой 520B или 522B имеет свои продольные края, отогнутые к оси винта, чтобы принять форму полуцилиндрического желоба, вогнутость которого обращена к оси хомута.
Для каждого ушка соединительная стенка 520D или 522D, которая отогнута от прижимной стенки 520B или 522B к соединительному участку 520A или 522A также имеет свои продольные края, отогнутые к оси винта, чтобы образовать полуцилиндрический желоб, вогнутость которого находится напротив оси хомута, и который вместе с ранее упомянутым желобом завершает цилиндр.
Эти оконечные стенки в виде желоба в целом реализованы как распорки 130 и 132 с фиг.8. В частности, прорези, позволяющие отгиб их краев или крыльев, проделаны в месте соединения оконечных стенок и прижимных стенок. Также прорези, обеспечивающие отгиб краев или крыльев соединительных стенок 520C, 522C, проделаны в месте их соединения с соединительными участками и прижимными стенками соответственно.
Таким образом, в каждой прижимной стенке и для каждой стороны отверстия, проделанного в этой стенке, получают лапку 527, ограниченную между двумя прорезями, расположенными с одной стороны отверстия сверху и снизу прижимной стенки соответственно.
Для ушка 522 две лапки 527 отогнуты так, чтобы тянуться в точности параллельно оси винта, удаляясь от соединительного участка. Взаимодействуя с гранями элемента, головки винта или гайки, с упором на это ушко, эти лапки дают возможность закрепить элемент, препятствуя его вращению.
Для ушка 520 лапки 527 отогнуты к крыльям соединительных и оконечных стенок, то есть к стенке ранее описанного цилиндра, механическую прочность которого они, таким образом, увеличивают. Эти лапки также могли бы быть вырезаны.
Вариант решения на фиг.16, показанный на фиг.17-19, может содержать внутренние цилиндрические буртики 526 (см. фиг.19), которые тянутся в пространствах 521, 523 соответственно, устроенных для каждого ушка в цилиндрах между соединительным участком и прижимной стенкой. Эти буртики, которые для каждого ушка могут быть реализованы, начиная от прижимной стенки и/или от соединительного участка, улучшают направление стержня винта и его сопротивление продольному изгибу.
Соединительные и оконечные стенки в виде желоба ушек 520 и 522 образуют распорки, которые усиливают эти ушки для увеличения их прочности во время сжатия и преобразования усилия сжатия в усилие натяжения ленты.
Формула изобретения
1. Зажимное устройство, содержащее хомут, расположенный вокруг зажимаемого объекта и имеющий, по меньшей мере, одну пару выступающих ушек, причем устройство дополнительно содержит средства зажима, взаимодействующие с ушками вышеупомянутой пары для взаимного перемещения последних и для обеспечения уменьшения диаметра хомута, при этом каждое ушко вышеупомянутой пары имеет соединительный участок, посредством которого оно связано с опоясывающей частью хомута, который является выпрямленным относительно вышеупомянутой опоясывающей части, и прижимную стенку, с которой средства сжатия входят в контакт и которая отогнута к опоясывающей части, причем между соединительным участком и прижимной стенкой, к которой прикладывают зажимное усилие, предусмотрено пространство.
2. Устройство по п.1, в котором соединительный участок является изогнутым, причем его вогнутая часть обращена к прижимной стенке.
3. Устройство по п.2, в котором соединительный участок имеет, в его основании, которое находится вблизи опоясывающей части, по меньшей мере, один выступ, в котором кривизна вышеупомянутого участка локально увеличена.
4. Устройство по п.1, в котором каждое из ушек вышеупомянутой пары оснащено средствами усиления, противодействующими деформации вышеупомянутых ушек под действием вышеупомянутых средств сжатия.
5. Устройство по п.4, в котором средства усиления содержат усиливающую вставку, расположенную в пространстве, образованном между соединительным участком и прижимной стенкой.
6. Устройство по п.5, в котором прижимная вставка имеет форму желоба, дно которого расположено напротив соединительного участка.
7. Устройство по п.4, в котором средства усиления ушка содержат распорку, образованную в виде единой детали с ушком.
8. Устройство по п.7, в котором средства усиления содержат, по меньшей мере, одну распорку, тянущуюся от прижимной стенки до соединительного участка.
9. Устройство по п.8, в котором средства усиления содержат две распорки, образованные краями прижимной стенки, отогнутыми к соединительному участку таким образом, чтобы свободные концы вышеупомянутых краев были способны взаимодействовать с вышеупомянутым участком.
10. Устройство по п.8, в котором средства усиления содержат распорку, отогнутую к соединительному участку от конца прижимной стенки, который обращен к опоясывающей части таким образом, чтобы свободный конец вышеупомянутой распорки мог взаимодействовать с соединительным участком.
11. Устройство по п.10, в котором средства усиления содержат соединительную стенку между соединительным участком и прижимной стенкой.
12. Устройство по п.11, в котором, по меньшей мере, один из элементов, образованных вышеупомянутой распоркой и вышеупомянутой соединительной стенкой, имеет форму желоба.
13. Устройство по п.7, в котором средства усиления ушка содержат распорку, образованную язычком, вырезанным из соединительного участка и отогнутого к стенке прижатия.
14. Устройство по п.8, содержащее средства для закрепления распорок относительно соединительного участка.
15. Устройство по п.14, в котором соединительный участок имеет, по меньшей мере, один выступ, выступающий к стенке прижатия.
16. Устройство по п.1, в котором средства прижатия содержат, по меньшей мере, один винт, головка которого расположена напротив одного ушка пары ушек, и гайка которого расположена напротив другого ушка той же пары ушек, и которая взаимодействует со стержнем винта.
17. Устройство по п.16, содержащее средства для закрепления одного из элементов, образованных головкой винта и гайкой относительно ушка, напротив которого вышеупомянутый элемент расположен.
18. Устройство по п.17, в котором прижимная стенка имеет, по меньшей мере, одну внешнюю закрепляющую выпуклость.
19. Устройство по п.16, в котором одно из ушек в паре несет стопорную защелку для удержания напротив нее того из элементов, образованных головкой винта и гайкой, который взаимодействует с вышеупомянутым ушком.
20. Устройство по п.1 для герметичного соединения двух гладких труб, расположенных встык, и содержащее уплотнительное кольцо для размещения в хомуте для охвата рядом расположенных концов этих двух труб.
РИСУНКИ
|
|