|
|
(21), (22) Заявка: 2009106554/11, 24.02.2009
(24) Дата начала отсчета срока действия патента:
24.02.2009
(46) Опубликовано: 20.08.2010
(56) Список документов, цитированных в отчете о поиске:
RU 2230240 С2, 10.06.2004. RU 74676 U1, 10.07.2008. М.П.Александров и др. “Тормозные устройства”, Справочник. – М.: Машиностроение, 1985, с.294-297, рис.8.8. US 6371258 B1, 16.04.2002. US 5971112 A, 26.10.1999. EP 0727591 В1, 19.04.2000.
Адрес для переписки:
150048, г.Ярославль, Московский пр-кт, 149, ОАО “ТИИР”
|
(72) Автор(ы):
Левит Михаил Захарович (RU), Кочина Светлана Валентиновна (RU), Пивень Евгений Григорьевич (RU)
(73) Патентообладатель(и):
Открытое акционерное общество “Термостойкие изделия и инженерные разработки” (ОАО “ТИИР”) (RU)
|
(54) ФРИКЦИОННАЯ НАКЛАДКА
(57) Реферат:
Изобретение относится к фрикционным накладкам, а именно к накладкам барабанных тормозов транспортных средств. Фрикционная накладка выполнена из полимерного фрикционного композита и имеет форму части разнотолщинной цилиндрической обечайки, образованной несоосными цилиндрическими поверхностями с параллельными осями вращения и плоскими боковыми поверхностями. Боковая поверхность тонкого края накладки выполнена со скосом. В накладке выполнены отверстия под заклепки. Отверстия, расположенные на тонком краю накладки, размещены частью своей площади на скосе. Достигается повышение эксплуатационных характеристик накладки путем снижения возможности разрушения части накладки в зоне отверстий на тонком конце. 2 ил.
Изобретение относится к фрикционным изделиям, а именно к содержащим отверстия под заклепки накладкам барабанных тормозов транспортных средств, в частности грузовых автомобилей.
Аналогом заявляемого изобретения является фрикционная накладка, содержащая отверстия под заклепки (см. Справочник по триботехнике. Триботехника антифрикционных, фрикционных и сцепных устройств. Методы и средства триботехнических испытаний. Том 3, М.: «Машиностроение», 1992. Варшава, ВКЛ, 1992, с.365). Существенные признаки аналога «накладка, отверстия под заклепки» совпадают с существенными признаками заявляемого изобретения.
Недостатком аналога является снижение надежности и эксплуатационных характеристик изделия из-за отсутствия боковых скосов.
Аналогом заявляемого изобретения является фрикционная накладка, содержащая отверстия под заклепки и имеющая форму части разнотолщинной цилиндрической обечайки, образованной несоосными цилиндрическими поверхностями с параллельными осями вращения и плоскими боковыми поверхностями (см. патент РФ 77925, МПК F16D 65/08 (2006.01), 2008 г.). Существенные признаки аналога «накладка, отверстия под заклепки, форма части разнотолщинной обечайки, образованной несоосными цилиндрическими поверхностями с параллельными осями вращения и плоскими боковыми поверхностями» совпадают с существенными признаками заявляемого изобретения.
Недостатком аналога также является снижение надежности и эксплуатационных характеристик изделия из-за отсутствия скосов на боковых поверхностях.
Прототипом заявляемого изобретения является фрикционная накладка, выполненная из полимерного фрикционного композита и имеющая форму части разнотолщинной цилиндрической обечайки, образованной несоосными цилиндрическими поверхностями с параллельными осями вращения и плоскими боковыми поверхностями со скосами (см. патент РФ 2230240, МПК7 F16D 69/02, 2004 г.). Существенные признаки прототипа «накладка, выполненная из полимерного фрикционного композита и имеющая форму части разнотолщинной цилиндрической обечайки, образованной несоосными цилиндрическими поверхностями с параллельными осями вращения и плоскими боковыми поверхностями, скос» совпадают с существенными признаками заявляемого изобретения.
Недостатком прототипа является снижение эксплуатационных характеристик из-за отсутствия в накладке отверстий под заклепки, которые необходимо выполнить при монтаже накладки к металлической колодке в непроизводственных условиях, что может привести к разрушению в процессе эксплуатации части накладки (по внешней поверхности обечайки) в зоне отверстий на тонком конце накладки из-за ослабления стенок отверстий со стороны скоса.
Задачей, на решение которой направлено заявляемое изобретение, является повышение эксплуатационных характеристик накладки путем снижения возможности разрушения части накладки в зоне отверстий на тонком конце за счет устранения ослабленных зон в отверстиях тонкого конца накладки.
Для достижения указанного технического результата во фрикционной накладке из полимерного фрикционного композита, имеющей форму части разнотолщинной цилиндрической обечайки, образованной несоосными цилиндрическими поверхностями с параллельными осями вращения и плоскими боковыми поверхностями, где боковая поверхность тонкого края накладки выполнена со скосом, дополнительно выполнены отверстия под заклепки, причем отверстия, расположенные на тонком краю накладки, размещены частью своей площади на скосе.
Существенные признаки заявляемого изобретения «выполнены отверстия под заклепки, причем отверстия, расположенные на тонком краю накладки, размещены частью своей площади на скосе» являются отличительными от признаков прототипа.
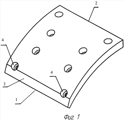
На фиг.1 представлена заявляемая накладка. На фиг.2 представлен вид накладки сбоку.
Накладка выполнена из полимерного фрикционного композита и представляет собой часть разнотолщинной цилиндрической обечайки (с переменной толщиной), снабженной двумя (или тремя, или более) рядами отверстий для заклепок. Накладка за счет переменной толщины Н имеет тонкий край 1 и толстый край 2. На тонком краю выполнен скос 3. В накладке выполнены отверстия под заклепки, при этом отверстия 4, выполненные на тонком конце накладки, размещены таким образом, чтобы часть L их площади приходилась на скос. Часть площади, приходящаяся на скос, может быть или меньше, или равна, или более половины от общей площади соответствующего отверстия.
Конкретным примером заявляемого изобретения может служить барабанная тормозная накладка грузового автомобиля, у которой площадь L составляет приблизительно 30% от общей площади каждого отверстия тонкого конца накладки.
Изготавливаться накладка может известными методами, при этом отверстия в накладке выполняются сверлением.
Выполнение накладки с указанными координатными характеристиками позволяет исключить из изделия наиболее слабые, с точки зрения механической прочности, рабочие части накладки – части накладки между стенками отверстий и поверхностью скоса, поскольку эти части наиболее подвержены разрушению при эксплуатации, в результате чего могут разрушиться и другие части накладки. В результате улучшаются эксплуатационные характеристики накладки.
Формула изобретения
Фрикционная накладка, выполненная из полимерного фрикционного композита и имеющая форму части разнотолщинной цилиндрической обечайки, образованной несоосными цилиндрическими поверхностями с параллельными осями вращения и плоскими боковыми поверхностями, причем боковая поверхность тонкого края накладки выполнена со скосом, отличающаяся тем, что в накладке выполнены отверстия под заклепки, причем отверстия, расположенные на тонком краю накладки, размещены частью своей площади на скосе.
РИСУНКИ
|
|