|
|
(21), (22) Заявка: 2009115519/11, 23.04.2009
(24) Дата начала отсчета срока действия патента:
23.04.2009
(46) Опубликовано: 20.08.2010
(56) Список документов, цитированных в отчете о поиске:
RU 2235225 C2, 27.09.2003. US 4657090 A, 14.04.1987. RU 2201489 C1, 20.04.2002. RU 2277189 C1, 27.05.2006. RU 2176015 C1, 20.11.2001.
Адрес для переписки:
443110, г.Самара, ул. Ново-Садовая, 42, кв. 560, Н.Л. Полей
|
(72) Автор(ы):
Полей Николай Лейбович (RU)
(73) Патентообладатель(и):
Полей Николай Лейбович (RU)
|
(54) ШПИНДЕЛЬНАЯ ОПОРА ЗАБОЙНОГО ДВИГАТЕЛЯ
(57) Реферат:
Изобретение относится к подшипниковым опорам приводных двигателей и механизмов, а именно к приводам для вращательного бурения, размещенным в скважине, для разгрузки забойных двигателей от осевых и радиальных нагрузок. Шпиндельная опора забойного двигателя состоит из наружного неподвижного корпуса и вращающегося внутри него на подшипниках скольжения (осевых и радиальных) вала. Пакет осевых подшипников выполнен в виде кольцевых опор (пят (7) и подпятников (4)) с поперечным сечением в виде взаимосопряженных прямоугольных треугольников, причем основная опорная плоскость перпендикулярна оси шпиндельной опоры. Между пятами (7) вала установлены промежуточные листовые шайбы (6). Эластомерные подложки (5, 8) выполнены листовыми незащемленными шайбами и на несущих поверхностях могут иметь рельефные выемки. На верхней подложке (5), свободно размещенной на подпятнике (4), выемки выполнены в виде дуг окружности, эксцентрично расположенных относительно оси подложки (5) с положительным градиентом направления по ходу вращения вала от края подложки (5) к ее центру и анизотропией жесткости в радиальной системе координат: по ходу вращения вала жесткость меньше, чем в обратном направлении. На нижней подложке (8), размещенной между сопрягаемыми конусными поверхностями подпятника (4) и пяты (7), выемки могут быть концентрическими с анизотропией жесткости в радиальном направлении: снаружи к центру подложки (8) жесткость выше, чем в обратном направлении. Опора может быть выполнена маслонаполненной. Технический результат – создание более компактной шпиндельной опоры бурового забойного двигателя с увеличенным ресурсом, малой материалоемкостью и высокой ремонтопригодностью, с расширенными эксплуатационными характеристиками и технологичной в изготовлении. 3 з.п. ф-лы, 4 ил.
Изобретение относится к подшипниковым опорам приводных двигателей и механизмов, а именно к приводам для вращательного бурения, размещенным в скважине, для разгрузки забойных двигателей от осевых и радиальных нагрузок.
Известна осевая шпиндельная опора (патент РФ 2183245), в которой упругий элемент, размещенный внутри корпуса устройства, установлен между радиальными опорами и выполнен в виде двух групп пружинных колец, каждая из которых содержит внутреннее кольцо, закрепленное на валу, и наружное кольцо, закрепленное в корпусе, при этом кольца расположены с зазором между ними, а осевая опора расположена между двумя группами пружинных колец и выполнена с кольцевыми каналами, обеспечивающими переток смазывающей жидкости между двумя группами пружинных колец.
Недостатком данного устройства является малый ресурс ввиду ускоренного износа пружинных колец от значительных взаимных перемещений относительно друг друга при деформациях от динамических нагрузок и вибраций.
Известен шпиндель забойного двигателя (заявка РФ 95115709, опубл. 27.09.1997), включающий корпус, размещенные внутри корпуса вал, осевую и радиальные опоры, между которыми установлен цилиндрический упругий элемент, в котором упругий элемент разделен на внутренний и наружный упругие элементы, обладающие одинаковой жесткостью, устанавливаемые соответственно на валу и в корпусе; а также усилие предварительного поджатая упругих элементов превышает на 10-15% осевую нагрузку на шпиндель, и осадка упругих элементов составляет 55-60% от полной, и кольцевые зазоры между внутренними и внешними элементами осевой опоры выполнены с возможностью торможения перетекания смазывающей жидкости из камеры внутреннего упругого элемента, и наоборот.
Недостатком данного устройства являются большие габариты вследствие малой величины модуля упругости несущих элементов, а также высокий момент страгивания и износ ввиду значительного первоначального поджатия упругих элементов.
Известна многоступенчатая осевая опора (патент РФ 2277189), состоящая из наружных и внутренних колец, дисков и подпятников с эластичными элементами, расположенных между торцами дисков. Эластичные элементы подпятников в каждой ступени осевой опоры установлены между торцами дисков с возможностью предварительного сжатия по торцам.
Недостатками данного устройства являются высокий момент страгивания и износ ввиду значительного первоначального поджатия упругих элементов.
Известна многоступенчатая осевая опора (патент РФ 2235225), ступени которой содержат подшипники скольжения, выполненные в виде пят, жестко зафиксированных на валу, между которыми установлены дистанционные кольца, и подпятников, зафиксированных в корпусе и разделенных дистанционными кольцами, а осевой зазор между поверхностями пяты и подпятника выполнен в интервале (0,1 1) , где -радиальный зазор в опоре для протока рабочей жидкости.
Недостатком данной опоры является наличие прогрессирующего осевого зазора ввиду трения, вибраций и наличие в буровом растворе абразивных примесей.
Известна осевая опора скольжения (патент РФ 2201489), включающая закрепленные на валу шпинделя вращающиеся диски пяты и закрепленные в корпусе шпинделя невращающиеся подпятники, на верхней и нижней торцовых поверхностях которых выполнены кольцевые канавки, заполненные эластичным материалом заподлицо с торцовыми поверхностями, внутренние поверхности кольцевых канавок невращающихся подпятников выполнены шероховатыми, а в качестве эластичного материала кольцевые канавки заполнены полиуретаном. При этом шероховатость внутренних поверхностей кольцевых канавок выполнена в виде выступов и углублений треугольной или прямоугольной формы с величиной углублений от 0,1 до 5,0 мм, а также может быть выполнена взаимосогласованная резьба с обеих боковых внутренних поверхностей кольцевых канавок. На верхней и нижней торцовых рабочих поверхностях вращающихся дисков пяты выполнены радиальные канавки спирального направления.
Недостатками данной осевой опоры являются большая металлоемкость, сложность изготовления и плохая ремонтопригодность устройства.
Известна многоступенчатая осевая опора скольжения (заявка РФ 2002112769, опубл. 27.01.2004), ступени которой содержат подшипники скольжения, диск пяты, дистанционные кольца, резинометаллические подпятники, отличающаяся тем, что опорные поверхности подпятника и диска пяты выполнены наклонными под углом к плоскости, перпендикулярной оси опоры, причем угол у составляет 10 45 град, внутренние кромки резины подпятника выполнены закругленными, статический осевой зазор между наклонными опорными поверхностями диска пяты и подпятника выполнен в интервале 0,01-0,5 мм, а внутренние кромки резины подпятника выполнены закругленными преимущественно с радиусом кривизны 2-6 мм.
Недостатками данной многоступенчатой опоры являются большая металлоемкость, сложность изготовления и плохая ремонтопригодность устройства.
Поставлена задача создать шпиндельную многоступенчатую подшипниковую опору с минимальными линейными габаритами и металлоемкостью, высокими ресурсом и ремонтопригодностью, технологически дешевую в изготовлении.
Поставленная цель достигается за счет того, что в многоступенчатой шпиндельной опоре забойного двигателя, состоящей из наружного неподвижного корпуса и вращающегося внутри него на подшипниках скольжения (осевых и радиальных) вала, согласно изобретению пакет осевых подшипников выполнен в виде кольцевых опор (пят и подпятников) с поперечным сечением в виде взаимосопряженных прямоугольных треугольников, причем основная опорная плоскость перпендикулярна оси шпиндельной опоры; а также между пятами вала установлены промежуточные листовые шайбы, которые могут выступать за пяты вала в радиальном направлении; эластомерные подложки выполнены листовыми незащемленными шайбами и на несущих поверхностях могут иметь рельефные выемки, причем на верхней эластомерной подложке выемки выполнены в виде дуг окружности, эксцентрично расположенных относительно оси подложки, с положительным градиентом направления по ходу вращения вала от края подложки к ее центру и анизотропией жесткости в радиальной системе координат: по ходу вращения вала жесткость меньше, чем в обратном направлении; а на нижней подложке выемки могут быть концентрическими с анизотропией жесткости в радиальном направлении: снаружи к центру подложки жесткость выше, чем в обратном направлении. Одновременно шпиндельная опора может быть выполнена маслонаполненной.
Сущность изобретения шпиндельной опоры забойного двигателя схематично поясняется на чертежах:
на Фиг.1 представлен процесс установки пакета осевых подшипников скольжения в корпус шпиндельной опоры;
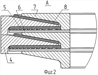
на Фиг.2 показан увеличенный вид поперечного сечения пакета осевых подшипников;
на Фиг.3 показан вид снизу и торец (проекционный вид) верхней эластомерной подложки с рельефными выемками и направление вращения вала забойного двигателя;
на Фиг.4 показана нижняя эластомерная подложка в недеформированном состоянии и выносной увеличенный вид поперечного сечения варианта концентрических рельефных выемок на ней.
Шпиндельная опора забойного двигателя с многоступенчатым подшипником скольжения состоит из неподвижного корпуса 1 и вращающегося внутри него вала 2, между которыми устанавливают пакет осевых подшипников скольжения 3 и фиксируют соответствующими стягивающими гайками (не показаны). По концам взаимодействия корпуса 1 и вала 2 устанавливают радиальные опоры скольжения (не показаны), разделяя таким образом результирующую реакционную нагрузку от породоразрушающего инструмента (шарошки не показана) на две составляющие: осевую и радиальную.
Осевое усилие на корпус 1 от вала 2 передается через пакет осевых подшипников скольжения 3, а именно: через жестко зафиксированные на корпусе 1 металлические подпятники 4 и свободно размещенные на них верхние эластомерные подложки 5, по несущей поверхности которых с рельефными выемками скользят во вращательном движении листовые шайбы 6, жестко зафиксированные с пятами вала 7 на валу 2. Нижние эластомерные подложки 8 размещают между сопрягаемыми конусными поверхностями подпятников 4 и пят 7. Несущая поверхность нижних эластомерных подложек 8 с концентрическими рельефными выемками контактирует с конической поверхностью пят вала 7.
Отличительными особенностями данной конструкции шпиндельной опоры от аналогов являются ее компактность, малая металлоемкость и высокая ремонтопригодность. Эти качества достигаются за счет отказа от дополнительных проставочных колец (в аналогах) и выполнением кольцевых опор (пят 7 и подпятников 4) с поперечным сечением в виде взаимосопряженных прямоугольных треугольников, причем основная опорная плоскость перпендикулярна оси шпиндельной опоры. Такая форма поперечного сечения не только обеспечивает равнопрочность деталей (снижение материалоемкости), но и позволяет разместить равное количество с аналогами пар кольцевых опор в корпусе 1 шпиндельной опоры с меньшими габаритами. Одновременно снижается и трудоемкость изготовления, так как уменьшается число поверхностей, требующих шлифовки в четыре раза по сравнению с аналогами: обрабатываются только стыковочные пояски пят 7 и подпятников 4, чем обеспечивается и равнотолщинность как отдельных деталей, так и пакета 3 в целом.
Высокая ремонтопригодность обеспечивается за счет дополнительных листовых шайб 6 и свободно размещаемых эластомерных подложек 5 и 8, на которые и приходится основная степень износа при работе шпиндельной опоры бурового забойного двигателя. Переборка пакета 3 не представляет больших сложностей даже в условиях Крайнего Севера, так как укороченную шпиндельную опору можно разместить в обогреваемых вагончиках. Дополнительная экономия средств достигается за счет низкой материалоемкости заменяемых деталей (листовых шайб 6 и эластомерных подложек 5 и 8), минимизации затрат на их доставку и хранение в местах ремонта (техобслуживания) шпиндельных опор.
Ввиду малой толщины свободно размещаемых эластомерных подложек 5 и 8 в форме тонколистовых шайб под них не предусмотрено никаких дополнительных канавок и углублений в подпятниках 4 и пятах вала 7, так как деформации в поперечном направлении от осевой нагрузки будут минимальными. Это позволяет увеличить несущую площадь верхних эластомерных подложек 5 до максимальных размеров и снизить трудоемкость изготовления и сборки пакета осевых подшипников скольжения 3.
Нижние эластомерные подложки 8 нагружены апериодическим усилием отдачи при работе забойного двигателя (или от его проверки над забоем) в десятки раз меньшим по времени воздействия, чем верхние эластомерные подложки 5, поэтому могут изготавливаться из более дешевого материала и меньше по размеру, чем верхние эластомерные подложки 5.
Листовые шайбы 6 можно изготавливать в высокопроизводительных вырубных штампах из листовых полос, в качестве материала можно использовать легированные или пружинные термообработанные стали (65Г, 60С2А и пр.) с уже отполированной поверхностью (достаточно одной) в поставке, чем достигается низкая трудоемкость изготовления. А толщина листа (1 2 мм) подбирается эмпирически, исходя из потребного ресурса наработки до ремонта целиком всей компоновки низа буровой колонны 200 500 часов. В этот интервал укладывается и ресурс породоразрушающего инструмента, и стойкость радиальных подшипников скольжения, забойного двигателя и других элементов. Наличие податливых эластомерных подложек 5 и 8 позволяет варьировать толщину листовых шайб 6 (в зависимости от конкретных условий бурения скважины) в пределах долей миллиметра без изменения целиком конструкции пакета 3. Твердость после термообработки и полированная несущая поверхность контакта листовых шайб 6 обеспечивают им высокую работоспособность и ресурс. Высокая жесткость листовых шайб 6 позволяет выполнить пяты вала 7 меньше по диаметру, что удешевляет их изготовление и способствует амортизации ударных нагрузок. Расположение основной опорной плоскости перпендикулярно оси шпиндельной опоры позволяет более равномерно распределить нагрузку между элементами пакета 3 и обеспечивает одинаковые условия трения и износа.
Эластомерные подложки 5 и 8 могут изготавливаться как вырубкой из листа эластомера (резина, полиуретан, фторкаучук и пр.), так и формованием в пресс-формах с выполнением на несущих поверхностях профилированных выемок для получения новых качеств эксплуатирования. Эти качества неразрывно связаны с условиями работы, а именно: обеспечение гидродинамической смазки между трущимися поверхностями листовых шайб 6 и верхними эластомерными подложками 5.
При вращении вала 2 в направлении (Фиг.3) на жидкость (масло, буровой раствор), находящуюся в зазоре между листовой шайбой 6 и верхней эластомерной подложкой 5 и в ее профилированных выемках, будут действовать две основные силы: центробежная, отбрасывающая жидкость наружу вращения, и сила трения о кромки выемок, увлекающая жидкость наоборот к оси вращения. Причем, именно для последней составляющей на верхней эластомерной подложке 5 рельефные выемки выполнены в виде дуг окружности, эксцентрично расположенных относительно оси подложки, с положительным градиентом направления по ходу вращения вала от края подложки к ее центру.
В результате действия двух разнонаправленных сил в жидкости будут возникать микровихри, которые и обеспечивают эффект гидродинамической смазки в контакте трущихся поверхностей листовой шайбы 6 и верхней эластомерной подложки 5. Это позволит снизить трение и износ, а следовательно, повысить ресурс целиком конструкции пакета осевых подшипников 3.
Анизотропия жесткости в радиальной системе координат выемок верхней эластомерной подложки 5 (по ходу вращения вала жесткость меньше, чем в обратном направлении) обусловлена необходимостью лучшего смачивания трущейся поверхности листовой шайбы 6 рабочей жидкостью (масло, буровой раствор), так как удельное давление в зоне контакта листовой шайбы 6 и верхней эластомерной подложки 5 очень велико, и есть вероятность сухого трения. Микродеформации несущей поверхности верхней эластомерной подложки 5 образуют дополнительный зазор, в который затекает рабочая жидкость, тем самым увеличивается площадь смазанной поверхности и, как следствие, ресурс трущейся пары.
Нижние эластомерные подложки 8 могут быть унифицированы с верхними эластомерными подложками 5 (как частный случай), но при необходимости выполнить шпиндельную опору маслонаполненной (при большом процентном содержании песка и других примесей в буровом растворе или его целенаправленном аэрировании со значительным ухудшением смазывающих свойств) или с повышенными амортизирующими свойствами предлагается использовать патентуемую конструкцию нижней эластомерной подложки 8 с концентрическими рельефными выемками, имеющие анизотропию жесткости в радиальном направлении: снаружи к центру подложки жесткость выше, чем в обратном направлении.
В собранном состоянии пакета 3 верхушки концентрических рельефных выемок нижних эластомерных подложек 8 сдеформированы и плотно прилегают к наклонному торцу пят вала 7, поэтому для наполнения маслом (например, через отверстие в корпусе 1) концентрические рельефные выемки выполнены с анизотропией жесткости в радиальном направлении: снаружи к центру подложки жесткость выше, чем в обратном направлении. Благодаря этому, масло может перетекать из одной полости пакета 3 в другую (через рельефные выемки на верхних эластомерных подложках 5), вытесняя воздух и заполняя собой весь свободный объем, при заправке снизу вверх по направлению малой жесткости верхушек концентрических рельефных выемок нижних эластомерных подложек 8.
При работе маслонаполненной шпиндельной опоры на забое в составе бурового двигателя на масло будет воздействовать давление бурового раствора, направленное сверху вниз, и концентрические рельефные выемки нижних эластомерных подложек 8 будут распираться и работать как манжеты, сохраняя запасенное количество масла продолжительное время. Даже в случае постепенного выдавливания и замены масла в шпиндельной опоре буровым раствором, концентрические рельефные выемки нижних эластомерных подложек 8 будут препятствовать продвижению внутрь пакета 3 песка и других абразивных частиц, предохраняя таким образом шпиндельную опору от преждевременного износа и выхода из строя.
Одновременно с этими положительными качествами концентрические рельефные выемки нижних эластомерных подложек 8 при наличии любой жидкости в их полостях являются прекрасными демпферами: при вибрации или усилиях отдачи породоразрушающего инструмента пяты вала 7 будут сдавливать концентрические рельефные выемки нижних эластомерных подложек 8 и находящуюся в их полостях жидкость, которая будет проистекать в направлении меньшей жесткости (от оси шпиндельной опоры наружу), поглощая энергию удара в завихрениях.
В итоге, патентуемые технические решения позволяют создать более компактную шпиндельную опору бурового забойного двигателя с увеличенным ресурсом, малой материалоемкостью и высокой ремонтопригодностью, с расширенными эксплуатационными характеристиками, технологичную в изготовлении.
Формула изобретения
1. Шпиндельная опора забойного двигателя, состоящая из наружного неподвижного корпуса и вращающегося внутри него на подшипниках скольжения (осевых и радиальных) вала, отличающаяся тем, что пакет осевых подшипников выполнен в виде кольцевых опор (пят и подпятников) с поперечным сечением в виде взаимосопряженных прямоугольных треугольников, причем основная опорная плоскость перпендикулярна оси шпиндельной опоры.
2. Шпиндельная опора забойного двигателя по п.1, отличающаяся тем, что между пятами вала установлены промежуточные листовые шайбы, которые могут выступать за пяты вала в радиальном направлении.
3. Шпиндельная опора забойного двигателя по любому из пп.1 или 2, отличающаяся тем, что эластомерные подложки выполнены листовыми незащемленными шайбами и на несущих поверхностях могут иметь рельефные выемки, причем на верхней эластомерной подложке выемки выполнены в виде дуг окружности, эксцентрично расположенных относительно оси подложки, с положительным градиентом направления по ходу вращения вала от края подложки к ее центру и анизотропией жесткости в радиальной системе координат: по ходу вращения вала жесткость меньше, чем в обратном направлении; а на нижней подложке выемки могут быть концентрическими с анизотропией жесткости в радиальном направлении: снаружи к центру подложки жесткость выше, чем в обратном направлении.
4. Шпиндельная опора забойного двигателя по п.3, отличающаяся тем, что шпиндельная опора может быть выполнена маслонаполненной.
РИСУНКИ
|
|