|
|
(21), (22) Заявка: 2008152083/06, 29.05.2007
(24) Дата начала отсчета срока действия патента:
29.05.2007
(30) Конвенционный приоритет:
02.06.2006 EP 06011528.4
(46) Опубликовано: 20.08.2010
(56) Список документов, цитированных в отчете о поиске:
US 5474417 A, 12.12.1995. PR 2325830 A1, 22.04.1977. GB 2245312 A, 02.01.1992. EP 1286022 A1, 26.02.2003. RU 2034175 C1, 30.04.1995. RU 2192564 C2, 10.11.2002. RU 2148732 C1, 10.05.2000. SU 1257294 A1, 15.09.1986.
(85) Дата перевода заявки PCT на национальную фазу:
11.01.2009
(86) Заявка PCT:
EP 2007/055183 20070529
(87) Публикация PCT:
WO 2007/141160 20071213
Адрес для переписки:
129090, Москва, ул.Б.Спасская, 25, стр.3, ООО “Юридическая фирма Городисский и Партнеры”, пат.пов. А.В.Мицу, рег. 364
|
(72) Автор(ы):
БАЙЕР Ромен (DE), БЛОМЕИЭР Мальте (DE), КОРНЕЛИУС Кристиан (DE), МАТТИАС Торстен (DE), ЗИБЕР Уве (DE)
(73) Патентообладатель(и):
СИМЕНС АКЦИЕНГЕЗЕЛЛЬШАФТ (DE)
|
(54) КОЛЬЦЕВОЙ ПОТОЧНЫЙ КАНАЛ ДЛЯ ТУРБОМАШИНЫ С ПРОХОДЯЩИМ В ОСЕВОМ НАПРАВЛЕНИИ ОСНОВНЫМ ПОТОКОМ, А ТАКЖЕ КОМПРЕССОР, СОДЕРЖАЩИЙ ТАКОЙ ПОТОЧНЫЙ КАНАЛ
(57) Реферат:
Кольцевой поточный канал (18) для турбомашины, в частности компрессора, расположен концентрично вокруг оси (2) машины и ограничен круглой в поперечном сечении ограничительной стенкой (22, 24) для направления основного потока (26). Ограничительная стенка (22, 24) имеет множество распределенных по окружности проходов (46) обратного потока, через которые ответвляемый из основного потока (26) в месте (50) отбора частичный поток (49) направляется обратно в основной поток (26) в лежащем по потоку выше места (50) отбора месте (52) ввода. В поточном канале (18) лучевидно расположены перья (32) лопаток лопаточного венца. Вершины (42) перьев лопаток лежат противоположно ограничительной стенке (22, 24) с образованием зазора. Перья (32) рабочих лопаток установлены с возможностью движения в заданном направлении (U) вращения вдоль окружности ограничительной стенки (24) или ограничительная стенка (22) установлена с возможностью движения в заданном направлении (U) вращения относительно перьев (32) направляющих лопаток лопаточного венца (41). При рассматривании в направлении (U) вращения место (50) отбора каждого прохода (46) обратного потока лежит перед соответствующим местом (52) ввода. Изобретение позволяет предотвратить помпаж и срывы потока и увеличить коэффициент полезного действия компрессора. 2 н. и 15 з.п. ф-лы, 4 ил.
Изобретение относится к поточному каналу для компрессора, который расположен концентрично вокруг проходящей в осевом направлении оси машины и для направления в осевом направлении основного потока ограничен круглой в поперечном сечении ограничительной стенкой, при этом ограничительная стенка имеет множество распределенных по окружности проходов обратного потока, через которые ответвляемый из основного потока в месте отбора частичный поток направляется обратно в основной поток в лежащем по потоку выше места отбора месте ввода, и который содержит расположенные лучевидно в поточном канале перья лопаток лопаточного венца, при этом вершины перьев лопаток лежат противоположно ограничительной стенке с образованием зазора, при этом перья рабочих лопаток установлены с возможностью движения в заданном направлении вращения вдоль окружности ограничительной стенки, или ограничительная стенка установлена с возможностью движения в заданном направлении вращения относительно перьев направляющих лопаток лопаточного венца.
Газовые турбины и их принцип действия широко известны. Всасываемый компрессором газовой турбины воздух сжимается в нем и затем смешивается в горелке с топливом. Затем втекающая в камеру сгорания смесь сгорает с образованием горячего газа, который затем протекает через расположенную за камерой сгорания турбину и при этом в результате своего расширения приводит во вращение ротор газовой турбины. За счет вращения ротора приводится в действие наряду с компрессором также соединенный с ротором генератор, который преобразует подводимую механическую энергию в электрическую энергию.
Как компрессор, так и турбина состоят из нескольких включенных последовательно ступеней, которые содержат каждая два следующих друг за другом лопаточных венца. Турбинная ступень состоит из образованного неподвижными направляющими лопатками венца направляющих лопаток и расположенного ниже по потоку венца рабочих лопаток, в то время как ступень компрессора состоит из венца рабочих лопаток и расположенного ниже по потоку венца направляющих лопаток, при рассматривании каждый раз в направлении потока протекающей среды. В газовой турбине с одним валом все рабочие лопатки смонтированы без возможности проворачивания на общем роторе.
Расположенные последовательно, т.е. следующие друг за другом в осевом направлении ступени компрессора, транспортируют на основании вращающихся вместе с ротором рабочих лопаток всасываемый воздух от входа компрессора в направлении выхода компрессора, при этом воздух внутри каждой ступени (или венца) испытывает приращение давления. Общий прирост давления в компрессоре равен сумме всех приращений давления в каждой ступени (или всех венцов).
Как известно, при работе газовой турбины, в частности при работе компрессора газовой турбины, может происходить увеличение рециркуляции при приближении к границе стабильности за счет неправильного обтекания или увеличивающегося завихрения расслаивания. За счет этого в компрессоре может возникать срыв потока на одном или нескольких перьях лопаток, т.е. поток воздуха в направлении основного потока прекращается в части ступени компрессора, поскольку передаваемая с ротора на воздух энергия недостаточна для его транспортировки через компрессорную ступень и обеспечения требуемой степени сжатия соответствующей ступени компрессора. Степень сжатия является возникающим в соответствующей ступени компрессора увеличением давления относительно входного давления соответствующей ступени. Если не противодействовать непосредственно срыву потока, то его распространение может приводить к вращательному срыву и даже при некоторых обстоятельствах к тому, что весь воздушный поток через компрессор меняет свое направление на обратное, что известно как помпаж компрессора. Это особенно критичное рабочее состояние создает опасность для лопаток и предотвращает достаточную подачу сжатого воздуха в камеру сгорания, так что диагностируется неправильная работа газовой турбины и машину необходимо срочно выключать.
Для противодействия указанной проблеме из ЕР 0719907 А1 известна структурированная ограничительная стенка, которая лежит противоположно вершинам рабочих лопаток. Это структурирование корпуса, так называемое Casing Treatment (обработка корпуса), служит для положительного влияния на близкий к расслаиванию поток в ситуациях, в которых грозит срыв потока на пере лопатки. На основе структурирования из основного потока отбираются в области низких скоростей потока частичные потоки и затем по потоку выше места отбора снова подаются в основной поток. Отобранный на стороне сжатия лопаток компрессора в зоне вершин воздух подается в основной поток на стороне всасывания соответствующей лопатки компрессора для предотвращения возможно возникающего там срыва потока. В соответствии с этим направляющие частичные потоки канала наклонены относительно оси машины, соответственно оси вращения так, что при рассматривании в направлении вращения ротора место отбора лежит после места ввода, в котором подается обратно ответвленный частичный поток близкого к расслаиванию основного потока. Это необходимо для того, чтобы на основании угла установки установленные косо к направлению вращения вершины перьев лопаток могли направлять частичный поток над вершиной пера лопатки со стороны сжатия на сторону всасывания. Таким образом, продольная длина обратного канала ориентирована по существу поперек прямой угла установки на стороне вершин лопаток, т.е. приблизительно параллельно оси машины.
Аналогичное устройство известно из ЕР 1286022 А1.
Указанные выше варианты выполнения имеют тот недостаток, что направление прохождения частичных потоков не является оптимальным.
Кроме того, в FR 2325830 раскрыт корпус компрессора с выполненными в нем канавками. За счет этих канавок должен предотвращаться срыв пограничного потока и тем самым помпаж компрессора, однако при этом возникающий за счет канавок поток проходит не противоположно основному потоку, а вместе с ним.
Задачей изобретения является создание кольцевого в поперечном сечении поточного канала компрессора, обработка корпуса которого обеспечивает дополнительное улучшение рабочего диапазона компрессора и уменьшение склонности компрессора к срыву потока.
Согласно изобретению предлагается соответствующий пригодный для оказания влияния на близкий к расслаиванию поток поточный канал для предпочтительно осевой турбомашины, при этом при рассматривании в направлении вращения перьев лопаток место отбора каждой зоны обратного потока лежит перед соответствующим местом ввода. Аналогичное относится к внутренней ограничительной стенке как части ротора, которая движется относительно свободных концов перьев направляющих лопаток.
Согласно изобретению предлагается, что продольная длина зон обратного потока и угол установки вершин перьев лопаток относительно оси машины не пересекается под относительно большим углом и тем самым проходят поперек друг друга, а продольная длина проходов обратного потока и угол установки пера лопатки в зоне вершины наклонены почти идентично относительно оси машины так, что они могут проходить почти параллельно. Изобретение исходит из понимания того, что направление подачи частичных потоков в относительной системе направления вращения перьев лопаток неоптимально согласованы друг с другом. При этом пришлось отойти от представления, что отбираемый через зону обратного потока для оказания влияния на поток на стороне всасывания перьев лопаток частичный поток отбирается не на их стороне сжатия и направляется через вершину соответствующего пера лопатки. На основании бесконечной, при рассматривании в окружном направлении, ограничительной стенки и расположенных также в бесконечном лопаточном венце перьев лопаток можно направлять частичный поток с одного из перьев лопаток на предшествующее в направлении вращения перо лопатки. Таким образом, применительно ко всем перьям лопаток лопаточного венца можно через подходящим образом наклоненную относительно машинной оси зону обратного потока соединять друг с другом по типу последовательного соединения сторону сжатия и сторону всасывания двух непосредственно соседних перьев лопаток для оказания влияния на поток перьев лопаток на стороне всасывания с целью эффективного предотвращения возможно грозящего срыва потока в этом месте.
На основании наклона каждой зоны обратного потока относительно машинной оси скорость набегания и направление набегания каждого возвращаемого в основной поток частичного потока в зоне соответствующего места ввода значительно улучшаются по сравнению с уровнем техники. Это справедливо, в частности, для обтекаемых с околозвуковой скоростью перьев лопаток или участков перьев лопаток, которые лежат на сравнительно большом радиусе относительно машинной оси. Тем самым значительно улучшается также кинематика стабилизированного согласно изобретению основного потока, в частности близкого к расслоению основного потока. Кроме того, с помощью выбранного направления набегания частичного потока относительно машинной оси можно усиливать закручивание основного потока, что благоприятно сказывается на местном обтекании и коэффициенте полезного действия компрессора.
Те же преимущества можно обеспечивать при свободно стоящих направляющих лопатках, которые закреплены радиально снаружи при расположении их свободных вершин перьев лопаток противоположно расположенной на роторе вращающейся ограничительной стенке с образованием зазора. При этом предусмотрена в роторе обработка корпуса согласно изобретению, и она движется вместе с ротором относительно неподвижных направляющих лопаток.
За счет этих мер согласно изобретению начало срыва потока сдвигается к меньшим массовым расходам, что приводит к расширению рабочего диапазона снабженного ими компрессора. Кроме того, во время работы такого компрессора реже возникает, возможно, создающий опасность для работы срыв потока или помпаж.
Предпочтительные варианты выполнения указаны в зависимых пунктах формулы изобретения.
Согласно первой предпочтительной модификации изобретения число проходов обратного потока равно числу или равно целому кратному числу перьев лопаток. За счет этого можно задавать особенно равномерно распределенную вдоль окружности обработку корпуса, так что в каждом месте окружности можно обеспечивать равномерное влияние на близкий к расслоению поток пробегающих мимо при работе перьев лопаток.
Место отбора одной зоны обратного потока лежит предпочтительно противоположно одному из перьев лопаток, а соответствующее место ввода этой зоны обратного потока лежит в той зоне окружности ограничительной стенки, в которой лежит вершина опережающего это перо лопатки в направлении вращения пера лопатки. Следовательно, отобранный на одном пере лопатки частичный поток предназначен для оказания влияния на предшествующее соседнее перо лопатки. За счет этого предусмотрены сравнительно сильно наклоненные относительно машинной оси, но в том же направлении, что и угол установки, зоны обратного потока, так что выходящий из них частичный поток может оказывать положительное влияние на возникающее в основном потоке закручивание.
Указанные выше меры являются особенно эффективными, когда место отбора и место ввода каждой зоны обратного потока распределены по окружности так, что во время движения перьев лопаток вдоль ограничительной стенки в один и тот же момент времени стенка стороны сжатия одного пера лопатки, при рассматривании в направлении вращения, находится непосредственно перед местом отбора одной зоны обратного потока, а стенка стороны всасывания опережающего это перо лопатки пера лопатки находится непосредственно после места ввода этой зоны обратного потока.
Обычно место отбора каждой зоны обратного потока расположено на участке ограничительной стенки, который предусмотрен по потоку выше задних кромок лежащих противоположно ограничительной стенке перьев лопаток. За счет этого обеспечивается особенно эффективная обработка корпуса.
В другом варианте выполнения изобретения осевое место ввода каждой зоны обратного потока расположено на участке ограничительной стенки, который предусмотрен по потоку выше передних кромок противоположных ограничительной стенке перьев лопаток. Это сказывается особенно положительно на закручивании.
Целесообразно, зона обратного потока может быть выполнена, по меньшей мере, частично в виде канала обратного потока, который проходит внутри ограничительной стенки поточного канала. При этом проходы для обратного потока могут быть разделены ламелями и тем самым образовывать распределенные по окружности обратные каналы; однако они могут быть выполнены также в виде образованных в поверхности ограничительной стенки канавок.
Распределенные по окружности ламели могут быть предпочтительно выполнены так, что обеспечивается оптимальное набегание на передние кромки пера лопатки. Для этого ламели могут быть выполнены вдоль их продольной длины, например, в виде профилированных направляющих элементов, соответственно направляющих лопаток, за счет чего следует ожидать дополнительно улучшенной обработки корпуса. В частности, можно достигать при необходимости более высоких скоростей выхода, соответственно набегания, даже независимо от того, выполнена или нет обработка корпуса согласно изобретению.
По соображениям изготовления и монтажа ламели несут осевой участок ограничительной стенки, который лежит между местом отбора и местом ввода.
Было установлено, что особенно предпочтительным является вариант выполнения, в котором распределенные по окружности зоны обратного потока на стороне места отбора и/или на стороне места ввода начинаются, соответственно заканчиваются в соответствующем проходящем бесконечно вдоль окружности кольцевом зазоре. Если образуются неравномерно распределенные по окружности входные потоки в зону обратного потока, соответственно выходные потоки из зоны обратного потока, то за счет этого можно обеспечивать увеличение равномерности, например, местных давлений и условий течения. В этом случае подлежащие выдвижению положения для задания наклона проходов обратного потока должны лежать на участке окружности, на котором начинаются, соответственно заканчиваются наклоненные относительно машинной оси ламели.
Указанные выше и другие признаки, а также преимущества данного изобретения следуют из приведенного ниже описания одного варианта выполнения со ссылками на прилагаемые чертежи, на которых изображено:
фиг.1 – продольный разрез газовой турбины;
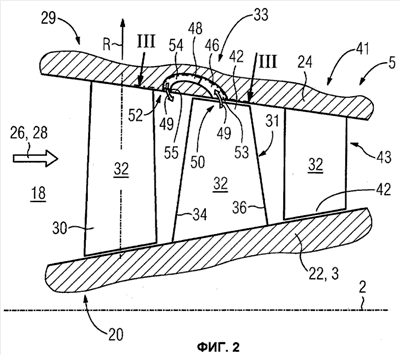
фиг.2 – поперечный разрез компрессора на стороне входа с расположенной в наружной стенке корпуса «обработкой корпуса»;
фиг.3 – обработка корпуса согласно фиг.2 на виде сверху в радиальном направлении снаружи в направлении машинной оси; и
фиг.4 – треугольник скоростей для показанного на фиг.3 расположения.
На фиг.1 показана в продольном разрезе газовая турбина 1. Она имеет внутри установленный с возможностью вращения вокруг машинной оси 2 ротор 3, который называется также турбинным ротором. Вдоль ротора 3 расположены последовательно воздухозаборник 4, компрессор 5, тороидальная кольцевая камера 6 сгорания с несколькими расположенными с симметрией вращения горелками 7, турбинный блок 8 и корпус 5 отработавших газов. Кольцевая камера 6 сгорания образует пространство 17 сгорания, которое соединено с кольцевым каналом 16 горячего газа. Там четыре расположенные друг за другом турбинные ступени 10 образуют турбинный блок 8. Каждая турбинная ступень 10 образована из двух лопаточных колец. При рассматривании в направлении потока образованного в кольцевой камере 6 сгорания горячего газа 11 в канале 16 горячего газа за рядом 13 направляющих лопаток расположен образованный из рабочих лопаток ряд 14. Направляющие лопатки 12 закреплены на статоре, в то время как рабочие лопатки 15 ряда 14 с помощью диска 19 установлены на роторе 3. С ротором 3 соединен генератор или приводная машина (не изображены).
На фиг.2 схематично показан поперечный разрез расположенного на стороне входа конца 20 компрессора 5, в котором предусмотрен конически сужающийся поточный канал 18. Поточный канал 18 окружен в радиальном направлении внутри расположенной на стороне ротора ограничительной стенкой 22, и в радиальном направлении снаружи – расположенной на стороне входа ограничительной стенкой 24, которая расположена концентрично машинной оси 2. При рассматривании в направлении 28 основного потока 26 сначала предусмотрен венец 29 поворачиваемых в радиальном направлении R входных направляющих лопаток 30, с помощью которых можно регулировать в соответствии с потребностью массовый расход основного потока 26. По потоку ниже входных направляющих лопаток 30 показано закрепленное на роторе 3 перо 32 рабочей лопатки 31 венца 33 рабочих лопаток первой ступени компрессора. Каждое перо 32 лопатки содержит обтекаемую сначала основным потоком переднюю кромку 34 и заднюю кромку 36, на которой основной поток 26 сходит с пера 32 лопатки. Перья 32 лопаток образованы каждое по существу выпукло-изогнутой, расположенной на стороне всасывания стенкой 38 лопатки и по существу вогнуто-изогнутой, расположенной на стороне сжатия стенкой 40 лопатки (см. фиг.3). Перо 32 рабочей лопатки 31 зажато с одной стороны в роторе 3 так, что вершина 42 пера лопатки лежит противоположно наружной ограничительной стенке 24 с образованием зазора.
По потоку ниже рабочей лопатки 31 закреплен на наружной ограничительной стенке 24 относящийся к первой ступени компрессора венец 41 направляющих лопаток. Каждая направляющая лопатка 43 является свободностоящей, т.е. противоположная внутренней ограничительной стенке 22 вершина 42 пера 32 лопатки не фиксирована в охватывающем ротор 3 крепежном кольце, а лежит также с образованием зазора противоположно расположенной на роторе 3 ограничительной стенке 22. Таким образом, перо 32 направляющей лопатки 32 зажато лишь с одной стороны на корпусе в радиальном направлении снаружи.
На осевом участке наружной ограничительной стенки 24, который лежит частично противоположно вершине 42 пера направляющей лопатки 31, предусмотрена обработка корпуса, которая содержит множество равномерно распределенных по окружности наружной ограничительной стенки 24 проходов 46 для основного потока в виде расположенных внутри наружной ограничительной стенки 24 обратных каналов 48. В качестве альтернативного решения, проходы 46 для обратного потока могут быть выполнены также в виде фрезерованных в наружной ограничительной стенке 24 канавок.
Распределенные по окружности обратные каналы 48 отделены друг от друга ламелями 54. Ламели 54 проходят лишь частично по всей длине проходов 46 обратного потока. За счет этого достигается, что как на стороне ввода, так и на стороне отбора создается соответствующий бесконечно проходящий по окружности в ограничительной стенке 24 кольцевой зазор 53, 55 для отбора частичного потока 49 и его обратного ввода в основной поток 26.
Через проходы 46 обратного потока можно ответвлять частичный поток 49 из основного потока 26 в месте 50 отбора и по потоку выше относительно места 50 отбора и направления 28 основного потока снова подавать в основной поток 26 в месте 52 ввода.
На фиг.3 показан вид сверху по линии III-III разреза. Одинаковые с фиг.2 элементы обозначены идентичными позициями. На виде сверху схематично показаны три рабочие лопатки 31′, 31”, 31”’ с относящимися к ним перьями 32 лопаток. Перья 32 лопаток имеют расположенную на стороне всасывания стенку 38 лопатки и расположенную на стороне сжатия стенку 40 лопатки, которые проходят каждая от расположенной на стороне набегания передней кромки 34 к расположенной на стороне сбегания задней кромке 36. Соединяющая переднюю кромку 34 с задней кромкой 36 прямая 56 пересекает машинную ось 2 под углом установки.
Через первый кольцевой зазор 53 частичные потоки 49 могут входить в зону 46 обратного потока, т.е. из плоскости листа. Затем проходящие через ограничительную стенку 24 противоположно направлению 28 основного потока частичные потоки 49 подаются после прохождения обратных каналов 48 через расположенный по потоку выше передней кромки 34 второй кольцевой зазор 55 в основной поток 26.
Ламели 54 могут быть выполнены в виде аэродинамически оптимальных профилей, за счет чего обеспечивается особенно эффективное действие обработки корпуса. Ламели 54 имеют каждая два противоположных друг другу конца 64, 66. Соединяющая концы 64, 66 одной из ламелей 54 прямая 68 наклонена относительно машинной оси аналогично прямой 56, которая имеет угол наклона. Между прямыми 56, 58 находится минимальный угол, который меньше 30°.
Поскольку в показанном варианте выполнения предусмотрены расположенные на стороне отбора и на стороне ввода кольцевые зазоры 53, 55, то подлежащие выдвижению для задания наклона обратных каналов 48 положения должны быть расположены на участке окружности, на котором начинаются, соответственно заканчиваются наклоненные относительно машинной оси ламели 54.
На основании сравнительно большого наклона ламелей 54 относительно машинной оси 2, характеризуемого прямой 68, которая проходит аналогично углу установки, каждый проходящий через обратные каналы 48 частичный поток 49 отклоняется так, что он получает составляющую потока, которая направлена одинаково с направлением U вращения рабочих лопаток 31. За счет этого каждый ответвленный из основного потока 26 частичный поток 49 подается, при рассматривании в направлении U вращения рабочих лопаток 31, в основной поток 26 в месте, которое по сравнению с местом 50 отбора расположено с опережением.
Например, обозначенный позицией 49” частичный поток отбирается с расположенной на стороне сжатия стенки 40 рабочей лопатки 31” и вводится в зоне перед передней кромкой рабочей лопатки 31′, которая относительно рабочей лопатки 31” расположена с опережением.
На фиг.4 показан относящийся к фиг.3 треугольник скоростей, в котором позицией u1 обозначен вектор скорости перьев 32 лопаток в зоне вершин, позицией с1 обозначен вектор скорости частичного потока 49, который через обратный канал 48 подается в основной поток 26, и позицией w1 обозначен вектор скорости набегающего на перо 32 лопатки в зоне вершины 32 пера лопатки основного потока 26. Из треугольника скоростей следует, что каждый частичный поток 49 имеет одинаково направленную с направлением U вращения составляющую потока, а не как в ближайшем уровне техники противоположно направленную составляющую потока. За счет этого можно положительно усиливать закручивание основного потока 26, благодаря чему при режиме работы компрессора 5 вблизи границы помпажа срыв потока на стороне всасывания происходит более замедленно по сравнению с ближайшим уровнем техники. Это достигается тем, что из области низких скоростей потока над вершинами 42 перьев лопаток части основного потока 26 транспортируются назад к передней кромке 34 рабочей лопатки и там вдуваются предпочтительно с максимально возможной скоростью, что уменьшает ответственную за помпаж блокаду. Кроме того, возвращаемый в основной поток 26 частичный поток 49 имеет положительную осевую составляющую потока. В соответствии с этим, в зоне места 52 ввода происходит, по меньшей мере, частичный поворот направления частичного потока 49 в направлении основного потока 26. С помощью предложенного решения можно дополнительно улучшать прохождение частичного потока 49 и основного потока 26, в частности во время режима частичной нагрузки, поскольку впервые учитывается и улучшается направление набегания частичного потока 49 в относительной системе рабочих лопаток 31, как показано на фиг.4.
Кроме того, за счет профилированных ламелей 54, которые вдоль своей продольной длины аэродинамически изогнуты аналогично перьям 32 рабочих лопаток, соответственно направляющих лопаток 31, 43 компрессора, достигается имеющее особенно низкие потери направление частичных потоков 49 через наружную ограничительную стенку 24, соответственно вдоль нее, независимо от изобретения.
В целом, изобретение предлагает компрессор 5 с проходящим в осевом направлении потоком, содержащий обработку корпуса, который является менее чувствительным к срыву потока и помпажу, поскольку учитывается и улучшается угол набегания подаваемых обратно через ограничительную стенку 22, 24 частичных потоков 49 в относительной системе рабочих лопаток 31. Для этого направляющие частичный поток 49 каналы 48 наклонены относительно направления U вращения так, что каждая вращающаяся лопатка 31 сначала проходит у отверстий 50 отбора и после этого у отверстий 52 ввода.
Формула изобретения
1. Кольцевой поточный канал (18) для турбомашины, который расположен концентрично вокруг проходящей в осевом направлении оси (2) машины и ограничен круглой в поперечном сечении ограничительной стенкой (22, 24) для направления основного потока (26), при этом ограничительная стенка (22, 24) имеет множество распределенных по окружности проходов (46) обратного потока, через которые ответвляемый из основного потока (26) в месте (50) отбора частичный поток (49) направляется обратно в основной поток (26) в лежащем по потоку выше места (50) отбора месте (52) ввода, и который содержит расположенные лучевидно в поточном канале (18) перья (32) лопаток лопаточного венца, при этом вершины (42) перьев лопаток лежат противоположно ограничительной стенке (22, 24) с образованием зазора, при этом перья (32) рабочих лопаток установлены с возможностью движения в заданном направлении (U) вращения вдоль окружности ограничительной стенки (24), или ограничительная стенка (22) установлена с возможностью движения в заданном направлении (U) вращения относительно перьев (32) направляющих лопаток лопаточного венца (41), отличающийся тем, что при рассматривании в направлении (U) вращения место (50) отбора каждого прохода (46) обратного потока лежит перед соответствующим местом (52) ввода.
2. Поточный канал (18) по п.1, в котором число проходов (46) обратного потока равно числу или равно целому кратному числу перьев (32) лопаток.
3. Поточный канал (18) по любому из пп.1 или 2, в котором место (50) отбора прохода (46) обратного потока лежит противоположно одному из перьев (32) лопаток, а соответствующее место (52) ввода прохода (46) обратного потока лежит в той зоне окружности ограничительной стенки (22, 24), в которой лежит вершина (42) опережающего это перо (32) лопатки в направлении вращения (U) пера лопатки.
4. Поточный канал (18) по п.3, в котором место (50) отбора и место (52) ввода проходов (46) обратного потока распределены по окружности так, что во время движения перьев (32) лопаток вдоль ограничительной стенки (22, 24) в один и тот же момент времени стенка (40) стороны сжатия одного пера (32) лопатки при рассматривании в направлении (U) вращения находится непосредственно перед местом (50) отбора одного прохода (46) обратного потока, а стенка (38) стороны всасывания опережающего это перо (32) лопатки в направлении (U) вращения пера (32) лопатки расположена непосредственно после места (52) ввода соответствующего прохода (46) обратного потока.
5. Поточный канал (18) по любому из пп.1 или 2, в котором при рассматривании в осевом направлении место (50) отбора каждого прохода (46) обратного потока расположено на участке ограничительной стенки (22, 24), который предусмотрен по потоку выше задних кромок (36) лежащих противоположно ограничительной стенке (22, 24) перьев (32) лопаток.
6. Поточный канал (18) по любому из пп.1 или 2, в котором при рассматривании в осевом направлении место (52) ввода каждого прохода (46) обратного потока расположено на участке ограничительной стенки (22, 24), который предусмотрен по потоку выше передних кромок (34) противоположных ограничительной стенке (22, 24) перьев (32) лопаток.
7. Поточный канал (18) по любому из пп.1 или 2, в котором проход (46) обратного потока в зоне места (52) ввода входит в поточный канал (18) так, что протекающий обратно через него частичный поток (49) имеет осевую составляющую потока, которая направлена одинаково с основным потоком (26).
8. Поточный канал (18) по любому из пп.1 или 2, в котором проход (46) обратного потока выполнен, по меньшей мере, частично в виде обратного канала (48).
9. Поточный канал (18) по п.8, в котором проходы (46) обратного потока разделены ламелями (54).
10. Поточный канал (18) по п.9, в котором ламели (54) аэродинамически профилированы вдоль своей продольной длины.
11. Поточный канал (18) по любому из пп.9 или 10, в котором отвод обратных потоков (49) и/или ввод обратных потоков (49) в основной поток (26) происходит в соответствующем кольцевом зазоре (53, 55).
12. Поточный канал (18) по п.4, в котором при рассматривании в осевом направлении место (50) отбора каждого прохода (46) обратного потока расположено на участке ограничительной стенки (22, 24), который предусмотрен по потоку выше задних кромок (36) лежащих противоположно ограничительной стенке (22, 24) перьев (32) лопаток.
13. Поточный канал (18) по п.4, в котором при рассматривании в осевом направлении место (52) ввода каждого прохода (46) обратного потока расположено на участке ограничительной стенки (22, 24), который предусмотрен по потоку выше передних кромок (34) противоположных ограничительной стенке (22, 24) перьев (32) лопаток.
14. Поточный канал (18) по п.5, в котором при рассматривании в осевом направлении место (52) ввода каждого прохода (46) обратного потока расположено на участке ограничительной стенки (22, 24), который предусмотрен по потоку выше передних кромок (34) противоположных ограничительной стенке (22, 24) перьев (32) лопаток.
15. Поточный канал (18) по п.4, в котором проход (46) обратного потока в зоне места (52) ввода входит в поточный канал (18) так, что протекающий обратно через него частичный поток (49) имеет осевую составляющую потока, которая направлена одинаково с основным потоком (26).
16. Поточный канал (18) по п.5, в котором проход (46) обратного потока в зоне места (52) ввода входит в поточный канал (18) так, что протекающий обратно через него частичный поток (49) имеет осевую составляющую потока, которая направлена одинаково с основным потоком (26).
17. Компрессор (5), содержащий поточный канал (18) по любому из пп.1-16.
РИСУНКИ
|
|