|
|
(21), (22) Заявка: 2009100260/06, 11.01.2009
(24) Дата начала отсчета срока действия патента:
11.01.2009
(46) Опубликовано: 20.08.2010
(56) Список документов, цитированных в отчете о поиске:
RU 2164312 C1, 20.03.2001. RU 2271474 C1, 10.03.2006. EP 0183380 A2, 04.06.1986. US 6457950 B1, 01.10.2002. US 5624249 A, 29.04.1997.
Адрес для переписки:
420061, г.Казань, ул. Н. Ершова, 61, ОАО “ТатНИИнефтемаш”, А.Ф. Садыкову
|
(72) Автор(ы):
Садыков Альфред Файзрахманович (RU), Назмутдинов Рустам Махмутович (RU), Абайдуллин Альфред Ибрагимович (RU)
(73) Патентообладатель(и):
Открытое акционерное общество “Татарский научно-исследовательский и проектно-конструкторский институт нефтяного машиностроения” (ОАО “ТатНИИнефтемаш”) (RU)
|
(54) МНОГОФАЗНЫЙ ВИНТОВОЙ НАСОС
(57) Реферат:
Изобретение относится к устройствам для перекачки газожидкостных сред, а точнее к двухвинтовым насосам, и может быть использовано в области нефтедобычи и нефтепереработки, преимущественно при перекачке продукции скважин с повышенным газосодержанием. Многофазный винтовой насос содержит корпус 1, внутри которого в цилиндрических расточках 2, 3 размещены с возможностью вращения сопряженные винтовые роторы с образованием между поверхностями расточек и внутренними полостями винтовой нарезки ряда замкнутых нагнетательных камер 6, 7 для перемещения рабочей среды вдоль осей роторов от входа к выходу. На входе перед роторами размещена полость всасывания 10, сообщенная с патрубком всасывания 8 корпуса 1, а на выходе за роторами – полость нагнетания 11, сообщенная с напорным патрубком 9. В полости нагнетания 11 установлена поперечная перегородка, отделяющая нагнетательные камеры 17 на выходе роторов. В перегородке образовано окно 18, размещенное в зоне схождения винтов при их встречном вращении и сообщающее полость нагнетания 11 с нагнетательными камерами 17 при сокращении их объема. Изобретение направлено на повышение эффективности работы при сжатии газожидкостных сред с повышенным содержанием газовой фракции путем реализации возможности работы насоса в режиме компрессора. 3 з.п. ф-лы, 4 ил.
Изобретение относится к устройствам для перекачки газожидкостных сред, а точнее к двухвинтовым насосам, и может быть использовано в области нефтедобычи и нефтепереработки, преимущественно при перекачке продукции скважин с повышенным газосодержанием.
При перекачке сжимаемых сред, какими являются многофазные среды с высоким газосодержанием, большая часть повышения давления происходит путем дожатия рабочей среды при вытеснении ее из винтовой пары в трубопровод подачи, а величина достигаемого давления определяется противодавлением, т.е. сопротивлением в сети потребления. Таким образом, насосы – это машины внешнего сжатия, без постепенного повышения давления по ходу рабочей среды в полостях самих винтов. Но рабочий процесс без внутреннего сжатия неэкономичен и ведет к потерям потребляемой энергии.
Есть несколько технических решений для достижения внутренней степени сжатия в насосах предлагаемого класса, т.е. работы насоса в режиме компрессора.
Известен винтовой насос, содержащий корпус с патрубками входа и выхода, винтовые роторы, установленные с возможностью вращения внутри цилиндрических расточек корпуса для транспортировки среды от входа к выходу, при этом шаг винтовой нарезки роторов на стороне выхода меньше, чем на входе для сжатия газовой среды. Шаг уменьшается постепенно от всасывания к нагнетанию, т.е. объем полостей винтов плавно сокращается, чем достигается внутреннее повышение давления среды (Европейский патент 0183380, F04C 2/16, 86 г.).
Насос выполнен двухпоточным, т.е. имеет две пары роторов противоположной нарезки, один центральный выход и два входа с противоположных сторон, чем достигается осевая разгрузка винтов.
Кроме того, возможно и другое исполнение, с одним центральным входом и двумя выходами с каждого конца роторов.
Недостатком известного решения является то, что при превышении жидкой фракции в перекачиваемой среде, особенно при так называемых жидкостных пробках, происходят гидроудары жидкости при уменьшении объема полостей винтов, что может привести к разрушению насоса. Во избежание такой ситуации в указанном устройстве предлагается частичное решение задачи за счет расширения зазоров в рабочих органах, чтобы обеспечить перетекание жидкости через зазоры в обратную сторону от нагнетания к всасыванию при резком повышении давления среды в полостях винтов. Однако при последующем сжатии уже чисто газовой фракции значительные утечки газа через увеличенные зазоры снижают КПД насоса.
Указанный недостаток устранен в известном многофазном насосе, содержащем корпус, внутри которого размещен, по меньшей мере, один винт, заключенный в цилиндрическую втулку, по меньшей мере, один всасывающий патрубок и, по меньшей мере, один напорный патрубок, причем всасывающий патрубок сообщен с полостью всасывания, размещенной перед подающим винтом, а напорный патрубок сообщен с полостью нагнетания, расположенной за подающим винтом, при этом полость нагнетания имеет устройства для отделения жидкой фазы от газовой фазы выходящего из подающего винта потока среды, а также нижний участок для приема, по меньшей мере, одной дозы отделенной жидкой фазы. К нижнему участку полости нагнетания присоединена перепускная линия, которая сообщена с кольцевой полостью, образованной между установленной в корпусе кольцевой перегородкой и цилиндрической втулкой, имеющей сквозные отверстия для подвода жидкости в рабочую полость винта (патент РФ 2164312, МПК7 F04C 2/16).
Жидкость, поступающая через отверстия в нагнетательную камеру, заполненную газом, повышает давление газа. По мере движения нагнетательной камеры к полости нагнетания и заполнения ее жидкостью из каждого последующего отверстия давление газа в полости приближается к давлению на торце нагнетания винтов. Таким образом, жидкость, поступающая в отсеченную полость, заполненную газом, выполняет функцию жидкостного поршня, приближая термодинамический процесс сжатия газа к более экономичному изотермическому сжатию.
Следует отметить, что насосы с постоянным шагом нарезки винтов не подвержены гидроударам, т.к. объемы винтовых полостей постоянны по мере перемещения от входа к выходу.
Такая конструкция и способ работы позволяют транспортировать отдельно и жидкость, и газ, а также смеси их с любым соотношением фаз.
Данное техническое решение является наиболее близким к предлагаемому по совокупности признаков и принято за прототип.
Однако имеется существенный недостаток – это продолжительность работы насоса при сжатии газа. Она зависит от количества накопленной жидкости в нижнем объеме камеры нагнетания. Объем этот ограничен. Насос не может работать непрерывно и способен лишь непродолжительно прокачивать газовые пробки. Кроме того, сжатие происходит с дополнительными затратами энергии при возврате жидкости с высоким давлением нагнетания в камеры с меньшим давлением, что снижает экономичность процесса.
Задачей предлагаемого изобретения является усовершенствование конструкции многофазного насоса и повышение эффективности работы при сжатии газожидкостных сред с повышенным содержанием газовой фракции путем реализации возможности работы насоса в режиме компрессора.
Поставленная задача решается тем, что в известном винтовом насосе, содержащем корпус, внутри которого в цилиндрических расточках размещены с возможностью вращения сопряженные винтовые роторы с образованием между поверхностями расточек и внутренними полостями винтовой нарезки ряда замкнутых нагнетательных камер для перемещения рабочей среды вдоль осей роторов от входа к выходу, при этом на входе перед роторами размещена полость всасывания, сообщенная с патрубком всасывания корпуса, а на выходе за роторами – полость нагнетания, сообщенная с напорным патрубком, согласно изобретению, в полости нагнетания установлена поперечная перегородка, отделяющая полость от нагнетательных камер роторов на выходе, при этом в перегородке образовано окно, размещенное в зоне схождения винтов при их встречном вращении и сообщающее полость нагнетания с нагнетательными камерами при сокращении их объема.
Перегородка может быть выполнена в виде пластины, установленной в корпусе с возможностью осевого перемещения с направляющими осями и пружинами, поджимающими ее к торцам винтов с минимальным зазором.
Целесообразно, чтобы пластина была выполнена из двух половин с разъемом по линии пересечения расточек корпуса под роторы.
Целесообразно также, чтобы насос был выполнен двухпоточным, с двумя парами винтов с центральным входом и выходом с противоположных боковых сторон.
Благодаря введению подвижной поперечной пластины с окном нагнетания, отделяющей полость нагнетания от нагнетательных камер на выходе по мере уменьшения их объема, достигается внутреннее повышение давления сжимаемой среды и тем самым повышение экономичности сжатия. Подвижная пластина при прокачивании жидкости смещается от торца винтов при резком повышении давления и не препятствует свободному выходу жидкости из полости винтов в момент возможного возникновения гидроудара при уменьшении объема нагнетательной камеры.
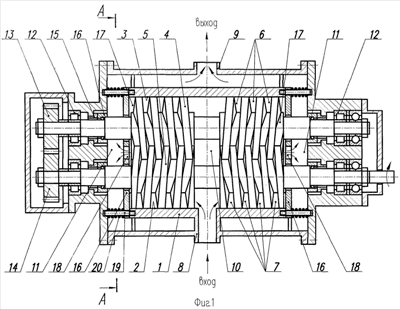
Предлагаемое устройство иллюстрируется чертежами, представленными на фиг.1, 2, 3, 4:
– на фиг.1 – показан горизонтальный разрез;
– на фиг.2 – поперечный разрез по А-А (фиг.1);
– на фиг.3 – вариант исполнения;
– на фиг.4 – вертикальный разрез по одному из винтов.
Многофазный винтовой насос содержит корпус 1, внутри которого в цилиндрических расточках 2, 3 размещены сопряженные винтовые роторы с двумя парами подающих винтов, из которых каждая пара включает один правозаходный винт 4 и один левозаходный 5.
Между поверхностями расточек и внутренними полостями винтов образованы замкнутые нагнетательные камеры 6, 7.
Корпус 1 снабжен патрубком 8 всасывания и напорным патрубком 9, причем патрубок всасывания сообщен с полостью 10 всасывания, размещенной на входе между парами винтов в центральной части корпуса, а напорный – с полостями 11 нагнетания на выходе с двух противоположных сторон роторов. (Патрубки условно вынесены на горизонтальную плоскость).
Валы роторов опираются на подшипники качения 12 и связаны между собой посредством синхронизирующих шестерен 13, 14, передающих вращение от одного ротора к другому, предохраняя их от взаимного касания.
Подшипниковые опоры отделены от полостей нагнетания торцовыми уплотнениями, состоящими из установленных в корпусе неподвижных колец 15 и поджатых к ним колец 16, вращающихся вместе с валом.
В полостях 11 нагнетания установлены поперечные перегородки, выполненные в виде пластин 16, отделяющих нагнетательные камеры 17 на выходе роторов от полостей нагнетания. В пластинах выполнены окна 18, сообщающие полости 11 и камеры 17 после сокращения объема этих камер. Пластина установлена в корпусе с помощью направляющих осей 19 с пружинами 20, поджимающими ее к торцам роторов, сохраняя гарантированный зазор в пределах 0,05÷0,1 мм с точки зрения безопасности работы и минимальных перетечек.
Окна 18 (фиг.2) в пластинах 16 расположены в зоне схождения винтов при их встречном вращении от патрубка 8 всасывания к напорному патрубку 9, при этом площадь окон определяет величину внутренней степени сжатия, и чем меньше эта площадь, тем выше достигаемое давление. Оптимальные размеры зависят от гидравлических потерь при выходе рабочей среды через проходное сечение окон.
Для упрощения конструкции пластина может быть выполнена из 2-х половин 21, 22 (фиг.3) с разъемом по линии 23 пересечения расточек под роторы. Таким образом, нагнетательные камеры каждого ротора могут быть перекрыты отдельными перегородками, что позволит облегчить выход жидкой фазы поочередно из нагнетательных камер в полости нагнетания.
Пластины 21, 22 (фиг.4) имеют возможность перемещаться на направляющих осях, сжимая пружины 20 и отодвигаясь от торцов роторов.
Работает винтовой насос следующим образом:
При вращении подающих винтов 4 и 5 поток газа и жидкости через всасывающий патрубок 8 поступает в полость 10 всасывания, захватывается вращающимися винтами, отсекается от полости всасывания в расточках корпуса и перемещается в нагнетательных камерах 6, 7 к боковым полостям 11 нагнетания, а затем через напорный патрубок 9 поступает потребителю.
Перемещение газа вдоль осей роторов происходит при неизменном объеме нагнетательных камер. При подходе камер к выходу, перекрытому перегородкой, происходит процесс уменьшения объема до момента соединения камеры с окном. Начало соединения камеры с полостью нагнетания определяет конечный объем сжатого газа в камере, т.е. величину внутренней степени повышения давления.
Перекачивание газожидкостных сред в условиях, когда доля жидкой фракции может достигать 100%, приводит к резкому повышению давления несжимаемой рабочей среды при уменьшении объема нагнетательных камер 17 на выходе роторов. Возникают значительные нагрузки от давления среды на пластины, которые отодвигают ее и открывают свободный выход жидкости в полость нагнетания.
После прокачивания жидкостных пробок пружины возвращают пластины обратно, перекрывая торцы винтов.
Благодаря введению новых существенных признаков, данное устройство обеспечивает повышение экономичности за счет внутреннего сжатия газа, а также безопасность работы при прокачивании жидкостной фазы. Таким образом, осуществляется процесс работы устройства одновременно и в режиме насоса, и в режиме компрессора.
Формула изобретения
1. Многофазный винтовой насос, содержащий корпус, внутри которого в цилиндрических расточках размещены с возможностью вращения сопряженные винтовые роторы с образованием между поверхностями расточек и внутренними полостями винтовой нарезки ряда замкнутых нагнетательных камер для перемещения рабочей среды вдоль осей роторов от входа к выходу, при этом на входе перед роторами размещена полость всасывания, сообщенная с патрубком всасывания корпуса, а на выходе за роторами – полость нагнетания, сообщенная с напорным патрубком, отличающийся тем, что в полости нагнетания установлена поперечная перегородка, отделяющая нагнетательные камеры на выходе роторов, при этом в перегородке образовано окно, размещенное в зоне схождения винтов при их встречном вращении и сообщающее полость нагнетания с нагнетательными камерами при сокращении их объема.
2. Многофазный винтовой насос по п.1, отличающийся тем, что перегородка выполнена в виде пластины, установленной в корпусе с возможностью осевого перемещения при помощи направляющих осей с пружинами, поджимающими ее в сторону роторов с минимальным осевым зазором относительно их торцов.
3. Многофазный винтовой насос по п.1, отличающийся тем, что пластина выполнена из двух половин с разъемом по линии пересечения расточек корпуса под роторы.
4. Многофазный винтовой насос по п.1, отличающийся тем, что насос выполнен двухпоточным, с двумя парами винтов противоположной нарезки, при этом вход выполнен в центральной части между парами винтов, а выход – с двух противоположных боковых сторон.
РИСУНКИ
|
|