|
|
(21), (22) Заявка: 2008151688/06, 26.12.2008
(24) Дата начала отсчета срока действия патента:
26.12.2008
(46) Опубликовано: 20.08.2010
(56) Список документов, цитированных в отчете о поиске:
RU 2079711 C1, 20.05.1997. RU 2303162 C1, 20.07.2007. US 6688115 B1, 10.02.2004. US 4281969 A, 04.08.1981.
Адрес для переписки:
141070, Московская обл., г. Королев, ул. Ленина, 4а, ОАО “РКК “Энергия” им. С.П. Королева”, отдел интеллектуальной собственности
|
(72) Автор(ы):
Гореликов Владимир Иванович (RU), Хитёв Николай Иванович (RU)
(73) Патентообладатель(и):
Открытое акционерное общество “Ракетно-космическая корпорация “Энергия” имени С.П. Королева” (RU)
|
(54) ТЕРМОКОМПРЕССИОННОЕ УСТРОЙСТВО (ВАРИАНТЫ)
(57) Реферат:
Изобретение относится к компрессионным термическим устройствам. Термокомпрессионное устройство содержит источник газа высокого давления, подключенный к баллонам-компрессорам, устройство для термоциклирования баллонов-компрессоров, из набора разнотемпературных емкостей и источника холода. Источник холода в виде сосуда Дьюара, заполненного хладагентом, совместно с разнотемпературными емкостями расположен на установочном устройстве. Установочное устройство закреплено с возможностью вращения. Низкотемпературная емкость теплоизолирована, заполнена жидким теплоносителем и снабжена размещенным в теплоносителе теплообменником. Теплообменник выполнен в виде змеевика с бифилярной намоткой трубки и диаметром образующей намотки, превышающим диаметр окружности, охватывающей баллоны-компрессоры. Один конец трубки через боковой вывод из емкости подключен посредством гибкой связи и переходника к сосуду Дьюара, снабженному системой наддува. Другой конец трубки сообщен с атмосферой. Баллоны-компрессоры и источник формирования потока жидкого теплоносителя в емкости подвешены на крышке емкости, прикрепленной к кронштейну в верхней части стойки подъемного механизма. Подъемный механизм расположен совместно с установочным устройством на платформе, снабженной устройствами для ее перемещения и фиксации. Техническим результатом является упрощение конструкции (компоновки), улучшение эксплуатации и повышение эффективности термокомпрессионного устройства. 3 н.п.ф-лы, 6 ил.
Изобретение относится к холодильной технике, а точнее к области проектирования и эксплуатации компрессионных термических устройств (термокомпрессоров), используемых, например, при заполнении газом баллонов высокого давления с соблюдением высоких требований по чистоте, как закачиваемого газа, так и внутренних объемов и поверхностей заправляемой системы.
Принцип работы компрессионного термического устройства широко известен. Основу его составляет емкость (баллон-компрессор), которую вначале охлаждают, желательно до температуры конденсации газа, и заполняют ее газом из стендовых баллонов. Затем стендовые баллоны отсекают, емкость нагревают, давление газа в ней растет и он перекачивается в заправляемую емкость. Таких циклов всасывания-нагнетания совершается столько, сколько необходимо для достижения заданного давления в заправляемой емкости.
Известны компрессионные холодильные установки (см., например, патент России 2044232, МКИ F25B 1/00 от 05.06.1991 г.), содержащие компрессор, емкости высокого давления, магистраль заправки и магистраль подачи газа потребителю, теплообменники. Наличие в них механического компрессора, использующего смазку для вращающихся и перемещающихся узлов и деталей, не исключает загрязнения газа парами масла (смазки), что недопустимо при перекачке (заправке) газа в баллоны потребителя, применяющего данный газ в качестве рабочего компонента, например, при использовании в электрореактивных двигателях, устанавливаемых на космических летательных аппаратах.
Известно также компрессионное устройство для регенерации хладагентов (см., например, патент США 5379607 от 10.01.1995 г., МПК: F25B 49/00), выбранное в качестве прототипа и содержащее источник газа высокого давления, подключенный к баллонам-компрессорам, устройство для термоциклирования баллонов-компрессоров, включающее набор разнотемпературных емкостей и источник холода. В состав устройства входят компрессор, ресивер, теплообменник-конденсатор. Устройство обеспечивает регенерацию хладагентов (теплоносителей) типа СFС (фреон-11, фреон-12, фреон 113) для откачки в транспортный баллон (потребителю), при этом процесс откачки длителен и малоэффективен.
Общими недостатками аналога и прототипа являются сложность конструкции (компоновки) и эксплуатации малоэффективного устройства.
Задачей настоящего изобретения является создание такого термокомпрессионного устройства, которое обеспечивало бы упрощение конструкции (компоновки) и улучшение эксплуатации, а также повышало его эффективность.
Технический результат по первому варианту достигается за счет того, что в термокомпрессионном устройстве, содержащем источник газа высокого давления, подключенный к баллонам-компрессорам, устройство для термоциклирования баллонов-компрессоров, из набора разнотемпературных емкостей и источника холода, в отличие от прототипа, источник холода в виде сосуда Дьюара, заполненного хладагентом, совместно с разнотемпературными емкостями расположен на установочном устройстве, закрепленном с возможностью вращения, причем низкотемпературная емкость теплоизолирована, заполнена жидким теплоносителем и снабжена размещенным в теплоносителе теплообменником, выполненным в виде змеевика с бифилярной намоткой трубки и диаметром образующей намотки, превышающим диаметр окружности, охватывающей баллоны-компрессоры, один конец трубки через боковой вывод из емкости подключен посредством гибкой связи и переходника к сосуду Дьюара, снабженному системой наддува, а другой – сообщен с атмосферой, при этом баллоны-компрессоры и источник формирования потока жидкого теплоносителя в емкости подвешены на крышке емкости, прикрепленной к кронштейну в верхней части стойки подъемного механизма, расположенного совместно с вращающимся установочным устройством на платформе, снабженной устройствами для ее перемещения и фиксации.
Технический результат по второму варианту достигается за счет того, что в термокомпрессионном устройстве, содержащем источник газа высокого давления, подключенный к баллонам-компрессорам, устройство для термоциклирования баллонов-компрессоров, из набора разнотемпературных емкостей и источника холода, в отличие от прототипа, источник холода в виде сосуда Дьюара, заполненного хладагентом, совместно с разнотемпературными емкостями расположен на установочном устройстве, закрепленном с возможностью вращения, причем низкотемпературная емкость теплоизолирована, заполнена жидким теплоносителем и снабжена теплообменником, который выполнен в виде цилиндрической гофрированной перегородки, скрепленной со стенкой емкости, при этом один конец образованного гофрами перегородки бифилярного спирального канала подключен посредством гибкой связи и переходника через боковой вывод из емкости к сосуду Дьюара, снабженному системой наддува, а другой конец бифилярного спирального канала сообщен с атмосферой, при этом баллоны-компрессоры и источник формирования потока жидкого теплоносителя в емкости подвешены на крышке емкости, прикрепленной к кронштейну в верхней части стойки подъемного механизма, расположенного совместно с вращающимся установочным устройством на платформе, снабженной устройствами для ее перемещения и фиксации.
Технический результат по третьему варианту достигается за счет того, что в термокомпрессионном устройстве, содержащем источник газа высокого давления, подключенный к баллонам-компрессорам, устройство для термоциклирования баллонов-компрессоров, из набора разнотемпературных емкостей и источника холода, в отличие от прототипа, источник холода в виде сосуда Дьюара, заполненного хладагентом, совместно с разнотемпературными емкостями расположен на установочном устройстве, закрепленном с возможностью вращения, причем низкотемпературная емкость теплоизолирована, заполнена жидким теплоносителем и снабжена размещенным в плоскости, проходящей через центр емкости, теплообменником, выполненным в виде панели из высокотеплопроводного материала с образованием в ней методом прокатной сварки бифилярным спиральным каналом, один конец которого через боковой вывод из емкости подключен посредством гибкой связи и переходника к сосуду Дьюара, снабженному системой наддува, а другой – сообщен с атмосферой, при этом баллоны-компрессоры подвешены на крышке емкости, а источник формирования потока жидкого теплоносителя в емкости закреплен между баллонами-компрессорами и проекцией панели теплоносителя на крышку, прикрепленной к кронштейну в верхней части стойки подъемного механизма, расположенного совместно с вращающимся установочным устройством на платформе, снабженной устройствами для ее перемещения и фиксации.
Результат достигается тем, что в качестве источника холода используют заполненный хладагентом сосуд Дьюара, расположенный совместно с разнотемпературными емкостями на установочном устройстве, закрепленном с возможностью вращения, а емкость с самой низкой температурой (низкотемпературная емкость) теплоизолирована, заполнена жидким теплоносителем, например этиловым спиртом, и содержит теплообменник, размещенный в среде теплоносителя и подключенный посредством гибкой связи и переходника к сосуду Дьюара, снабженного системой наддува, при этом баллоны-компрессоры и источник формирования потока жидкого теплоносителя в емкости подвешены на крышке емкости, прикрепленной к кронштейну в верхней части стойки подъемного механизма, расположенного совместно с вращающимся установочным устройством на платформе, снабженной устройствами для ее перемещения и фиксации. Кроме того, в качестве жидкого теплоносителя в низкотемпературной емкости может использоваться жидкость карбогал, имеющая оптимальные теплофизические параметры (свойства), необходимые при захолаживании (в баллонах-компрессорах) таких, например, продуктов, как ксенон. Эффективность процесса также достигается за счет того, что захолаживание теплоносителя в низкотемпературной емкости достигается за счет по первому варианту выполнения конструкции теплообменника в виде трубчатого змеевика с бифилярной намоткой трубки с образующей, охватывающей баллоны-компрессоры; по второму варианту выполнения конструкции теплообменника в виде цилиндрической гофрированной перегородки, скрепленной со стенкой емкости, при этом гофры перегородки образуют бифилярный спиральный канал; по третьему варианту выполнения конструкции теплообменника в виде панели, расположенной в плоскости, проходящей через центр низкотемпературной емкости. Панель изготовлена из высокотеплопроводного материала с образованным в ней методом прокатной сварки бифилярным спиральным каналом. При этом важно, что баллоны-компрессоры размещены на крышке вне проекции панели на крышку, а источник формирования потока теплоносителя – между ними.
Технический результат данного изобретения позволяет упростить конструкцию (компоновку), улучшить эксплуатационные свойства устройства, а также повысить эффективность, что подтверждено испытаниями опытных образцов, изготовленных с использованием предлагаемого технического решения. Использование предлагаемого термокомпрессионного устройства, например, при заправке баллонов потребителя, устанавливаемых на космических летательных аппаратах типа «Ямал», «БелКА» и др., позволит дать значительный экономический эффект за счет улучшения конструкции, упрощения эксплуатации и повышения эффективности работы устройства.
Сущность изобретения поясняется чертежами, где:
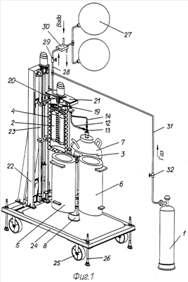
фиг.1 – термокомпрессионное устройство в рабочем положении в период захолаживания баллонов-компрессоров в низкотемпературной емкости (показана в продольном разрезе);
фиг.2 – низкотемпературная емкость с теплообменником – первый вариант;
фиг.3 – низкотемпературная емкость с теплообменником – второй вариант;
фиг.4 – низкотемпературная емкость с теплообменником – третий вариант;
фиг.5 – вид по стрелке В на теплообменник, выполненный в виде панели с бифилярным спиральным каналом;
фиг.6 – вид по стрелке Г.
Термокомпрессионное устройство состоит из следующих основных узлов и деталей: источника газа высокого давления, например стендовых баллонов 1 высокого давления, заправленных чистым газом, например ксеноном, и подключенных к баллонам-компрессорам 2; устройства для термоциклирования 3 баллонов-компрессоров, из набора разнотемпературных емкостей 4, 5, 6 (первой, второй, третьей, предназначенных для обеспечения заданных температур баллонов-компрессоров); источника холода в виде сосуда Дьюара 7. Сосуд Дьюара 7 заполнен хладагентом, например жидким азотом, и совместно с разнотемпературными емкостями 4, 5, 6 расположен на установочном устройстве 8, закрепленном с возможностью вращения, причем низкотемпературная емкость 4 теплоизолирована, заполнена жидким теплоносителем 9, например этиловым спиртом по ТУ2421-64-07506004-99 или жидкостью карбогал по ТУ95-1693-88.
По первому варианту (см. фиг.2) низкотемпературная емкость 4 содержит размещенный в теплоносителе теплообменник 101, выполненный в виде змеевика с бифилярной намоткой трубки, при этом диаметр образующей намотки превышает диаметр окружности, охватывающей баллоны-компрессоры, для того, чтобы при погружении последних в теплоноситель баллоны-компрессоры не задевали теплообменник; один конец бифилярной намотки трубки через боковой вывод 11 из емкости 4 подключен к сосуду Дьюара 7 посредством гибкой связи 12 и переходника 13, а другой конец сообщен с атмосферой. Сосуд Дьюара 7 снабжен системой наддува 14.
По второму варианту (см. фиг.3) низкотемпературная емкость 4 содержит теплообменник 102, изготовленный за одно целое со стенкой 15 емкости 4 и образованный посредством цилиндрической гофрированной перегородки 16, скрепленной со стенкой 15 емкости 4, а гофры выполнены в виде бифилярной спирали и при соединении и скреплении, например, вакуумной пайкой перегородки 16 со стенкой 15 образуют бифилярный спиральный канал 17, один конец которого через боковой вывод 11 из емкости 4 подключен посредством гибкой связи 12 и переходника 13 к сосуду Дьюара 7, снабженному системой наддува 14. Другой конец бифилярного спирального канала 17 сообщен с атмосферой.
По третьему варианту (см. фиг.4) низкотемпературная емкость 4 содержит размещенный в теплоносителе в плоскости, проходящей через центр емкости, теплообменник 103, выполненный в виде панели из высокотеплопроводного материала, например меди или алюминия, с образованным в ней методом прокатной сварки бифилярным спиральным каналом 18, один конец которого через боковой вывод 11 из емкости 4 подключен посредством гибкой связи 12 и переходника 13 к сосуду Дьюара 7, снабженному системой наддува 14. Другой конец спирального канала 18 сообщен с атмосферой. Источник формирования потока жидкого теплоносителя в емкости закреплен между баллонами-компрессорами и проекцией панели теплоносителя на крышку, для исключения касания с баллонами-компрессорами и панелью теплоносителя.
Для всех вариантов баллоны-компрессоры 2 и источник формирования потока жидкого теплоносителя (мешалки) 19 в емкости 4 подвешены на крышке 20. Для третьего варианта важно взаимное расположение баллонов-компрессоров 2 и мешалки 19. Баллоны-компрессоры 2 подвешены на крышке 20, вне проекции теплоносителя на крышку, а мешалка 19 подвешена между баллонами-компрессорами и этой проекцией. Крышка 20 в процессе термоциклирования баллонов-компрессоров 2 стыкуется поочередно с емкостями 4, 5, 6 и прикреплена к кронштейну 21 в верхней части стойки 22 подъемного механизма 23, расположенного совместно с установочным устройством 8, закрепленным с возможностью вращения на платформе 24, снабженной устройствами для ее перемещения, например колесами 25, и для фиксации, например домкратами 26. Установочное устройство 8 выполнено в виде вращающейся вокруг своей оси цилиндрической стойки (барабана), на которой посредством разъемных (съемных) кронштейнов закреплены разнотемпературные емкости 4, 5, 6, при этом данное установочное устройство 8 при вращении обеспечивает поочередную установку емкостей 4, 5, 6 под крышкой 20. Кроме того, установочное устройство 8 имеет площадку, прикрепленную к вращающейся цилиндрической стойке, для размещения и крепления сосуда Дьюара 7, который вращается совместно с емкостями 4, 5, 6, что исключает его отстыковку (пристыковку) от теплообменника 101, 102, 103 низкотемпературной емкости 4 в процессе работы и сокращает длину металлорукавов. Подъемный механизм 23 обеспечивает поочередный подъем (спуск) каждой емкости 4, 5, 6 после ее установки под крышкой 20. Для повышения эффективности теплообмена теплоносителя с баллонами-компрессорами 2 и теплообменником 101, 102, 103 на крышке 20 закреплено устройство, формирующее (побуждающее) циркуляцию теплоносителя в емкости 4, 5, 6, которое включают в работу после погружения данного устройства в теплоноситель и стыковки крышки 20 поочередно с емкостями 4, 5, 6.
В качестве теплоизоляции для низкотемпературной емкости 4 используют, например, пенополиуретан ППУ-17 «ЗМ» по ТУ 2254-066-21095499-01. Бифилярный спиральный канал 18 методом прокатной сварки формируют следующим образом: заготовкой являются два одинаковых листа, например, из алюминиевого сплава АМг2 толщиной 1 мм (или более). Их очищают травлением, затем на одном листе по трафарету рисуют бифилярную спираль (или любую форму будущего канала) с заданной шириной путем нанесения противосварочной пасты. Далее покрывают другим листом и производят прокатку с заданным давлением и при определенной температуре (нагреве), в результате чего происходит сварка давлением по всей площади заготовки, кроме поверхности бифилярной спирали. Затем заготовку помещают в оснастку, например, между двумя плитами, которая обеспечивает зазор, равный высоте будущего (формируемого) канала, и в разделанный (раскрытый) один из концов спирали подают под давлением газ, раздувая бифилярную спиральную полость, формируют бифилярный спиральный канал, который после промывают специальным раствором для очистки от противосварочной пасты. Разнотемпературные емкости 4, 5, 6 заполнены предварительно изготовленным теплоносителем, обеспечивающим охлаждение или нагрев баллонов-кампрессоров 2 до заданных температур. Для обеспечения охлаждения или нагрева соответствующие емкости снабжены устройствами для охлаждения или нагрева теплоносителя, например холодильными теплообменниками 101, 102, 103, подключенными к сосуду Дьюара 7 с жидким азотом, и электронагревателями (кипятильниками). Так, например, низкотемпературная емкость 4 заполнена этиловым спиртом или жидкостью – карбогал и обеспечивает охлаждение баллонов-компрессоров 2 до температуры минус 80°С, емкость 5 заполнена водой и обеспечивает нагрев баллонов-компрессоров 2 до температуры плюс 20°С, а емкость 6 заполнена водой и обеспечивает нагрев баллонов-компрессоров 2 до температуры плюс 90°С. Баллоны-компрессоры 2 подключены к баллонам потребителя 27 посредством заправочной магистрали 28 с вентилем 29 и теплообменником-охладителем 30. Заправку ксеноном баллонов-компрессоров 2 от стендовых баллонов 1 производят по трубопроводу 31 с вентилем 32.
Работает термокомпрессионное устройство следующим образом. Перед началом работы устройства производят очистку внутренних полостей магистралей заправки и подачи газа, включая баллоны-компрессоры и баллоны потребителя, от влаги и воздуха. Очистка производится способом вакуумирования с последующей продувкой чистым азотом и ксеноном. Источником закачиваемого газа, например ксенона, в баллоны потребителя являются стендовые баллоны, заполненные чистым ксеноном высокого давления, порядка 40 кг/см2. В закачиваемом ксеноне должно быть кислорода не более 5(3)·10-5 объемных долей, а водяных паров не более 6(4)·10-5 объемных долей. Работа устройства основана на использовании принципа термокомпрессора, в котором необходимое для заправки (закачки) давление ксенона достигается в баллонах-компрессорах 2 по изохорическому процессу. После проведения очистки внутренних полостей магистралей и баллонов осуществляют процесс термокомпрессии и подачу (закачку) ксенона в баллоны потребителя 27, который обеспечивается с помощью подъемного механизма 23 и установочного устройства 8.
Работа производится следующим образом: установочное устройство 8 вращают (поворачивают) до установки низкотемпературной емкости 4 под крышкой 20. При подъеме низкотемпературной емкости 4 баллоны-компрессоры 2 и мешалка 19 погружаются в теплоноситель, охлажденный до минус 80°С. В захоложенные баллоны-компрессоры 2 из стендовых баллонов 1 подают ксенон и заполняют до заданного давления, при этом происходит конденсация ксенона в баллонах-компрессорах 2 (цикл всасывания). После заполнения баллонов-компрессоров 2 ксеноном и охлаждения его до температуры минус 80°С стендовые баллоны 1 отсекают и производят посредством подъемного механизма 23 спуск низкотемпературной емкости 4 в нижнее положение на вращающее установочное устройство 8. Далее вращающееся установочное устройство 8 поворачивают до установки емкости 5 под крышкой 20 и производят подъем емкости 5 до совмещения с крышкой 20. При подъеме емкости 5 баллоны-компрессоры 2 и мешалка 19 погружаются в теплоноситель (воду, подогретую до температуры плюс 20°С), при этом давление в баллонах-компрессорах 2 растет. После подогрева баллонов-компрессоров 2 до температуры порядка плюс 20°С производят спуск емкости 5 в нижнее положение на вращающееся установочное устройство 8. Затем перемещают (поворачивают) вращающееся установочное устройство 8 до установки емкости 6 под крышкой 20 и производят операции по подъему емкости 6 аналогично операциям, проводимым с емкостью 4 (5). При подъеме емкости 6 баллоны-компрессоры 2 и мешалка 19 погружаются в теплоноситель (воду, подогретую до температуры плюс 90°С) и подогреваются до температуры порядка плюс 90°С, при этом давление в баллонах-компрессорах 2 растет, а при сообщении их с баллонами потребителя 27 посредством открытия вентиля 29 на заправочной магистрали 28 ксенон, проходя через теплообменник-охладитель 30, охлаждается до заданной температуры (температуры окружающей среды) и поступает в баллоны потребителя 27 (цикл нагнетания). После выравнивания давления между баллонами-компрессорами 2 и баллонами потребителя 27 вентиль 29 закрывают и емкость 6 опускают в нижнее положение на вращающееся установочное устройство 8. Таких последовательных процессов (температурных циклов) охлаждения-нагрева вновь пополняемых порций ксенона из стендовых баллонов 1 в баллоны-компрессоры 2 совершают столько, сколько необходимо для достижения заданного давления ксенона в баллонах потребителя 27, например, до 150 кг/см2.
Снабжение низкотемпературной емкости 4 (по первому варианту, см. фиг.2) теплообменником 101, выполненным в виде змеевика с бифилярной намоткой трубки, один конец которой подключен к сосуду Дьюара 7, снабженному системой наддува, и размещение его в теплоносителе по окружности, в которую вписываются баллоны-компрессоры, погружаемые в теплоноситель, обеспечивает максимальное приближение холодильного элемента (змеевика) к баллонам-компрессорам 2 и создает равномерную круговую зону захолаживания баллонов-компрессоров 2, что повышает эффективность теплообмена, сокращает время процесса захолаживания и упрощает конструкцию.
Выполнение теплообменника 102 по второму варианту (см. фиг.3) позволяет значительно сократить массу (вес) емкости 4 (т.к. отсутствует металлоемкий змеевик, а стенка 15 выполнена в виде паяной конструкции из тонкостенных оболочек: стенки 15 и перегородки 16), повысить прочность стенки за счет наличия гофр, а также уменьшить теплопритоки через стенку емкости 4 к теплоносителю, что повышает эффективность и снижает энергозатраты (холодопотери).
Выполнение теплообменника по третьему варианту (см. фиг.4) в теплоносителе в центре емкости 4 между теплообменником 10 и теплоносителем обеспечивает более высокий коэффициент теплопередачи за счет развитой поверхности панели, выполненной из высокотеплопроводного материала, и образованного в ней бифилярного спирального канала методом прокатной сварки. Кроме того, теплообменник 103 панели значительно легче змеевикового трубчатого теплообменника, компактно устанавливается в центре емкости между образующими баллонов-компрессоров 2 и обеспечивает захолаживание теплоносителя в центральной части емкости 4, что более эффективно, т.к. баллоны-компрессоры 2 расположены в непосредственной близости от панели (теплообменника 103) в зоне максимального холода.
Расположение источника холода в виде сосуда Дьюара 7, заполненного хладагентом, на установочном устройстве 8, закрепленном с возможностью вращения совместно с разнотемпературными емкостями 4, 5, 6, и подключение к теплообменнику 101, 102, 103 низкотемпературной емкости 4 посредством гибкой связи 12 и переходника 13 к сосуду Дьюара 7 обеспечивают компактность устройства и уменьшают потери холода за счет сокращения длин гибких связей 12, а также повышают удобства при эксплуатации устройства. Кроме того, данное устройство обеспечивает заданную чистоту ксенона при закачке в баллоны потребителя 27 и исключает загрязнение ксенона парами масла.
Таким образом, во всех трех вариантах термокомпрессионного устройства предлагаемая компоновка и конструктивное исполнение отдельных узлов и деталей термокомпрессионного устройства обеспечивают упрощение конструкции (компоновки) и улучшение эксплуатации, а также повышение эффективности устройства, что выполняет поставленную задачу.
Формула изобретения
1. Термокомпрессионное устройство, содержащее источник газа высокого давления, подключенный к баллонам-компрессорам, устройство для термоциклирования баллонов-компрессоров, из набора разнотемпературных емкостей и источника холода, отличающееся тем, что источник холода в виде сосуда Дьюара, заполненного хладагентом, совместно с разнотемпературными емкостями расположен на установочном устройстве, закрепленном с возможностью вращения, причем низкотемпературная емкость теплоизолирована, заполнена жидким теплоносителем и снабжена размещенным в теплоносителе теплообменником, выполненным в виде змеевика с бифилярной намоткой трубки и диаметром образующей намотки, превышающим диаметр окружности, охватывающей баллоны-компрессоры, один конец трубки через боковой вывод из емкости подключен посредством гибкой связи и переходника к сосуду Дьюара, снабженному системой наддува, а другой – сообщен с атмосферой, при этом баллоны-компрессоры и источник формирования потока жидкого теплоносителя в емкости подвешены на крышке емкости, прикрепленной к кронштейну в верхней части стойки подъемного механизма, расположенного совместно с установочным устройством на платформе, снабженной устройствами для ее перемещения и фиксации.
2. Термокомпрессионное устройство, содержащее источник газа высокого давления, подключенный к баллонам-компрессорам, устройство для термоциклирования баллонов-компрессоров, из набора разнотемпературных емкостей и источника холода, отличающееся тем, что источник холода в виде сосуда Дьюара, заполненного хладагентом, совместно с разнотемпературными емкостями расположен на установочном устройстве, закрепленном с возможностью вращения, причем низкотемпературная емкость теплоизолирована, заполнена жидким теплоносителем и снабжена теплообменником, который выполнен в виде цилиндрической гофрированной перегородки, скрепленной со стенкой емкости, при этом один конец образованного гофрами перегородки бифилярного спирального канала подключен посредством гибкой связи и переходника через боковой вывод из емкости к сосуду Дьюара, снабженному системой наддува, а другой конец бифилярного спирального канала сообщен с атмосферой, при этом баллоны-компрессоры и источник формирования потока жидкого теплоносителя в емкости подвешены на крышке емкости, прикрепленной к кронштейну в верхней части стойки подъемного механизма, расположенного совместно с установочным устройством на платформе, снабженной устройствами для ее перемещения и фиксации.
3. Термокомпрессионное устройство, содержащее источник газа высокого давления, подключенный к баллонам-компрессорам, устройство для термоциклирования баллонов-компрессоров, из набора разнотемпературных емкостей и источника холода, отличающееся тем, что источник холода в виде сосуда Дьюара, заполненного хладагентом, совместно с разнотемпературными емкостями расположен на установочном устройстве, закрепленном с возможностью вращения, причем низкотемпературная емкость теплоизолирована, заполнена жидким теплоносителем и снабжена, размещенным в плоскости, проходящей через центр емкости, теплообменником, выполненным в виде панели из высокотеплопроводного материала с образованием в ней методом прокатной сварки бифилярным спиральным каналом, один конец которого через боковой вывод из емкости подключен посредством гибкой связи и переходника к сосуду Дьюара, снабженному системой наддува, а другой – сообщен с атмосферой, при этом баллоны-компрессоры подвешены на крышке емкости, а источник формирования потока жидкого теплоносителя в емкости закреплен между баллонами-компрессорами и проекцией панели теплоносителя на крышку, прикрепленную к кронштейну в верхней части стойки подъемного механизма, расположенного совместно с установочным устройством на платформе, снабженной устройствами для ее перемещения и фиксации.
РИСУНКИ
|
|