|
|
(21), (22) Заявка: 2009103763/06, 27.03.2007
(24) Дата начала отсчета срока действия патента:
27.03.2007
(30) Конвенционный приоритет:
05.07.2006 DE 202006010726.6
(46) Опубликовано: 20.08.2010
(56) Список документов, цитированных в отчете о поиске:
WO 2004040135 A1, 13.05.2004. SU 732820 А3, 07.05.1992. AU 446929 A, 04.04.1974. US 5346369 A, 13.09.1994. US 4599054 A, 08.07.1986.
(85) Дата перевода заявки PCT на национальную фазу:
05.02.2009
(86) Заявка PCT:
EP 2007/002689 20070327
(87) Публикация PCT:
WO 2008/003359 20080110
Адрес для переписки:
129090, Москва, ул.Б.Спасская, 25, стр.3, ООО “Юридическая фирма Городисский и Партнеры”, пат.пов. А.В.Миц, рег. 364
|
(72) Автор(ы):
КЮК Хайнц (DE), БЕНЦ Даниель (DE), ВОЛЬТЕР Франк (DE)
(73) Патентообладатель(и):
ХАН-ШИКАРД-ГЕЗЕЛЛЬШАФТ ФЮР АНГЕВАНДТЕ ФОРШУНГ Е.Ф. (DE)
|
(54) НАСОСНАЯ СЕКЦИЯ И НАСОС, ИМЕЮЩИЙ ТАКУЮ НАСОСНУЮ СЕКЦИЮ
(57) Реферат:
Изобретение относится к области насосостроения для использования, в частности, в медицине или в технологических процессах. Насосная секция (10) содержит корпус (14) насосной секции, ограничивающий нагнетательную камеру (18), имеющий впуск (20) и выпуск (22), и, по меньшей мере, первый подвижный элемент (24), выполненный с возможностью перемещения в насосной камере между первой и второй позициями. Во время перемещения первого подвижного элемента в направлении от первой ко второй позиции поточное сопротивление пути потока от первого подвижного элемента через впуск больше, чем поточное сопротивление пути потока между корпусом насосной секции и первым подвижным элементом. Во время перемещения первого подвижного элемента в направлении от второй позиции к первой позиции поточное сопротивление пути потока от первого подвижного элемента через выпуск меньше, чем поточное сопротивление пути потока между корпусом насосной секции и первым подвижным элементом. Таким образом, во время возвратно-поступательного перемещения первого подвижного элемента между первой и второй позициями через выпуск имеет место результирующий поток, при этом первый подвижный элемент (24) закрывает выпуск, когда он находится в первой позиции. Повышается надежность. Появляется возможность не использовать при приведении в действие вспомогательные вещества, такие как смазывающие или солидолы. 5 н. и 10 з.п. ф-лы, 12 ил.
Настоящее изобретение относится к насосной секции и насосу, имеющему такую насосную секцию. Из предшествующего уровня техники известно множество насосов, которые могут быть использованы для приведения в движение жидкостей. Размеры насосов изменяются от микронасосов, произведенных для специальных целей, до очень больших насосов, имеющих высокую насосную производительность, например, для электростанций.
Согласно предшествующему уровню техники насосы являются сложными конструкциями, включающими устройства, работающие в контакте с жидкостью, приводные и, возможно, управляющие или регулирующие средства. Высокие издержки производства, которые почти препятствуют применению таких насосов для унифицированного использования, являются большим неудобством известных насосов. Кроме того, в сложных устройствах попытки получения высокой надежности также увеличиваются.
Во многих насосах требуются вспомогательные вещества, такие как смазочные вещества или солидолы, для приведения в действие или управления, соответственно, насосом, который может также придти в контакт с жидкостью. Это препятствует их использованию в медицине или технологических процессах.
Таким образом, имеется потребность в насосном элементе и насосе, который также может использоваться, среди прочего, в медицине или технологических процессах и потребительском применении для унифицированного использования.
Согласно данному изобретению эта цель решена посредством насосных секций согласно пунктам 1-20, так же как и посредством насоса, имеющего соответствующую насосную секцию согласно пункту 27.
Варианты настоящего изобретения предусматривают насосную секцию, содержащую:
корпус насосной секции, ограничивающий насосную камеру;
впуск в насосную камеру;
выпуск из насосной камеры и
первый подвижный элемент, выполненный с возможностью перемещения в насосной камере между первой и второй позициями,
в котором во время перемещения первого подвижного элемента в направлении от первой ко второй позиции поточное сопротивление пути потока от первого подвижного элемента через впуск больше, чем поточное сопротивление пути потока между корпусом насосной секции и первым подвижным элементом, и
в котором во время перемещения первого подвижного элемента в направлении от второй позиции по направлению к первой позиции поточное сопротивление пути потока от первого подвижного элемента через выпуск меньше, чем поточное сопротивление пути потока между корпусом насосной секции и первым подвижным элементом,
так что результирующий поток через выпуск имеет место во время возвратно-поступательного перемещения первого подвижного элемента между первой и второй позицией.
Таким образом, в вариантах настоящего изобретения во время перемещения подвижного элемента в направлении от первой ко второй позиции выдавливается больше жидкости за первым подвижным элементом по направлению к выпуску насосной камеры, чем покидает насосную камеру через впуск. В вариантах настоящего изобретения впуск может быть закрыт во время перемещения первого подвижного элемента в направлении от первой ко второй позиции или, по меньшей мере, во время большей части этого перемещения, например, посредством второго подвижного элемента.
Дополнительно, в вариантах изобретения благодаря охарактеризованным поточным сопротивлениям больше жидкости выбрасывается через выпуск во время перемещения первого подвижного элемента в направлении от второй позиции к первой позиции, чем перемещается за подвижным элементом по направлению к впуску. Таким образом, посредством возвратно-поступательного перемещения подвижного элемента может иметь место результирующий поток через выпуск.
Варианты настоящего изобретения предусматривают насосную секцию, содержащую:
корпус насосной секции, ограничивающий насосную камеру, имеющую впуск и выпуск;
первый подвижный элемент, выполненный с возможностью перемещения в нагнетательной камере между первой позицией и второй позициями, в которой выпуск закрыт, когда первый подвижный элемент находится в первой позиции;
второй подвижный элемент, выполненный с возможностью перемещения в насосной камере между третьей и четвертой позицией;
первую пружину, смещающую первый подвижный элемент в первую позицию; и
вторую пружину, смещающую второй подвижный элемент в третью позицию,
в которой результирующий поток через выпуск имеет место во время возвратно-поступательного перемещения первого подвижного элемента между первой и второй позициями, и второго подвижного элемента между третьей и четвертой позициями.
В вариантах изобретения насос может иметь соответствующую насосную секцию и секцию привода, которая выполнена для перемещения первого подвижного элемента из первой во вторую позицию и/или перемещения второго подвижного элемента из третьей в четвертую позицию.
Варианты настоящего изобретения могут иметь отношение к миниатюрным насосам или микронасосам, в которых количество жидкости, перекачиваемое за ход насоса, находится в микролитровом диапазоне, нанолитровом диапазоне или пиколитровом диапазоне. Варианты изобретения могут относиться к насосам для жидкостей, таких как экстракты, смазочные вещества, пищевые или чистящие жидкости, в которых насосная секция и секция привода могут быть сконструированы раздельно. Насосная секция может быть произведена рентабельно, например, посредством инжекционного формования пластмассы, и может быть удалена после использования. Секция привода может быть использована повторно, при этом в вариантах настоящего изобретения устройство привода не входит в контакт с жидкостью, которая перекачивается. В вариантах изобретения количество перекачиваемой жидкости может определяться непосредственно исходя из числа тактов насоса. Дополнительно, в вариантах изобретения насосная секция может иметь интегрированный запорный клапан для управления потоком жидкости. В вариантах изобретения интегрированный запорный клапан может не позволять жидкости течь через насосную секцию в нерабочем состоянии насосной секции.
Варианты насоса согласно изобретению могут использоваться во множестве применений, особенно в областях медицины, технологических процессах и исследовании. Одним из примеров являются автоматические медицинские дозирующие средства в медицине человека.
В вариантах настоящего изобретения во время перемещения первого подвижного элемента в направлении от первой ко второй позиции перенос жидкости имеет место из области, расположенной на стороне первого подвижного элемента, обращенной от выпуска за подвижным элементом, к области, расположенной на стороне первого подвижного элемента, обращенной к выпуску. Во время этого перемещения впуск может быть закрыт для того, чтобы реализовать возвратное течение через впуск, которое является настолько слабым, насколько это возможно, и связанное с ним всасывание через выпуск. Во время перемещения первого подвижного элемента в направлении от первой ко второй позиции, жидкость, например, жидкость или газ, может транспортироваться за первый подвижный элемент.
В вариантах настоящего изобретения во время перемещения первого подвижного элемента в направлении от второй позиции к первой позиции перекачиваемая жидкость перемещается первым подвижным элементом и выпускается через выпуск. В то же самое время жидкость всасывается через впуск. Таким образом, фаза перемещения может также быть упомянута как транспортная фаза. Чередуя транспортные фазы и насосные фазы, можно иметь результирующий поток в направлении от впуска к выпуску.
В вариантах настоящего изобретения насосная секция может быть выполнена так, что во время работы второй подвижный элемент перемещается быстрее из третьей в четвертую позицию, чем первый перемещается из первой во вторую позицию. В вариантах настоящего изобретения второй подвижный элемент закрывает впуск в четвертой позиции. Таким образом, в течение фазы, когда перекачиваемая жидкость транспортируется за первый подвижный элемент, возвратное течение через впуск может быть уменьшено или минимизировано. В вариантах настоящего изобретения вторая пружина может иметь пружинную постоянную ниже, чем у первой пружины, для того, чтобы осуществлять более быстрое перемещение второго подвижного элемента. В вариантах изобретения первый подвижный элемент и второй подвижный элемент могут быть снабжены отдельными секциями привода. Секция привода для второго подвижного элемента может осуществлять его перемещение из третьей позиции в четвертую позицию, прежде чем секция привода осуществляет перемещение первого подвижного элемента из первой во вторую позицию. В альтернативных вариантах секция привода и/или первый подвижный элемент и второй подвижный элемент могут быть выполнены так, что ко второму подвижного элементу прикладывается большая сила, так что он движется быстрее к четвертой позиции, чем первый подвижный элемент движется ко второй.
Варианты настоящего изобретения допускают, чтобы жидкостное устройство насосной секции и ее привод были выполнены раздельно друг от друга. Реальная насосная секция может состоять из нескольких элементов и может быть сделана с надлежащей стоимостью, например с использованием инжекционного формования пластмассы. Варианты настоящего изобретения позволяют удалить насосную секцию после использования так, что возможны унифицированные экономичные использования. В вариантах изобретения более дорогостоящая секция привода, которая может включать управляющие или регулирующие средства, может быть использована для нескольких насосных секций или для нескольких жизненных циклов насосных секций. Таким образом, в критических применениях, таких как медицинская технология или пищевая технология, насосная секция, которая обозначает жидкостный элемент, приходящий в контакт с перекачиваемой жидкостью, может быть заменен после каждого применения без замены более дорогостоящей секции привода.
В вариантах настоящего изобретения насосная функция может быть осуществлена двумя металлическими подвижными элементами, такими как шары или поршни, которые удерживаются в определенном положении двумя пружинами в насосной камере, которая также может быть отнесена к каналу. В первой или третьей позиции, соответственно, первый подвижный элемент закрывает выпуск из насосной камеры, в то время как второй подвижный элемент может освободить впуск в насосную камеру, которая может быть присоединена к резервуару для перекачиваемой жидкости, при этом насосная камера наполняется жидкостью через впуск. В вариантах настоящего изобретения подвижные элементы могут перемещаться магнитной силой против силы пружины во вторую или четвертую позицию, соответственно, посредством одной или нескольких катушек индуктивности, встроенных в секцию привода. Таким образом, в вариантах второй подвижный элемент сначала закрывает впуск в то время, когда подвижный элемент освобождает выпуск, и жидкость, жидкость или газ, содержащиеся в насосной камере, выдавливаются за первый подвижный элемент (транспортная фаза). После прекращения действия магнитной силы пружина отжимает первый подвижный элемент назад, при этом жидкость впереди первого подвижного элемента, по меньшей мере, частично транспортируется через задний выпуск. Таким образом, существует утечка через зазор между подвижным элементом и стенкой камеры давления, через который некоторое количество жидкости может течь обратно во время нагнетающего перемещения. Количество утекающей жидкости определяется шириной зазора между первым подвижным элементом и стенкой насосной камеры, т.е. поточным сопротивлением пути потока между первым подвижным элементом и стенкой насосной камеры. В вариантах изобретения первый подвижный элемент снова закрывает выходное отверстие в конце нагнетающего перемещения. В вариантах изобретения второй подвижный элемент открывает входное отверстие приблизительно в то же самое время, в результате чего корпус снова заполняется. Потоком с дозируемым объемом можно управлять посредством числа и скорости тактов насоса. Более того, между циклами насоса насос может блокировать поток жидкости без утечки.
В вариантах настоящего изобретения насосные секции с различными пропускными способностями могут быть реализованы посредством конструирования насоса. Например, поперечное сечение жидкостного устройства, т.е. канал его насосной камеры, длительность такта насоса и размер зазора между подвижным элементом и стенкой канала могут быть подобраны так, чтобы отрегулировать количество вытесняемой жидкости за такт насоса. Таким образом, например, возможно покрыть большой диапазон вытесняемых объемов одной или только несколькими различными секциями привода. Та же самая секция привода может, например, управлять насосными секциями с различными пропускными способностями.
Кроме того, преимущественно, варианты настоящего изобретения допускают, чтобы насос только с небольшими дополнительными изменениями был снабжен устройством мониторинга, которое может контролировать состояние насоса, т.е. которое может определять положение первого подвижного элемента и/или, если он имеется, положение второго подвижного элемента. В вариантах изобретения секция привода может иметь катушку привода, при этом дополнительно в секцию привода может быть встроена измерительная катушка. Посредством генерации катушкой привода наложенного магнитного переменного поля может быть индуцировано напряжение в дополнительной измерительной катушке. Индуцированное напряжение зависит от положения подвижного элемента(ов), материал которого имеет проводимость. Таким образом, посредством подходящих измерительных средств может быть определено положение насосной секции, что позволяет осуществлять контроль работы насоса.
Варианты настоящего изобретения будут обсуждены ниже со ссылкой на сопроводительные чертежи. Они показывают:
фиг.1А и 1В – схематические виды в разрезе варианта изобретенного насоса,
фиг.2 и 3 – схематические виды поперечного сечения вариантов для иллюстрации пути потока между корпусами насосных секций и первыми подвижными элементами,
фиг.4 и 5 – схематические виды вариантов, допускающих изменяемое поточное сопротивление пробега потока между корпусом насосной секции и первым подвижным элементом,
фиг.6А и 6В – схематические виды в разрезе для иллюстрации дополнительного варианта изобретенного насоса,
фиг.7-9 – схематические виды в разрезе дополнительных вариантов изобретенных насосов, и
фиг.10 – схематический вид в разрезе варианта насосной секции.
На различных видах номера одних и тех же ссылок используются для одинаковых элементов или элементов с одинаковыми функциями, при этом повторяющееся описание соответствующих элементов опущено.
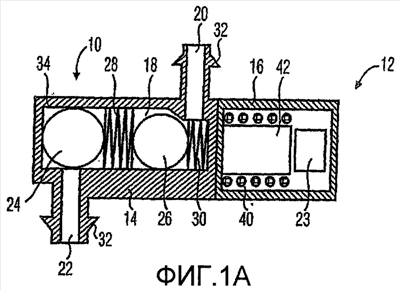
На фиг.1А показан вид в разрезе варианта насоса согласно изобретению в нерабочем состоянии, а на фиг.1В показан насос в рабочем состоянии. Насос содержит насосную секцию 10 и секцию 12 привода. Насосная секция 10 содержит корпус 14 насосной секции, а секция 12 привода содержит корпус 16 секции привода. Корпус 14 насосной секции и корпус 16 секции привода выполнены в виде отдельных корпусов, так что они могут быть соединены друг с другом и могут быть отделены один от другого. Подходящие устройства, в которых корпус 16 секции привода и корпус 14 насосной секции соединяются разъемным образом, являются очевидными для квалифицированных специалистов и включают, например, защелкивающиеся соединения, резьбовые соединения, крюки, зажимы, застежки на липучке и аналогичные элементы и не требуют дальнейшего объяснения.
Корпус 14 насосной секции определяет насосную камеру 18, впуск 20 и выпуск 22. Корпус 14 насосной секции может быть выполнен с низкой стоимостью, например, путем инжекционного формования пластмассы, при этом впуск 20 и выпуск 22 могут быть инжектированы. Первый шар 24, представляющий первый подвижный элемент, и второй шар 26, представляющий второй подвижный элемент, находятся в насосной камере 18. Пружина 28 находится между шарами 24 и 26. Вторая пружина 30 находится между вторым шаром 26 и корпусом 14 насосной секции. Первая пружина 28 и вторая пружина 30 смещают первый шар 24 и второй шар 26 в позиции, показанные на фиг.1А. В показанном варианте пружины 28 и 30 выполнены в виде винтовых пружин.
В показанном варианте пружинный узел позиционирует первый шар 24 без внешней силы, так что выпуск 22 закрыт, при этом первая пружина 28 удерживает первый шар 24 в этом положении. Пружинный узел позиционирует второй шар 26 так, что впуск 20 открыт, а насосная камера 18 в корпусе 14 заполнена жидкостью.
Впуск 20 может быть присоединен к резервуару для жидкости (не показан) посредством подходящих магистралей для жидкости, наряду с этим выпуск 22 может быть соединен с целевой областью (не показана) посредством подходящих магистралей для жидкости. Для этой цели впуск 20 и выпуск 22 могут иметь, например, штуцеры 32.
Для увеличения герметизирующего действия первого шара 24 на выпуск 22 дополнительно может быть предусмотрена добавочная пружина 34, например, в виде листовой пружины, которая прижимает первый шар 24 к посадочному месту, выполненному на выпуске 22. В показанном варианте листовая пружина 34 создает силу, перпендикулярную силе, создаваемой пружинами 28 и 30. Шары 12 могут быть сделаны, например, в виде металлических шаров, в то время как пружины могут быть выполнены, например, из немагнитного цветного металла.
Секция привода включает одну или несколько катушек 40 привода в качестве электромагнитного привода для металлического шара 24, которые окружают ферромагнитный сердечник 42. Для увеличения магнитной силы на подвижных элементах ферромагнитный сердечник 42 может также иметь форму ярма с подходящими полюсными наконечниками на позициях подвижных элементов, которая значительно усиливает обратные магнитные токи, как будет обсуждено ниже более детально со ссылкой на фиг.5 и 7. Дополнительно, секция 12 привода содержит средство 44 управления, которое связано с катушками 40 привода для того, чтобы выборочно и циклически создавать электрический ток в одной или нескольких катушках 40 для генерации электромагнитной силы, действующей на металлические шары 24 и 26.
Благодаря сгенерированной электромагнитной силе второй шарик 26 сдвигается по направлению впуска 20 против силы пружины 30, так что впуск закрыт, как показано на фиг.1В. Увеличивая силу тока в катушке привода или в катушках привода 40, соответственно, магнитная сила на шаре 24 может быть увеличена, пока ферромагнитный сердечник 42 и, если присутствует, ярмо еще не находятся в магнитном насыщении. Для перемещения второго шарика 26 из положения покоя в, показанное на фиг.1А, в герметизирующее положение, показанное на фиг.1В, он должен пройти расстояние s2. Для этого требуется магнитная сила Fmagnet(s2). Смещение пружин Fvor может быть отрегулировано так, что первый шар 24 не двигается до тех пор, пока второй шар 26 перекрыл впуск. Для того чтобы окончательно перевести первый шар 24 в положение, показанное на фиг.1В против силы первой пружины 28 с пружинной постоянной с1, его необходимо сдвинуть на расстояние s1. Для преодоления сил пружины требуется, по меньшей мере,
| Fmagnet(s1)=Fmagnet(s2)+c1·s1+Fflow |
[N] |
Таким образом, выпуск 22 открыт, и во время перемещения второго шара 24 жидкость течет за шариком, т.е. течет по пути потока между первым шаром 24 и корпусом 14 насосной секции. Сила потока Fflow зависит главным образом от ширины зазора между вторым шаром 24 и корпусом 14 насосной секции и от скорости v, с которой движется первый шар 24.
Описание функционального назначения фиг.1А и 1В
пружинные постоянные и пружинные смещения пружин 14 и 17 предпочтительно могут быть выбраны так, что после включения магнитной силы шар 26 движется первым и закрывает впуск 20, прежде чем благодаря жидкости движется шар 24 и открывает выпуск 22. Если магнитная сила выключается, оба шара могут двигаться фактически одновременно, т.к. течение жидкости через впуск 20 поддерживается пружиной 30. Второй шар 26 может иметь немного меньший диаметр, чем первый шар 24. Фиг.2 схематически показывает поперечное сечение по линиям II-II на фиг.1В, где виден соответствующий круговой зазор 46, подобный техническому посадочному месту, который имеет результатом течение между первым шаром 24 и внутренней стенкой насосной камеры в насосной камере с круговым внутренним поперечным сечением. Таким образом, шар имеет боковой зазор в насосной камере, который имеет результатом поточный зазор. Ширина кругового зазора может предпочтительно быть значительно меньше диаметра и может зависеть от диаметра шара. Например, завися от диаметра шара, ширина зазора может быть меньше, чем 100 мкм, 50 мк или меньше чем 20 мкм. На фиг.2 шар центрирован, положение, при этом в действительности, его может отклоняться от показанного положения в зависимости от обстоятельств, например регулировки, так, что нет зазора с одной стороны шарика.
Альтернативно, может использоваться другое внутреннее поперечное сечение, например, внутренне квадратное поперечное сечение. Схематичный вид поперечного сечения альтернативного варианта с корпусом 14а насосной секции, имеющей круговое поперечное сечение насосной камеры, показан на фиг.3. Цилиндрический профилированный подвижный элемент 24а имеет один или несколько каналов 46а, имеющих результатом один или несколько путей потока между подвижным элементом 24а и корпусом 14а насосной секции, как показано на фиг.3. Хотя на фиг.3 показаны четыре канала 46а, в альтернативных вариантах может быть различное число каналов, например только один канал.
Также на фиг.1В показано устройство насоса в течение действия магнитной силы Fmagnet>Fmagnet(s1). Средство управления 44 осуществляет снабжение катушки 40 привода таким током, чтобы соответствующая магнитная сила была приложена к первому шару 24.
Таким образом, управляя секцией 12 привода можно воздействовать на перемещение шариков 24 и 26 из позиций, показанных на фиг.1А, к позициям, показанным на фиг.1В. Посредством этого шар 24 сдвигается в нагнетательной камере 18 от выпуска 22, при этом жидкость от стороны шара 24, противоположной выпуску 22, переносится к стороне шара, обращенной к выпуску 22, вдоль одного или нескольких путей потока 46 или 46а, соответственно, как показано, например, на фиг.2 и 3.
Если магнитная сила посредством секции 12 привода выключена, выключая ток, текущий через катушку привода 40 средством 44 управления, шар 24 выдавливает жидкость из насосной камеры 18 через выпуск 22 благодаря силе первой пружины 28, после чего шар 24 окончательно перекрывает выпуск 22. Во время этого перемещения шара 24 второй шар 26 открывает впуск 20, так что новая жидкость может снова втекать в насосную камеру через впуск 20. Таким образом, шары 24 и 26 возобновляют позиции, показанные на фиг.1А благодаря смещениям пружинами 28 и 30. Начиная от этого положения, можно снова управлять секцией привода так, что посредством циклического управления секцией привода определенный жидкий объем может быть перекачан, посредством выполнения определенного числа насосных циклов на такт насоса с известным объемом.
Перекачиваемый объем определяется геометрией, особенно размером шара 24, размером насосного такта (т.е. расстоянием s1 перемещения шара 24), а также размером поточного зазора 46 между шаром 24 и корпусом 14 насосной секции. Отлаживая геометрию, можно отрегулировать объем, перекачиваемый за насосный такт. На основе числа насосных тактов может быть определен вытесняемый объем.
Для достижимой точности дозирования насоса является выгодным в вариантах изобретения, чтобы отношение между количеством перекачиваемой жидкости, например, количеством жидкости и количеством жидкости, текущей обратно через зазор 46 во время нагнетательного перемещения шара 24, становилось настолько большим, насколько это возможно.
Поэтому в вариантах изобретения поточное сопротивление зазора 46 может быть существенно больше во время нагнетательного перемещения. Это может быть получено посредством соответствующего узкого зазора 46 или дополнительными мерами. В этой связи, на фиг.4 показано схематическое представление корпуса 14б насосной секции, в которой расположен подвижный элемент 24б. Поперечное сечение насосной камеры 18а, выполненное в корпусе 14б насосной секции, может, например, быть круговым, при этом подвижный элемент может быть в форме цилиндрического поршня, так, что образуется поточный зазор 46b между внутренней стенкой корпуса 14б насосной секции и подвижным элементом 24б. Подвижный элемент 24b имеет уплотнение 50, которое устанавливается на нем и изменяет сопротивление потока жидкости, перекачиваемой между подвижным элементом 24б и стенкой канала корпуса 14б насосной камеры, в зависимости от направления перемещения.
Уплотнение 50 выполняется гибким и удобно для присоединения к подвижному элементу 24б, например, только посредством штифта 52. Таким образом, для протекающей жидкости уплотнение 50 обеспечивает более низкое поточное сопротивление во время перемещения подвижного элемента 24б на фиг.4 направо, чем во время перемещения подвижного элемента 24б налево. Другими словами, во время перемещения направо уплотнение обладает более высокой гибкостью, так что оно может отгибаться от подвижного элемента 24б, в то время как оно прижимается к подвижному элементу 24б во время перемещения подвижного элемента налево. Таким образом, подвижный элемент обладает дополнительной функцией клапана.
Дополнительное уплотнение 50 может быть сделано из любого упругого материала, такого как резина, который изменяет свою действительную геометрию в жидкости в зависимости от направления перемещения подвижного элемента 24б, и позволяя, таким образом, изменить сопротивление потока для создания желаемой функции клапана.
Альтернативный вариант, чтобы получить эффект динамического клапана подвижного элемента, показан схематично на фиг.5. На фиг.5 схематично показан корпус 14с насосной секции и расположенный в нем подвижный элемент 24с. Далее, на фиг.5 схематично показаны полюсные наконечники 56 и 58 магнитной секции привода. В варианте, показанном на фиг.5, подвижный элемент 24с сделан так, что он создает различное сопротивление потока жидкостного действительного зазора 46с в зависимости от его положения в поточном канале, т.е. в нагнетательном канале 18б, сформированном в корпусе 14с насосной секции. В показанном варианте это может быть получено наложением поступательного перемещения 60 подвижного элемента 24с на вращательное перемещение, которое увеличивает или уменьшает жидкостный зазор 46с так, что создаются различные поточные сопротивления. В примере, показанном на фиг.5, элемент 25с может быть, например, шаром, уплощенным с двух или нескольких сторон, который может вращаться вокруг своей центральной оси. Далее, подвижный элемент 24с может быть выполнен из постоянного магнитного материала так, чтобы имело место вращение подвижного элемента 24с, когда он перемещается между полюсными наконечниками 56 и 58 посредством поступательного перемещения 60, как это обозначено пунктиром на фиг.5. Предпочтительно, чтобы поперечное сечение зазора 46с могло уменьшаться во время нагнетательного перемещения подвижного элемента 46с по направлению к выпуску насоса и могло увеличиваться во время наполняющего перемещения в направлении от выпуска насоса, которое может иметь результатом эффект динамического клапана.
На фиг.6А и 6В представлен следующий пример насоса по изобретению, представляющий модификацию варианта, показанного на фиг.1А и 1В, при этом описание элементов и функционального назначения уже описанного со ссылкой на фиг.1А и 1В опущены.
Насосная секция, показанная на фиг.6А и 6В, полностью соответствует варианту фиг.1а и 1б, при этом на фиг.6а показаны два шара 24 и 26 в неподвижном состоянии, а на фиг.6В – два шара в рабочем состоянии. В варианте, показанном на фиг.6А и 6В, секция 12а привода отличается от секции, описанной со ссылкой на фиг.1А и 1В, тем, что предусмотрено измерительное средство для обнаружения положения шаров. Измерительное средство включает измерительную катушку 70 и средство 72 детектирования. Средство 72 детектирования может быть встроено в средство 44 управления или может быть предусмотрено отдельно от них. Средство 72 детектирования присоединено к измерительной катушке 70 и может дополнительно быть связано с катушкой 40 привода. Как средство 44 управления или средство 72 детектирования сформированы для того, чтобы послать такой переменный ток через катушку 40 привода, чтобы было наложено переменное магнитное поле, изменение которого создает напряжение Uind в измерительной катушке 70. Из-за проводимости материала шаров 24 и 26 это напряжение также изменяется в зависимости от положения шаров в насосной секции. Средство 72 детектирования предусмотрено для детектирования напряжения Uind и оценки его изменений для условий протягивания туда-сюда положений шаров в насосной секции. Таким образом, положение шаров 24 и 26 внутри насосной секции 10 может быть определено, так что состояние и функции насосной секции могут быть проконтролированы. В таком варианте возможно усилить измеряемый сигнал, представленный напряжением, индуцированным в катушке 70 магнитным ярмом и полюсными наконечниками, расположенными на нем.
Варианты узлов, позволяющие увеличить эффективные магнитные силы или увеличить измеряемый сигнал, соответственно, будут обсуждены ниже более детально со ссылкой на фиг.7-9.
На каждой из фиг.7-8 представлена насосная секция, имеющая корпус 80 насосной секции с выполненными в нем насосной камерой 82, впускным отверстием 84 и выпускным отверстием 86. Первый подвижный шар 88 и второй подвижный шар 90 расположены в насосной камере 82, при этом шары смещены к показанным положениям первой пружиной 92 и второй пружиной 94.
В варианте, показанном на фиг.7, предусмотрены две отдельных секции привода 102а и 102b для первого шара 88 и второго шара 90. Секции привода 102а и 102b могут иметь одинаковую конструкцию, при этом соответствующие особенности секции 102а привода обозначены буквой “а”, в то время как особенности секции 102b привода обозначены буквой “b”. Секции привода имеют части корпуса секции привода, которые могут быть присоединены к насосной секции разъемным образом. Секция 102а привода имеет одну или несколько катушек 106а привода и одну или несколько измерительных катушек 108а. Секция 102b привода имеет одну или несколько катушек 106б привода. Секция 102а привода имеет средство 44а управления и средство 72 детектирования. Секция 102b привода также имеет средство 44b управления и может дополнительно произвольно иметь одну или несколько измерительных катушек и средство детектирования.
Как можно видеть на фиг.7, катушки привода 106а и 108а намотаны вокруг ферромагнитного ярма 110а, а катушки 106b привода намотаны вокруг ферромагнитного ярма 110b. Полюсные наконечники 112а и 114а присоединены к ферромагнитному ярму 110а, которое проводит магнитный поток так, что шарик 99 в рабочем режиме протягивается между полюсными наконечниками 112а и 112b. Также, полюсные наконечники 112b и 114b присоединены к ярму 110b, которое проводит магнитный поток так, что шарик 90 протягивается в рабочем режиме между полюсными наконечниками 112b и 114b.
Используя ярма и полюсные наконечники, которые могут, например, состоять из ферромагнитного материала, подвижные элементы, в показанном варианте шары 88 и 90, могут стать частью магнитного круга, который может значительно увеличить действующие магнитные силы. Далее, измеренный сигнал, индуцированный в измерительной катушке 108а и обнаруженный средством 72 детектирования, может быть значительно сильнее.
Конструктивное выполнение ярм и полюсных наконечников зависит от соответствующего проекта насосной секции. Здесь необходимо заметить, что проектирование геометрии насосных секций, показанных в вариантах, представлено просто исключительно для целей иллюстрации. Далее, необходимо заметить, что входные и выходные отверстия могут располагаться в любом подходящем положении, в частности положение входного отверстия на фиг.7 и 8 просто схематическое и является, конечно, подходящим положением, дающим возможность жидкости, т.е. жидкости или газу, втекать в насосную камеру.
Функциональное назначение варианта, показанного на фиг.7, может главным образом соответствовать функциональному назначению вариантов, описанных выше со ссылкой на фиг.1А и 1В. В этом отношении пружинные постоянные пружин 92 и 94, чье временное управление насыщением током катушек привода 106а и 106b и/или количества тока, поданного на катушки привода 106а и 106b (и магнитное поле, сгенерированное таким образом), могут быть отрегулированы для осуществления того, что шар 90 закрывает входное отверстие 84 в течение рабочего режима, прежде чем шар 88 сдвигается из показанного положения в рабочее положение.
На фиг.8 показан схематический вид варианта, где предусмотрена общая секция привода для первого шара 88 и второго шара 90. Секция 120 привода имеет корпус 122 секции привода, который снова может быть присоединен к насосной секции разъемным образом. Далее, секция привода включает средство 44 управления и средство 72 детектирования, которые могут присоединяться к одной или нескольким катушкам 106 привода и одной или нескольким измерительным катушкам 108, аналогично вышеупомянутым описаниям. Катушка 106 привода и измерительная катушка 108 намотаны, как проиллюстрировано, вокруг ярма 110, которое может состоять из ферромагнитного материала. Ярмо 110 имеет первые полюсные наконечники 124 и 126 для управления магнитным потоком для приведения в движение первого шара 88 и вторые полюсные наконечники 128 и 130 для управления магнитным потоком для приведения в движение второго шара 90.
Относительно функционального назначения варианта, показанного на фиг.8, может быть сделана ссылка к вышеупомянутым объяснениям, принимая во внимание фиг.1A и 1B, 6A и 6B, при этом с помощью ярма 110 и присоединенных к нему полюсных наконечников снова может быть получено увеличение магнитной силы и измеренного сигнала.
Альтернативный вариант секции 140 привода для управления обоими шарами 88 и 90 показан на фиг.9. Секция 140 привода включает корпус 142 секции привода, в котором снова расположены средство 44 управления, средство 73 детектирования, одна или несколько катушек 106 привода и одна или несколько измерительных катушек 108. Как можно видеть в варианте, показанном на фиг.9, в этом варианте на ярме 144 предусмотрены катушка 106 привода и измерительная катушка 108, расположенные между полюсными наконечниками 124, 126, 128 и 130. Таким образом, показанный на фиг.9 вариант позволяет иметь очень компактную конструкцию секции привода, которая снова может быть присоединен к корпусу насосной секции разъемным образом.
На фиг.10 показана насосная секция 150 согласно альтернативному варианту. Насосная секция 150 содержит корпус насосной секции 152, в которой сформированы насосная камера 154, впускное отверстие 156 и выпускное отверстие 158. Далее, насосная секция 150 имеет первый шар 160, второй шар 162, первую пружину 164 и вторую пружину 166. Пружинный ограничитель 168 расположен между пружинами. Пружины 160 и 162 смещают шары 160 и 162 в положение, показанное на фиг.10.
Используя соответствующую секцию привода (не показана), шар 160 может быть сдвинут от выпускного отверстия 158 против силы пружины 164 для того, чтобы открыть отверстие и для перемещения жидкости за шар, в то время как впускное отверстие 156 закрыто шаром 162. Для реализации соответствующей секции привода снова могут быть предусмотрены полюсные наконечники, немного смещенные от шара 160 в направлении впускного отверстия 156.
После выключения магнитной силы пружина 164 сдвигает шар назад в положение, показанное на фиг.10, при этом жидкость прогоняется через выпускное отверстие 158. Вместе с пружиной 166 шар 162 образует запорный клапан, позволяющий жидкости перетекать через впускное отверстие 156. Пружина 166, шар 162 и уплотненное посадочное место на впускном отверстии 156 могут быть подобраны друг к другу так, чтобы сформированный таким образом запорный клапан немедленно открывался на проход, когда шар 160 находится в перемещении нагнетания по направлению к выпускному отверстию 158, и немедленно закрывался в блокирующем направлении, когда шар 160 находится в перемещении наполнения от выпускного отверстия 158.
Таким образом, в варианте, показанном на фиг.10, пружина 164 образует насосный привод вместе с шаром 160, при этом пружина 164 и уплотненное посадочное место шара 160 и корпус насоса 152 или выпускное отверстие 158 посредством того же самого могут быть подобраны так, что выпускное отверстие 158 надежно уплотнено элементом 160, пока магнитный привод выключен, т.е. пока система в нерабочем состоянии. Этой конструкцией можно эффективно воспрепятствовать холостому течению из впускного отверстия 156 через выпускное отверстие 158, так же, как и возвратному течению от выпускного отверстия 158 назад к впускному отверстию 156.
В варианте согласно фиг.10, пружины 164 и 166 разъединены и удерживаются фиксированным ограничителем 168. Две пружинные силы определяются, главным образом, расстоянием между шаром 160 и пружинным ограничителем 168 или между шаром 162 и пружинным ограничителем 168, соответственно, и являются, таким образом, полностью отделенными друг от друга.
Чтобы поддерживать впускное отверстие 156 открытым, когда шар 160 находится в перемещении нагнетания по направлению к отверстию 158, для шара 162 может быть предусмотрен дополнительный магнитный привод, которым можно управлять независимо от магнитного привода шара 160.
Подводя итог вышесказанному, варианты настоящего изобретения дают насос для жидкостей, имеющий первый корпус, впуск и выпуск и второй корпус, который может быть механически связан с первым корпусом разъемным образом. Первый корпус может включать первый подвижный элемент и, по меньшей мере, первую пружину, при этом первая пружина устанавливает первый подвижный элемент в положении, герметизирующем выходное отверстие. Корпус может включать второй подвижный элемент и, по меньшей мере, вторую пружину, при этом вторая пружина устанавливает второй подвижный элемент в положении, освобождающем впуск. Второй корпус может включать, по меньшей мере, одну катушку, ферромагнитный сердечник и средство управления, которые служат для генерации магнитного поля и, таким образом, подвижные элементы устанавливаются во втором положении, противодействующем эффективной силе пружин, при этом впускное отверстие герметизируется вторым подвижным элементом, а выпускное отверстие свободно от первого подвижного элемента. После выключения магнитной силы подвижные элементы могут быть возвращены назад в нерабочее состояние пружинами, так что жидкость, содержащаяся в первом корпусе, по меньшей мере, частично удаляется через выпуск.
Как описано выше, варианты настоящего изобретения содержат два подвижных элемента. В вариантах изобретения обоими подвижными элементами можно управлять посредством секции привода. В альтернативных вариантах только первый подвижный элемент может быть перемещен с помощью секции привода, в то время как другой подвижный элемент может действовать как запорный клапан и, по существу, просто перемещается текущей жидкостью. Как альтернатива такому запорному клапану, использующему подвижный элемент, как было выше описано, например, со ссылкой на фиг.10, впуск может быть также снабжен обычным запорным клапаном, например пластинчатым откидным клапаном, который открывает впускное отверстие во время перемещения нагнетания первого подвижного элемента и закрывает впускное отверстие во время перемещения переноса, в котором жидкость перемещается позади первого подвижного элемента. Как дополнительная альтернатива, впуск необходимо оснастить клапаном вообще, пока сопротивление потока от первого подвижного элемента через впускное отверстие выше, чем сопротивление потока между первым подвижным элементом и внутренней стенкой корпуса насосной секции, так как в этом случае можно еще управлять результирующим действием насоса через выпуск.
Полезно, чтобы части корпуса насосной секции состояли из пластмассы и могли быть сделаны, например, путем использования технологии инжекционного формования. Однако части корпуса могут быть также сделаны с использованием других подходящих материалов, например, методами микроструктуирования, используя полупроводники или керамические материалы или металлы, не обладающие ферромагнитными свойствами. Целесообразно, чтобы подвижный элемент(ы) мог быть выполнен из ферромагнетика, мягкого магнитного материала или материала с постоянными магнитными свойствами.
В вариантах настоящего изобретения первый подвижный элемент может быть материалом с постоянными магнитными свойствами и выполнен как магнитный диполь, при этом магнитная ось диполя ориентируется так, что подвижный элемент совершает вращательное перемещение в дополнение к поступательному перемещению, при наложении внешней магнитной силы, сгенерированной секцией привода, при этом первый подвижный элемент располагается в корпусе насосной секции так, что его действительная геометрия в жидкости изменяется, образуя форму клапана, как это было показано выше со ссылкой на фиг.5.
Описанные варианты настоящего изобретения имеют подвижные элементы, которые имеют форму шара или поршня. Однако ясно, что подвижный элемент(ы) может иметь любую форму, которая обеспечивает описанное функциональное назначение в связи с соответствующим корпусом насосной секции.
Как было обсуждено со ссылкой на фиг.4, дополнительное уплотнение может быть присоединено к подвижному элементу, который может состоять из упругого материала и может изменять свою эффективную геометрию жидкости в зависимости от направления перемещения подвижного элемента, при этом в соединении с уплотнением подвижный элемент имеет функцию клапана, с помощью которого отношение количества выталкиваемой жидкости к количеству жидкости, втекающей назад по пути потока между подвижным элементом и корпусом насосной секции в течение нагнетательного перемещения, может быть увеличено.
В вариантах настоящего изобретения пружины, смещающие первый подвижный элемент в первую позицию и/или второй подвижный элемент в третью позицию, могут состоять из любого подходящего материала, такого как немагнитный цветной металл. В вариантах изобретения секция привода делается с отдельным корпусом, так что она может быть помещена в различные корпусы насосной секции так, что различные типы насосов могут управляться одной секцией привода.
В вариантах настоящего изобретения скорость опорожнения насоса может быть отрегулирована в течение рабочего режима посредством изменения частоты накачки или изменения хода нагнетания первого подвижного элемента. В вариантах настоящего изобретения частота накачки может быть отрегулирована изменением частоты, с которой ток подается в приводную катушку средством управления. В вариантах изобретения ход нагнетания первого подвижного элемента может меняться путем изменения поданного тока и, таким образом, изменением генерируемой магнитной силы. Согласно вариантам настоящего изобретения скорость опорожнения может быть дополнительно отрегулирована изменением зазора между первым подвижным элементом и корпусом насосной секции, так же как и изменением смещения Fvor пружины, например, заранее в течение конструирования насоса.
В вариантах настоящего изобретения определенное количество жидкости перекачивается за такт насоса. Чтобы получить желаемую величину дозировки, может быть подсчитано и выполнено необходимое число тактов насоса. Как было описано выше со ссылкой на фиг.7 и 9, магнитный поток может быть специально направлен в подвижный элемент(ы) через ферромагнитное ярмо и ферромагнитные полюсные наконечники, установленные на нем. Более того, магнитный поток через шары может быть более точно отрегулирован путем изменения поперечного сечения корпуса насоса в областях перемещения подвижных элементов.
В вариантах настоящего изобретения магнитный привод может быть выполнен из двух, по существу, одинаковых элементов, при этом каждый элемент имеет свое собственное средство управления и таким образом способен управлять соответствующим одним из подвижных элементов индивидуально. В альтернативных вариантах магнитный привод может состоять из элемента, в котором магнитный поток проходит в оба подвижных элемента одновременно через ферромагнитное ярмо и полюсные наконечники. В других альтернативных вариантах магнитный привод может состоять из одного элемента, при этом ферромагнитное ярмо выполняется в двух частях со смонтированными на них полюсными наконечниками, при этом приводные катушки устанавливаются на ярме между двумя подвижными элементами.
Наконец, как было описано выше со ссылкой на фиг.6A и 6B в вариантах настоящего изобретения, второй корпус, содержащий секцию привода, может иметь дополнительную катушку и средства детектирования, при этом переменное магнитное поле накладывается на катушку привода, которая создает напряжение в дополнительной катушке, измеряемое и вычисляемое средством детектирования, при этом индуцируемое напряжение в дополнительной катушке зависит от положения подвижных элементов в корпусе насосной секции, и при этом средство детектирования может определять положение подвижных элементов и, таким образом, состояние и функцию насоса.
В то время как в описанных вариантах первый подвижный элемент закрывает выпускное отверстие, когда он находится в первой позиции, в альтернативных вариантах выпускное отверстие может быть не полностью закрыто, когда первый подвижный элемент находится в первой позиции, при этом все еще может быть получен результирующий эффект насоса. Кроме описанных магнитных приводов в альтернативных вариантах могут быть использованы другие приводы для подвижных элементов, такие как электростатические приводы или пневматические приводы.
Формула изобретения
1. Насосная секция (10-150), содержащая корпус (14, 14а, 14с, 80, 152) насосной секции, ограничивающий насосную камеру (18, 82, 154); впуск (20, 84, 156) в насосную камеру; выпуск (22, 86, 158) из насосной камеры; первый подвижный элемент (24, 24а, 24b, 24с, 88, 160), перемещаемый в насосной камере между первой и второй позицией, в котором во время перемещения первого подвижного элемента в направлении от первой ко второй позиции поточное сопротивление пути потока от первого подвижного элемента через впуск больше, чем поточное сопротивление пути потока (46, 46а, 46b, 46с) между корпусом насосной секции и первым подвижным элементом, и в котором во время перемещения первого подвижного элемента в направлении от второй позиции к первой позиции поточное сопротивление пути потока от первого подвижного элемента через выпуск меньше, чем поточное сопротивление пути потока между корпусом насосной секции и первым подвижным элементом, так, что результирующий поток через выпуск имеет место во время возвратно-поступательного перемещения первого подвижного элемента между первой и второй позициями, отличающаяся тем, что первый подвижный элемент (24, 24а, 24b, 24с, 88, 160) закрывает выпуск, когда он находится в первой позиции.
2. Насосная секция по п.1, имеющая второй подвижный элемент (26, 80, 162), посредством которого поточное сопротивление пути потока от первого подвижного элемента (24, 24а, 24b, 24с, 88, 160) через впуск (20, 84, 156) может быть изменено.
3. Насосная секция по п.2, в которой корпус (14, 80) насосной камеры определяет путь перемещения второго подвижного элемента (26, 80) из третьей позиции к четвертой позиции, в которой, когда второй подвижный элемент находится в третьей позиции, поточное сопротивление пути потока от первого подвижного элемента через впуск меньше, чем когда второй подвижный элемент находится в четвертой позиции.
4. Насосная секция по п.1, в которой поточное сопротивление пути (46b, 46с) потока между корпусом (14b, 14с) насосной секции и первым подвижным элементом (24b, 24с) во время перемещения первого подвижного элемента в направлении от первой ко второй позиции меньше, чем во время перемещения первого подвижного элемента от второй позиции к первой позиции.
5. Насосная секция по п.4, в которой первый подвижный элемент (24с) имеет первую позицию и вторую позицию, в которой поточное сопротивление пути потока между корпусом (14с) насосной секции и первым подвижным элементом (24с) в первой позиции меньше, чем во второй позиции.
6. Насосная секция по п.4, в которой первый подвижный элемент (24b) имеет гибкое уплотнение (50), которое обеспечивает первую гибкость во время перемещения из первой позиции ко второй позиции и вторую гибкость во время перемещения от второй позиции к первой позиции, которая ниже первой гибкости.
7. Насосная секция (10, 150), содержащая корпус (14, 14а, 14b, 14с, 80, 152) насосной секции, ограничивающий насосную камеру (18, 82, 154), имеющий впуск (20, 84, 156) и выпуск (22, 86, 158); первый подвижный элемент (24, 24а, 24b, 24с, 88, 160), выполненный с возможностью перемещения в насосной камере между первой позицией и второй позицией, в котором выпуск закрыт, когда первый подвижный элемент находится в первой позиции, отличающаяся тем, что дополнительно содержит второй подвижный элемент (26, 80, 162), выполненный с возможностью перемещения в насосной камере между третьей и четвертой позициями; первую пружину (28, 92, 164), смещающую первый подвижный элемент в первую позицию; вторую пружину (30, 94, 166), смещающую второй подвижный элемент в третью позицию; при этом результирующий поток через выпуск имеет место во время возвратно-поступательного перемещения первого подвижного элемента между первой и второй позицией, а второго подвижного элемента между третьей и четвертой позицией.
8. Насосная секция по п.7, в которой первая и вторая пружины (164, 166) расположены между первым и вторым подвижными элементами (160, 162), а пружинный ограничитель (168) расположен между первой и второй пружинами, в которой впуск (156) закрыт, когда второй подвижный элемент (162) находится в третьей позиции, и в которой впуск (156) открыт, когда второй подвижный элемент (162) находится в четвертой позиции.
9. Насос, имеющий насосную секцию (10, 150) по п.1 и секцию (12, 12а, 102а, 102b, 120, 140) привода, которая предусмотрена для перемещения первого подвижного элемента из первой во вторую позицию и/или перемещения второго подвижного элемента из третьей в четвертую позицию.
10. Насос по п.9, в котором секция (12, 12а, 102а, 102b, 120, 140) привода и насосная секция (10, 150) структурированы раздельно и могут быть соединены друг с другом с возможностью разъединения, в котором секция (12, 12а, 102а, 102b, 120, 140) привода и насосная секция (10, 150) выполнены так, что в течение работы насосом секция привода не контактирует с перекачиваемой жидкостью.
11. Насос по п.9, в котором секция (12, 12а, 102а, 102b, 120, 140) привода содержит устройство генерации магнитного поля, посредством которого первый подвижный элемент (24, 24а, 24b, 24с, 88, 160) перемещается во вторую позицию и/или второй подвижный элемент перемещается в четвертую позицию, и в котором первый и/или второй подвижный элемент имеет ферромагнитный, мягкий магнитный материал или материал с постоянными магнитными свойствами.
12. Насос по п.11, в котором устройство генерации магнитного поля содержит первое устройство (106а) генерации магнитного поля, посредством которого первый подвижный элемент (88) перемещается во вторую позицию, и второе устройство (106b) генерации магнитного поля, посредством которого второй подвижный элемент (90) перемещается в четвертую позицию, причем первое и второе устройства генерации магнитного поля могут управляться раздельно.
13. Насос по п.9, дополнительно содержащий устройство (70, 72, 108, 108а, 108b) детектирования положения первого и/или второго подвижного элемента.
14. Способ регулирования скорости опорожнения насоса по одному из пп.9-13, содержащий, по меньшей мере, один из следующих этапов: регулирование частоты, при которой первый и, если присутствует, второй подвижный элемент движутся назад и вперед; регулирование шага перемещения первого подвижного элемента между первой и второй позициями; регулирование поточного сопротивления пути потока между первым подвижным элементом и корпусом насосной камеры; и изменение смещения пружины, смещающей первый подвижный элемент к первой позиции, и/или смещения пружины, смещающей второй подвижный элемент к третьей позиции.
15. Способ управления насосом по одному из пп.9-13, в котором во время возвратно-поступательного перемещения подвижного элемента заданное количество жидкости выталкивается через выпуск, в котором число возвратно-поступательных перемещений первого подвижного элемента подсчитывают для выдачи заданной величины дозировки через выпуск.
РИСУНКИ
|
|