|
|
(21), (22) Заявка: 2007142519/06, 19.11.2007
(24) Дата начала отсчета срока действия патента:
19.11.2007
(30) Конвенционный приоритет:
27.11.2006 JP 2006-318639
(43) Дата публикации заявки: 27.05.2009
(46) Опубликовано: 20.08.2010
(56) Список документов, цитированных в отчете о поиске:
ЕР 1380742 А1, 14.01.2004. ЕР 1515013 А2, 16.03.2005. ЕР 1512847 А1, 09.03.2005. RU 2247251 C2, 27.11.2003. SU 1437540 A1, 15.11.1988.
Адрес для переписки:
125009, Москва, а/я 332, ЗАО “Инэврика”, пат.пов. С.О. Шолоховой, рег. 720
|
(72) Автор(ы):
ОЦУБО Ясухико (JP), КАТАЯМА Масанобу (JP), ЙОКОИ Тацухиса (JP)
(73) Патентообладатель(и):
ТОЙОТА ДЗИДОСЯ КАБУСИКИ КАЙСЯ (JP)
|
(54) СИСТЕМА ОЧИСТКИ ВЫХЛОПНЫХ ГАЗОВ ДЛЯ ДВИГАТЕЛЯ ВНУТРЕННЕГО СГОРАНИЯ
(57) Реферат:
Изобретение относится к двигателестроению. Система очистки содержит фильтр (13) для улавливания твердых частиц и каталитический нейтрализатор (11, 12). Система скомпонована таким образом, что при переходе на область работы двигателя, в которой количество (GA) всасываемого воздуха меньше (область малого количества всасываемого воздуха) во время подвпрыска, количество топлива, впрыскиваемого во время подвпрыска, уменьшается, вследствие чего уменьшается количество топлива, которое прилипает к внутренней стенке цилиндра, что ограничивает разжижение топливом масла, предназначенного для смазки двигателя (1) внутреннего сгорания. Подвпрыск не прекращается, а только уменьшается объем подвпрыска. Следовательно, в условиях, когда происходят частые переходы области работы двигателя с области малого количества всасываемого воздуха на другую область (область большого количества всасываемого воздуха) и наоборот во время регенерации фильтра, температура фильтра существенно не понижается при переходе на область малого количества всасываемого воздуха. Далее при последующем переходе на область большого количества всасываемого воздуха не требуется много времени для повышения температуры фильтра до значения, требуемого для сжигания твердых частиц. Такое выполнение позволяет уменьшить время регенерации фильтра. 6 з.п. ф-лы, 9 ил.
Предпосылки создания изобретения
1. Область техники, к которой относится изобретение
[0001] Настоящее изобретение относится к системе очистки выхлопных газов для двигателя внутреннего сгорания.
2. Описание уровня техники
[0002] Некоторые известные системы очистки выхлопных газов для двигателей внутреннего сгорания, таких как дизельные двигатели для автомобилей, в системе выпуска выхлопных газов снабжены фильтром для улавливания твердых частиц, включающих в качестве основного компонента сажу. В таких системах очистки выхлопных газов твердые частицы отлагаются на фильтре, вызывая забивание фильтра, вследствие чего может ухудшиться способность фильтра улавливать твердые частицы или может снизиться выходная мощность двигателя. Поэтому фильтр регенерируется посредством сжигания твердых частиц, отложившихся на фильтре, для устранения забивания фильтра.
[0003] В публикации японской заявки на патент 2004-44403 (JP-A-2004-44403), например, фильтр регенерируется следующим образом. Когда количество отложившихся твердых частиц на фильтре достигает максимально допустимого значения, осуществляется подвпрыск, то есть после осуществления основного впрыска топлива для подачи компонента топлива на каталитический нейтрализатор в системе выпуска выхлопных газов впрыскивается топливо от клапана впрыска топлива, то есть для обеспечения работы двигателя в камеру сгорания впрыскивается топливо от клапана впрыска топлива. В то время как компонент топлива подается на 1 каталитический нейтрализатор в системе выпуска выхлопных газов посредством осуществления подвпрыска, такие компоненты, как углеводород (НС) и окись углерода (СО), окисляются в выхлопных газах или на каталитическом нейтрализаторе. В результате этой окислительной реакции выделяется тепло, и, таким образом, фильтр подвергается воздействию высокотемпературной среды (смотри, например, абзацы [0024]-[0026] и фиг.4.) Таким образом, твердые частицы, отложившиеся на фильтре, сжигаются с целью их удаления, и таким образом устраняется забивание фильтра.
[0004] Такая регенерация фильтра прекращается посредством прекращения подвпрыска от клапана впрыска топлива и может прекращаться, когда количество отложившихся на фильтре твердых частиц определяется, например, как практически нулевое.
[0005] Некоторое количество топлива, впрыснутого в камеру сгорания посредством осуществления подвпрыска, не подается в систему выпуска выхлопных газов, а прилипает к внутренней стенке цилиндра. Количество топлива, которое прилипает к внутренней стенке цилиндра, имеет тенденцию, к уменьшению в области работы двигателя, в которой количество всасываемого воздуха больше, и имеет тенденцию к увеличению с уменьшением количества всасываемого воздуха в области работы двигателя, в которой количество всасываемого воздуха меньше. Это происходит потому, что, поскольку количество воздуха, всасываемого в двигатель внутреннего сгорания, меньше, температура газа в камере сгорания ниже, что облегчает прилипание топлива, впрыснутого в камеру сгорания посредством осуществления подвпрыска, к внутренней стенке цилиндра.
[0006] Когда топливо прилипает к внутренней стенке цилиндра, оно стекает через зазор между внутренней стенкой цилиндра и поршневым кольцом в поддон картера во время возвратно-поступательного хода поршня. В результате этого топливо смешивается с маслом, служащим для смазки двигателя внутреннего сгорания и тому подобного, и топливо, имеющее более низкую вязкость, разжижает масло. Таким образом, количество топлива, которое прилипает к внутренней стенке цилиндра, больше, то есть в области работы двигателя, в которой количество высасываемого воздуха меньше, такое разжижение масла топливом заметно снижает вязкость масла, что может помешать произвести достаточную смазку маслом различных деталей двигателя.
[0007] Следовательно, в методике, раскрытой в JP-A-2004-44403, регенерация фильтра не производится в области, в которой двигатель внутреннего сгорания работает под меньшими нагрузками и с меньшим числом оборотов, иными словами, в области работы двигателя, в которой количество всасываемого воздуха меньше. В этом случае предотвращается возможность того, чтобы большое количество топлива, впрыснутого посредством осуществления подвпрыска, прилипло к внутренней стенке цилиндра и, следовательно, чтобы масло, предназначенное для двигателя внутреннего сгорания, было разжижено топливом и вязкость масла была снижена в области работы двигателя, в которой количество всасываемого воздуха меньше. Следовательно, двигатель внутреннего сгорания может быть смазан маслом в достаточной степени.
[0008] Воздержание от осуществления регенерации фильтра в рабочем состоянии двигателя, в котором количество всасываемого воздуха меньше (как описано выше), приводит, однако, к тому, что выполнение регенерации фильтра занимает больше времени в условиях, когда во время регенерации фильтра происходят частые переходы области работы двигателя с области, в которой количество всасываемого воздуха больше, на область, в которой количество всасываемого воздуха меньше, и наоборот.
[0009] В таких условиях для выполнения регенерации фильтра представляется возможным удалить твердые частицы, отложившиеся на фильтре, следующим образом. Подвпрыск прекращается для прерывания регенерации фильтра при переходе на область работы двигателя, в которой количество всасываемого воздуха меньше, и затем начинается снова для возобновления регенерации фильтра при переходе на область работы двигателя, в которой количество всасываемого воздуха больше. Подвпрыск повторно начинается и прекращается до тех пор, пока количество отложившихся твердых частиц на фильтре не станет практически нулевым, и регенерация фильтра прекращается, когда количество отложившихся твердых частиц определяется как практически нулевое.
[0010] Регенерирование фильтра таким образом предотвращает прилипание топлива к внутренней стенке цилиндра в области работы двигателя, в которой количество всасываемого воздуха меньше, и, таким образом, предотвращает разжижение масла, предназначенного для смазки двигателя внутреннего сгорания, топливом, которое иначе бы прилипло. При переходе на диапазон работы двигателя, в котором количество всасываемого воздуха меньше, температура фильтра, однако, существенно понижается, когда подвпрыск прекращается для прерывания регенерации фильтра, так как компонент топлива больше не подается на каталитический нейтрализатор посредством осуществления подвпрыска. Следовательно, при последующем переходе с области работы двигателя, в которой количество всасываемого воздуха меньше, на область работы двигателя, в которой количество всасываемого воздуха больше, когда подвпрыск начинается снова и регенерация фильтра возобновляется, повышение температуры фильтра до значения, требуемого для уменьшения количества отложившихся на фильтре твердых частиц, занимает больше времени. Вследствие этого требуется больше времени для уменьшения количества отложившихся на фильтре твердых частиц практически до нулевого значения, что задерживает прекращение регенерации фильтра.
СУЩНОСТЬ ИЗОБРЕТЕНИЯ
[0011] Настоящее изобретение предоставляет систему очистки выхлопных газов для двигателя внутреннего сгорания, в которой ограничивается разжижение масла топливом и уменьшается задержка выполнения регенерации фильтра.
[0012] В соответствии с первым аспектом настоящего изобретения система очистки выхлопных газов для двигателя внутреннего сгорания включает фильтр, предусмотренный в системе выпуска выхлопных газов для улавливания твердых частиц, содержащихся в выхлопных газах. Система очистки производит регенерацию фильтра посредством осуществления подвпрыска, который является впрыском топлива от клапана впрыска топлива, выполненным после впрыска топлива от клапана впрыска топлива в камеру сгорания для обеспечения работы двигателя, с целью подачи компонента топлива на каталитический нейтрализатор, предусмотренный в системе выпуска выхлопных газов, и сжигания твердых частиц, отложившихся на фильтре, с целью удаления твердых частиц, используя теплоту окисления компонента топлива на каталитическом нейтрализаторе для повышения температуры фильтра. Кроме того, система очистки выхлопных газов для двигателя внутреннего сгорания включает средство коррекции, предназначенное для уменьшения объема подвпрыска при осуществлении подвпрыска, когда количество воздуха, всасываемого в двигатель внутреннего сгорания, меньше заданного значения во время регенерации фильтра.
[0013] При использовании данной конструкции при переходе на область работы двигателя, в которой количество всасываемого воздуха меньше во время регенерации фильтра, объем подвпрыска уменьшается с целью уменьшения количества топлива, прилипающего к внутренней стенке цилиндра, и, следовательно, уменьшается разжижение масла, предназначенного для смазки двигателя внутреннего сгорания, прилипшим топливом. Кроме того, при переходе на область работы двигателя, в которой количество всасываемого воздуха меньше во время регенерации фильтра, подвпрыск не прекращается, а только уменьшается объем подвпрыска и, следовательно, ограничивается существенное понижение температуры фильтра. Следовательно, в условиях, когда во время регенерации фильтра происходят частые переходы области работы двигателя, в которой количество всасываемого воздуха больше, на область, в которой количество всасываемого воздуха меньше, и наоборот, температура фильтра существенно не понижается при переходе на область работы двигателя, в которой количество всасываемого воздуха меньше. Далее, при последующем переходе на область работы двигателя, в которой количество всасываемого воздуха больше, не требуется времени для повышения температуры фильтра до значения, требуемого для уменьшения количества отложившихся твердых частиц. Таким образом, не требуется много времени для уменьшения количества отложившихся на фильтре твердых частиц практически до нулевого посредством осуществления регенерации фильтра в условиях, описанных выше, и задержка окончания регенерации фильтра уменьшается.
[0014] Значение коррекции по сигналам обратной связи, при котором корректируется объем подвпрыска для приведения температуры фильтра к заданной температуре, может увеличиваться и уменьшаться во время регенерации фильтра, и средство коррекции может уменьшать объем подвпрыска посредством понижения заданной температуры.
[0015] При использовании данной конструкции объем подвпрыска во время регенерации фильтра корректируется с использованием значения коррекции по сигналам обратной связи, которое увеличивается или уменьшается так, чтобы привести температуру фильтра к заданной температуре. В области работы двигателя, в которой количество всасываемого воздуха меньше, температура выхлопных газов двигателя внутреннего сгорания ниже и, следовательно, труднее повысить температуру фильтра посредством подвпрыска. Следовательно, когда заданная температура устанавливается на большее значение, устанавливается большее значение коррекции по сигналам обратной связи на основании разности между заданной температурой и температурой фильтра, которая находится на стороне понижения. Если объем подвпрыска увеличивается на величину, соответствующую значению коррекции, это увеличение, однако, не способствует повышению температуры фильтра, и значение коррекции по сигналам обратной связи остается большим. Однако в области работы двигателя, в которой количество всасываемого воздуха меньше, заданная температура уменьшается по сравнению с заданной температурой в другой области и увеличение значения коррекции по сигналам обратной связи ограничивается, что не позволяет значению коррекции оставаться большим.
[0016] Средство коррекции может корректировать заданную температуру на поправку на понижение, и, когда количество воздуха, всасываемого в двигатель внутреннего сгорания, меньше заданного значения, средство коррекции может установить поправку на понижение на постоянное значение, которое понижает заданную температуру.
[0017] При переходе на область работы двигателя, в которой количество всасываемого воздуха меньше во время регенерации фильтра, понижение заданной температуры достигается посредством корректирования заданной температуры на величину, соответствующую поправке на понижение. Установка поправки на понижение на постоянное значение облегчает понижение заданной температуры посредством уменьшения поправки на понижение и тому подобного.
[0018] Средство коррекции может корректировать заданную температуру на поправку на понижение, и, когда количество воздуха, всасываемого в двигатель внутреннего сгорания, меньше заданного значения, средство коррекции может переменно установить поправку на понижение на такое значение, при котором заданная температура будет понижаться с уменьшением количества всасываемого воздуха.
[0019] При использовании данной конструкции при переходе на область работы двигателя, в которой количество всасываемого воздуха меньше во время регенерации фильтра, понижение заданной температуры достигается посредством корректирования заданной температуры на величину, соответствующую поправке на понижение. Поправка на понижение переменно устанавливается на такое значение, при котором заданная температура понижается с уменьшением количества всасываемого воздуха. Поскольку температура выхлопных газов двигателя внутреннего сгорания становится ниже, когда количество всасываемого воздуха становится больше, значение заданной температуры, при котором может поддерживаться температура фильтра, становится меньше с уменьшением количества всасываемого воздуха. Кроме того, поскольку температура газа в камере сгорания ниже, когда количество всасываемого воздуха меньше, количество топлива, впрыснутого посредством осуществления подвпрыска, которое прилипает к внутренней стенке цилиндра, больше, когда количество всасываемого воздуха меньше. Таким образом, при понижении заданной температуры переменная установка поправки на понижение, как указано выше, может как предотвратить понижение температуры фильтра, так и ограничить прилипание топлива к внутренней стенке цилиндра в предпочтительном состоянии.
КРАТКОЕ ОПИСАНИЕ ЧЕРТЕЖЕЙ
[0020] Вышеупомянутые и другие цели, характерные особенности и преимущества изобретения станут очевидными из следующего описания предпочтительных примеров осуществления изобретения со ссылкой на прилагаемые чертежи, в которых одинаковые цифры используются для обозначения одинаковых элементов, и в которых:
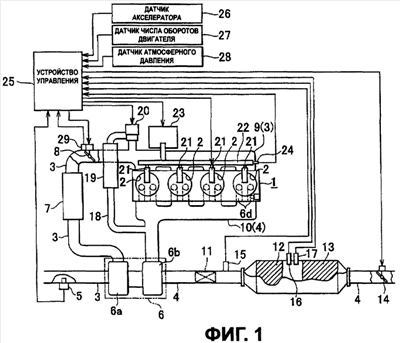
на фиг.1 представлена схема, на которой схематически показаны двигатель внутреннего сгорания, к которому применима система очистки выхлопных газов согласно данному примеру осуществления изобретения, и смежное оборудование;
на фиг.2 представлена блок-схема, на которой показаны операции для вычисления объема подвпрыска;
на фиг.3 представлен график, отображающий изменения степени разжижения масла топливом по отношению к изменениям количества всасываемого воздуха;
на фиг.4 представлена временная диаграмма, на которой показано изменение температуры фильтра и количества отложившихся твердых частиц во время регенерации фильтра;
на фиг.5 представлена временная диаграмма, на которой показано изменение температуры фильтра и количества отложившихся твердых частиц во время регенерации фильтра;
на фиг.6 представлен график, отображающий изменения степени разжижения масла топливом по отношению к изменениям заданной температуры фильтра;
на фиг.7 представлена временная диаграмма для пояснения зависимости между понижением заданной температуры и величиной значения коррекции по сигналам обратной связи;
на фиг.8 представлена блок-схема, на которой показаны операции для установки заданной температуры; и
на фиг.9 представлен график, на котором показаны изменения поправки на понижение в зависимости от изменения количества всасываемого воздуха.
ПОДРОБНОЕ ОПИСАНИЕ ПРИМЕРОВ ОСУЩЕСТВЛЕНИЯ ИЗОБРЕТЕНИЯ
[0021] Пример осуществления настоящего изобретения будет далее описан со ссылками на фиг.1-9. На фиг.1 показана конструкция двигателя 1 внутреннего сгорания, к которой применима система очистки выхлопных газов данного примера осуществления изобретения. Двигатель 1 внутреннего сгорания представляет собой дизельный двигатель, включающий систему впрыска топлива с общим нагнетательным трубопроводом и турбонагнетателем.
[0022] Впускной канал 3 и выпускной канал 4 подсоединены к каждой камере 2 сгорания двигателя 1 внутреннего сгорания. Расходомер 5 воздуха, компрессор 6а турбонагнетателя 6, промежуточный охладитель 7 и впускной дроссельный клапан 8 расположены во впускном канале 3 в указанном порядке от впускной стороны до выпускной стороны. Впускной канал 3 для подсоединения к каждому цилиндру ответвляется у впускного коллектора 9, который предусмотрен за впускным дроссельным клапаном 8.
[0023] С другой стороны, отводы выпускного канала 4, которые подсоединены к камере 2 сгорания каждого цилиндра, собраны у выпускного коллектора 10, и на выпускной стороне которого выпускной канал 4 подсоединен к турбине 6b выхлопа турбонагнетателя 6. Первый каталитический нейтрализатор 11, второй каталитический нейтрализатор 12, фильтр 13 и выпускной дроссельный клапан 14 расположены в части выпускного канала 4 после турбины 6b выхлопа в указанном порядке, начиная от впускной стороны. Первый каталитический нейтрализатор 11 и второй каталитический нейтрализатор 12 очищают выхлопной газ посредством окисления углеводорода (НС) и окиси углерода (СО), содержащихся в выхлопном газе. Фильтр 13 выполнен из пористого материала и улавливает твердые частицы, содержащиеся в выхлопном газе и которые содержат сажу в качестве основного компонента.
[0024] Первый датчик 15 температуры выхлопа, предназначенный для определения температуры выхлопных газов, протекающих во второй каталитический нейтрализатор 12, и второй датчик 16 температуры выхлопа, предназначенный для определения температуры выхлопных газов, протекающего в фильтр 13, расположены соответственно в частях выпускного канала 4 перед вторым каталитическим нейтрализатором 12 и за ним. Кроме того, датчик 17 давления, предназначенный для определения давления в части выпускного канала 4 перед фильтром 13, расположен в части выпускного канала 4 между вторым каталитическим нейтрализатором 12 и фильтром 13.
[0025] Двигатель 1 внутреннего сгорания также снабжен системой рециркуляции выхлопных газов (далее именуемой “EGR” – exhaust gas recirculation), предназначенной для рециркуляции части выхлопного газа для воздуха, протекающего по впускному каналу 3. Система рециркуляции выхлопных газов (“EGR”) включает канал 18 рециркуляции выхлопных газов (“EGR”), предназначенный для соединения выпускного канала 4 и впускного канала 3. Самая верхняя по потоку часть канала 18 рециркуляции выхлопных газов (“EGR”) подсоединена к части выпускного канала 4, расположенной перед выпускной турбиной 6Ь. Охладитель 19 рециркуляции выхлопных газов (“EGR”), предназначенный для охлаждения рециркулированного выхлопного газа, и клапан 20 рециркуляции выхлопных газов (“EGR”), предназначенный для регулирования скорости потока выхлопного газа, расположены в канале 18 рециркуляции выхлопных газов (“EGR”) в указанном порядке с впускной стороны. Самая нижняя по потоку часть канала 18 рециркуляции выхлопных газов (“EGR”) подсоединена к части впускного канала 3, расположенной за впускным дроссельным клапаном 8.
[0026] Клапан 21 впрыска топлива расположен в камере 2 сгорания каждого цилиндра двигателя 1 внутреннего сгорания для впрыска топлива, предназначенного для сжигания, в камеру 2 сгорания. Клапан 21 впрыска топлива каждого цилиндра подсоединен к общему нагнетательному трубопроводу 22, в который топливо, находящееся под высоким давлением, подается насосом 23 высокого давления. Давление топлива, находящегося под высоким давлением, в общем нагнетательном трубопроводе 22 определяется датчиком 24 давления трубопровода, установленным на общем нагнетательном трубопроводе 22.
[0027] Устройство 25 управления осуществляет различные операции управления для двигателя 1 внутреннего сгорания. Устройство 25 управления включает центральный процессор (CPU – central processing unit), предназначенный для осуществления различных процессов, связанных с управлением двигателем; постоянное запоминающее устройство (ROM read-only memory), предназначенное для хранения программ и данных, требующихся для такого управления; оперативную память (RAM – random-access memory), предназначенную для временного хранения результатов обработки центральным процессором (CPU) и так далее; и порты ввода и вывода, предназначенные для приема и передачи сигналов от внешних устройств и на внешние устройства.
[0028] Порты ввода устройства 25 управления подсоединены, в дополнение к различным датчикам, указанным выше, еще и к датчику 26 акселератора, предназначенному для определения объема работы акселератора; датчику 27 числа оборотов двигателя, предназначенному для определения числа оборотов двигателя; датчику 28 атмосферного давления, предназначенному для определения атмосферного давления; датчику 29 дроссельного клапана, предназначенному для определения проходного отверстия впускного дроссельного клапана 8, и так далее. Кроме того, порты вывода устройства 25 управления подсоединены к цепям управления для впускного дроссельного клапана 8, выпускного дроссельного клапана 14, клапана 20 рециркуляции выхлопных газов (“EGR”), клапана 21 впрыска топлива, насоса 23 высокого давления и так далее.
[0029] Устройство 25 управления выдает командный сигнал на цепи управления, предназначенные для различных устройств, подсоединенных к портам вывода, в ответ на состояние работы двигателя, известное из сигнала определения, поступающего от различных датчиков. Таким образом, устройство 25 управления выполняет различные операции управления, включая управление открытием для впускного дроссельного клапана 8, управление открытием для выпускного дроссельного клапана 14, управление рециркуляцией выхлопных газов (“EGR”) на основании управления открытием клапана 20 рециркуляции выхлопных газов (“EGR”), управление впрыском топлива для клапана 21 впрыска топлива, управление давлением на выходе для насоса 23 высокого давления и так далее.
[0030] В двигателе 1 внутреннего сгорания данного примера осуществления изобретения, скомпонованном, как описано выше, твердые частицы, отложившиеся на фильтре 13, сжигаются с целью регенерации фильтра 13 с тем, чтобы предотвратить забивание фильтра 13 твердыми частицами. Для выполнения регенерации фильтра необходимо нагреть фильтр в достаточной степени. С этой целью компонент топлива подается на первый каталитический нейтрализатор 11 и второй каталитический нейтрализатор 12 для повышения температуры фильтра 13 до значения, требуемого для сжигания твердых частиц (например, 600-700°С) для регенерации фильтра.
[0031] Регенерация фильтра начинается, когда количество отложившихся твердых частиц на фильтре 13 достигает максимально допустимого или большего значения, когда регенерация фильтра не выполняется. Количество отложившихся твердых частиц подсчитывается по сигналу определения от датчика 17 давления. Это происходит ввиду того, что по мере увеличения количества отложившихся твердых частиц давление, определяемое датчиком 17 давления, также повышается. После начала регенерации фильтра компонент топлива подается на первый каталитический нейтрализатор 11 и второй каталитический нейтрализатор 12, вследствие чего температура фильтра 13 повышается за счет тепла окисления, выделяемого в результате окисления топлива на каталитических нейтрализаторах 11 и 12, до значения, требуемого для сжигания твердых частиц.
[0032] В частности, после выполнения основного впрыска топлива или впрыска топлива от клапана 21 впрыска топлива в камеру 2 сгорания для обеспечения работы двигателя осуществляется подвпрыск или впрыск топлива от клапана 21 впрыска топлива для подачи компонента топлива на первый каталитический нейтрализатор 11 и второй каталитический нейтрализатор 12. Подвпрыск осуществляется посредством управления приводом клапана 21 впрыска топлива таким образом, что объем подвпрыска и топлива, который вычисляется по состоянию работы двигателя, впрыскивается от клапана 21 впрыска топлива после основного впрыска топлива.
[0033] Топливо, впрыснутое от клапана 21 впрыска топлива в процессе подвпрыска, подается в выпускной канал 4 с тем, чтобы оно достигло первого каталитического нейтрализатора 11. Когда компонент топлива достигает первого каталитического нейтрализатора 11, компоненты выхлопных газов, такие как углеводород (НС) и окись углерода (СО), окисляются в выхлопном газе или на каталитическом нейтрализаторе. В результате этой реакции окисления выделяется тепло, которое вызывает повышение температуры выхлопных газов. Повышение температуры выхлопных газов в свою очередь вызывает повышение температуры второго каталитического нейтрализатора 12, что способствует активации второго каталитического нейтрализатора 12. Если компонент топлива, который прошел через первый каталитический нейтрализатор 11, но не окислился в нем, достигает второго каталитического нейтрализатора 12, то этот компонент топлива окисляется во втором каталитическом нейтрализаторе 12, который также выделяет тепло, что вызывает повышение температуры выхлопных газов. По мере того как выхлопной газ, имеющий температуру, повышенную, как указано выше, протекает через фильтр 13, температура фильтра 13 повышается до значения, при котором могут сжигаться твердые частицы.
[0034] После выполнения регенерации фильтра, как описано выше, твердые частицы, отложившиеся на фильтре 13, сжигаются с целью уменьшения количества отложившихся твердых частиц на фильтре 13. Количество отложившихся твердых частиц на фильтре 13 после начала регенерации фильтра или, иначе говоря, количество отложившихся твердых частиц после выполнения регенерации фильтра, как описано выше, во время регенерации фильтра подсчитывается с помощью следующего уравнения (1):

где PMsm (с левой стороны) – количество отложившихся твердых частиц во время регенерации фильтра;
PMsm (с правой стороны) – количество отложившихся твердых частиц в начале регенерации фильтра;
РМе – количество выделенных твердых частиц;
PMc – количество окисленных твердых частиц.
[0035] Количество РМе выделенных твердых частиц в выражении (1) означает количество твердых частиц, выделенных из двигателя 1 внутреннего сгорания в выпускной канал 4, и вычисляется по числу NE оборотов двигателя и нагрузке двигателя со ссылкой на диаграмму, заранее подготовленную экспериментально или иначе. Нагрузка двигателя, используемая в данном примере, является количеством Qfin впрыснутого топлива от клапана 21 впрыска топлива во время основного впрыска топлива. Количество PMc окисленных твердых частиц в выражении (1) означает количество сожженных твердых частиц, отложившихся на фильтре 13, и определяется по температуре Tf фильтра и количеству GA всасываемого воздуха со ссылкой на диаграмму, заранее подготовленную экспериментально или иным способом. Температура Tf фильтра, используемая в данном примере, определяется по сигналу определения от второго датчика 16 температуры выхлопа, а количество всасываемого воздуха определяется по сигналу определения от расходомера 5 воздуха.
[0036] Когда количество твердых частиц, отложившихся во время регенерации фильтра, которое подсчитано с помощью уравнения (1), существенно уменьшается посредством осуществления регенерации фильтра, например, уменьшается до значения, которое может быть определено как практически нулевое, устанавливается, что регенерация фильтра завершилась с целью остановки подвпрыска. В результате прекращения подвпрыска таким образом прекращается регенерация фильтра.
[0037] Далее будут описаны операции, выполняемые для вычисления объема Qp подвпрыска для использования при подвпрыске для регенерации фильтра со ссылкой на блок-схему, приведенную на фиг.2, которая иллюстрирует последовательность вычисления объема подвпрыска. Последовательность вычисления объема подвпрыска периодически выполняется устройством 25 управления, например, посредством прерывания в заданные интервалы времени.
[0038] В данной последовательности вычисляется (S101) объем Qpb основного впрыска, вычисляется (S102) значение Н коррекции по сигналам обратной связи и вычисляется (S103) объем Qp подвпрыска по объему Qpb основного впрыска и значению Н коррекции по сигналам обратной связи с помощью следующего уравнения (2):

где Qp – объем подвпрыска;
Qpb – объем основного впрыска и
Н – значение коррекции по сигналам обратной связи.
[0039] Объем Qpb основного впрыска является основным значением объема Qp подвпрыска и вычисляется на шаге S101 по объему Qfin впрыска топлива и числу NE оборотов двигателя. Объем Qpb основного впрыска, вычисленный таким образом, тем меньше, чем больше объем Qpb впрыска топлива при условии, что число NE оборотов двигателя постоянно. Это происходит потому, что по мере увеличения объема Qfin впрыска топлива повышается температура двигателя 1 внутреннего сгорания, и, таким образом, температура Tf фильтра может быть повышена посредством осуществления подвпрыска в меньшем объеме. В общих чертах, объем Qpb основного впрыска, вычисленный, как описано выше, имеет тенденцию к увеличению с увеличением числа NE оборотов двигателя. Это происходит потому, что по мере увеличения числа NE оборотов двигателя время, в течение которого выхлопной газ проходит через фильтр 13, или, иными словами, время, в течение которого тепло передается от выхлопного газа фильтру 13, сокращается, что затрудняет повышение температуры Tf фильтра.
[0040] Значение Н коррекции по сигналам обратной связи предназначено для коррекции температуры Tf фильтра до заданной температуры Tt посредством увеличения или уменьшения объема подвпрыска и вычисляется на шаге S102 по разности между температурой Tf фильтра и заданной температурой Tt в сторону увеличения или уменьшения. Более конкретно, значение Н коррекции по сигналам обратной связи увеличивается с увеличением разности между температурой Tf фильтра и заданной температурой Tt, когда температура Tf фильтра выше заданной температуры Tt, и увеличивается по мере увеличения разности между температурой Tf фильтра и заданной температурой Tt, когда температура Tf фильтра ниже заданной температуры Tt. Заданная температура Tt устанавливается на значение, при котором твердые частицы, отложившиеся на фильтре 13, могут быть сожжены для уменьшения количества твердых частиц, отложившихся на фильтре 13.
[0041] Во время подвпрыска, осуществляемого для регенерации фильтра, некоторое количество топлива, впрыскиваемого в камеру сгорания 2, не подается в выходной канал 4, а прилипает к внутренней стенке цилиндра. Когда топливо прилипает к внутренней стенке цилиндра двигателя внутреннего сгорания 1, топливо стекает через зазор между внутренней стенкой цилиндра и поршневым кольцом в поддон картера во время возвратно-поступательного хода поршня в двигателе внутреннего сгорания 1. В результате этого топливо смешивается с маслом, предназначенным для смазки двигателя внутреннего сгорания 1 и тому подобным, и топливо, имеющее более низкую вязкость, разжижает масло.
[0042] На степень разжижения масла топливом вследствие подвпрыска оказывает влияние количество GA всасываемого воздуха, которое всасывается в двигатель 1 внутреннего сгорания. На фиг.3 представлен график, на котором показано изменение степени разжижения масла топливом в зависимости от изменения количества GA всасываемого воздуха. Как можно понять по сплошной линии графика, степень разжижения масла топливом выше в области работы двигателя, в которой количество GA всасываемого воздуха меньше. Это происходит потому, что, когда количество GA всасываемого воздуха меньше заданного значения, температура газа в камере 2 сгорания ниже, что облегчает прилипание топлива, впрыскиваемого в камеру 2 сгорания в процессе подвпрыска, к внутренней стенке цилиндра.
[0043] Таким образом, в области работы двигателя, в которой количество GA всасываемого воздуха меньше (далее именуемой «областью малого количества GA всасываемого воздуха»), большее количество топлива, впрыскиваемого в процессе подвпрыска, прилипает к внутренней стенке цилиндра, что повышает степень разжижения масла топливом. Это заметно понижает вязкость масла. В результате этого двигатель 1 внутреннего сгорания может быть смазан маслом в недостаточной степени.
[0044] Вследствие этого подвпрыск прекращается с тем, чтобы не осуществлять регенерацию фильтра в области малого количества всасываемого воздуха. В том случае, если происходит переход на область малого количества GA всасываемого воздуха во время регенерации фильтра, предпочтительно, однако, завершить регенерацию фильтра после уменьшения количества твердых частиц, отложившихся на фильтре 13, до практически нулевого, и регенерация фильтра (подвпрыск) выполняется и прекращается следующим образом. Во время регенерации фильтра при переходе на область малого количества GA всасываемого воздуха регенерация фильтра временно прерывается, и подвпрыск прекращается, и регенерация фильтра возобновляется, и подвпрыск выполняется при последующем переходе на область работы двигателя, в которой количество GA всасываемого воздуха больше, чем в области малого количества GA всасываемого воздуха (далее именуемую «областью большого количества GA всасываемого воздуха»). Подвпрыск повторно начинается и прекращается до тех пор, пока количество твердых частиц, отложившихся на фильтре 13, не станет практически нулевым, при завершении регенерации фильтра.
[0045] На фиг.4 представлена временная диаграмма, на которой показаны изменения температуры Tf фильтра и изменения количества твердых частиц, отложившихся на фильтре 13, при частых переходах области работы двигателя с области малого количества всасываемого воздуха на область большого количества всасываемого воздуха и наоборот во время регенерации фильтра. На данном чертеже кривая g1 представляет изменения температуры Tf фильтра, а кривая g2 представляет изменения количества отложившихся твердых частиц.
[0046] Как показано на чертеже, когда количество твердых частиц, отложившихся на фильтре 13, достигает максимально допустимого или большего значения (в момент времени Т0), начинается регенерация фильтра и выполняется подвпрыск. Во время выполнения регенерации фильтра температура Tf фильтра повышается так, что произойдет сжигание твердых частиц, отложившихся на фильтре 13. Когда температура фильтра достигает значения Tt заданной температуры или большего значения, количество отложившихся твердых частиц уменьшается.
[0047] При переходе области работы двигателя на область малого количества GA всасываемого воздуха во время регенерации фильтра регенерация фильтра прерывается и подвпрыск прекращается. Затем температура Tf фильтра значительно понижается так, что она падает ниже заданной температуры Tt, хотя топливо больше не прилипает к внутренней стенке цилиндра, и разжижение масла топливом ограничивается. Вследствие этого уменьшение количества твердых частиц, отложившихся на фильтре 13, останавливается. При последующем переходе области работы двигателя на область большого количества GA всасываемого воздуха возобновляется регенерация фильтра и осуществляется подвпрыск. Затем температура Tf фильтра повышается так, что снова произойдет сжигание твердых частиц, отложившихся на фильтре 13. Когда температура Tf фильтра достигает значения заданной температуры Tt или большего значения, количество отложившихся твердых частиц снова уменьшается.
[0048] Когда регенерация фильтра повторно прерывается и возобновляется до тех пор, пока количество твердых частиц, отложившихся на фильтре 13, уменьшается до значения, при котором оно может быть определено как практически нулевое (в момент времени Т1), регенерация фильтра определяется как завершенная и подвпрыск прекращается. В случае прекращения подвпрыска таким образом регенерация фильтра прекращается.
[0049] В случае прерывания регенерации фильтра и прекращения подвпрыска при переходе области работы двигателя на область малого количества GA всасываемых частиц во время регенерации фильтра, описанной выше, предотвращается возможность прилипания большого количества топлива, впрыскиваемого в процессе подвпрыска, к внутренней стенке цилиндра и, следовательно, разжижения масла, предназначенного для смазки двигателя внутреннего сгорания, топливом и понижения вязкости масла. Таким образом, двигатель 1 внутреннего сгорания может быть смазан маслом в достаточной степени.
[0050] Однако, если подвпрыск прекращается для того, чтобы прервать регенерацию фильтра при переходе области работы двигателя на область малого количества GA всасываемого воздуха, компонент топлива больше не подается на первый каталитический нейтрализатор 11 и второй каталитический нейтрализатор 12 посредством подвпрыска, что вызывает существенное повышение температуры Tf фильтра без реакции окисления в каталитических нейтрализаторах 11 и 12. Вследствие этого при последующем переходе области работы двигателя на область большого количества GA всасываемого воздуха, когда выполняется подвпрыск и возобновляется регенерация фильтра, требуется больше времени t1 для того, чтобы температура Tf фильтра повысилась до значения заданной температуры Tt, при которой может быть уменьшено количество твердых частиц, отложившихся на фильтре 13. В результате этого требуется больше времени от начала (Т0) регенерации фильтра до окончания (Т1) регенерации фильтра, что задерживает окончание регенерации фильтра.
[0051] Вследствие этого в данном примере осуществления изобретения объем подвпрыска уменьшается при выполнении подвпрыска при переходе области работы двигателя на область малого количества GA всасываемого воздуха во время регенерации фильтра. Далее при переходе области работы двигателя с области малого количества GA всасываемого воздуха на область большого количества GA всасываемого воздуха объем подвпрыска, который был уменьшен, увеличивается до первоначального значения.
[0052] В этом случае при переходе области работы двигателя на область малого количества GA всасываемого воздуха во время регенерации фильтра объем подвпрыска уменьшается для уменьшения количества топлива, которое прилипает к внутренней стенке цилиндра. Вследствие этого разжижение масла, предназначенного для смазки двигателя 1 внутреннего сгорания, ограничивается при степени такого разжижения меньшей, чем степень, представленная на фиг.3 линией в виде штрих-двойного пунктира.
[0053] Кроме того, в условиях, когда во время регенерации фильтра происходят частые переходы области работы двигателя с области малого количества GA всасываемого воздуха на область большого количества GA всасываемого воздуха и наоборот, поскольку подвпрыск не прекращается, но объем подвпрыска уменьшается при переходе на область малого количества GA всасываемого воздуха, температура Tf фильтра существенно не понижается. Далее при переходе на область большого количества GA всасываемого воздуха, когда регенерация фильтра возобновляется, требуется меньше времени для того, чтобы повысить температуру Tf фильтра до значения заданной температуры Tt. Таким образом, при условиях, описанных выше, время от начала до окончания регенерации фильтра сокращается, и задержка окончания регенерации фильтра также сокращается по сравнению с тем случаем, когда прекращается подвпрыск.
[0054] Теперь со ссылкой на временную диаграмму, приведенную на фиг.5, будет дано подробное описание перехода температуры Tf фильтра и перехода количества твердых частиц, отложившихся на фильтре 13, при объеме подвпрыска, уменьшенном, как описано выше, в условиях, когда во время регенерации фильтра происходят частые переходы области работы двигателя с области малого количества GA всасываемого воздуха на область большого количества GA всасываемого воздуха и наоборот. На чертеже кривая g3 представляет изменения температуры Tf фильтра, а кривая g4 представляет изменения количества твердых частиц, отложившихся на фильтре 13.
[0055] Как показано на чертеже, когда количество отложившихся твердых частиц достигает максимально допустимого или большего значения (момент времени Т0), начинается регенерация фильтра, и для того, чтобы повысить температуру Tf фильтра до значения заданной температуры Tt или большего значения, выполняется подвпрыск. При переходе области работы двигателя на область малого количества GA всасываемого воздуха во время регенерации фильтра подвпрыск не прекращается, но объем подвпрыска уменьшается, и поэтому подача компонента топлива на первый каталитический нейтрализатор 11 и второй каталитический нейтрализатор 12 посредством подвпрыска не прекращается. Вследствие этого реакция окисления компонента топлива на первом каталитическом нейтрализаторе 11 и втором каталитическом нейтрализаторе 12 продолжается, и температура Tf фильтра существенно не повышается.
[0056] При последующем переходе области работы двигателя на область большого количества GA всасываемого воздуха уменьшенный объем подвпрыска увеличивается до первоначального значения, и температура Tf фильтра сразу повышается до значения заданной температуры Tt или большего значения. Таким образом, время t2, требуемое для повышения температуры Tf фильтра до значения заданной температуры Tt, ввиду перехода с области малого количества GA всасываемого воздуха на область большого количества GA всасываемого воздуха, короче времени t1, указанного на фиг.4. Вследствие этого требуется меньше времени от начала (Т0) регенерации фильтра до окончания (T2) регенерации фильтра при практически нулевом количестве отложившихся твердых частиц, что ограничивает задержку окончания регенерации фильтра.
[0057] Теперь будет дано описание характерных операций, выполняемых для уменьшения объема подвпрыска, описанного выше. Уменьшение объема подвпрыска достигается посредством понижения заданной температуры Tt. Когда заданная температура Tt понижается при переходе на область малого количества GA всасываемого воздуха во время регенерации фильтра, значение Н коррекции по сигналам обратной связи, вычисленное с помощью вышеприведенного уравнения (2) по температуре Tf фильтра и заданной температуре Tt, имеет меньшее значение, так как заданная температура Tt уменьшается относительно температуры Tf фильтра. Вследствие этого объем Qp подвпрыска, вычисленный с помощью уравнения (2), имеет меньшее значение, и объем подвпрыска уменьшается посредством приведения в действие клапана 21 впрыска топлива, в результате чего впрыскивается объем Qp подвпрыска. В области большого количества GA всасываемого воздуха пониженная заданная температура Tt повышается до нормального значения, в результате чего уменьшение объема подвпрыска прекращается, и объем подвпрыска увеличивается до первоначального значения. После уменьшения объема Qp подвпрыска объем подвпрыска Qp увеличивается, когда количество GA всасываемого воздуха превышает заданное значение во время регенерации фильтра.
[0058] На фиг.6 представлен график, на котором показано изменение степени разжижения масла топливом в двигателе 1 внутреннего сгорания в случае, когда заданная температура Tt постепенно уменьшается в условиях, когда область работы двигателя находится в области малого количества GA всасываемого воздуха во время регенерации фильтра. Как можно понять из чертежа, когда заданная температура Tt понижается, степень разжижения масла топливом также понижается. Это происходит потому, что, когда заданная температура Tt понижается, степень уменьшения объема подвпрыска повышается и, таким образом, меньшее количество топлива, впрыснутого посредством подвпрыска, прилипает к внутренней стенке цилиндра. Понижая заданную температуру Tt с целью уменьшения объема подвпрыска таким образом, можно ограничить разжижение масла топливом, вследствие чего двигатель 1 внутреннего сгорания может быть смазан маслом в достаточной степени.
[0059] В области малого количества GA всасываемого воздуха, поскольку температура выхлопных газов двигателя 1 внутреннего сгорания ниже, повышение температуры Tf фильтра посредством подвпрыска более затруднительно. При переходе на область малого количества GA всасываемого воздуха во время регенерации фильтра величина Н значения коррекции по сигналам обратной связи изменяется в зависимости от разности между заданной температурой Tt и температурой Tf фильтра. Таким образом, как показано в верхней части фиг.7, когда заданная температура Tt устанавливается на большее значение, значение Н коррекции по сигналам обратной связи устанавливается на большую величину по разности К1 между заданной температурой Tt и температурой Tf фильтра, которая находится ниже. Даже если объем подвпрыска увеличивается на величину, соответствующую значению Н коррекции по сигналам обратной связи, это увеличение, однако, не способствует повышению температуры Tf фильтра, и поэтому значение Н коррекции по сигналам обратной связи остается большим, как представлено линией в виде штрих-двойного пунктира в нижней части фиг.7.
[0060] В противоположность этому в данном примере осуществления изобретения, поскольку заданная температура Tt понижается в области малого количества GA всасываемого воздуха, как указано полой стрелкой на фиг.7, и устанавливается на меньшее значение, чем значение в области большого количества GA всасываемого воздуха, разность К2 между заданной температурой Tt и температурой Tf фильтра, которая находится ниже, меньше разности К1. Вследствие этого увеличение значения Н коррекции по сигналам обратной связи ограничивается, как показано сплошной линией в нижней части фиг.7, что не позволяет значению В коррекции по сигналам обратной связи оставаться большей величиной.
[0061] Теперь будет дано описание характерных операций, выполняемых для установки заданной температуры Tt со ссылкой на блок-схему, приведенную на фиг.8, которая иллюстрирует последовательность установки заданной температуры. Последовательность установки заданной температуры периодически выполняется устройством 25 управления, например, посредством прерывания в заданные интервалы времени.
[0062] В данной последовательности вычисляется (S201) основное значение Тb заданной температуры Tt, вычисляется (S202) поправка D на понижение для понижения заданной температуры Tt и вычисляется (S203) заданная температура Tt по основному значению Тt и поправке D на понижение с помощью следующего уравнения (3):

где Tt – заданная температура;
Тb – основное значение;
D – поправка на понижение.
[0063] Основное значение Тb является теоретическим значением заданной температуры, при котором твердые частицы, отложившиеся на фильтре 13, могут быть сожжены с целью их уменьшения, и вычислено по количеству PMsm отложившихся твердых частиц и объему Qfin впрыска топлива на шаге 201. Вычисленное таким образом основное значение Тb увеличивается при увеличении объема Qfin впрыска топлива и увеличивается при уменьшении количества PMsm отложившихся твердых частиц в условиях, когда объем Qfin впрыска топлива постоянен. Основное значение Тb имеет тенденцию к увеличению с увеличением объема Qfin впрыска топлива, так как, по мере увеличения объема впрыска топлива Qfin температура двигателя 1 внутреннего сгорания повышается, что позволяет повысить температуру Tf фильтра. Кроме того, основное значение Тb увеличивается, когда количество PMsm отложившихся твердых частиц уменьшается, что уменьшает возможность резкого повышения температуры Tf фильтра вследствие сгорания твердых частиц, что способствует повышению температуры Tf фильтра.
[0064] Поправка D на понижение предназначена для понижения заданной температуры Tt для того, чтобы уменьшить объем подвпрыска при переходе на область малого количества GA всасываемого воздуха во время регенерации фильтра и установлена на основании количества GA всасываемого воздуха. Как показано на фиг.9, поправка на понижение D устанавливается на постоянное значение, которое меньше нуля, в области малого количества GA всасываемого воздуха и устанавливается на нулевое значение в области большого количества GA всасываемого воздуха, в которой количество GA всасываемого воздуха больше количества GA всасываемого воздуха в области малого количества GA всасываемого воздуха.
[0065] Таким образом, заданная температура Tt, вычисленная с помощью уравнения (3), устанавливается на значение, полученное посредством уменьшения величины, соответствующей поправке D на понижение в области малого количества GA всасываемого воздуха, в то время как такое уменьшение не производится в области большого количества GA всасываемого воздуха. В области малого количества GA всасываемого воздуха заданная температура Tt уменьшается до значения, лежащего в диапазоне, в котором может поддерживаться температура Tf фильтра. То есть значение поправки D на понижение в области малого количества GA всасываемого воздуха определяется заранее экспериментально или другим образом так, что заданная температура Tt уменьшается таким образом.
[0066] При установке поправки D на понижение на значение, при котором заданная температура Tt понижается до значения, находящегося на стороне высокой температуры в пределах вышеуказанного диапазона в области малого количества GA всасываемого воздуха, температура Tf фильтра легко повышается до значения, требуемого для уменьшения количества отложившихся твердых частиц при последующем переходе на область большого количества GA всасываемого воздуха, что благоприятствует уменьшению задержки завершения регенерации фильтра. В противоположность этому при установке поправки D на понижение на значение, при котором заданная температура Tt понижается до значения, находящегося на низкотемпературной стороне в пределах вышеуказанного диапазона в области малого количества GA всасываемого воздуха, объем подвпрыска уменьшается, вследствие чего также уменьшается количество топлива, которое прилипает к внутренней стенке цилиндра, что благоприятствует ограничению разжижения масла, предназначенного для смазки двигателя 1 внутреннего сгорания, топливом.
[0067] Согласно примеру осуществления изобретения, подробно рассмотренному выше, получены следующие результаты и эффекты. (а) При переходе на область малого количества GA всасываемого воздуха во время регенерации фильтра, поскольку объем подвпрыска уменьшается с целью уменьшения количества топлива, которое прилипает к внутренней стенке цилиндра, разжижение масла, предназначенного для смазки двигателя 1 внутреннего сгорания, ограничивается.
[0068] (б) При переходе на область малого количества GA всасываемого воздуха во время регенерации фильтра, поскольку подвпрыск не прекращается, а только уменьшается объем подвпрыска, существенное понижение температуры Tf фильтра может быть ограничено. Следовательно, в условиях, когда происходят частые переходы области работы двигателя с области малого количества GA всасываемого воздуха на область большого количества GA всасываемого воздуха и наоборот во время регенерации фильтра, температура Tf фильтра существенно не понижается при переходе на область малого количества GA всасываемого воздуха. Далее при последующем переходе на область большого количества GA всасываемого воздуха не требуется время для повышения температуры Tf фильтра до значения, требуемого для уменьшения количества отложившихся твердых частиц (то есть понижения заданной температуры Tt). Таким образом, не требуется много времени для уменьшения количества твердых частиц, отложившихся на фильтре 13, до практически нулевого значения посредством выполнения регенерации фильтра в условиях, описанных выше, и задержка завершения регенерации фильтра уменьшается.
[0069] (в) Уменьшение объема подвпрыска в области малого количества GA всасываемого воздуха достигается посредством понижения заданной температуры Tt относительно температуры Tf фильтра с целью уменьшения значения Н коррекции по сигналам обратной связи в вышеприведенном уравнении (2). В области малого количества GA всасываемого воздуха, поскольку температура выхлопных газов двигателя 1 внутреннего сгорания понижена, повышение температуры Tf фильтра посредством подвпрыска затруднено. Таким образом, когда заданная температура Tt устанавливается на более высокое значение, значение Н коррекции по сигналам обратной связи устанавливается на большую величину на основании разности между заданной температурой Tt и температурой Tf фильтра, которая находится на более низкой стороне. Однако, если объем подвпрыска увеличивается на величину, соответствующую значению Н коррекции по сигналам обратной связи, это увеличение не способствует повышению температуры Tf фильтра, и значение Н коррекции по сигналам обратной связи остается большим. Однако в области малого количества GA всасываемого воздуха, поскольку заданная температура Tt понижается и устанавливается на значение, меньшее ее значения в области большого количества GA всасываемого воздуха, разность между заданной температурой Tt и температурой Tf фильтра становится меньше, и повышение значения Н коррекции по сигналам обратной связи ограничивается. Следовательно, значение Н коррекции по сигналам обратной связи не остается большим.
[0070] (г) Для уменьшения объема подвпрыска в области малого количества GA всасываемого воздуха заданная температура Tt понижается до значения в диапазоне, в котором может поддерживаться температура Tf фильтра. Следовательно, при переходе на область малого количества GA всасываемого воздуха температура Tf фильтра поддерживается постоянной посредством регулирования объема подвпрыска посредством увеличения и уменьшения значения Н коррекции по сигналам обратной связи для приведения фильтра к заданной температуре с тем, чтобы температура фильтра не была понижена. Таким образом, при последующем переходе на область большого количества GA всасываемого воздуха, когда заданная температура Tt повышается до нормального значения, температура Tf фильтра может быть сразу повышена посредством подвпрыска так, что достигнет значения заданной температуры Tt.
[0071] (д) Понижение заданной температуры Tt с целью уменьшения объема подвпрыска достигается посредством установки поправки D на повышение в вышеприведенном уравнении (3) на постоянное значение, меньшее нуля. Это облегчает понижение заданной температуры Tt в области малого количества GA всасываемого воздуха посредством установки поправки D на понижение или подобным образом.
[0072] Вышеприведенный пример осуществления изобретения может быть модифицирован, например, как описано ниже. Поправка D на понижение может не устанавливаться на постоянное значение, при котором заданная температура Tt понижается до значения, находящегося в диапазоне, в котором температура Tf фильтра может поддерживаться в области малого количества GA всасываемого воздуха. То есть поправка D на понижение может быть установлена на такое значение, при котором заданная температура Tt понижается до значения, находящегося за пределами вышеуказанного диапазона в области малого количества GA всасываемого воздуха.
[0073] При понижении заданной температуры Tt на величину, соответствующую поправке D на повышение, для понижения заданной температуры Tt до значения, находящегося в пределах вышеуказанного диапазона в области малого количества GA всасываемого воздуха, поправка D на понижение может быть установлена на меньшее значение, так как количество GA всасываемого воздуха меньше. В этом случае, поскольку температура выхлопных газов двигателя 1 внутреннего сгорания ниже, так как количество GA всасываемого воздуха GA меньше, значение заданной температуры Tt, при котором может поддерживаться температура Tf фильтра, может быть ниже, если количество GA всасываемого воздуха меньше. Кроме того, поскольку температура газа в камере 2 сгорания ниже, если количество GA всасываемого воздуха меньше, количество топлива, впрыснутого посредством подвпрыска, которое прилипает к внутренней стенке цилиндра, больше, если количество GA всасываемого воздуха меньше. Таким образом, при понижении заданной температуры Tt в области малого количества GA всасываемого воздуха установка поправки D на понижение, как описано выше, позволяет предотвратить понижение температуры Tf фильтра, а также ограничить прилипание топлива к внутренней стенке цилиндра в наиболее предпочтительном состоянии.
[0074] Объем подвпрыска может быть уменьшен непосредственно посредством использования поправки или подобным посредством вместо понижения заданной температуры Tt. Подвпрыск, выполняемый после основного впрыска топлива, может выполняться отдельно несколько раз (например, два или три раза) с целью ограничения прилипания топлива, впрыскиваемого посредством подвпрыска, к внутренней стенке цилиндра. В этом случае клапан 21 впрыска топлива приводится в действие так, что общее количество топлива, впрыснутого посредством отдельных подвпрысков, является объемом Qp подвпрыска, вычисленным с помощью уравнения (2).
[0075] Настоящее изобретение может быть применимо к системе очистки выхлопных газов, в которой каталитический нейтрализатор устанавливается на фильтре 13 для повышения температуры Tf фильтра посредством осуществления реакции окисления компонента топлива на фильтре 13. В этом случае можно не предусматривать использование первого каталитического нейтрализатора 11 и второго каталитического нейтрализатора 12.
[0076] Хотя выше проиллюстрированы некоторые примеры осуществления изобретения, следует понимать, что изобретение не ограничивается деталями проиллюстрированных примеров осуществления изобретения, а может быть осуществлено с различными изменениями, модификациями или усовершенствованиями, которые могут быть внесены лицами, сведущими в данной области техники, без выхода за пределы, сущности и объема изобретения.
Формула изобретения
1. Система очистки выхлопных газов для двигателя внутреннего сгорания (1), включающая фильтр (13), предусмотренный в системе выпуска выхлопных газов двигателя внутреннего сгорания для улавливания твердых частиц в выхлопных газах, и скомпонованная для осуществления регенерации фильтра посредством выполнения подвпрыска, который является впрыском топлива от клапана (21) впрыска топлива, выполняемым после впрыска топлива от клапана впрыска топлива в камеру (2) сгорания для обеспечения работы двигателя, для подачи компонента топлива на каталитический нейтрализатор (11, 12), предусмотренный в системе выпуска выхлопных газов, и сжигания твердых частиц, отложившихся на фильтре, для удаления твердых частиц с использованием тепла окисления компонента топлива на каталитическом нейтрализаторе для повышения температуры фильтра, отличающаяся тем, что она включает: средство (25) коррекции для уменьшения объема подвпрыска во время выполнения подвпрыска, когда количество воздуха, всасываемого в двигатель внутреннего сгорания, меньше заданного значения во время регенерации фильтра.
2. Система очистки выхлопных газов по п.1, в которой значение коррекции по сигналам обратной связи, обеспечивающее коррекцию объема подвпрыска для приведения температуры фильтра к заданной температуре, увеличивается и уменьшается во время регенерации фильтра, а средство коррекции уменьшает объем подвпрыска посредством понижения заданной температуры.
3. Система очистки выхлопных газов по п.2, в которой средство коррекции корректирует заданную температуру на поправку на понижение и, когда количество воздуха, всасываемого в двигатель внутреннего сгорания, меньше заданного значения, средство коррекции устанавливает поправку на понижение на постоянное значение с тем, чтобы уменьшить заданную температуру.
4. Система очистки выхлопных газов по п.2, в которой средство коррекции корректирует заданную температуру на поправку на понижение, и, когда количество воздуха, всасываемого в двигатель внутреннего сгорания, меньше заданного значения, средство коррекции переменно устанавливает поправку на понижение на такое значение, при котором заданная температура понижается с уменьшением количества всасываемого воздуха.
5. Система очистки выхлопных газов по п.1, в которой регенерация фильтра начинается, когда количество твердых частиц, отложившихся на фильтре, превышает заданное значение, и оканчивается, когда количество твердых частиц, отложившихся на фильтре, уменьшается, по существу, до нулевого значения.
6. Система очистки выхлопных газов по п.5, в которой после уменьшения объема подвпрыска объем подвпрыска увеличивается, когда количество всасываемого воздуха превышает заданное значение во время регенерации фильтра.
7. Система очистки выхлопных газов по п.6, в которой уменьшение и увеличение объема подвпрыска повторяются до тех пор, пока количество твердых частиц, отложившихся на фильтре, не уменьшится, по существу, до нулевого значения.
РИСУНКИ
|
|