|
|
(21), (22) Заявка: 2008144422/06, 16.11.2007
(24) Дата начала отсчета срока действия патента:
16.11.2007
(30) Конвенционный приоритет:
21.11.2006 JP 2006-313817
(46) Опубликовано: 20.08.2010
(56) Список документов, цитированных в отчете о поиске:
WO 99/50005 A1, 07.10.1999. WO 91/19619 A1, 26.12.1991. JP 59054718 A, 29.03.1984. US 3213958 A, 26.10.1965. JP 2006-207400 A, 10.08.2006. JP 11-101117 A, 13.04.1999. SU 507256 A, 06.05.1976. SU 901588 A, 30.01.1982.
(85) Дата перевода заявки PCT на национальную фазу:
10.11.2008
(86) Заявка PCT:
IB 2007/004246 20071116
(87) Публикация PCT:
WO 2008/062312 20080529
Адрес для переписки:
129090, Москва, ул. Б.Спасская, 25, стр.3, ООО “Юридическая фирма Городисский и Партнеры”, пат.пов. С.А.Дорофееву, рег. 146
|
(72) Автор(ы):
ИИДА, Акира (JP)
(73) Патентообладатель(и):
ТОЙОТА ДЗИДОСЯ КАБУСИКИ КАЙСЯ (JP)
|
(54) КОНСТРУКЦИЯ ДВИГАТЕЛЯ ТРАНСПОРТНОГО СРЕДСТВА
(57) Реферат:
Конструкция содержит корпус (10а) двигателя и поддон (20) картера, включающий в себя пару реечных участков (21а, 21b), которые отстоят друг от друга под корпусом (10а) двигателя и прикреплены к нему; пару обращенных друг к другу боковых стенок (22а, 22b), выполненных за одно целое с реечными участками (21а, 21b) поддона картера; и цилиндрический участок (23), который окружает ведущую ось (19L, 19R), проходит через поддон (20) картера и объединен в одно целое с парой боковых стенок (22а, 22b) вблизи упомянутой пары реечных участков (21а, 21b) поддона картера. При этом, по меньшей мере, вблизи одного осевого конца (23а, 23b) цилиндрического участка (23) верхняя половина (23с) цилиндрического участка (23), расположенная над ведущей осью (19L, 19R), имеет утолщение, которое направлено вверх и доходит до уровня верхней поверхности реечного участка (21а, 21b) поддона картера. Такое выполнение уменьшит вибрации поддона картера и, соответственно, шум. 10 з.п. ф-лы, 12 ил.
Область техники
Настоящее изобретение относится к конструкции двигателя транспортного средства, а именно к конструкции двигателя такого транспортного средства, в котором ведущая ось для приведения в действие ведущего колеса проходит через поддон картера, установленный на днище двигателя.
Уровень техники
Конструкции двигателя транспортных средств такого вида используются в автомобилях или других подобных им средствах, в которых передние колеса являются ведущими, в частности, в таких как транспортные средства с приводом на четыре колеса. Конструкции двигателей транспортного средства описаны в японской патентной заявке 2006-207400 (JP-A-2006-207400) и в японской патентной заявке 11-101117 (JP-A-11-101117), в которых ведущая ось для приведения в движение переднего колеса проходит горизонтально через поддон картера, установленный на днище двигателя.
Что касается транспортных средств с приводом на четыре колеса, то в японских патентных заявках 11-229841 (JP-A-11-229841) и 8-100707 (JP-A-8-100707) приводятся описания конструкций двигателя транспортного средства, в которых ведущая ось для привода переднего колеса является продольной, то есть направлена вдоль транспортного средства, проходя при этом через поддон картера под продольно установленным двигателем. В таком транспортном средстве выходная мощность двигателя, передаваемая через трансмиссию, распределяется на колеса передней стороны и колеса задней стороны с помощью блока передачи. Затем эта мощность передается на задние колеса при помощи заднего дифференциала и ведущих осей, и на передние колеса она передается при помощи переднего дифференциала и ведущих осей.
Допускается также вариант с продольно установленным двигателем, который используется в качестве навесного или другого ему подобного двигателя на транспортных средствах, не относящихся к автомобилям, и который имеет сквозное отверстие, выполненное в поддоне картера и проходящее, по сути, в вертикальном направлении, через которое проходит ведущий вал для привода гребного винта.
На фиг.7 приведена диаграмма, иллюстрирующая подрамник двигателя, монтажную опору двигателя и нижние рейки двигателя с V-образным расположением цилиндров. На фиг.7 позиция E обозначает подрамник двигателя, M1 и M2 обозначают монтажную опору двигателя, а B1 и B2 обозначают нижние рейки. При этом правое и заднее направления на фиг.7 являются правым и задним направлением относительно направления движения данного транспортного средства.
Описанная выше конструкция двигателя транспортного средства имеет недостаток, заключающийся в том, что участки ее нижних реек имеют значительную изгибную деформацию у продольного центра, где эти участки нижних реек корпуса двигателя опираются на монтажную опору двигателя вследствие силы, воздействующей на подшипник коленчатого вала, так что когда при использовании двигателя с V-образным расположением цилиндров происходит свойственная этому двигателю вибрация, включающая вибрационный компонент подрамника двигателя, как это показано на фиг.7, то амплитуда вибрации поддона картера может стать большой, и испускаемый звук, источником которого является данный поддон картера, может, таким образом, стать громким.
А именно, когда двигатель работает, то сила, создаваемая сгоранием, передается поршню, шатуну и коленчатому валу, приводя к вибрации подшипника коленчатого вала. По этой причине поддон картера, расположенный у подшипника коленчатого вала и занимающий большую площадь, подвергается вибрации в поперечном направлении, как это показано на фиг.7, производя шум. Таким образом, поддон картера становится источником шума.
Для противодействия этому явлению можно усовершенствовать конструкцию, повысив жесткость у той точки, куда передается сила, применяемая к подшипнику коленчатого вала. Однако использование дополнительного элемента, такого как отдельная рама с поперечинами, приводит к существенному увеличению массы двигателя и/или увеличению стоимости производства этого двигателя.
В альтернативном варианте вместо увеличения жесткости с целью уменьшения вибрации может быть применена такая мера, как уменьшение просвета подшипника. Однако эта мера может привести к увеличению расхода топлива и/или стоимости вследствие возрастания трения. Кроме того, поскольку в этом случае необходимо предотвратить заклинивание, то уменьшение просвета имеет свои ограничения, и поэтому эффект уменьшения вибрации в этом случае тоже будет ограничен. Более того, в данном случае необходимо следить за качеством гладкости, что приводит к увеличению стоимости.
Краткое описание изобретения
Цель настоящего изобретения заключается в создании такой конструкции двигателя транспортного средства, которая бы обеспечивала надежное ограничение вибрации поддона картера, которая является потенциальным источником шума, и уменьшала исходящий шум без существенного увеличения массы двигателя или возрастания стоимости его производства.
Согласно настоящему изобретению конструкция двигателя транспортного средства включает в себя: (a) корпус двигателя и (b) поддон картера, прикрепленный под корпусом двигателя, через который проходит ведомая двигателем ведущая ось для привода ведущего колеса транспортного средства. Этот поддон картера включает в себя пару реечных участков поддона картера, которые отстоят друг от друга и прикреплены к корпусу двигателя, пару обращенных друг к другу боковых стенок, выполненных за одно целое с данными реечными участками поддона картера и находящимися под этими реечными участками поддона картера, и цилиндрический участок, который окружает ведущую ось и объединен в одно целое с парой боковых стенок у упомянутой пары реечных участков поддона картера. При этом у, по меньшей мере, одного осевого конца данного цилиндрического участка верхняя половина цилиндрического участка, расположенная над ведущей осью, имеет утолщение, которое направлено вверх и доходит до уровня верхней поверхности, прилегающей к поверхности реечных участков поддона картера.
При такой конфигурации, по меньшей мере, один осевой конец цилиндрического участка поддона картера, через который проходит ведущая ось, расположен у реечного участка поддона картера, прикреплен к днищу корпуса двигателя и функционирует как укрепляющий элемент для ограничения деформации реечного участка поддона картера. Таким образом, возможно обеспечить надежное ограничение вибрации поддона картера без существенного увеличения массы двигателя или увеличения стоимости его производства. В этом описании выражение «верхняя половина цилиндрического участка утолщена по направлению вверх» означает, что вертикальный центр цилиндрического участка смещен вверх над центром сквозного отверстия, через который проходит ведущая ось, и верхняя половина участка имеет большую толщину, чем нижняя половина участка относительно центральной оси сквозного отверстия цилиндрического участка. Однако поперечное сечение цилиндрического участка является произвольным.
В упомянутой выше конструкции двигателя транспортного средства у одного конца цилиндрического участка внешний профиль сечения этого цилиндрического участка может иметь, по существу, эллиптическую форму, форму, полученную в результате уменьшения поперечной ширины верхней половины участка, имеющей, по существу, эллиптическую форму, или форму, в которой часть, соответствующая верхней половине участка, имеет, по существу, прямоугольную форму, углы которой несколько закруглены, и в которой часть, соответствующая нижней половине участка, имеет, по существу, полукруглую форму.
В упомянутой выше конструкции двигателя транспортного средства толщина верхней половины цилиндрического участка в вертикальном направлении может быть больше, чем толщина нижней половины этого цилиндрического участка в вертикальном направлении.
В упомянутой выше конструкции двигателя транспортного средства поперечная ширина поперечного сечения утолщенной области верхней половины участка может быть равна или меньше максимальной поперечной ширины цилиндрического участка.
В упомянутой выше конструкции двигателя транспортного средства верхняя половина участка может иметь наклонную поверхность, наклон которой начинается от верхней поверхности прилегающего к ней одного из реечных участков поддона картера и спускается вниз к осевой центральной области цилиндрического участка.
При такой конфигурации реечные участки поддона картера усилены и соединены с помощью цилиндрического участка, который выполняет роль некой перегородки. Соответственно, даже когда изгибная деформация нижних реек под двигателем имеет в поперечном направлении тенденцию к увеличению у монтажных опор двигателя, эту деформацию можно эффективно ограничить.
В упомянутой выше конструкции двигателя транспортного средства угол наклона наклонной поверхности относительно верхней поверхности прилегающего к ней одного из реечных участков поддона картера может быть больше в месте, близком к этому одному концу цилиндрического участка, чем угол наклона в месте, близком к осевой центральной области цилиндрического участка.
При такой конфигурации можно минимизировать количество наплавки к верхней половине цилиндрического участка и в то же время сделать так, чтобы этот цилиндрический участок мог обеспечивать требуемую степень усиления.
В упомянутой выше конструкции двигателя транспортного средства угол наклона наклонной поверхности относительно верхней поверхности прилегающего к ней одного из реечных участков поддона картера может быть меньше в месте, близком к одному концу цилиндрического участка, и в месте, близком к осевой центральной области данного цилиндрического участка, чем угол наклона в наклонной области между этим одним концом цилиндрического участка и осевой центральной областью цилиндрического участка.
При такой конфигурации цилиндрический участок может обеспечивать достаточную степень усиления.
В упомянутой выше конструкции двигателя транспортного средства может быть выполнена дополнительная плоскость, проходящая от одного конца цилиндрического участка к осевой центральной области цилиндрического участка, при этом она проходит на том же самом уровне, что и уровень верхней поверхности одного из прилегающих к ней реечных участков поддона картера, при этом имеющаяся наклонная поверхность может быть выполнена так, чтобы плавно соединиться с этой дополнительной плоскостью.
При такой конфигурации данный цилиндрический участок может обеспечивать достаточную степень усиления.
В упомянутой выше конструкции двигателя транспортного средства форма сечения наклонной поверхности в плоскости, перпендикулярной оси данного цилиндрического участка, на внутренней стороне, там, где данная наклонная поверхность соединяется с внешней поверхностью верхней половины участка, может быть, по существу, дугообразной, а форма сечения наклонной поверхности в плоскости, перпендикулярной оси цилиндрического участка, на внешней стороне у реечного участка поддона картера может быть, по существу, прямоугольной, углы которой закруглены, и между этой внутренней стороной и внешней стороной от центральной области этого цилиндрического участка в направлении к реечному участку поддона картера сечение данной наклонной поверхности может плавно изменяться от, по существу, дугообразной формы, до, по существу, прямоугольной формы, углы которой закруглены.
В упомянутой выше конструкции двигателя транспортного средства двигатель может быть продольно установленным двигателем, при этом его ведущая ось может проходить от дифференциала, расположенного на одной стороне двигателя, к ведущему колесу транспортного средства.
При этой конфигурации, даже когда продольно установленный двигатель является, например, продольно установленным двигателем с V-образным расположением цилиндров, вибрация поддона картера ограничивается, и издаваемый шум, таким образом, уменьшается.
В упомянутой выше конструкции двигателя транспортного средства поддон картера может включать в себя блок, в котором имеется пара реечных участков поддона картера, пару боковых стенок и цилиндрический участок, которые выполнены из того же материала, что и блок цилиндров корпуса двигателя, а также крышку, выполненную из стального листа, которая покрывает днище упомянутого блока.
При такой конфигурации блок эффективно предотвращает увеличение амплитуды вибрации поддона картера и, таким образом, позволяет не допустить увеличения громкости издаваемого звука.
Краткое описание чертежей
Описанные выше дополнительные цели, отличительные признаки и преимущества настоящего изобретения станут более очевидными из следующего описания предпочтительных вариантов воплощения со ссылкой на прилагаемые чертежи, на которых одинаковые ссылочные позиции используются для обозначения одинаковых элементов. На чертежах:
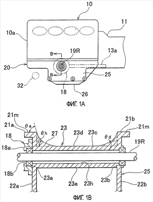
фиг.1A – схематичный вид сбоку, показывающий конструкцию двигателя транспортного средства, согласно первому варианту воплощения настоящего изобретения;
фиг.1B – сечение по линии B-B с фиг.1A, показывающее конструкцию двигателя транспортного средства, согласно первому варианту воплощения настоящего изобретения;
фиг.2 – вид в плане, схематично показывающий силовую передачу транспортного средства, согласно первому варианту воплощения настоящего изобретения;
фиг.3 – вид в перспективе поддона картера в конструкции двигателя транспортного средства, согласно первому варианту воплощения настоящего изобретения;
фиг.4 – график вибрационных показателей, который наглядно иллюстрирует эффект усиления жесткости поддона картера в конструкции двигателя транспортного средства, согласно первому варианту воплощения настоящего изобретения, где оси ординаты и абсциссы указывают уровень акустической массы и соответствующую ей частоту вибрации;
фиг.5A-5C – виды в сечении главной части, показывающие конструкцию двигателя транспортного средства, согласно второму варианту воплощения настоящего изобретения;
фиг.6A-6C – виды в сечении главной части, показывающие конструкцию двигателя транспортного средства, согласно третьему варианту воплощения настоящего изобретения; и
фиг.7 – диаграмма, иллюстрирующая проблемы предшествующего уровня техники.
Подробное описание вариантов воплощения изобретения
Ниже со ссылкой на прилагаемые чертежи будет описан вариант воплощения настоящего изобретения.
На фиг.1A, 1B, 2 и 3 показана конструкция двигателя транспортного средства, согласно первому варианту воплощения настоящего изобретения, иллюстрирующая пример применения настоящего изобретения к транспортному средству с приводом на четыре колеса. Однако такое применение, которое описано в первом варианте воплощения, не ограничивается транспортным средством с приводом на четыре колеса.
В конструкции двигателя транспортного средства, выполненной согласно первому варианту воплощения, выходная мощность от двигателя 10 распределяется через трансмиссию 11 (см. фиг.2) на сторону передних колес (передние колеса 14R и 14L) и на сторону задних колес (задние колеса 15R и 15L) через блок 13 передачи и карданные валы 13a и 13b. Эта мощность передается далее на задние колеса 15L и 15R с помощью заднего дифференциала 16 и ведущих осей 17L и 17R и передается на передние колеса 14L и 14R с помощью переднего дифференциала 18 и ведущих осей 19L и 19R.
Двигатель 10 является так называемым продольно установленным 4-тактным бензиновым (карбюраторным) двигателем, который, хотя детали его и не показаны, является, например, 8-цилиндровым двигателем с V-образным расположением цилиндров под углом 90 градусов. При этом в качестве топлива может использоваться этанол или газообразное топливо.
Одна из ведущих осей 19L и 19R, например правая ведущая ось 19R, которая проходит от переднего дифференциала 18, установленного на передней стороне двигателя 10, к передним колесам 14L и 14R, проходит через поддон картера 20, который установлен на днище двигателя 10.
В частности, поддон 20 картера включает в себя пару реечных участков 21a и 21b, которые отстоят друг от друга в поперечном направлении под корпусом 10a двигателя и прикреплены к корпусу 10a двигателя множеством болтов (не показаны); пару боковых стенок 22a и 22b, которые выполнены за одно целое с парой реечных участков 21a и 21b поддона картера, находятся под этими реечными участками 21a и 21b поддона картера и обращены друг к другу; и цилиндрический участок 23, который окружает ведущую ось 19R, проходящую через поддон 20 картера, и соединяется в одно целое с парой боковых стенок 22a и 22b вблизи у пары реечных участков 21a и 21b поддона картера.
Как показано на фиг.1A, 1B и 3, поддон 20 картера включает в себя блок 25, в котором пара реечных участков 21a и 21b поддона картера, пара боковых стенок 22a и 22b и цилиндрический участок 23 выполнены за одно целое из того же материала, что и блок цилиндров (не обозначенный ссылочной позицией) корпуса 10a двигателя, такого как литой под давлением алюминиевый сплав, и крышку 26, выполненную из плакированной стальной пластины, которая прикреплена к блоку 25 болтами, чтобы покрывать днище блока 25.
При этом верхняя половина 23c, размещенная над центральной осью, проходящей через отверстие 23h, через которое проходит ведущая ось 19R, если ее сравнить с нижней половиной 23e, расположенной под этой центральной осью, проходящей через отверстие 23h, имеет большую толщину в вертикальном направлении, то есть она утолщена в направлении вверх до уровня у верхней поверхности реечного участка 21a поддона картера или реечного участка 21b поддона картера, или верхних поверхностей реечных участков 21a и 21b поддона картера вблизи, по меньшей мере, одной концевой области цилиндрического участка 23 в осевом направлении, то есть вблизи правой концевой области 23a, или левой концевой области 23b, или обеих – и правой, и левой концевых областей (в дальнейшем именуемых как «обе концевые области») 23a и 23b. Хотя в следующем ниже описании будет приведен пример, когда обе концевые области 23a и 23b выполнены утолщенными, настоящее изобретение не ограничивается этим конкретным случаем.
А именно, у обеих концевых областей 23a и 23b цилиндрического участка 23 поперечное сечение цилиндрического участка 23 имеет продолговатую форму, главная ось которого проходит в вертикальном направлении и имеет центр или центроид над центральной осью сквозного отверстия 23h. Данное поперечное сечение может, например, иметь, по существу, эллиптический внешний профиль.
Верхняя половина 23c цилиндрического участка 23, которая размещена над ведущей осью 19R, имеет наклонную поверхность 27, которая направлена вниз к осевой центральной области (именуемой далее центральной областью) 23d цилиндрического участка 23 от верхних поверхностей реечных участков 21a и 21b поддона картера. При поперечном сечении этой наклонной поверхности 27, выполненном в плоскости, перпендикулярной оси цилиндрического участка 23, внутренняя сторона этой наклонной поверхности 27, там где эта наклонная поверхность 27 соединяется с внешней поверхностью центральной области 23d, имеет, по существу, форму дуги. При поперечном сечении наклонной поверхности 27 внешняя ее сторона у реечного участка 21a (21b) поддона картера имеет, по существу, прямоугольную форму, углы которой несколько закруглены. Между этими сторонами от центральной области 23d цилиндрического участка 23 к реечному участку 21a (21b) поддона картера поперечное сечение данной наклонной поверхности 27 постепенно изменяется от, по существу, дугообразной формы до, по существу, прямоугольной формы, углы которой имеют некоторое закругление.
Форма поперечного сечения цилиндрического участка 23 является произвольной. Однако вместо формы, по существу, напоминающей полумесяц, выпуклая форма, где верхняя половина 23c имеет большую толщину в вертикальном направлении, чем нижняя половина 23e, является предпочтительной в качестве формы поперечного сечения верхней половины 23c. Хотя горизонтальная ширина направленной вверх выпуклой верхней половины 23c в предпочтительном варианте близка к горизонтальной ширине (горизонтальному диаметру) цилиндрического участка 23, первая указанная ширина может быть меньше, чем вторая ширина. Например, верхняя половина 23c может иметь выпуклый ребристый участок, то есть эта верхняя половина 23c может иметь ребро.
Как показано на фиг.1B, угол наклона наклонной поверхности 27 относительно присоединяющейся к ней поверхности 21m, относящейся к реечному участку 21a (21b) поддона картера, и с помощью которой этот реечный участок 21a (21b) поддона картера присоединяется к днищу корпуса 10a двигателя, или же относительно линии, параллельной этой присоединяющейся к ней поверхности 21m (обозначен на чертежах штрих-двухпунктирной линией), является большим у обеих концевых областей 23a и 23b цилиндрического участка 23 и уменьшается в направлении к центральной области 23d цилиндрического участка 23. А именно, угол наклона наклонной поверхности 27 относительно присоединяющейся к ней поверхности 21m имеет большую величину угла a, близкую к 90°, у обеих концевых областей 23a и 23b цилиндрического участка 23, и величину угла d, близкую к 0° у центральной области 23d. Между центральной областью 23d и обеими концевыми областями 23a и 23b цилиндрического участка 23 угол составляет величину между углами a и d. А именно, угол имеет большую величину у обеих концевых областей 23a и 23b цилиндрического участка 23 и постепенно уменьшается в направлении к центральной области 23d ( d< h< a).
Таким образом, в поддоне 20 картера верхняя половина 23c цилиндрического участка 23, которая представляет собой область над осевым отверстием, плавно присоединяется к реечным участкам 21a и 21b поддона картера, что обеспечивает надежное укрепление цилиндрического участка 23 и усиливает жесткость.
На фиг.1A, 1B и 2 рулевая передача 31 и рулевая рейка 32, которые функционируют как рулевой механизм транспортного средства, расположены под передним участком двигателя 10, и передние колеса 14L и 14R управляются этим рулевым механизмом. Передний дифференциал 18 имеет кожух 18a, который прикреплен к боковой стенке 22a поддона 20 картера болтами (не показано), и подшипник 18b, который опирается на данный кожух 18a и ротационную опору для ведущей оси 19R.
Согласно первому варианту воплощения конструкции двигателя транспортного средства, имеющего описанную выше конфигурацию, концевые области 23a и 23b цилиндрического участка 23 поддона 20 картера, через который проходит ведущая ось 19R, расположены у реечных участков 21a и 21b поддона картера, прикреплены к днищу корпуса 10a двигателя и функционируют как элементы придания прочности для ограничения деформации этих реечных участков 21a и 21b поддона картера. Таким образом, можно надежно ограничить вибрацию поддона картера 20 без существенного увеличения массы двигателя 10 или возрастания стоимости производства двигателя 10.
А именно, когда двигатель 10 является продольно расположенным двигателем, ведущие оси 19L и 19R проходят от дифференциала 18, расположенного на боковой стороне этого двигателя 10, к передним колесам 14L и 14R. В этом случае благодаря настоящему изобретению, даже когда, например, используется продольно расположенный двигатель с V-образным расположением цилиндров, вибрация поддона 20 картера ограничена, и издаваемый шум поэтому также уменьшен.
Верхняя половина 23c цилиндрического участка 23, которая расположена над ведущей осью 19R, имеет наклонную поверхность 27, которая отходит с наклоном вниз от присоединяющихся к ней поверхностей 21m в направлении к центральной области 23d цилиндрического участка 23. Таким образом, цилиндрический участок 23 функционирует в качестве некой перегородки между правым и левым реечными участками 21a и 21b поддона картера, где правый и левый реечные участки 21a и 21b поддона картера соединены друг с другом своими центральными продольными областями. Соответственно, даже когда изгибная деформация в поперечном направлении относительно находящихся под двигателем нижних реек имеет тенденцию к увеличению в местах монтажных опор двигателя, имеется возможность эффективного ограничения такой деформации.
Кроме того, угол наклона наклонной поверхности 27 относительно присоединяющейся к ней поверхности 21m или относительно линии, параллельной этой присоединяющейся поверхности 21m, имеет большую величину вблизи обеих концевых областей 23a и 23b цилиндрического участка 23 и уменьшается в направлении центральной области 23d цилиндрического участка 23 ( d< h< a на фиг.1B), так что можно минимизировать количество наплавочного материала на верхнюю половину 23c цилиндрического участка 23 и в то же время позволить этому цилиндрическому участку 23 обеспечить требуемую степень усиления.
На фиг.4 показан график показателей вибрации, на котором можно наглядно увидеть эффект увеличения жесткости поддона 20 картера, когда соединяющий участок, на котором цилиндрический участок 23 и та часть реечного участка 21a поддона картера, которая обведена овалом на фиг.3 и которая расположена на концевой области со стороны 23a цилиндрического участка 23, соединены и подвергаются вибрации. На фиг.4 оси ординаты и абсциссы обозначают уровень акустической массы (дБ) и приложенную частоту вибрации (Гц) соответственно. Когда А является точкой отсчета ускорения, которое происходит, когда применяется вибрация заданной амплитуды F, то уровень акустической массы выражается через A/F. На графике на фиг.4 показан для сравнения пример, когда верхняя половина 23c цилиндрического участка 23 не имеет наплавки. На графике, представляющем первый вариант воплощения, можно видеть несколько небольших пиковых вариаций, при этом он иллюстрирует высокую степень жесткости.
На фиг.4, чем дальше уходит кривая в направлении, обозначенном стрелкой S, тем выше жесткость тестируемого компонента детали. Таким образом, благодаря конструкции двигателя транспортного средства, выполненной согласно первому варианту воплощения, достигается эффект увеличения жесткости, который подтверждается сокращением акустической массы примерно на 2 дБ относительно примера, предложенного для сравнения, где никаких мер по увеличению жесткости не предпринимается.
Таким образом, цилиндрический участок 23 поддона 20 картера, через который проходит ведущая ось 19R, размещен у реечного участка 21a поддона картера, прикрепленного к днищу корпуса 10a двигателя, и функционирует в качестве элемента, ограничивающего деформацию реечного участка 21a поддона картера в поперечном направлении.
Кроме того, согласно первому варианту воплощения конструкции двигателя транспортного средства, не требуется наличия дополнительного элемента, такого как отдельная рама с поперечинами. По этой причине не наблюдается ни значительного увеличения массы двигателя, ни возрастания стоимости его производства. В этом случае также не требуется уменьшения просвета между коленчатым валом и подшипником коленчатого вала. И в данном случае не наблюдается ни перерасхода топлива, ни возрастания стоимости вследствие увеличения трения. Само собой разумеется, что также не требуется дополнительный контроль качества гладкости, приводящий к возрастанию стоимости.
Соответственно, согласно первому варианту воплощения конструкции двигателя транспортного средства, имеется возможность надежно ограничить вибрацию поддона 20 картера без существенного увеличения массы двигателя 10 или увеличения стоимости его производства. Таким образом, можно надежно предотвратить возрастание шума, источником которого является поддон 20 картера.
Кроме того, поскольку конструкция двигателя транспортного средства, выполненного согласно первому варианту воплощения, включает в себя блок 25, в котором пара реечных участков 21a и 21b поддона картера, пара боковых стенок 22a и 22b и цилиндрический участок 23 выполнены за одно целое из того же материала, что и блок цилиндров корпуса 10a двигателя, и крышку 26, выполненную из стальной пластины, которая покрывает днище этого блока 25, и при этом блок 25 эффективно предотвращает увеличение амплитуды вибрации поддона картера 20, то таким образом можно не допустить усиления издаваемого звука.
На фиг.5 показано сечение некоторой области цилиндрического участка поддона картера, который представляет собой часть конструкции двигателя транспортного средства, согласно второму варианту воплощения настоящего изобретения.
Этот второй вариант воплощения подобен упомянутому выше описанию первого варианта воплощения за исключением формы цилиндрического участка поддона картера у концевых областей этого цилиндрического участка. Таким образом, одинаковые участки обозначены теми же ссылочными позициями, как и соответствующие им участки первого варианта воплощения, и описание их опущено. В следующем ниже описании будут приведены различия между первым и вторым вариантами воплощения.
На фиг.5A показано сечение участка одной концевой области. При этом другая концевая область имеет подобную конфигурацию. Однако настоящее изобретение не ограничено случаем, когда концевые области имеет одинаковую конфигурацию. Верхняя половина 23c цилиндрического участка 23, которая размещена над ведущей осью 19R, имеет наклонную поверхность 37, которая проходит наклонно от верхних поверхностей реечных участков 21a и 21b поддона картера вниз к центральной области 23d цилиндрического участка 23.
Угол наклона наклонной поверхности 37 относительно присоединяющейся к ней поверхности 21m имеет большее значение у обеих концевых областей 23a и 23b цилиндрического участка 23 и уменьшается в направлении к центральной области 23d этого цилиндрического участка 23. А именно, угол наклона наклонной поверхности 37 относительно присоединяющейся с ней поверхности 21m или относительно линии, параллельной этой присоединяющейся поверхности 21m (например, обозначенной на фиг.5A штрих-двухпунктирной линией,) имеет меньшее значение у обеих концевых областей 23a и 23b и у центральной области 23d, при этом он имеет большее значение в области наклона 37h между центральной областью 23d и обеими концевыми областями 23a и 23b ( a< h, b< h, d< h на фиг.5A).
Угол наклона постепенно уменьшается к обеим концевым областям 37a и 37b наклонной поверхности 37 так, что наклонная поверхность 37 плавно соединяется с поверхностями 21m и центральной областью 23d цилиндрического участка 23 без какого-либо большого уступа.
На фиг.5A показано сечение цилиндрического участка 23. При этом предпочтительно, чтобы на фиг.5A радиус кривизны плавно соединяющихся участков наклонной поверхности 37 был большим, чем толщина t нижней половины цилиндрического участка 23, и большим, чем толщина центральной области 23d.
Сечение цилиндрического участка 23 в плоскости, перпендикулярной оси этого цилиндрического участка 23 у концевых областей 23a (23b) этого цилиндрического участка 23, имеет вертикально удлиненную форму, которая смещена так, чтобы ее центр располагался над центральной осью сквозного отверстия 23h. Форма этого сечения имеет, по существу, эллиптический внешний профиль, как это показано на фиг.5B или как на фиг.5C, где внешний профиль таков, что поперечная ширина его верхней половины 23c является меньшей, чем у формы, показанной на фиг.5B.
При этом верхняя половина 23c по сравнению с нижней половиной 23e может быть утолщена в направлении вверх, также и в центральной области 23d цилиндрического участка 23.
Согласно второму варианту воплощения настоящего изобретения цилиндрический участок 23 поддона 20 картера также обеспечивает достаточную степень усиления при небольшом количестве наплавки к верхней половине 23c цилиндрического участка 23.
Угол наклона наклонной поверхности 37 относительно присоединяющейся к ней поверхности 21m или относительно линии, параллельной этой присоединяющейся поверхности 21m (например, обозначенной на фиг.5A штрихдвухпунктирной линией), является малым у обеих концевых областей 23a и 23b и у центральной области 23d цилиндрического участка 23 и большим в наклонной области 37h между центральной областью 23d и концевыми областями 23a и 23b, так что в результате данный цилиндрический участок 23 способен обеспечить достаточную степень усиления.
Внешняя концевая область наклонной поверхности 37 у присоединяющейся к ней поверхности 21m реечного участка 21a (21b) поддона картера может иметь добавочную плоскость, выполненную вровень с этой присоединяющейся поверхностью 21m, причем внешняя концевая область наклонной поверхности 37 может резко переходить от этой добавочной плоскости к наклонной поверхности в наклонной области 37h. В этом случае угол наклона наклонной поверхности 37 относительно присоединяющейся к ней поверхности 21m будет большим у обеих концевых областей 23a и 23b цилиндрического участка 23, при этом он будет уменьшаться к центральной области 23d цилиндрического участка 23. Кроме того, верхняя половина 23c цилиндрического участка 23 может иметь большую толщину по сравнению с нижней половиной 23c в центральной области 23d цилиндрического участка 23.
На фиг.6 показано сечение у концевой области цилиндрического участка поддона картера, который является частью конструкции двигателя транспортного средства, согласно третьему варианту воплощения настоящего изобретения.
Этот третий вариант воплощения настоящего изобретения подобен упомянутому выше описанию первого варианта воплощения за исключением формы цилиндрического участка поддона картера у концевых областей цилиндрического участка. Исходя из этого, подобные участки на чертежах обозначены теми же самыми ссылочными позициями, что и соответствующие участки первого варианта воплощения, и описание их опущено. В следующем ниже описании будут описаны различия между первым и третьим вариантами воплощения.
На фиг.6A показано сечение участка у одной концевой области. При этом вторая концевая область имеет подобную же конфигурацию. Однако настоящее изобретение не ограничено случаем, когда концевые области имеют одинаковую конфигурацию. Верхняя половина 23c цилиндрического участка 23, которая размещена над ведущей осью 19R, имеет наклонную поверхность 47, которая проходит наклонно от верхних поверхностей реечных участков 21a и 21b поддона картера вниз к центральной области 23d цилиндрического участка 23.
Угол наклона наклонной поверхности 47 относительно присоединяющейся к ней поверхности 21m или относительно линии, параллельной этой присоединяющейся поверхности 21m (например, обозначенной на фиг.6A штрихдвухпунктирной линией), имеет большее значение в наклонной области 47h между центральной областью 23d и обеими концевыми областями 23a и 23b цилиндрического участка 23 и меньшее значение в центральной области 23d цилиндрического участка 23.
А именно, внешняя концевая область наклонной поверхности 47 у присоединяющейся к ней поверхности 21m реечного участка 21a (21b) поддона картера выполнена так, что эта присоединяющаяся к ней поверхность 21m имеет выполненную вровень с ней дополнительную плоскость 21e, при этом внешняя концевая область наклонной поверхности 47, резко и не прерываясь, переходит из этой дополнительной плоскости 21e в наклонную поверхность в наклонной области 47h. А именно, угол наклона наклонной поверхности 47 относительно присоединяющейся к ней поверхности 21m является углом d наклона, составляющим 10 или менее градусов, например, у центральной области 23d цилиндрического участка 23, и углом a наклона и углом h наклона, каждый из которых имеет большую величину, чем угол d наклона наклонной области 47h между центральной областью 23d и обеими конечными областями 23a и 23b цилиндрического участка 23 ( d< a, d< b, d< h).
Угол наклона постепенно уменьшается у внутренней концевой области 47b, являющейся одной из двух концевых областей 47a и 47b наклонной поверхности 47. С другой стороны, у внешней концевой области 47a наклонная поверхность 47 соединяется с дополнительной плоскостью 21e, относящейся к присоединяющейся поверхности 21m, под заданным углом a наклона так, что наклонная поверхность 47 плавно присоединяется к присоединяющейся поверхности 21m и центральной области 23d цилиндрического участка 23 без какого-либо большого уступа. Следует отметить, что в данном описании речь идет о правой концевой области 23a, хотя это описание также относится и к левой концевой области 23b, поскольку данный вариант воплощения относится к тому случаю, когда обе концевые области имеют одинаковую конфигурацию.
На фиг.6A показано сечение цилиндрической области 23. При этом предпочтительно, как показано на фиг.6A, чтобы радиус кривизны плавно соединяющихся областей наклонной поверхности 47 превышал толщину t нижней половины цилиндрического участка 23 и превышал толщину центральной области 23d.
Сечение цилиндрического участка 23 в плоскости, перпендикулярной оси этого цилиндрического участка 23 у концевой области 23a (23b) этого цилиндрического участка 23 имеет вертикально удлиненную форму, которая смещена так, чтобы ее центр располагался над центральной осью сквозного отверстия 23h. При этом форма сечения имеет такой внешний профиль, что верхняя половина 23с имеет, по существу, прямоугольную форму, углы которой имеют некоторое закругление, а нижняя половина 23е имеет, по существу, полукруглую форму, как это показано на фиг.6В. При этом в точке вблизи центральной области 23d цилиндрического участка 23 относительно обеих концевых областей 23a и 23b цилиндрического участка 23 данная форма сечения имеет, по существу, эллиптический внешний профиль, как это показано на фиг.6C.
Согласно третьему варианту воплощения настоящего изобретения, цилиндрический участок 23 поддона 20 картера также позволяет обеспечить достаточную степень усиления при небольшом количестве наплавки к верхней половине 23c цилиндрического участка 23.
При этом угол наклона наклонной поверхности 47 относительно присоединяющейся к ней поверхности 21m или относительно линии, параллельной этой присоединяющейся поверхности 21m, является малым у центральной области 23d цилиндрического участка 23 и большим у обеих концевых областей 23a и 23b и в наклонной области 47h между центральной областью 23d и обеими концевыми областями 23a и 23b, в результате чего цилиндрический участок 23 способен обеспечить достаточную степень усиления.
Согласно описанным выше воплощениям настоящего изобретения в конструкции двигателя транспортного средства одна концевая область или обе концевые области цилиндрического участка поддона картера, через который проходит ведущая ось, располагаются рядом с реечными участками этого поддона картера, чтобы быть прикрепленными к днищу корпуса двигателя, при этом они могут функционировать в качестве областей усиления, которые эффективно минимизируют деформацию реечных участков поддона картера в определенном направлении. Таким образом, можно надежно ограничить вибрацию поддона картера и не допустить громкого шума без существенного увеличения массы двигателя или возрастания стоимости производства двигателя. Настоящее изобретение уместно применять в такой конструкции двигателя транспортного средства, где ведущая ось, служащая для привода ведущих колес, проходит через поддон картера, установленный на днище двигателя.
В то время как настоящее изобретение было описано со ссылкой на вышеупомянутые варианты воплощения, следует понимать, что это изобретение не ограничивается этими примерами воплощений или конструкций. Напротив, настоящее изобретение предполагает использование различных модификаций и эквивалентных конструкций. К тому же, в то время как различные элементы приведенных для примера вариантов воплощения показаны в различных комбинациях и конфигурациях, которые даны только в качестве примера, другие комбинации и конфигурации, включающие большее или меньшее число элементов или только один единственный элемент, также не выходят за рамки объема и идеи настоящего изобретения. Например, формы сечения и формы наклонной поверхности в вышеупомянутых вариантах воплощений могут использоваться в различных комбинациях.
Формула изобретения
1. Конструкция двигателя транспортного средства, отличающаяся тем, что она содержит: (a) корпус (10а) двигателя; и (b) поддон (20) картера, закрепленный под корпусом (10а) двигателя, через который проходит ведомая двигателем (10) ведущая ось (19L, 19R) для привода ведущего колеса (14L, 14R) транспортного средства, при этом поддон (20) картера включает в себя: пару реечных участков (21а, 21b) поддона картера, которые отстоят друг от друга и прикреплены к корпусу (10а) двигателя; пару обращенных друг к другу боковых стенок (22а, 22b), выполненных за одно целое с реечными участками (21а, 21b) поддона картера и находящихся под этими реечными участками (21а, 21b) поддона картера; и цилиндрический участок (23), который окружает ведущую ось (19L, 19R) и объединен в одно целое с парой боковых стенок (22а, 22b) вблизи пары реечных участков (21а, 21b) поддона картера, при этом у, по меньшей мере, одного осевого конца (23а, 23b) цилиндрического участка (23) верхняя половина (23с) цилиндрического участка (23), расположенная над ведущей осью (19L, 19R), имеет утолщение, которое направлено вверх и доходит до уровня верхней поверхности, прилегающей к поверхности реечных участков (21а, 21b) поддона картера.
2. Конструкция по п.1, отличающаяся тем, что у одного конца (23а, 23b) цилиндрического участка (23) внешний профиль сечения цилиндрического участка (23) имеет, по существу, эллиптическую форму, форму, полученную в результате уменьшения поперечной ширины верхней половины (23с), имеющей, по существу, эллиптическую форму, или форму, в которой часть, соответствующая верхней половине (23с), имеет, по существу, прямоугольную форму, углы которой несколько закруглены, и в которой часть, соответствующая нижней половине (23е) цилиндрического участка (23) и расположенная под ведущей осью (19L, 19R), имеет, по существу, полукруглую форму.
3. Конструкция по п.1, отличающаяся тем, что толщина верхней половины (23с) цилиндрического участка (23) в вертикальном направлении превышает толщину в вертикальном направлении нижней половины (23е) цилиндрического участка (23), размещенной ниже ведущей оси (19L, 19R).
4. Конструкция по любому из пп.1-3, отличающаяся тем, что поперечная ширина сечения утолщенной области верхней половины (23с) равна или меньше максимальной поперечной ширины цилиндрического участка (23).
5. Конструкция по любому из пп.1-3, отличающаяся тем, что верхняя половина (23с) имеет наклонную поверхность (27, 37, 47), наклон которой начинается от верхней поверхности прилегающего к ней одного из реечных участков (21 а, 21b) поддона картера и спускается вниз к осевой центральной области (23d) цилиндрического участка (23).
6. Конструкция по п.5, отличающаяся тем, что угол ( ) наклона наклонной поверхности (27, 37, 47) относительно верхней поверхности прилегающего к ней одного из реечных участков (21а, 21b) поддона картера больше в месте вблизи одного конца (23а, 23b) цилиндрического участка (23), чем угол ( ) наклона в месте вблизи осевой центральной области (23d) цилиндрического участка (23).
7. Конструкция по п.5, отличающаяся тем, что угол ( ) наклона наклонной поверхности (27, 37, 47) относительно верхней поверхности прилегающего к ней одного из реечных участков (21а, 21b) поддона картера меньше в месте вблизи одного конца (23а, 23b) цилиндрического участка (23) и в месте вблизи осевой центральной области (23d) цилиндрического участка (23), чем угол ( ) наклона в наклонной области между одним концом (23а, 23b) цилиндрического участка (23) и осевой центральной областью (23d) цилиндрического участка (23).
8. Конструкция по п.5, отличающаяся тем, что она имеет дополнительную плоскость (21е), проходящую от одного конца (23а, 23b) цилиндрического участка (23) к осевой центральной области (23d) цилиндрического участка (23) на том же самом уровне, что и уровень верхней поверхности прилегающего к ней одного из реечных участков (21а, 21b) поддона картера, при этом наклонная поверхность (27, 37, 47) плавно соединена с дополнительной плоскостью (21е).
9. Конструкция по п.5, отличающаяся тем, что форма сечения наклонной поверхности (27, 37, 47) в плоскости, перпендикулярной оси цилиндрического участка (23), на внутренней стороне, там где наклонная поверхность (27, 37, 47) соединяется с внешней поверхностью верхней половины (23с), имеет, по существу, дугообразную форму, а форма сечения наклонной поверхности (27, 37, 47) в плоскости, перпендикулярной оси цилиндрического участка (23), на внешней стороне у реечного участка (21а, 21b) поддона картера имеет, по существу, прямоугольную форму, углы которой закруглены, и между внутренней стороной и внешней стороной от центральной области (23d) цилиндрического участка (23) в направлении к реечному участку (21а, 21b) поддона картера форма сечения наклонной поверхности (27, 37, 47) плавно изменяется от, по существу, дугообразной до, по существу, прямоугольной, углы которой закруглены.
10. Конструкция по любому из пп.1-3, отличающаяся тем, что двигатель (10) является продольно установленным двигателем, при этом ведущая ось (19L, 19R) проходит от дифференциала (18), расположенного на одной стороне двигателя (10), к ведущему колесу (14L, 14R) транспортного средства.
11. Конструкция по любому из пп.1-3, отличающаяся тем, что поддон картера (20) включает в себя: блок (25), в котором имеется пара реечных участков (21a, 21b) поддона картера, пару боковых стенок (22а, 22b) и цилиндрический участок (23), которые выполнены из того же материала, что и блок цилиндров корпуса (10а) двигателя; а также крышку (26), выполненную из стального листа, которая покрывает днище блока (25).
РИСУНКИ
|
|