|
|
(21), (22) Заявка: 2008145905/06, 09.03.2007
(24) Дата начала отсчета срока действия патента:
09.03.2007
(30) Конвенционный приоритет:
21.04.2006 EP 06008321.9
(46) Опубликовано: 20.08.2010
(56) Список документов, цитированных в отчете о поиске:
WO 2005/00351 A1, 13.01.2005. SU 194106 A, 30.03.1967. SU 1792118 A1, 20.03.1996. SU 1524592 A1, 20.08.2004. US 6298667 B1, 09.10.2001. US 2005/217270 A1, 06.10.2005.
(85) Дата перевода заявки PCT на национальную фазу:
21.11.2008
(86) Заявка PCT:
EP 2007/052235 20070309
(87) Публикация PCT:
WO 2007/122040 20071101
Адрес для переписки:
129090, Москва, ул.Б.Спасская, 25, стр.3, ООО “Юридическая фирма Городисский и Партнеры”, пат.пов. А.В.Мицу, рег. 364
|
(72) Автор(ы):
БЕЕК Александр Ральф (US), ХОФФМАНН Штефан (DE)
(73) Патентообладатель(и):
СИМЕНС АКЦИЕНГЕЗЕЛЛЬШАФТ (DE)
|
(54) ЛОПАСТЬ ТУРБИНЫ
(57) Реферат:
Лопасть турбины выполнена со стенкой (30, 32) лопасти и с первым каналом (36) для введения первой среды (М1) и вторым каналом (38) для введения второй среды (М2), подводимой к лопасти (20) отдельно от первой среды (М1). Лопасть (20) имеет, по меньшей мере, одну камеру (40) для перемешивания в единую смесь двух отдельно подводимых сред (М1, М2), расположенную внутри или в стенке (30, 32) лопасти и соединенную с каждым из двух каналов (36, 38) соединительным трубопроводом (42, 44). Для отвода смеси из камеры (40), по меньшей мере, один соединенный с камерой (40) выпускной канал (46) входит в камеру с горячим газом (18). Камера (40) и/или выпускной канал (46), по меньшей мере, частично ограничиваются или образованы находящейся в стенке (30, 32) вставкой (50). Изобретение направлено на упрощение изготовления лопасти турбины с наименьшими затратами. 2 н. и 24 з.п. ф-лы, 13 ил.
Изобретение касается лопасти турбины со стенкой лопасти и первым каналом для введения первой среды и вторым каналом для введения второй среды, подводимой к турбинной лопасти (20) отдельно от первой среды, причем лопасть турбины имеет, по меньшей мере, одну камеру для перемешивания в единую смесь двух отдельно подводимых сред, расположенную внутри или в стенке лопасти и соединенную с каждым их двух каналов соединительным трубопроводом.
Турбинная лопасть такого рода, например, известна из WO 2005/3117. Стенки лопасти, образующие корпус лопасти, окружают полость, в которой находится поток охлаждающего воздуха. Кроме того, в стенке лопасти турбины предусмотрены и другие каналы для введения второй среды, а именно топлива. Через несколько проходящих через стенку лопасти турбины сквозных отверстий поток охлаждающего средства, проходящий внутри турбинной лопасти, может выходить наружу в камеру с горячим газом. Чтобы горючая смесь образовывалась еще в стенке лопасти, в последней предусмотрены соединительные трубопроводы, соединяющие каналы, по которым проходит топливо, со сквозными отверстиями. Таким образом, горючее может смешиваться с охлаждающим воздухом, еще находясь в сквозных отверстиях, и в виде горючей смеси втекать в обтекающий лопасть турбины горячий газ. С помощью такой турбинной лопасти путем сжигания смеси можно подогревать как горячий газ, протекающий через турбину, так и выходящий из турбины охлаждающий воздух, что в общем случае выполняется для повышения коэффициента использования мощности газовой турбины, уменьшения эмиссии вредных веществ и улучшения коэффициента полезного действия газовой турбины и известно как одна из форм карнотизации. Эта форма дополнительного обогащения горячего газа энергией в турбине известна также под названием «in-sutu blade reheat».
Кроме того, из WO 99/46540 A1 известна камера сгорания с множеством пористых элементов, играющих роль термического щита, через которые дополнительно, т.е. вне горелок газовой турбины, горючая смесь может вводиться в камеру сжигания газовой турбины.
Недостаток турбинной лопасти, известной из уровня техники, касается изготовления каналов, камеры и выпускного канала, поскольку турбинная лопасть и ее полости изготавливаются методом литья. Изготовление этих полостей связано со сравнительно большими затратами, связанными с чаще всего сложной конфигурацией стержней. К тому же необходим стержень и/или оболочка со сложной структурой, соответствующей заданной структуре полости, надежное и точное расположение которых в литейной оснастке требует, однако, больших расходов и всегда является трудоемким, так что при литье турбинных лопастей с такими сложными структурами чаще всего образуется повышенный процент брака.
Если же, напротив, изготавливать предусмотренные в стенке лопасти полости посредством различных покрытий, то особенно затратным рабочим шагом, приводящим к замедлению и удорожанию производства, будет являться необходимая для этого маскировка непокрытых необработанных деталей.
Соответственно, задача настоящего изобретения заключается в предоставлении лопасти турбины соответствующего типа, процесс изготовления которой был бы особенно прост и не требовал бы больших затрат.
Предлагаемое изобретением решение предусматривает, что камера и/или выпускной канал, по меньшей мере, частично ограничиваются или образуются находящейся в стенке вставкой.
Изобретение исходит из известного факта, что изготовление турбинной лопасти будет наиболее простым, если полости внутри или в стенке лопасти турбины, необходимые для введения или смешивания двух сред, будут изготавливаться не одновременно со стенкой лопасти, а за один или несколько рабочих шагов, выполняемых параллельно. Предлагается изготовить турбинную лопасть составной, состоящей из основного корпуса и, по меньшей мере, одной вставки, причем основной корпус включает стенку лопасти турбины, в которую вставляется вставка. Благодаря этому появляется возможность изготовить основной корпус с простой структурой с выемкой, предусмотренной для вставки, а также вставку с полостями сложных структур с помощью привычных рабочих инструментов и соответственно с низкими затратами.
Следовательно, изобретением предлагается особенно простая и не требующая больших затрат турбинная лопасть, благодаря чему может быть сокращен процент брака, возникающего при изготовлении. В частности, таким образом можно сократить процент брака преимущественно литого основного корпуса. Кроме того, путем применения различных вставок в идентичных основных корпусах, расположенных на их наружной поверхности, можно изготавливать с низкими затратами множество вариантов турбинных лопастей различного действия.
Другим преимуществом раздельного изготовления компонентов турбинной лопасти является повышенная точность изготовления. Допуски как основного корпуса, так и вставки могут выбираться более узкими без одновременного увеличения процента брака. Если, например, вставка со сложной структурой не удовлетворяет конструктивным требованиям в отношении размеров, то непригодным к использованию браком будет исключительно сама вставка, а не весь узел. Это сэкономит затраты на изготовление.
В приведенных ниже пунктах указаны наиболее предпочтительные варианты осуществления изобретения.
По первому варианту осуществления изобретения стенка лопасти имеет на своей наружной поверхности, обращенной к камере с горячим газом, выемку с прямоугольным или, в отдельных случаях, круглым контуром, в которую вставлена вставка с контуром, соответствующим контуру выемки. В частности, круглые выемки в стенке лопасти могут изготавливаться особенно простым и не требующим больших затрат способом, например механической обработкой. Так же без больших затрат вставка может быть изготовлена из цилиндрического, например, цельного металлического тела, в котором затем выполняются выпускные каналы с точными геометрическими параметрами. Выемки, имеющие в основном прямоугольные контуры, можно изготавливать в наружной поверхности стенки лопасти, например, путем фрезерования.
Вместо выемки, изготовленной сверлением или фрезерованием, поскольку стенка лопасти и соответственно основной корпус изготавливаются путем литья, можно изготавливать выемку под вставку с помощью оболочки или стержня соответствующей формы непосредственно в процессе литья. Также представляется мыслимым использовать вставку как часть стержня в литейной оснастке, причем, однако, вставка заливается вместе с изготавливаемой турбинной лопастью и остается в ней после удаления остальных частей стержня.
По второму предпочтительному варианту осуществления изобретения предусмотрено некоторое количество камер в турбинной лопасти или в стенке лопасти, причем каждой камере соответствует, по меньшей мере, один выпускной канал. Благодаря этому турбинная лопасть имеет не один только, а множество выпускных каналов, через которые смесь можно вдувать в камеру с горячим газом. Как следствие, это делает возможным плоскостное введение смеси в камеру с горячим газом.
По еще одному варианту осуществления в выпускном канале предусмотрены элементы завихрения, которые приводят к дополнительному, особенно эффективному перемешиванию двух сходящихся в камере сред. Это, в частности, дает преимущество тогда, когда одна из двух сред является горючим, а другая среда – окислителем для этого горючего. Окислителем преимущественно является охлаждающий воздух, который предусмотрен для охлаждения лопасти турбины и соответственно ограничивающей камеру с горячим газом стенки лопасти. Благодаря особенно эффективному и, следовательно, гомогенному перемешиванию двух сред, в данном случае после поступления смеси в камеру горячих газов, может произойти самовоспламенение смеси, вызванное возникающими там температурами, которое используется для дополнительного нагрева с низкой эмиссией горячего газа, проходящего через турбину, и соответственно для дополнительного нагрева охлаждающего воздуха. После самовозгорания смеси она сгорает с образованием пламени предварительной смеси с низкой эмиссией и за счет теплоотдачи увеличивает энергоемкость горячего газа, что приводит к повышению отдаваемой полезной мощности турбины, оснащенной этой лопастью.
По другому альтернативному варианту осуществления представляется мыслимым, что каждая камера и соответствующий ей выпускной канал образуются отдельной вставкой. Это позволит использовать различные вставки в зависимости от конкретных требований к вытекающей смеси и соответственно в зависимости от краевых условий, возникающих в камере с горячим газом.
По предпочтительному варианту группа камер с выпускными каналами, соединенными с этими камерами, может быть образована посредством одной-единственной отдельной вставки. Такого рода вариант осуществления позволяет получить турбинную лопасть с небольшим количеством вставок.
Кроме этого предлагается, чтобы каждая вставка имела несколько выпускных каналов, которые соединяли бы общую камеру с камерой с горячим газом. Это позволит получить особенно простые вставки.
Далее, изобретением предлагается, чтобы вставка выполнялась из нескольких частей. Вставка, состоящая из нескольких частей, позволит осуществлять изготовление выпускных каналов с особенно низкими затратами и простотой, в случаях если они должны иметь расположенные внутри наружные поверхности, требующие несколько более высоких затрат; например, если на расположенной внутри наружной поверхности выпускного канала предусмотрены турбуляторы или элементы завихрения. Вставка может, например, быть образована несколькими слоевыми элементами, уложенными штабелем друг на друга и при этом образующими камеру и/или выпускные каналы. Например, вставка может также состоять из нескольких элементов, самый наружный из которых – элемент, обращенный к камере с горячим газом, – изготавливается из пористого материала или металлической пены. Но вставка может также полностью состоять из пористого материала или пены. Пористый материал и металлическая пена являются наиболее подходящими материалами для равномерного распыления смеси по их наружной поверхности, обращенной к горячему газу, по типу плоскостного эффузионного охлаждения. В частности, если смесь пригодна для дополнительного нагрева горячего газа, проходящего через турбину, может происходить сжигание смеси с наиболее низкой эмиссией благодаря образующемуся микродиффузионному пламени.
Далее, предлагается, чтобы выпускной канал входил в стенку лопасти в той области, в которую попадают возникающие в горячем газе ударные волны. Возникающие в горячем газе ударные волны приводят к еще большему улучшению и соответственно перемешиванию двух сред, (предварительно) смешанных в камере, что, в свою очередь, оказывает положительное воздействие на сжигание смеси вследствие самовозгорания.
Если турбинная лопасть включает корпус лопасти, который имеет стенку лопасти со стороны всасывания и стенку лопасти с напорной стороны, причем стенки лопасти располагаются вдоль хорды от передней кромки к задней кромке и имеют длину этой хорды, и при этом выпускной канал – если смотреть в направлении потока горячего газа, обтекающего корпус лопасти, – входит в наружную поверхность стенки лопасти, расположенной на стороне всасывания, в задней трети длины этой хорды, перемешивание может быть особенно эффективным и поддерживаться возникающими в горячем газе завихрениями, так как преимущественно в этой области ударные волны попадают в корпус лопасти турбины.
Стенка турбинной лопасти образуется преимущественно литым основным корпусом. В этом случае вставка, вставленная в выемку стенки, сварена или спаяна с литым основным корпусом, чтобы обеспечить особенно надежную посадку вставки в стенке лопасти. Кроме того, бесконечный сварной шов, соединяющий вставку с основным корпусом и расположенный вдоль соединительного контура, позволяет получить газонепроницаемое закрытие камеры, по меньшей мере, частично ограниченной вставкой.
Разумеется, предложенная турбинная лопасть может также применяться для ввода других жидких сред в качестве топлива или воздуха внутри турбины независимо от того, газовая это турбина или паровая.
Выдувание двух сред осуществляется в общем случае способом, обуславливающим, кроме того, наиболее ускоренное перемешивание в камере с горячим газом после наикратчайшего участка пути и через наикратчайшее время. Тем самым обеспечивается, что в камере с горячим газом чрезвычайно гомогенная смесь из двух сред для дополнительного нагрева горячего газа, проходящего через турбину, самовоспламеняется вследствие возникающих в горячем газе температур. Это позволяет добиться сжигания приготовленной во время первого шага смешивания горючей смеси с особенно низкой эмиссией благодаря пламени предварительной смеси.
Благодаря смешиванию, происходящему на протяжении короткого реакционного участка и короткого времени реакции, достигается, кроме того, сгорание смеси еще до выхода из камеры с горячим газом, имеющей форму кольцеобразного канала, так как увеличение энергии горячего газа, происходящее благодаря дополнительному нагреву горячего газа или охлаждающего воздуха, только тогда способствует увеличению мощности и КПД турбины, когда дополнительно нагретый газ или дополнительно нагретый охлаждающий воздух еще протекает по лопастям турбины для преобразования энергии потока в механическую энергию.
Предпочтительные варианты осуществления указаны в приведенных ниже пунктах и служат для дополнительного пояснения изобретения с перечислением других преимуществ.
Показаны:
фиг.1 – газовая турбина – фрагмент продольного сечения,
фиг.2 – корпус турбинной лопасти – изображение в перспективе,
фиг.3 – цилиндрическая вставка корпуса турбинной лопасти – изображение в перспективе,
фиг.4 – сечение вставки, изображенной на фиг.3,
фиг.5 – распределение давления вдоль стенки корпуса лопасти турбины, расположенной на стороне всасывания и на напорной стороне,
фиг.6 – схема поперечного сечения корпуса турбинной лопасти,
фиг.7 – поперечное сечение вставки, состоящей из слоевых элементов, уложенных штабелем,
фиг.8 – трехмерный чертеж вставки, показанной на фиг.7,
фиг.9 – фрагмент сечения – вид в перспективе передней кромки корпуса турбинной лопасти,
фиг.10 – передняя кромка турбинной лопасти – сечение в перспективе,
фиг.11 – вставка, показанная на фиг.12, перспективный трехмерный чертеж,
фиг.12 – сечение изображения в перспективе передней кромки турбинной лопасти со вставкой прямоугольного контура – и
фиг.13 – стенка лопасти – поперечное сечение с пористым слоистым элементом в качестве вставки.
На фиг.1 показан фрагмент продольного сечения газовой турбины 1. Она имеет внутри ротор 3, установленный на опоре, вращающейся вокруг оси вращения 2, называемый также ротором турбины. Вдоль ротора 3 следуют друг за другом всасывающий корпус 4, компрессор 5, торообразная кольцевая камера сгорания 6 с несколькими центрально симметрично расположенными по отношению друг к другу горелками 7, турбоагрегат 8 и корпус отходящих газов 9. Кольцевая камера сгорания 6 образует камеру сжигания 17, связанную с кольцеобразной камерой с горячим газом 18. Там четыре последовательно включенные ступени турбины 10 образуют турбоагрегат 8. Каждая ступень турбины 10 образована двумя кольцами лопастей. Если смотреть в направлении потока горячего газа 11, создаваемого в кольцевой камере сгорания 6, в камере с горячим газом 18 за каждым рядом направляющих лопаток 13 следует ряд 14, образованный рабочими лопастями 15. Направляющие лопасти 12 прикреплены к статору, рабочие же лопасти 15 ряда 14, наоборот, соответственно прикреплены к ротору 3 с помощью диска турбины. На роторе 3 установлен генератор, или рабочая машина (не показан).
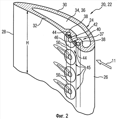
Для того чтобы в соответствии с процессом in-situ blade reheat подогреть в области турбоагрегата 8 горячий газ 11, протекающий через камеру с горячим газом 18, ограничивающие камеру с горячим газом 18 стенки и/или расположенные в камере с горячим газом 18 корпуса турбинных лопастей 20 выполнены в виде узлов 22 соответствующим этому образом. В пояснение этому на фиг.2 показан имеющий форму несущего крыла корпус 24 литой турбинной лопасти 20, который может быть выполнен в виде рабочей лопасти 15 или направляющей лопатки 12. Корпус 24 лопасти проходит вдоль хорды, длина которой равна расстоянию от передней кромки 26 до задней кромки 28, если смотреть в направлении потока горячего газа 11. При этом корпус 24 лопасти имеет на стороне всасывания стенку лопасти 30, а на напорной стороне стенку 32 лопасти, которая соответственно соединяет переднюю кромку 26 с задней кромкой 28. Полость 34, заключенная между стенками 30, 32 лопасти, проходит по всей высоте Н корпуса 24 лопасти и образует первый канал 36, по которому проходит поток первой среды М1, например охлаждающего воздуха. Охлаждающий воздух постоянно защищает материал, образующий стенки 30, 32 лопасти, от вредного влияния горячего газа 11, в частности от его высоких температур, при использовании открытого охлаждения.
Если посмотреть на поперечное сечение, часть 37 находящейся на напорной стороне стенки 32 лопасти выполнена несколько толще, чем остальная часть стенки 32 лопасти, так что в этой утолщенной части 37 можно выполнить два проходящих в стенке канала 38, которые проходят, в основном, над высотой Н корпуса 24 лопасти, совпадающей с радиальным направлением ротора 3 газовой турбины 1.
К каждому второму каналу 38 может быть подведена вторая среда М2, которая только непосредственно перед вдуванием в горячий газ 11, обтекающий корпус 24 лопасти, должна смешиваться со средой М1. Для этого предусмотрена смесительная камера 40, в которой впервые смешиваются среды М1, М2, раздельно подводимые к турбинной лопасти 20.
Чтобы подвести первую среду М1 к камере 40, между первым каналом 36 и камерой 40 проходит первый соединительный канал 42. Первый соединительный канал 42 выполнен в виде отверстия, которое проходит через утолщенную часть 37 расположенной на напорной стороне стенки 32 лопасти. При этом соединительный канал 42 в предлагаемом исполнении предусмотрен между двумя проходящими в радиальном направлении вторыми каналами 38.
Подвод второй среды М2, например горючего, к камере 40 осуществляется через вторые соединительные каналы 44, которые проходят между вторыми каналами 38 и камерой 40. По выпускному каналу 46 можно выпускать образующуюся в камере 40 смесь из турбинной лопасти 20 и впускать ее в камеру с горячим газом 18, чтобы там, сжигая ее, повышать КПД турбины 8 путем карнотизации.
Для наиболее простого и малозатратного изготовления вышеназванного корпуса 24 лопасти представленная структура системы каналов 45, состоящая из первых и вторых каналов 36, 38, а также первых и вторых соединительных каналов 42, 44, камеры 40 и выпускного канала 46, изготавливается в модульном исполнении. Для этого изобретение предлагает в основном корпусе или в стенке лопасти 30, 32 предусмотреть вставку 50, которая, по меньшей мере, частично ограничивает камеру 40 и в которой выполнен выпускной канал 46. В аэродинамически выпуклой наружной поверхности корпуса 24 лопасти или в основном корпусе имеется выемка для вставки 50, не оказывающая негативного влияния на прочность детали 22 или турбинной лопасти 20. Это справедливо особенно тогда, когда выемка предусматривается в утолщенной части 37 стенки 32 лопасти. Благодаря отдельно вставляемой вставке 50 можно комбинировать высокую гибкость и точность вдувания смеси в камеру с горячим газом 18 с хорошими возможностями изготовления детали 22.
В турбинную лопасть 20, показанную на фиг.2, вставлены несколько предусмотренных в утолщенной части 37 стенки 32 лопасти вставок 50 с соответствующими круглыми контурами, находящиеся в выемках соответствующей этим контурам формы, каждая из которых, по меньшей мере, частично ограничивает одну из камер 40 и имеет выпускной канал 46. Глубина каждой выемки выбрана так, чтобы она соответствовала толщине соответствующей вставки во избежание выступающих из стенки лопасти кромок в интересах аэродинамики. Вставка 50 может быть соединена вдоль своего круглого или любого иного контура со стенкой 32 лопасти бесконечным замкнутым сварным или паяным швом, обеспечивающим ее плотную посадку в стенке лопасти 32.
Вставленная в стенку 32 купонообразная вставка 50 показана на фиг.3 в перспективном изображении и на фиг.4 в сечении. Основной составляющей частью вставки 50 является цилиндрическое тело, или купон, в котором расположено концентрическое центральное отверстие 52, образующее выпускной канал 46. Два других отверстия 54, проходящих перпендикулярно центральному отверстию 52, входят в него и образуют, таким образом, вторые соединительные каналы 44. Таким образом, камера 40, в которой сначала перемешиваются две текущие в турбинной лопасти 20 среды М1, М2, предусмотрена внутри вставки 50 и поэтому полностью ограничена вставкой 50. Вследствие этого и соединительные каналы 42, 44 плавно переходят в камеру 40.
При этом расположенные в ряд выпускные каналы 46 равномерно распределены по проходящей в радиальном направлении высоте Н корпуса 24 лопасти, так что горячий газ 11, текущий перпендикулярно этому ряду по всей высоте Н корпуса 24 лопасти, может обрабатываться равномерно вместе со смесью.
С помощью такого рода турбинной лопасти 20 с корпусом 24 лопасти и несколькими вставками 50 можно производить добавление и перемешивание жидкостей в турбинной лопасти 20 сравнительно просто, не испытывая ненужных технических трудностей, связанных с литьем корпуса или стенок 30, 32 лопасти.
Согласно фиг.6 вставки 50 могут быть предусмотрены в той области турбинной лопасти 20, в которой ударные волны горячего газа 11 попадают в турбинную лопасть 20. Это, в частности, дает преимущество тогда, когда речь идет о смеси, являющейся горючей смесью, которая продолжает перемешиваться благодаря ударным волнам и благодаря температуре, устанавливающейся в горячем газе 11, должна сжигаться путем самовозгорания для подогрева охлаждающего воздуха или горячего газа 11. В этом случае особенно хорошее перемешивание смеси приводит к сгоранию с особенно малой эмиссией, так что благодаря этому энергия, подведенная к горячему газу 11 дополнительно, т.е. вне камеры сгорания, может вырабатываться с особенно малой эмиссией. Подведенная энергия может соответственно использоваться для повышения мощности газовой турбины и для повышения коэффициента полезного действия.
На фиг.5 показано изменение давления в горячем газе 11 вдоль длины хорды турбинной лопасти 20. При этом характеристика, обозначенная PS, показывает давление в горячем газе 11, которое возникает вдоль стенки лопасти 32, находящейся с напорной стороны, а линия, обозначенная SS, показывает изменение давления потока горячего газа 11 вдоль стенки лопасти 30, находящейся со стороны всасывания. Вставки 50 и вместе с ними вдувание смеси в горячий газ 11 выполняются в соответствующих местах, что показано на фиг.6. Например, вставки 50 предусмотрены в задней трети стенки лопасти 30, находящейся со стороны всасывания, если измерить расстояние между передней кромкой 26 и задней кромкой 28 корпуса 24 лопасти и/или в передней трети стенки лопасти 32, находящейся с напорной стороны, так как на этих участках в горячем газе 11 и так уже имеющиеся завихрения, например ударные волны или турбулентный след, сталкиваются со стенками 30, 32 лопасти. В любом случае на режим перемешивания смеси с горячим газом 11 можно существенно влиять с помощью поля потока и поля давлений горячего газа 11, обтекающего лопасть 24, в зависимости от расположения места вдувания смеси.
На фиг.7 показана еще одна вставка 50 в сечении, а на фиг.8 показана вставка 50, представленная на фиг.7, в трехмерном изображении. Вставка 50, показанная на фиг.7, включает три расположенных послойно цилиндрических слоевых элемента 60, 62, 64, позволяющих просто и с небольшими затратами изготовить особенно сложную систему каналов с камерой 40 и выпускной канал 46. Три слоевых элемента 60, 62, 64 имеют выемки различного исполнения, которые, однако, вследствие непосредственного прилегания друг ко другу слоевых элементов 60, 62, 64 переходят друг в друга и образуют показанную на фиг.7 траекторию потока или систему каналов. Вставка 50 может, например, вставляться в стенку лопасти 32 или платформу турбинной лопасти 20. Слоевой элемент 64 имеет к тому же три отверстия 66, 68, 70, причем к отверстию 66 во встроенном состоянии можно подводить первую среду М1, а к отверстиям 68, 70 вторую среду М2. Обе среды М1, М2, направляющиеся во вставку 50, благодаря перепаду давлений текут в ту область, в которой они перемешиваются. Этой областью является камера 40, которая в этом случае ограничивается как слоевым элементом 64, так и слоевым элементом 62. Отсюда смесь поступает дальше по извилистому каналу, который ограничивается двумя слоевыми элементами 60, 62. Извилистый канал представляет собой выпускной канал 46 и входит в отверстие 49, предусмотренное в наружной поверхности 51 слоевого элемента 60. Наружная поверхность 51 слоевого элемента 60 во встроенном состоянии подвергается действию горячего газа 11, так что смесь, образовавшаяся в камере 40 после вытекания из выпускного канала 46, может втекать в горячий газ 11. Слоевые элементы 60, 62 имеют, в зависимости от вида выступающих зубьев 72, смесительные элементы 74 или завихрительные элементы различной формы, позволяющие получить извилистую форму выпускного канала 46. Особенно гомогенное перемешивание смеси, текущей через выпускной канал 46, достигается благодаря извилистой форме и сравнительно длинному смесительному участку, т.е. выпускному каналу 46, что было бы почти невозможно при традиционном изготовлении корпуса 24 лопасти литьем. Для случая когда речь идет о горючей смеси, она может затем сжигаться с малой эмиссией в камере с горячим газом 18 для подогрева горячего газа 11.
Другой вариант осуществления изобретения показан на фиг.9, по этому варианту в расположенной на стороне всасывания стенке 30 турбинной лопасти 20 имеются практически прямоугольные выемки, в которые вставлены вставки 50 соответствующей формы. В каждой из вставок 50 предусмотрено несколько отверстий 78, которые со стороны входа соединены со вторым каналом 38, образованным вставленным в стенку патрубком 80, а со стороны выхода входят в камеру с горячим газом 18. Патрубок 80, имеющий другие отверстия 82, являлся частью литейного стержня, который после литья корпуса 24 лопасти остался в нем. Среда М1, подводимая в первый канал 36, поступает в камеру 40 через первые соединительные каналы 42, расположенные во вставке 50. Вторая среда М2, выходящая из второго канала 38 через другие отверстия 82, поступает через вторые соединительные каналы 44 в камеру 40 и смешивается в этом месте с первой средой М1, а затем образующаяся при этом смесь поступает через выпускной канал 46 в камеру с горячим газом 18.
Еще один вариант осуществления изобретения показан на фиг.10, на которой цельная вставка 50 вставлена в переднюю кромку 26 турбинной лопасти 20. В камере 40, предусмотренной во вставке 50, перемешиваются две среды М1 и М2, которые подаются и отводятся из нее показанным на фиг.2 образом.
Поскольку смесь вытекает у передней кромки 26 турбинной лопасти, чтобы подогреть горячий газ 11, можно получить участок реакции наибольшего размера, так как смесь должна сгореть не позднее, чем при достижении расположенного ниже по направлению потока ряда лопастей.
На фиг.11 показана еще одна состоящая из трех слоевых элементов 60, 62, 64 вставка 50 в трехмерном изображении. Благодаря слоевым элементам 60, имеющим различные выемки, можно раздельно подводить в камеру 40 первую среду М1 и вторую среду М2, которые могут перемешиваться в ней и выдуваться через выпускной канал 46 в горячий газ 11. Как показано на фиг.12, вставка 50, образованная тремя прилегающими друг к другу слоевыми элементами 60, 62, 64, может быть предусмотрена в передней кромке 26 турбинной лопасти 20.
Слоевой элемент 64, который вначале должен был применяться в турбинной лопасти 20, имеет множество сверленых первых и вторых соединительных каналов 42, 44. Сверленые соединительные каналы 42, 44 должны выполняться с повышенной точностью по сравнению с изготовлением путем литья, надежно, так чтобы получить возможность дозирования по потребности вытекающих через них сред М1, М2. Прилегающий к ним слоевой элемент оснащен несколькими соответственно соосными одному первому и одному второму соединительному каналу 42, 44 прямоугольными выемками, каждая из которых частично ограничивается камерой 40. В расположенном в турбинной лопасти 20 снаружи, т.е. со стороны горячего газа, слоевом элементе 60 предусмотрены отверстия в виде выпускных каналов 46, на внутренних стенках которых, ограничивающих отверстие, могут быть предусмотрены смесительные или завихрительные элементы.
Другие области корпуса 24 лопасти также подходят для того, чтобы установить такого рода вставку 50 и выдувать смесь в другом, отличном от передней кромки 26 турбинной лопасти 20, месте. Кроме того, на фиг.12 показано, что отверстия 90, входящие наискосок в подвергающуюся действию горячего газа 11 наружную поверхность стенок 30, 32 лопасти, расположенные в один ряд, соединены с первым каналом 36. Выходящая через эти отверстия среда М1, например охлаждающий воздух, благодаря контурным, имеющим форму диффузора отверстиям 90 может образовывать плоскостную пленку, защищающую наружную поверхность лопасти или стенки 30, 32 лопасти от горячего газа 11, в частности от его температуры.
На фиг.13 показана модульная вставка 50 в стенке 30, 32 лопасти турбинной лопасти 20, состоящая из двух слоевых элементов 60, 62, находящихся на расстоянии друг от друга, слоевой элемент 62, ограничивающий смесительную камеру 40, состоит из пористого материала, а слоевой элемент 60, подверженный действию горячего газа 11, представляет собой пластинчатый элемент и снабжен отверстиями, через которые может выходить смесь, образовавшаяся в камере 40.
Разумеется, изобретение не ограничивается показанными примерами осуществления.
Формула изобретения
1. Лопасть (20) турбины со стенкой (30, 32) лопасти и с первым каналом (36) для введения первой среды (М1) и вторым каналом (38) для введения второй среды (М2), подводимой к лопасти (20) отдельно от первой среды (М1), причем лопасть (20) имеет, по меньшей мере, одну камеру (40) для перемешивания в единую смесь двух отдельно подводимых сред (М1, М2), расположенную внутри или в стенке (30, 32) лопасти и соединенную с каждым из двух каналов (36, 38) соединительным трубопроводом (42, 44), и причем для отвода смеси из камеры (40), по меньшей мере, один соединенный с камерой (40) выпускной канал (46) входит в камеру с горячим газом (18), отличающаяся тем, что камера (40) и/или выпускной канал (46), по меньшей мере, частично ограничиваются или образованы находящейся в стенке (30, 32) вставкой (50).
2. Лопасть (20) по п.1, в которой стенка (30, 32) лопасти имеет на своей наружной поверхности, обращенной к камере с горячим газом, выемку, имеющую, в частности, прямоугольный или круглый контур, в которую вставлена вставка (50) с контуром, соответствующим контуру выемки.
3. Лопасть (20) по п.1 или 2, с несколькими камерами (40), для каждой из которых предназначен, по меньшей мере, один выпускной канал (46).
4. Лопасть (20) по п.1 или 2, в которой в выпускном канале (46) предусмотрены завихрительные элементы.
5. Лопасть (20) по п.1 или 2, в которой каждая камера (40) и соответствующий соединенный с ней выпускной канал (46) образован отдельной вставкой (50).
6. Лопасть (20) по п.1 или 2, в которой группа камер (40) и соединенные с этими камерами (40) выпускные каналы (46) образованы отдельной вставкой (50).
7. Лопасть (20) по п.1 или 2, в которой каждая вставка (50) имеет несколько выпускных каналов (46).
8. Лопасть (20) по п.1 или 2, в которой вставка (50) выполнена из нескольких частей.
9. Лопасть (20) по п.8, в которой вставка (50) образована несколькими сгруппированными слоевыми элементами.
10. Лопасть (20) по п.1 или 2, в которой вставка (50), расположенная со стороны горячего газа, содержит пористый материал или пену.
11. Лопасть (20) по п.1 или 2, в которой выпускной канал (46) входит в ту область стенки (30, 32) лопасти, в которую попадают возникающие в горячем газе (11) ударные волны.
12. Лопасть (20) по п.11 с корпусом (24) лопасти, который включает расположенную со стороны всасывания стенку (30) лопасти и расположенную с напорной стороны стенку (32) лопасти, причем стенки (30, 32) лопасти располагаются вдоль хорды от передней кромки (26) до задней кромки (28) и имеют длину хорды, при этом выпускной канал (46), если смотреть в направлении потока горячего газа (11), обтекающего корпус (24) лопасти, в задней трети длины хорды входит в наружную поверхность расположенной со стороны всасывания стенки (30) лопасти.
13. Лопасть (20) по п.1 или 2, основной корпус стенки (30, 32) которой является литым.
14. Лопасть (20) по п.13, в которой вставка (50) сварена или спаяна с основным корпусом.
15. Лопасть (20) по п.3, в которой в выпускном канале (46) предусмотрены завихрительные элементы.
16. Лопасть (20) по п.3, в которой каждая камера (40) и соответствующий соединенный с ней выпускной канал (46) образован отдельной вставкой (50).
17. Лопасть (20) по п.4, в которой каждая камера (40) и соответствующий соединенный с ней выпускной канал (46) образован отдельной вставкой (50).
18. Лопасть (20) по п.3, в которой группа камер (40) и соединенные с этими камерами (40) выпускные каналы (46) образованы отдельной вставкой (50).
19. Лопасть (20) по п.4, в которой группа камер (40) и соединенные с этими камерами (40) выпускные каналы (46) образованы отдельной вставкой (50).
20. Лопасть (20) по п.3, в которой каждая вставка (50) имеет несколько выпускных каналов (46).
21. Лопасть (20) по п.4, в которой каждая вставка (50) имеет несколько выпускных каналов (46).
22. Лопасть (20) по п.3, в которой вставка (50), расположенная со стороны горячего газа, содержит пористый материал или пену.
23. Лопасть (20) по п.5, в которой вставка (50), расположенная со стороны горячего газа, содержит пористый материал или пену.
24. Лопасть (20) по п.3, в которой выпускной канал (46) входит в ту область стенки (30, 32) лопасти, в которую попадают возникающие в горячем газе (11) ударные волны.
25. Лопасть (20) по п.5, в которой выпускной канал (46) входит в ту область стенки (30, 32) лопасти, в которую попадают возникающие в горячем газе (11) ударные волны.
26. Газовая турбина с лопастью (20) по любому из пп.1-25.
РИСУНКИ
|
|