|
|
(21), (22) Заявка: 2009124532/03, 26.06.2009
(24) Дата начала отсчета срока действия патента:
26.06.2009
(46) Опубликовано: 20.08.2010
(56) Список документов, цитированных в отчете о поиске:
US 3500908 А, 17.03.1970. SU 1671839 А, 23.08.1991. SU 1375791 A1, 23.02.1988. RU 2038461 С1, 27.06.1995. СА 750813 А, 17.01.1967.
Адрес для переписки:
423236, Республика Татарстан, г. Бугульма, ул. М. Джалиля, 32, “ТатНИПИнефть”, сектор создания и развития промышленной собственности
|
(72) Автор(ы):
Махмутов Ильгизар Хасимович (RU), Страхов Дмитрий Витальевич (RU), Зиятдинов Радик Зяузятович (RU), Сулейманов Ринат Габрахманович (RU), Оснос Владимир Борисович (RU)
(73) Патентообладатель(и):
Открытое акционерное общество “Татнефть” им. В.Д. Шашина (RU)
|
(54) УСТЬЕВОЕ УСТРОЙСТВО ДЛЯ ОСВОБОЖДЕНИЯ КОЛОННЫ ТРУБ ИЗ СКВАЖИНЫ
(57) Реферат:
Изобретение относится к нефтегазодобывающей промышленности, в частности к устьевым устройствам для освобождения аварийной колонны труб. Устройство включает демпфер, установленный между подъемником и генератором вертикальных импульсов, который снизу соединен с колонной труб. Демпфер выполнен в виде вертикального герметичного цилиндра с поршнем, внутренняя полость которого заполнена газом. Генератор выполнен в виде трубчатого корпуса, состоящего из последовательно соединенных силового цилиндра, соединенного сверху со штоком поршня демпфера, а снизу с полой камерой. Силовой цилиндр снабжен силовым поршнем, который соединен через сливной тройник с колонной труб полым штоком, оснащенным верхним рядом, размещенным в подпоршневой полости силового цилиндра, и средним и нижним рядами радиальных отверстий, размещенными в полой камере, разделенными изнутри перемычкой и проходящими через полую камеру, снабженную снизу внутренней цилиндрической выборкой. Подпоршневая полость силового цилиндра сообщена с поршневым насосом. Генератор гидравлических импульсов выполнен в виде полой втулки, герметично ввернутой в нижнюю часть внутренней цилиндрической выборки полой камеры и надетой на полый шток с перекрытием нижнего ряда радиальных отверстий. Внутренняя цилиндрическая выборка полой камеры выполнена сообщающейся со средним рядом радиальных отверстий и с возможностью сообщения со средним и нижним рядами отверстий одновременно при перемещении полой камеры с полой втулкой вниз относительно полого штока. Упрощается конструкция, уменьшаются стоимость изготовления и металлоемкость. 1 ил.
Изобретение относится к нефтегазодобывающей промышленности, в частности к устьевым устройствам для освобождения аварийной колонны труб, прихваченной в скважине.
Известна устьевая установка генерации и передачи акустической энергии для освобождения прихваченной колонны труб в буровой скважине (US 4429743, Е21В 37/08; Е21В 41/00, опубл. 07.02.1974 г.), включающая орбитальный массовый генератор, предназначенный для генерации акустической энергии с резонатором, соединенный на устье с колонной труб, подъемник и демпфер, установленный между генератором и подъемником и выполненный в виде поршневого вертикального амортизатора, заполненного жидкостью или газожидкостной смесью.
Недостатками данной устьевой установки являются:
– во-первых, сложность конструкции, обусловленная большим количеством узлов и деталей;
– во-вторых, высокая стоимость изготовления и металлоемкость (орбитальный массовый генератор предназначен для генерации акустической энергии с резонатором).
Наиболее близким по технической сущности является устьевое устройство для освобождения колонны труб из скважины (патент US 3500908, Е21В 37/08; Е21В 41/00, опубл. 07.02.1974 г.), включающее демпфер, установленный между подъемником и генератором вертикальных импульсов, который снизу соединен с колонной труб, причем демпфер выполнен в виде верхней и нижней горизонтальных пластин с вертикальными телескопически вставленными друг в друга цилиндром и штоком, между упорами которых установлены пружины, а генератор вертикальных импульсов выполнен в виде установленных в корпусе пар соединенных вертикальных зубчатых колес со смещенным центром тяжести, подобранных так, чтобы при вращении зубчатых колес их суммарный импульс был направлен по оси колонны труб.
Недостатками данной устьевой установки являются:
во-первых, сложность конструкции, обусловленная большим количеством узлов и деталей;
во-вторых, высокая точность изготовления зубчатых колес, напрямую влияющая на дороговизну устройства в изготовлении, в обратном случае может произойти заклинивание зубчатых колес в процессе работы;
в-третьих, усилие по оси колонны, создаваемое на прихваченную колонну труб, равнозначно по усилию вверх и вниз, что снижает эффективность извлечения прихваченной колонны труб из скважины;
в-четвертых, длина хода генератора вертикальных импульсов не регулируется в процессе работы устройства.
Задачей изобретения является упрощение конструкции устройства, снижение стоимости его изготовления, снижение металлоемкости, а также увеличение усилий, направленных вверх с возможностью регулирования длины хода генератора вертикальных импульсов в процессе работы устройства.
Поставленная задача решается устьевым устройством для освобождения колонны труб из скважины, включающим демпфер, установленный между подъемником и генератором вертикальных импульсов, который снизу соединен с колонной труб.
Новым является то, что демпфер выполнен в виде вертикального герметичного цилиндра с поршнем, внутренняя полость под поршнем которого заполнена газом, а генератор вертикальных импульсов выполнен в виде трубчатого корпуса, состоящего из последовательно соединенных силового цилиндра, соединенного сверху со штоком поршня демпфера, а снизу с полой камерой, при этом силовой цилиндр снабжен силовым поршнем, который соединен через сливной тройник с колонной труб полым штоком, оснащенным верхним рядом, размещенным в подпоршневой полости силового цилиндра, и средним и нижним рядами радиальных отверстий, размещенными в полой камере, разделенными изнутри перемычкой и проходящими через полую камеру, снабженную снизу внутренней цилиндрической выборкой, при этом подпоршневая полость силового цилиндра сообщена с поршневым насосом, причем генератор гидравлических импульсов выполнен в виде полой втулки, герметично ввернутой в нижнюю часть внутренней цилиндрической выборки полой камеры и надетой на полый шток с перекрытием нижнего ряда радиальных отверстий, причем внутренняя цилиндрическая выборка полой камеры выполнена сообщающейся со средним рядом радиальных отверстий и с возможностью сообщения со средним и нижним рядами отверстий одновременно при перемещении полой камеры с полой втулкой вниз относительно полого штока, причем длина хода генератора вертикальных импульсов относительно полого штока регулируется степенью вворачивания полой втулки во внутреннюю цилиндрическую выборку полой камеры.
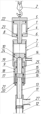
На чертеже изображено предлагаемое устьевое устройство для освобождения колонны труб из скважины в продольном разрезе.
Устьевое устройство для освобождения колонны труб из скважины (на чертеже не показано) включает демпфер 1 (см. чертеж), установленный между подъемником 2 (условно показан крюкоблок) и генератором вертикальных импульсов 3.
Демпфер 1 состоит из вертикального герметичного цилиндра 4 с поршнем 5, внутренняя полость 6 которого заполнена газом (например, азотом под давлением 30,0 МПа).
Генератор вертикальных импульсов 3 выполнен в виде трубчатого корпуса, состоящего из последовательно соединенных силового цилиндра 7, соединенного сверху со штоком 8 поршня 5 демпфера 1, и расположенной ниже полой камеры 9.
Силовой цилиндр 7 снабжен силовым поршнем 10, который соединен через сливной тройник 11 с колонной труб 12 полым штоком 13. Полый шток 13 оснащен верхним рядом радиальных отверстий 14, размещенным в подпоршневой полости 15 силового цилиндра 7. Также полый шток 13 оснащен средним 15 и нижним 16 рядами радиальных отверстий, размещенными в полой камере 9, разделенными изнутри перемычкой 17. Полый шток 13 проходит через полую камеру 9, снабженную снизу внутренней цилиндрической выборкой 18. Подпоршневая полость 19 силового цилиндра 7 сообщена с поршневым насосом, например, типа ЦА-320 (на чертеже не показано).
Генератор гидравлических импульсов выполнен в виде полой втулки 20, герметично ввернутой в нижнюю часть внутренней цилиндрической выборки 18 полой камеры 9 и надетой на полый шток 13 с перекрытием нижнего ряда 16 радиальных отверстий. Внутренняя цилиндрическая выборка 18 полой камеры 9 выполнена сообщающейся со средним рядом 15 радиальных отверстий и с возможностью сообщения со средним 15 и нижним 16 рядами отверстий одновременно при перемещении полой камеры 9 с полой втулкой 20 вниз относительно полого штока 13.
Длина хода генератора вертикальных импульсов 3 относительно полого штока 13 регулируется степенью вворачивания полой втулки 20 в резьбу 21, выполненную в нижней части внутренней цилиндрической выборки 18 полой камеры 9.
Несанкционированные перетоки жидкости исключаются уплотнительными элементами 22, 23, 24, 25, 26.
Устьевое устройство для освобождения колонны труб из скважины работает следующим образом.
Устройство собирают на устье скважины, как показано на чертеже, при этом полую втулку 20 вворачивают в резьбу 21 полой камеры 9 сначала на несколько витков (например, 3-4 витка, на чертеже не показано), чтобы использовать предложенное устройство с малой длиной хода генератора вертикальных импульсов 3.
Перед установкой сливного тройника 11 на верхний конец прихваченной колонны труб герметично устанавливают глухую заглушку 27, после чего с помощью подъемника 2 производят натяжку устройства и соответственно прихваченной в скважине колонны труб 12. Приводят в действие поршневой насос, который нагнетает рабочую жидкость (например, техническую воду) в подпоршневую полость 19 силового цилиндра 7, откуда рабочая жидкость через верхний ряд радиальных отверстий 14 поступает внутрь полого штока 13 и далее через средний ряд радиальных отверстий 15 полого штока 13 во внутреннюю цилиндрическую выборку 18.
Поршневой насос продолжает нагнетать рабочую жидкость в подпоршневую полость 19 силового цилиндра 7, при этом силовой гидроцилиндр 7 с полой камерой 9 и полой втулкой 20 перемещаются вниз относительно полого штока 13 и силового поршня 10, остающихся на месте, а поскольку сверху силовой цилиндр 7 соединен со штоком 8 поршня 5 демпфера 1, то происходит сжатие газа во внутренней полости 6 цилиндра 4 демпфера 1. В определенный момент вследствие перемещения силового цилиндра 7 совместно с полой камерой 9 и полой втулкой 20 вниз относительно полого штока 13 и силового поршня 10 происходит одновременное сообщение посредством внутренней цилиндрической выборки 18 среднего 15 и нижнего 16 рядов отверстий полого штока 13.
В результате рабочая жидкость перетекает во внутреннее пространство полого штока 13 ниже перемычки 17, а оттуда через сливной тройник 11 благодаря заглушке 27 – в сливную емкость (на чертеже не показано), при этом происходит резкий сброс давления в подпоршневой полости 19 силового цилиндра 7. В итоге происходит резкое ударное усилие вверх, направленное на сдвиг вверх прихваченной колонны 12, а поскольку сверху силовой цилиндр 7 жестко соединен со штоком 8 поршня 5 демпфера 1, внутренняя полость которого находится под действием сжатого газа, то происходит гашение ударного усилия вверх, воспринимаемого подъемником 2 за счет возвращения поршня 5 цилиндра 4 демпфера 1, и генератор вертикальных импульсов 3 возвращается в исходное положение (см. чертеж). Таким образом происходит один цикл работы устьевого устройства для освобождения колонны труб из скважины. В дальнейшем цикл повторяется, как описано выше. При необходимости дальнейшего расхаживания прихваченной колонны труб 12 увеличивают длину хода генератора вертикальных импульсов 3 путем заворота вплоть до упора полой втулки 20 по резьбе 21 полой камеры 9, как показано на чертеже, в связи с чем увеличивается длина хода генератора вертикальных импульсов 3. После чего вышеописанный процесс повторяется.
Предлагаемое устьевое устройство для освобождения колонны труб из скважины имеет простую конструкцию, в сравнении с прототипом дешево в изготовлении и имеет меньшую металлоемкость, при этом конструкция устройства позволяет значительно увеличить усилия, направленные вверх по оси колонны труб, и позволяет регулировать длину хода генератора вертикальных импульсов в процессе работы устройства, что повышает эффективность извлечения прихваченной колонны труб в скважине.
Формула изобретения
Устьевое устройство для освобождения колонны труб из скважины, включающее демпфер, установленный между подъемником и генератором вертикальных импульсов, который снизу соединен с колонной труб, отличающееся тем, что демпфер выполнен в виде вертикального герметичного цилиндра с поршнем, внутренняя полость под поршнем которого заполнена газом, а генератор вертикальных импульсов выполнен в виде трубчатого корпуса, состоящего из последовательно соединенных силового цилиндра, соединенного сверху со штоком поршня демпфера, а снизу с полой камерой, при этом силовой цилиндр снабжен силовым поршнем, который соединен через сливной тройник с колонной труб полым штоком, оснащенным верхним рядом, размещенным в подпоршневой полости силового цилиндра, средним и нижним рядами радиальных отверстий, размещенными в полой камере, разделенными изнутри штока перемычкой и проходящими через полую камеру, снабженную снизу внутренней цилиндрической выборкой, при этом подпоршневая полость силового цилиндра сообщена с поршневым насосом, причем генератор гидравлических импульсов выполнен в виде полой втулки, герметично ввернутой в нижнюю часть внутренней цилиндрической выборки полой камеры и надетой на полый шток с перекрытием нижнего ряда радиальных отверстий, причем внутренняя цилиндрическая выборка полой камеры выполнена сообщающейся со средним рядом радиальных отверстий и с возможностью сообщения со средним и нижним рядами отверстий одновременно при перемещении полой камеры с полой втулкой вниз относительно полого штока, причем длина хода генератора вертикальных импульсов относительно полого штока регулируется степенью вворачивания полой втулки во внутреннюю цилиндрическую выборку полой камеры.
РИСУНКИ
|
|