|
|
(21), (22) Заявка: 2009100721/03, 11.01.2009
(24) Дата начала отсчета срока действия патента:
11.01.2009
(46) Опубликовано: 20.08.2010
(56) Список документов, цитированных в отчете о поиске:
RU 2129644 С1, 27.04.1999. RU 2102571 С1, 20.01.1998. SU 326338 А1, 01.01.1972. НАЗИН В.В. Новые сейсмостойкие конструкции и железобетонные механизмы сейсмоизоляции зданий и сооружений. – М.: Стройиздат. 1993, с.3-9, рис.1к.
Адрес для переписки:
630102, г.Новосибирск, ул. Кирова, 86, ГОУ ВПО “СибГУТИ”, проректору по инновационному развитию В.Г. Арсентьеву
|
(72) Автор(ы):
Никифоров Игорь Степанович (RU), Никифоров Андрей Игоревич (RU), Барбашин Юрий Михайлович (RU)
(73) Патентообладатель(и):
Государственное образовательное учреждение высшего профессионального образования “Сибирский государственный университет телекоммуникаций и информатики” (ГОУ ВПО “СибГУТИ”) (RU)
|
(54) СЕЙСМО-ВЗРЫВОЗАЩИЩЕННЫЙ АВТОНОМНЫЙ ПУНКТ УПРАВЛЕНИЯ
(57) Реферат:
Изобретение относится к строительству и может быть использовано при строительстве стратегически важных командных пунктов, например пунктов управления и связи, а также зданий и сооружений, относящихся к категории ответственных объектов, объединенных небывало высоким уровнем последствий разрушений и потерь, их важностью для функционирования экономики страны. Технический результат: повышение эффективности защиты автономных пунктов управления от сейсмического или взрывного воздействия за счет гашения продольно-поперечной составляющей этого воздействия в условиях изменяющегося веса защищаемого объекта. Сейсмо-взрывозащищенный автономный пункт управления содержит здание, фундамент из колонн и жестко соединенных с ними верхней и нижней рам, а также упругий подвес, состоящий из упругих модулей, выполненных из отрезков тросов, расположенных эквидистантно относительно друг друга, одним концом жестко наклонно закрепленных к колоннам, а другим перпендикулярно к стене здания, и корректоров жесткости, каждый из которых состоит из двух отрезков тросов, середины которых соединены между собой и жестко закреплены к нижней фундаментной раме, а концы разведены и жестко закреплены к основанию нижнего этажа. Упругий подвес здания снабжен дополнительными корректорами жесткости, выполненными из двух отрезков тросов, середины которых соединены между собой и жестко закреплены к верхней фундаментной раме, а концы разведены и жестко закреплены к перекрытию верхнего этажа здания, причем дополнительные корректоры расположены в плоскости, параллельной плоскости расположения основных корректоров, а длина отрезков тросов дополнительных корректоров больше длины отрезков тросов основных корректоров жесткости не менее, чем на 5%. 1 з.п. ф-лы, 4 ил.
Изобретение относится к строительству и может быть использовано при строительстве стратегически важных командных пунктов, например пунктов управления и связи, а также зданий и сооружений, относящихся к категории ответственных объектов, объединенных небывало высоким уровнем последствий разрушений и потерь, их важностью для функционирования экономики страны.
Известно, что землетрясения и взрывы относятся к числу наиболее разрушительных бедствий как стихийного, так и техногенного характера. К сожалению, в последние десятилетия интенсивность этих факторов не только усиливается, но и расширяется спектр воздействий, например, за счет террористических подрывов. По словам руководителя МЧС Шойгу С.К. наблюдается существенный рост сейсмоактивности планеты. Ущерб от разрушения, затраты на восстановление, лечение, реабилитацию, содержание соответствующих структур во всем мире исчисляется сотнями миллиардов долларов США в год. Несмотря на то что в ряде стран ведутся научно-исследовательские и опытно-конструкторские работы, удовлетворительного решения проблемы, особенно при землетрясениях 9,5-10 баллов и мощных подрывах, а также при землетрясениях с продольной составляющей, не имеется.
Известны конструкции зданий на маятниковой подвеске (см. Назин В.В. Новые сейсмостойкие конструкции и железобетонные механизмы сейсмоизоляции зданий и сооружений. – М.: Стройиздат, 1993, стр.3-9, рис.1к,). Здание установлено на фундаментной плите, которая подвешена на стержнях. Стержни закреплены с одной стороны в выступах фундамента, неподвижно соединенного с грунтом, а с другой стороны в фундаментной плите. Стержни имеют большую жесткость на растяжение-сжатие в вертикальном направлении и малую жесткость на изгиб. Поэтому такая система сейсмоизоляции обеспечивает защиту здания только от горизонтальных составляющих сеймических воздействий.
За прототип принимаем сейсмостойкое здание, приведенное в описании к патенту РФ 2129644, кл. E04H 9/00, опубл. в БИ 12, 27.04.99, содержащее здание, фундаментную плиту, подвешенную к фундаменту на стержнях и упругий подвес, установленный между фундаментной плитой и перекрытием нижнего этажа здания и выполненный из упругих блоков квазинулевой жесткости, размещенных симметрично так, что центр масс здания расположен на вертикальной оси симметрии размещения упругих блоков, а каждый упругий блок выполнен из упругих модулей и корректора жесткости, установленного между ними, причем каждый упругий модуль выполнен из двух вертикальных стоек, а между стойками закреплены эквидистантные друг другу отрезки тросов, концы которых закреплены перпендикулярно к стойке, соединенной неподвижно с перекрытием нижнего этажа, а другие концы закреплены наклонно к другой стойке, неподвижно соединенной с фундаментной плитой, корректор жесткости выполнен из двух одинаковых отрезков тросов, середины которых соединены между собой и прикреплены к фундаментной плите с возможностью регулировочного перемещения в вертикальном направлении, концы тросов разведены и неподвижно присоединены через устройства предварительного осевого поджатия к перекрытию нижнего этажа.
Прототип имеет следующие недостатки.
1. Система гашения сейсмического или взрывного воздействия прототипа, содержащая упругий подвес и корректоры жесткости, представляет собой маятниковую подвеску улучшенного типа, которая существенно снижает продольно-поперечную составляющую воздействия, но является эффективной в ограниченном диапазоне значений массы конкретного здания, за пределами которого эффективность защиты резко снижается.
2. Система гашения сейсмического или взрывного воздействия прототипа при сейсмических воздействиях больше 8 баллов, имея различный уровень защиты от горизонтальных воздействий по высоте объекта, ставит в опасное положение людей, находящихся в верхних этажах объекта, что может привести к их гибели. Особенно это актуально при направленных взрывах.
Заявляемый пункт управления является ответственным объектом, сохранность которого очень важна. Заявляемый пункт управления представляет собой укрытие с автономной системой жизнеобеспечения, в которую входят автономные источники электроснабжения, теплоснабжения, водоснабжения, а также продовольственные склады. Такой пункт управления предназначен функционировать в полной изоляции от внешнего мира в течение определенного времени, обеспечивая выполнение научных или стратегических задач. Заявляемый пункт управления предназначен также для укрытия людей и техники из разрушенных землетрясением или взрывом соседних зданий. В этом случае вес здания может существенно увеличиться.
Целью изобретения является повышение эффективности защиты автономных пунктов управления от сейсмического или взрывного воздействия за счет гашения продольно-поперечной составляющей этого воздействия в условиях изменяющегося веса защищаемого объекта, чтобы дежурный персонал командного пункта сохранял живучесть и работоспособность, мог поддерживать устойчивую связь с причастными органами, а также организовать первоначальные спасательные работы и обеспечивать прием и реализацию управленческих команд.
Для осуществления поставленной цели сейсмо-взрывозащищенный автономный пункт управления, содержащий здание, фундамент из колонн и жестко соединенных с ними верхней и нижней рамами, а также упругий подвес, состоящий из упругих модулей, выполненных из отрезков тросов, расположенных эквидистантно относительно друг друга, одним концом жестко наклонно закрепленных к колоннам, а другим перпендикулярно к стене здания, и корректоров жесткости, каждый из которых состоит из двух отрезков тросов, середины которых соединены между собой и жестко закреплены к нижней фундаментной раме, а концы разведены и жестко закреплены к основанию нижнего этажа, в составе упругого подвеса здания содержит дополнительные корректоры жесткости, выполненные из двух отрезков тросов, середины которых соединены между собой и жестко закреплены к верхней фундаментной раме, а концы разведены и жестко закреплены к перекрытию верхнего этажа здания, причем дополнительные корректоры расположены в плоскости, параллельной плоскости расположения основных корректоров, а длина отрезков тросов дополнительных корректоров больше длины отрезков тросов основных корректоров жесткости не менее, чем на 5%.
Кроме того, у заявляемого сейсмо-взрывозащищенного автономного пункта управления дополнительные корректоры жесткости могут быть расположены, кроме верхнего, и на других уровнях по высоте здания.
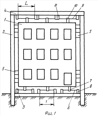
На фиг.1 показан заявляемый пункт управления, вид спереди. На фиг.2 показан заявляемый пункт управления, вид сбоку. На фиг.3 – заявляемый пункт управления, вид сверху (или снизу) на корректоры. На фиг.4 представлены силовые характеристики упругого подвеса пункта управления.
Заявляемый пункт управления содержит здание 1, колонны 2, нижнюю фундаментную раму 3 и верхнюю раму 4, жестко связанные с колоннами 2 так, что рамы 3 и 4 и колонны 2 представляют собой единую монолитную конструкцию. Здание 1 соединено с колоннами 2 с помощью упругих модулей 5, выполненных из отрезков тросов, расположенных эквидистантно друг другу и жестко закрепленных одним концом к колоннам 2 наклонно, а другим жестко закрепленных перпендикулярно к стене здания 1. Упругий подвес командного пункта содержит также корректоры жесткости 6, выполненные из двух отрезков тросов, середины 7 которых соединены и жестко закреплены к основанию нижнего этажа здания 1, а концы 8 разведены в стороны и жестко закреплены к раме 3, причем отрезкам тросов корректоров жесткости 6 придана особая форма изогнутости с помощью поджатия. Длина, поперечное сечение и величина поджатия отрезков тросов корректоров жесткости 6 рассчитаны, исходя из веса здания со всем оборудованием и обслуживающим персоналом. В отсутствие сейсмического или взрывного воздействия и при расчетной загрузке здания 1 середины 7 и концы 8 всех корректоров 6 должны располагаться в одной плоскости. Это их исходное положение неустойчивого равновесия.
Заявляемый пункт управления содержит также дополнительные корректоры жесткости 9, выполненные из отрезков тросов, середины 10 которых соединены и жестко закреплены к перекрытию здания 1, а концы 11 разведены в стороны и жестко закреплены к раме 4, отрезкам тросов корректоров жесткости 9 также придана особая форма изогнутости с помощью поджатия. Длина L отрезков тросов дополнительных корректоров 9 не менее, чем на 5% больше длины 1 отрезков тросов корректоров 6. Длина, поперечное сечение дополнительных корректоров 9 рассчитаны на увеличенную нагрузку здания 1, при которой корректоры 9 находились бы в состоянии неустойчивого равновесия.
Дополнительные корректоры 9 могут быть расположены в плоскости, параллельной плоскости расположения корректоров 6, но обязательно на расстоянии от нее, для того, чтобы усилить упругие свойства маятника в горизонтальных направлениях.
Дополнительные корректоры 9 могут быть расположены наверху здания между верхней рамой 4 и перекрытием здания 1 в плоскости, параллельной плоскости расположения корректоров 6. Дополнительные корректоры 9 могут быть расположены еще и на другом уровне по высоте здания 1, например, на уровне высоты здания 1. В этом случае середины корректоров 9 закрепляют к стене здания 1, а концы к колоннам 2.
Упругий подвес здания 1, состоящий из упругих модулей 5 и корректоров жесткости 6, имеет силовую характеристику P1(x), с плоским участком a1, на котором перемещение здания 1 незначительно, несмотря на увеличение веса здания 1 (см. фиг.4). Но вес здания 1 может значительно увеличиться в случае, когда при угрозе сейсмического воздействия под его крышей могут собраться люди и техника со всего полигона или театра военных действий. В этом случае защита здания 1 будет осуществляться с помощью корректоров жесткости 9. Корректор жесткости 9 имеет силовую характеристику P2(x) с плоским участком a2. На фиг.4 видно, что a2 больше, чем a1.
Удлинять отрезки тросов дополнительного корректора 9 менее, чем на 5% от длины корректора 6 не имеет смысла, так как в этом случае силовая характеристика изменяется незначительно.
Заявляемый командный пункт работает следующим образом.
При сейсмическом воздействии или при воздействии взрыва ударные колебания в эпицентре землетрясения (взрыва) передаются колоннам 2 и связанным с ними рамам 3 и 4. При этом упругие модули 5 и корректоры 6 и 9 начинают упруго деформироваться, запасая энергию колебаний, являясь их фильтром. Тем самым они препятствуют распространению и передаче ударной волны на защищаемый объект. Продольные и поперечные ударные колебания гасятся, во-первых, за счет особой системы подвешивания защищаемого объекта (так называемая система «прямого маятника») и, во-вторых, в связи с наличием расчетного свободного хода корректоров 6 и 9 в горизонтальной плоскости. При увеличении веса здания 1 корректоры 9, выходя из положения неустойчивого равновесия, в котором они находились в статическом состоянии, увеличивают зону пониженной жесткости, тем самым обеспечивают защиту объекта при изменившемся весе здания 1, вызванного притоком раненных и пострадавших от землетрясения и взрыва. Расположение корректоров 6 и 9 на разных уровнях по высоте здания способствует улучшению свойств маятниковой подвески.
Заявляемый сейсмо-взрывозащищенный автономный пункт управления имеет следующие преимущества по сравнению с существующими:
– значительное (в сотни раз) снижение ударной (взрывной) волны;
– сохранность защитных свойств при многократных воздействиях;
– предложено конструктивное решение, позволяющее обеспечить живучесть и работоспособность персонала в условиях текущего ударно-импульсного воздействия, в том числе при землетрясениях 9÷9,5 баллов и внешней взрывной волне до 120÷140 g;
– эффективную пространственную защиту и средства обеспечения продольно-поперечной устойчивости, что особенно важно при низко залегающих землетрясениях (типа землетрясения в г.Спитак), имеющих преимущественно горизонтальную составляющую сейсмоудара;
– расширенный диапазон веса объекта, при котором сохраняются высокие ударозащитные свойства, что важно при сильных землетрясениях и необходимости оказать помощь и спасти раненых и пострадавших, размещая их в командном пункте.
Формула изобретения
1. Сейсмо-взрывозащищенный автономный пункт управления, содержащий здание, фундамент из колонн и жестко соединенных с ними верхней и нижней рамами, а также упругий подвес, состоящий из упругих модулей, выполненных из отрезков тросов, расположенных эквидистантно относительно друг друга, одним концом жестко наклонно закрепленных к колоннам, а другим перпендикулярно к стене здания, и корректоров жесткости, каждый из которых состоит из двух отрезков тросов, середины которых соединены между собой и жестко закреплены к нижней фундаментной раме, а концы разведены и жестко закреплены к основанию нижнего этажа, отличающийся тем, что упругий подвес здания снабжен дополнительными корректорами жесткости, выполненными из двух отрезков тросов, середины которых соединены между собой и жестко закреплены к верхней фундаментной раме, а концы разведены и жестко закреплены к перекрытию верхнего этажа здания, причем дополнительные корректоры расположены в плоскости, параллельной плоскости расположения основных корректоров, а длина отрезков тросов дополнительных корректоров больше длины отрезков тросов основных корректоров жесткости не менее чем на 5%.
2. Сейсмо-взрывозащищенный автономный пункт управления по п.1, отличающийся тем, что дополнительные корректоры жесткости могут быть расположены, кроме верхнего, и на других уровнях по высоте здания.
РИСУНКИ
|
|