Патент на изобретение №2397295

Published by on




РОССИЙСКАЯ ФЕДЕРАЦИЯ



ФЕДЕРАЛЬНАЯ СЛУЖБА
ПО ИНТЕЛЛЕКТУАЛЬНОЙ СОБСТВЕННОСТИ,
ПАТЕНТАМ И ТОВАРНЫМ ЗНАКАМ
(19) RU (11) 2397295 (13) C2
(51) МПК

E04B1/26 (2006.01)

(12) ОПИСАНИЕ ИЗОБРЕТЕНИЯ К ПАТЕНТУ

Статус: по данным на 28.09.2010 – действует

(21), (22) Заявка: 2007138387/03, 16.03.2006

(24) Дата начала отсчета срока действия патента:

16.03.2006

(30) Конвенционный приоритет:

17.03.2005 AT A450/2005

(43) Дата публикации заявки: 27.04.2009

(46) Опубликовано: 20.08.2010

(56) Список документов, цитированных в отчете о
поиске:
US 3662502 А, 16.05.1972. US 4285176 А, 25.08.1981. SU 1263778 A1, 15.10.1986. AT 394410 В, 25.03.1992. US 3427055 А, 11.02.1969. DE 3642464 A1, 28.07.1988. КАРЛСЕН Г.Г. Конструкции из дерева и пластмасс. – М.: Стройиздат, 1975, с.190, рис.V.12.(а). БЕЛЕНЯ Е.И. Металлические конструкции. – М.: Стройиздат, 1973, с.217 (рис.VIII.2.(в), с.368 (рис.XIII.11.(в))

(85) Дата перевода заявки PCT на национальную фазу:

17.10.2007

(86) Заявка PCT:

AT 2006/000111 20060316

(87) Публикация PCT:

WO 2006/096899 20060921

Адрес для переписки:

129090, Москва, ул. Б.Спасская, 25, стр.3, ООО “Юридическая фирма Городисский и партнеры”, пат.пов. С.А.Дорофееву, рег. 146

(72) Автор(ы):

ВОЛЬФ Йоханн (CH)

(73) Патентообладатель(и):

ВОЛЬФ МОДУЛЬ ГМБХ (AT)

(54) КАРКАС ДЛЯ ЗДАНИЯ

(57) Реферат:

Здание, например жилое здание или павильон, имеет каркас, который состоит из нескольких параллельных друг другу рамочных элементов, расположенных на расстоянии друг от друга. Рамочные элементы состоят, каждый, из двух вертикальных стоек и, по меньшей мере, одной горизонтальной балки. Рамочные элементы соединяются в каркас здания балками, которые снаружи прикреплены к их вертикальным стойкам. Для соединения стоек, балок применяют уголки из стального листа, которые на своих полках имеют отверстия для пропускания соединительных элементов (винтов) и/или отштампованные на полках уголков и отогнутые нагели по типу гвоздевых пластин. В каркасе из рамочных элементов с вертикальными стойками и горизонтальными балками для соединения рамочных элементов и продольного усиления каркаса предусмотрены балки, которые установлены между вертикальными стойками и закреплены. Балки несут стеновые элементы, которые изнутри прилегают к упорам на вертикальных стойках. Предпочтительно, стеновые элементы и балки являются предварительно собранными узлами, которые устанавливают между вертикальными стойками прижатыми к упорам, а затем закрепляют балки на вертикальных стойках. 69 з.п. ф-лы, 21 ил.

Изобретение относится к каркасу для здания любого вида, каркас которого образует основной остов здания (корпус здания), например, жилого дома или павильона и состоит из вертикальных стоек и горизонтальных балок, причем предусмотрены, по меньшей мере, два рамочных элемента, каждый из которых состоит из, по меньшей мере, двух вертикальных стоек и, по меньшей мере, одной, связанной с ними, горизонтальной балки, и рамочные элементы расположены на расстоянии друг от друга и связаны друг с другом.

Каркас для здания указанного рода известен из US 3662502 A.

Из US 4869036 А известно здание модульного типа, которое имеет каркас из вертикальных балок и горизонтальных балок. При этом горизонтальные балки располагаются сверху и снизу на вертикальных стойках. В полях между вертикальными стойками снаружи могут использоваться стеновые элементы, которые располагаются между горизонтальными балками и вертикальными стойками.

Задачей изобретения является предоставление в распоряжение каркаса вначале названного вида, с применением которого здание может быть возведено в желаемых габаритах и назначении (хозяйственная постройка, жилой дом и т.п.).

Задачей изобретения является предложить каркас для здания, который соответствует названным выше требованиям.

В соответствии с изобретением задачу решают при помощи каркаса для здания, обладающего признаками по п.1 формулы изобретения.

Для достижения продолжительной стойкости зданий каркасы этих зданий должны быть, в частности, прочно состыкованными, что означает, что соединения вертикальных и горизонтальных балок элементов (стойки и балки) должны быть выполнены таким образом, чтобы они выдерживали нагрузки здания, которое имеет соответствующий изобретению каркас. Такие нагрузки воздействуют на здание как изнутри, так и снаружи, например, ветровые.

Предпочтительные и благоприятные варианты выполнения изобретения являются предметом зависимых пунктов формулы изобретения.

Предложенной в соответствии с изобретением конструкцией каркаса простыми средствами надежно обеспечивают желаемую свободу в размерах, форме и выполнении здания, имеющего каркас, соответствующий изобретению, и стабильность каркаса и здания, построенного с его использованием, все равно, идет ли речь о жилом доме, павильонном строении или другом здании.

Если согласно одному варианту выполнения у каркаса, соответствующего изобретению, соединение (усиление по горизонтали) рамочных элементов друг с другом происходит горизонтальными балками, расположенными между вертикальными стойками рамочных элементов каркаса, получается большая свобода в оформлении фасада здания, которое имеет соответствующий изобретению каркас.

В рамках изобретения предпочтительно, если балки, соединяющие вертикальные стойки рамочных элементов друг с другом, на своей, обращенной к наружной стороне каркаса стороне, несут стеновые элементы. Таким образом достигают не только горизонтального усиления каркаса, соответствующего изобретению, но и становится возможной облицовка фасада.

Стеновые элементы, которые в одном из выполнений соединены с горизонтальными балками, могут быть выполнены с окнами и/или дверями.

Вместо или дополнительно к горизонтальным балкам, которые соединяют друг с другом рамочные элементы каркаса, между вертикальными стойками рамочных элементов и под углом к вертикальным стойкам могут быть расположены растяжки. При этом предпочтительно, если растяжки расположены в угловых областях каркаса, соответствующего изобретению. Растяжки предпочтительно выполнять таким образом, чтобы они были расположены между вертикальными стойками в угловых зонах соответствующего изобретению каркаса и направлены вверх под углом к вертикальным стойкам в угловой зоне соответствующего изобретению каркаса.

Выполнение каркаса с растяжками, проходящими под углом между вертикальными стойками соседних рамочных элементов, может быть изменено, далее, в том отношении, что между стойками, например, на половине высоты стоек предусматривают горизонтальное усиление (поперечину), причем выше и ниже горизонтального усиления предусмотрено, по меньшей мере, по одной растяжке, так что получается что-то вроде “фахверка”.

Предусмотренные согласно изобретению стеновые элементы обычно высотой с этаж, причем стеновые элементы могут быть состыкованы, в частности, в области межэтажных перекрытий, или установлены на каркас с нахлестом.

Стеновые элементы, установленные в соответствии с изобретением на каркас, неважно, выполнены они с дверями и/или с окнами, служат в примере варианта выполнения как дополнительные элементы жесткости, которые соединяют расположенные рядом рамочные элементы друг с другом и удерживают в желаемом положении, так что создают стабильный по форме каркас здания.

В рамках изобретения оказалось полезным, если на вертикальных стойках каркаса, соответствующего изобретению, снаружи, в частности, предусмотрены упоры, выступающие с обеих сторон стойки (накладки), которые облегчают, например, провешивание линии правки стеновых элементов, связанных с горизонтальными балками наружной поверхности каркаса.

Предусмотренные согласно изобретению стеновые элементы могут быть из металла (листовые металлы), пластмассы, древесины или из минерального материала или комбинаций этих материалов. В одном из примеров выполнения стеновой элемент может быть составным из нескольких, как правило, вертикально расположенных продольных элементов (полос).

Предусмотренные на стойках каркаса согласно изобретению упоры (накладки) могут быть гладкими или профилированными и содержать планки из древесины, металла (листовые металлы), минерального материала или пластмассы. При этом достаточно, если упоры имеют прочность, которой хватает, чтобы они могли выполнять свою роль упоров для стеновых элементов.

Изготовление стеновых элементов может быть начато с соединения балок в соответствующем количестве (обычно две балки) соединительными накладками, уголками или такого рода элементами с вертикальными стойками, а затем монтируют стеновые элементы.

Однако принято во внимание и предпочтительно, согласно изобретению, если конструктивные детали стенового элемента и балок подготавливают сначала, складывая лежа на земле и/или межэтажном перекрытии здания, для которого предназначен соответствующий изобретению каркас (их можно подготавливать и в таком положении), и затем просто откидывают вверх до тех пор, пока они не достигают упоров (накладок), которые есть на вертикальных стойках снаружи. Это позволяет вести монтаж стеновых элементов и балок изнутри, так что монтажные леса становятся ненужными. Преимуществом является возможность легкой замены стеновых элементов, если их надо обновить или заменить на том или другом основании. Особенно, если стеновые элементы зафиксированы при помощи стальных винтов.

В принципе, сборка стенных элементов возможна и снаружи, тогда стеновые элементы или конструктивные элементы стенового элемента и балок “продевают” между стойками и прикрепленными к ним упорами (накладками).

Стеновые элементы, в частности, с большими габаритными размерами, то есть стеновые элементы для хозяйственных построек, можно поворачивать также вокруг вертикальных или горизонтальных осей, которые определены, например, шарнирами, в положение между вертикальными стойками рамочных элементов. Это относится также к меньшим стеновым элементам, для которых принято во внимание, что они вдвигаются снаружи или (предпочтительно) изнутри в их рабочее положение между вертикальными стойками, как это выше описано.

На стеновые элементы, которые могут иметь снаружи или (предпочтительно) внутри изолирующий слой, можно нанести штукатурку или что-либо подобное. При этом штукатурка может быть расположена между выполненными как накладки упорами, так что штукатурка будет прервана упорами (накладками).

Альтернативно имеется возможность того, что штукатурку наносят между вертикальными стойками рамочных элементов, так что штукатурка была прервана стойками.

Стеновые элементы могут быть закреплены таким образом на каркасе согласно изобретению, что на наружных сторонах вертикальных стоек, по всей ширине стоек, предусмотрено покрытие, в частности, водонепроницаемое – это покрытие предпочтительно, в частности, если используют вертикальные стойки, которые состоят из двух деревянных частей, лежащих рядом друг с другом в продольном направлении. Области стыка между соседними внешними стеновыми элементами могут в области вертикальных стоек прилегать к покрытию стоек. Крепление внешних элементов стены может быть осуществлено непосредственно к вертикальным стойкам (снаружи), или между вертикальными стойками предусматривают монтажные планки или балки, к которым крепят внешние стеновые элементы.

В варианте выполнения изобретения может быть еще предусмотрено, чтобы рамочные элементы были ориентированы не только поперек продольной оси здания, а что (по меньшей мере один) рамочный элемент ориентирован также параллельно продольной оси здания.

Если соответствующие изобретению каркасы изготавливают с применением рамочных элементов для многоэтажных зданий или если вертикальные стойки образуют из нескольких уложенных друг над другом деревянных балок (из целиковых или составных, связанных друг с другом в продольном направлении, деревянных частей), предпочтительно располагать горизонтальные балки не между стыкуемыми концами вертикальных стоек, а присоединять горизонтальные балки по продольной стороне вертикальных стоек, например, в области расположения стыка стоек друг с другом. Это может быть осуществлено с помощью консолей или с помощью соединительных накладок. В этом выполнении принято во внимание, что горизонтальные балки между вертикальными стойками, к которым они шарнирно (через консоли) прикреплены своими концами, надо также жестко закрепить, жестко прикрепляя их уголком к другим вертикальными стойкам.

Существует альтернативная возможность жестко укрепить горизонтальные балки на вертикальных стойках соединительными накладками, так что происходит дополнительное зажатие горизонтальных балок.

Эти соединительные накладки или консоли могут быть расположены, прилегая к противоположным друг другу наружным поверхностям стоек и балок, и скреплены со стойками и балками, или же соединительные накладки или консоли устанавливают в выемки (в виде шлицев или пазов) на концах стоек и балок.

В связи с тем обстоятельством, что горизонтальные балки (балки перекрытий) не расположены между стоящими друг над другом отрезками вертикальных стоек, получают лучшую, предельно допускаемую нагрузку, так как деревянные стойки, нагружаемые со стороны торцов, имеют более высокую несущую способность, чем стойки, между которыми расположены деревянные балки с горизонтально ориентированными древесными волокнами и которые нагружаются поперек волокон. Вертикальные стойки, образующие рамочные элементы соответствующего изобретению каркаса, могут быть связаны друг с другом также устанавливаемыми между вертикальным стойками жесткими конструкциями (полями жесткости). Такими жесткими конструкциями являются, например, деревянные рамы с жесткими углами, которые расположены между вертикальными стойками и имеют, например, растяжки. При этом в каждом поле жесткости может быть предусмотрена растяжка или две растяжки и между ними горизонтальная поперечина “фахверк”.

В рамках изобретения принято также во внимание выполнение, при котором поле жесткости и/или растяжки, неважно, расположены ли они в поле жесткости или непосредственно между вертикальными стойками рамочных элементов, установлены с помощью разъемных клиньев, стальных винтов и т.п. Это делает возможным быстрое удаление или замену поля жесткости или раскосов в случае необходимости (например, при ремонте), в случае дополнительных установок и т.п.

Дополнительные подробности, признаки и преимущества изобретения разъясняет нижеследующее описание изобретения на основе примерных чертежей.

Фиг.1 показывает схематически каркас для здания,

фиг.2 – пример выполнения соединения вертикальной стойки и горизонтальных балок с помощью металлических уголков,

фиг.3 – другое выполнение соединения вертикальной стойки и горизонтальных балок с помощью металлических уголков,

фиг.4 – пример выполнения соединения балки межэтажного перекрытия с балкой, соединяющей стойки рамочных элементов,

фиг.5 – три различных выполнения металлических уголков, применяемых в рамках изобретения (показаны прилегающими друг к другу),

фиг.6 – участок соответствующего изобретению каркаса на виде спереди,

фиг.7 – сечение вдоль линии VII-VII на фиг.6,

фиг.8-11 – схематически другие выполнения соединений между вертикальными стойками и горизонтальными балками,

фиг.12 и 13 – два возможных выполнения горизонтальных балок из металла (сталь),

фиг.14 – растяжка для усиления между вертикальными стойками рамочных элементов,

фиг.15 – усиление по типу “фахверка” между вертикальными стойками рамочных элементов,

фиг.16 – соединение горизонтальной балки с вертикальной стойкой рамочных элементов,

фиг.17 – другое выполнение соединения горизонтальных балок и вертикальных стоек и

фиг.18 – в горизонтальном сечении расположение внешних стеновых элементов с вертикальной стойкой,

фиг.19 – вертикальная стойка из металла,

фиг.20 – в виде, похожем на фиг.7, выполнение с откидным стеновым элементом и

фиг.21 – выполнение по фиг.20 на виде сбоку.

Показанный на фиг.1 каркас 1 для двухэтажного (жилого) здания состоит из нескольких вертикальных стоек 3 и связанных с ними, в данном примере расположенных в двух лежащих друг над другом горизонтальных плоскостях горизонтальных балок 5 и 7. Такие рамочные элементы 9, образованные каждый из двух вертикальных стоек 3 и каждый, по меньшей мере, из одной горизонтальной балки 5, установленной, в частности, в верхнем конце стойки 3 – в данном примере выполнения с двумя горизонтальными балками 5 и 7 – устанавливают параллельно друг другу и скрепляют на земле с помощью анкеров или с помощью соответственно рассчитанных балок и стальных уголков. Каждое иное крепление рамочных элементов 9 на земле или на фундаменте также принято во внимание для соответствующего изобретению каркаса 1.

Чтобы связать друг с другом рамочные элементы 9, установленные друг с другом на интервалах, в пространственный каркас 1, рамочные элементы 9 по обеим продольным сторонам (проходящим параллельно плоскости изображения фиг.1 сторонам каркаса 1) свинчивают с проходящими по горизонтали стержнями (ригелями), в примере выполнения балка (ригель) 11. Предпочтительно эти балки 11 состоят из, по меньшей мере, двух брусьев 15, прилегающих друг к другу в продольном направлении и скрепленных друг с другом с помощью гвоздевых пластин 13, которые с помощью металлических уголков 17 связывают в области каждого этажа на верхнем и на нижнем концах вертикальных стоек 3, стоящих друг на друге, с рамочными элементами 9. Соединение между балками (ригелями) 11 и рамочным элементом 9, для примера, показано на фиг.4.

Соединение верхних горизонтальных балок 5 с вертикальными стойками 3 происходит, например, в показанном на фиг.3 выполнении монтажа металлических уголков 17 (уголок 17 из листового металла, в частности, листовой стали). При этом соединении внешние кромки 24 вертикальных полок 23 металлических уголков 17 лежат с торцами балок 5 заподлицо.

Крепление средних горизонтальных балок 7 (верхнее перекрытие нижнего этажа и, соответственно, пол верхнего этажа) к вертикальным стойкам 3 производят, например, с помощью металлических уголков 17, которые устанавливают, как показано на фиг.2 (фиг.4). При этом соединении внешние кромки 24 вертикальных полок 23 металлических уголков 17 выступают за габарит стоек 3 над торцевыми поверхностями балок 7.

На проходящих поперек плоскости чертежа на фиг.1 узких сторонах показанного на фиг.1 каркаса для (жилого) здания между наружными стойками 3 концевых рамочных элементов 9 предусмотрены промежуточные стойки 6. Эти промежуточные стойки 6 связаны с горизонтальными балками 5, 7 концевых рамочных элементов 9 предпочтительно с помощью металлических уголков 17. Имеющиеся на узких сторонах соответствующего изобретению каркаса 1 зоны между промежуточными стойками 6, стойками 3 и горизонтальными балками 5, 7 могут быть частично или полностью закрыты балками (ригелями) 11, например, балкой 11 в показанном на фиг.4 выполнении. Существует также возможность связать панелями рамочные элементы 9, которые расположены в конце каркаса 1 (свинтить), если предусмотрена глухая сторона.

Альтернативно или дополнительно к описанным усилениям между вертикальными стойками 3 рамочных элементов 9 в соответствующем изобретению каркасе 1 могут быть предусмотрены, в частности, в угловой области также растяжки 70, как показано на фиг.14 и 15. Фиг.14 показывает выполнение с проходящей наклонно снизу наверх растяжкой 70, причем растяжка 70 предпочтительно расположена так, что она проходит к расположенной согласно изобретению в углу каркаса 1 вертикальной стойке 3 под углом вверх и жестко зафиксирована уголком.

Альтернативно может быть выбрано выполнение в виде “фахверка” (фиг.15), при котором предусмотрены, по меньшей мере, две проходящие под углом растяжки 70, которые расположены поверх и ниже горизонтальной поперечины 72 между вертикальными стойками 3 рамочных элементов 9.

Показанные на фиг.14 и 15 выполнения растяжки 70 могут быть использованы по смыслу также в качестве элементов усиления, устанавливаемых между вертикальными стойками 3 рамочных элементов 9, которые образуют, по существу, прямоугольную раму с, по меньшей мере, одной, проходящей под углом, растяжкой 70.

Как проходящие под углом растяжки 70 согласно фиг.14 и 15, так и элементы усиления, которые устанавливают между вертикальными стойками 3, могут быть закреплены с помощью клиньев 74 (фиг.15) или другими разъемными средствам крепления (установочные болты), чтобы они, при необходимости, могли быть удалены.

Такие проходящие под углом растяжки 70, которые установлены непосредственно между вертикальным стойками 3 или предусмотрены в специальных полях жесткости, применяют, в частности, в угловых зонах соответствующего изобретению каркаса 1, причем эти поля жесткости могут быть выполнены как растровые поля, и, как правило, не имеют дверей и/или окон.

Показанное на фиг.16 соединение горизонтальной балки 5 с вертикальной стойкой 3 рамочных элементов 9 с помощью соединительных накладок 76 позволяет состыковывать вертикальные стойки 3, в частности, при более высоких каркасах 1 торцами, без прокладки поперечин, без ущерба несущей способности (нагруженная со стороны торцов древесина имеет высокую несущую способность, иную, чем имеет древесина, нагруженная поперек направления волокон). Соединительные накладки 76 могут быть расположены, как показано на фиг.16, на обеих наружных поверхностях как вертикальной стойки 3, так и горизонтальной балки 5.

Есть альтернативная возможность крепления горизонтальной балки 5 соединительными накладками 76, которые действуют тогда, как консоли, чтобы закрепить горизонтальную ось с возможностью поворота.

Альтернативно соединительные накладки 76, которые скрепляют горизонтальную балку 5 с вертикальной стойкой 3 в области стыка между двумя прилегающими друг к другу торцами участками вертикальных стоек 3, могут быть установлены внутри горизонтальной балки 5 и вертикальной стойки 3 (в выемках в виде паза или в форме щели). Это выполнение выбирается, в частности, если горизонтальная балка 5 и/или вертикальная стойка 3 состоят из, по меньшей мере, двух прилегающих друг к другу продольными сторонами и скрепленных между собой деревянных деталей.

На накладках 76 на их проходящих вертикально полках могут быть приформованы за одно целое выступы 78. Эти выступы 78 выходят от стоек 3 с противоположной горизонтальным балкам 5 стороны и служат как опора для горизонтальных балок (ригелей) 11. Такие выступы, выступающие наружу относительно рамочных элементов 9, благоприятны, в частности, если на горизонтальных балках (ригелях) 11 закреплены внешние элементы облицовки стены, так как выступы 78 передают вертикальные силы на соответствующий изобретению каркас 1.

Выступы 78 могут также быть выполнены отдельными от соединительных элементов 76 или 60 или металлических уголков 17 деталями, которые отдельно крепят на вертикальных стойках 3 соответствующих изобретению рамочных элементов 9 там, где они необходимы.

Полки соединительных накладок 76 могут иметь отверстия 19 и/или загнутые нагели 21, как это пояснено в связи с металлическими уголками 17 (фиг.5).

Как правило, горизонтальные балки 11, которые связывают вместе рамочные элементы 9 каркаса 1, могут быть из деревянного бруса, как это, например, показано на фиг.4. Однако это не обязательно. Горизонтальные балки 11 могут быть также планками из металлического профиля, что, в частности, предпочтительно для балок 11, устанавливаемых на нижних концах вертикальных стоек 3 рамочных элементов 9, так как они могут быть уже деревянными балками, так что не будет пропадать так много строительной высоты.

На фиг.8 показано, что соединение между двумя вертикальными стойками 3 и горизонтальной балкой 5 или 7 рамочных элементов 9 и/или рамочных элементов 9 с соединяющими рамочные элементы 9 между собой балками (ригелями) 11 происходит соединительными накладками 60, которые входят как в горизонтальную балку 5, так и в вертикальную стойку 3, соответственно, в их концевой области (в предусмотренные там выемки в виде пазов или щелей). Эти соединительные накладки 60 состоят, например, из металла и скреплены со стойками 3 и горизонтальными балками 5 на их концах, например, посредством винтов или болтов с резьбой.

Если стойки 3 и/или балки 5 состоят из древесины, то предпочтительно, чтобы стойки 3 и/или балки 5 состояли из, по меньшей мере, двух, связанных друг с другом, деревянных частей. Соединительные накладки 60 могут быть расположены в шве между обеими деревянными частями, которые, будучи связанными друг с другом, образуют балки 5 и, соответственно, стойки 3, и могут быть там закреплены. Иногда средства (винты, болты и т.п.), те, которые связывают деревянные части друг с другом в стойки 3 и/или балки 5 или 7, служат также для того, чтобы устанавливать соединительные накладки 60 (или соединительные накладки 76) в стойки 3 и, соответственно, в балки 5.

Если горизонтальные балки 5 выполнены из двутавровых прокатных балок 61 из стали (фиг.12), соединительные накладки 60 могут быть расположены на одной прямой с перекладиной 62 и прикреплены к ней, например, приварены или привинчены или соединены заклепками. В этом случае соединительная накладка 60 образует как бы продолжение перекладины 62 двутавровой прокатной балки 61. Если вертикальные стойки 3 состоят из двутавровых стальных балок 61, накладки 60 могут быть присоединены к перекладине 62 одной полкой по одной прямой на расстоянии от ее середины, как показано на фиг.19. Возможно также двустороннее крепление соединительных накладок 60 к стойке 3 при стойках 3 из двутавровых стальных балок 61.

Если горизонтальные балки 5 составлены из двух стальных швеллеров 63 (с поперечным сечением С), сложенных друг с другом средними полками, как это показано на фиг.13, соединительные накладки 60 могут быть расположены между средними полками 64 швеллеров 63 и быть закрепленными там средствами, указанными выше, для выполнения, показанного на фиг.12.

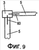
Соответствующая изобретению установка соединительных накладок 60, которые располагаются на концах горизонтальных балок 5, позволяет также образовывать узлы, как это показано на фиг. от 9 до 11 и фиг.17. Фиг.9 показывает угловой узел, фиг.10 – тавровый узел и фиг.11 – крестообразный узел, который можно встретить внутри здания.

На фиг.17 показано очень детально, как может быть выполнено соединение между стойкой 3 и горизонтальной балкой 5 или 7 и, соответственно, как может быть выполнен узел согласно фиг.8-11, если как стойка 3, так и несущая 5 состоят из древесины. Соединительная накладка 60, которая связывает горизонтальную балку 5 с вертикальной стойкой 3, расположена в соответствующих выемках в форме паза или в форме щели, предпочтительно в середине вертикальной стойки 3 и горизонтальной балки 5. Это выполнение предпочтительно, если, по меньшей мере, одна из горизонтальных балок 5, 7 или вертикальных стоек 3 состоит из двух продольно прилегающих друг к другу и связанных друг с другом деревянных частей.

Если одна из вертикальных стоек 3 или горизонтальных балок 5 или 7 выполнена из древесины, а остальная часть рамочного элемента 9 – из металла (сталь), следует принять во внимание, что уголок 17, соединительные накладки 60 или соединительные накладки 76 нужно располагать только в пределах одной части (стойки или балки) из древесины.

Согласно изобретению соединенные друг с другом металлическими уголками 17 или соединительными накладками 60, 76 (свинченные) стойки 3, балки 5 и 7 и промежуточные стойки 6, а также балки (ригели) 11 придают каркасу 1 здания всесторонне высокую стабильность.

Описанное выполнение соответствующего изобретению каркаса 1 дает далее то преимущество, что на оставшихся свободными между стойками 3 и балками 11 местах (полях) абсолютно свободно могут быть расположены окна и/или двери.

Во всяком случае, предусмотренная на балке 11 арматура позволяет применять для облицовки каркаса 1 заранее заготовленные элементы наружной стены или фасада, причем вид и конструкция таких элементов наружной стены или фасада и отбираемые для них материалы выбираются достаточно свободно.

В каркасе 1 для (жилого) здания с несущей продольной стеной в середине имеется возможность использовать ее как стабилизирующий фактор для соответствующего изобретению каркаса 1. Для этого стойки 3 вверху с обеих сторон снабжают металлическими уголками 17 или соединительными накладками 60 (фиг.8-11), к которым привинчивают перехватывающие балки (например, горизонтальные балки 5 или 7). Эти балки служат опорой для балок перекрытия, которые могут быть иногда привинчены металлическими уголками 17 к стойкам, причем наружные их концы, например, с помощью металлических уголков, крепят к наружным стенам.

Эта усиленная описанным способом продольная стена в середине позволяет возводить наружные стены по легкой технологии, причем, в частности, внимание может быть обращено на хорошую изоляцию, главным образом, теплоизоляцию.

Применяемые для соответствующего изобретению каркаса 1 стойки 3, промежуточные стойки 6, балки 11 и балки 5, 7 могут быть из древесины или стальных профилей, причем возможны также комбинации стоек 3, промежуточных стоек 6, балок 5, 7 и балок 11 из разных материалов (древесина и сталь). Стальные профили или элементы соответствующего изобретению каркаса 1 из разных материалов также могут быть соединены друг с другом с помощью металлических уголков 17 (с отверстиями) или соединительными накладками 60, 76.

На фиг.5 показаны сложенные друг с другом три различных варианта выполнения металлических уголков 17 для каркаса 1 согласно изобретению. Эти уголки 17 состоят из листового металла, предпочтительно листовой стали, и в угловой области 18, снаружи и внутри, закруглены, как это показано на фиг.5. Эти закругления благоприятствуют распределению сил в материале. Для изготовления металлических уголков 17, согласно изобретению, как показано на фиг.5, их штампуют из соответственно широкой металлической ленты, в частности, ленты из листовой стали, с экономией материала.

При штамповке металлических уголков 17, в частности, стальных уголков, в зависимости от варианта выполнения могут быть изготовлены отверстия 19 для пропускания крепежных элементов, таких как винты или нагели 21 (подобно гвоздевым пластинам) или же комбинации отверстий и отштампованных и отогнутых нагелей (подобно гвоздевым пластинам).

Так, фиг.5 показывает внизу металлический уголок 17, который имеет исключительно отштампованные и отогнутые от плоскости уголка 17, например, на 90° нагели 21 в обеих полках 23, так что это выполнение металлического уголка 17 может применяться как гвоздевая пластина.

Фиг.5 показывает в середине выполнение металлического уголка 17, в котором предусмотрены исключительно отверстия 19 для пропускания крепежных элементов. Отверстия 19 предусмотрены в обеих полках 23 металлического уголка 17.

Третье выполнение металлического уголка 17, верхнее из показанных на фиг.5, имеет на обеих полках 23 как свободно отштампованные и выступающие из плоскости уголка нагели 21, так и отверстия 19 для пропускания крепежных элементов, причем выполнение выбрано таким, что выступающие нагели 21 (подобно гвоздевым пластинам) предусмотрены на концах полок 23 металлического уголка 17, а отверстия 19 для пропускания крепежных винтов или такого рода крепежных средств ближе к углу 18 металлического уголка 17.

В рамках изобретения принято также во внимание, что для соединения составных частей каркаса 1 и его рамочных элементов 9 применяют два рядом расположенных металлических уголка 17. В этом случае могут использовать металлические уголки 17, которые прилегают друг к другу полкой 23 к полке 23 и соединены друг с другом. В частности, уголки 17 составляют друг с другом угол 90°. Такие связанные друг с другом (сваренные) металлические уголки 17 образуют совместно плоскую “Т” (аналогично соединительным накладкам 76 из фиг.16) или Т”, которое загнуто в области средней полки “Т”.

Выполнение металлических уголков 17, у которых есть как отверстия 19 для пропускания крепежных элементов, так и свободно отштампованные и отогнутые нагели 21, особенно предпочтительно, так как эти металлические уголки 17 облегчают монтаж, так как ими крепят друг к другу ударами молотка соединяемые части, после чего окончательное соединение может происходить без дальнейших вспомогательных средств, которые удерживают детали постановкой таких крепежных элементов, как винты, болты или гвозди.

Соответствующий изобретению каркас 1 для здания (жилой дом) применим, например, для возведения павильонных строений. Экономящая время и средства конструкция соответствующего изобретению каркаса 1 особенно хорошо проявляет себя в здании павильонного типа, так как фасады отстраивают зачастую без окон, тем более что в зданиях павильонного типа световой поток часто проходит через световые проемы (световые купола или т.п.) в области крыши.

Ранее описанные конструкции металлических уголков 17, в частности, стального уголка для прямоугольного соединения деталей соответствующего изобретению каркаса 1 имеют, независимо от, собственно, конструкции каркаса и его возведения, самостоятельное значение как изобретение. В частности, рассматриваются при этом металлические уголки 17, у которых предусмотрены комбинации из отверстий 19 и отштампованных нагелей 21 (подобно гвоздевым пластинам).

Имеет значение для стабильности соответствующего изобретению каркаса 1 в одном из выполнений, что металлические уголки 17 в каркасе 1 ориентированы в различных направлениях. Так, металлические уголки 17, которые связывают вертикальные стойки 3 с горизонтальными балками 5, 7, лежат в одной плоскости, в то время как металлические уголки 17, которые крепят балки 11 к вертикальным стойкам 3, напротив, лежат в плоскости, перпендикулярной упомянутой выше плоскости. Это ведет к всесторонней жесткости соответствующего изобретению каркаса 1, образующего основу здания.

Хотя в показанном на фиг.1 примере выполнения верхние горизонтальные балки 5 каждого рамочного элемента 9 выполнены как прямые балки 5, в рамках изобретения принято во внимание также выполнение, при котором горизонтальные балки 5 каждого рамочного элемента 9 или, по меньшей мере, отдельных рамочных элементов 9 соответствующего изобретению каркаса 1, согласованы с формой крыши здания, возводимого с применением соответствующего изобретению каркаса 1. Таким образом, в зданиях с односкатной крышей верхние балки 5 всех или отдельных рамочных элементов 9 соответствующего изобретению каркаса 1 могут быть наклонены к горизонтали под углом односкатной крыши. В этом случае используют металлические уголки 17, которые связывают балки 5 с вертикальными стойками 3, не с расположенными под прямым углом друг к другу полками, а полки металлических уголков 17 стоят друг к другу под углом, соответствующим наклонному положению этой балки 5 рамочных элементов 9. То же по смыслу относится и к другим формам крыши, таким как двускатная крыша, четырехскатная (шатровая) крыша, мансардная крыша и т.п.

На фиг.6 и 7 из соответствующего изобретению каркаса 1 показаны лишь две стойки 3 рамочных элементов 9 и две горизонтальных балки 7. На фиг.6 показано, что, в частности, при высоких рамочных элементах 9, стойки 3 могут состоять из двух стоек 3, которые расположены без промежуточного соединения, например, прикреплены к горизонтальным балкам 7 и, опосредованно, вертикально одна к другой (стык 47). Таким образом получают более высокую несущую способность и предельно допускаемую нагрузку. В каркасе 1 согласно изобретению могут быть предусмотрены, однако, горизонтальные балки 5, 7, которые расположены между концами стоящих вертикально друг над другом вертикальных стоек 3.

В показанном на фиг.6 примере показано, что в области высоты горизонтальных балок 7 предусмотрено межэтажное перекрытие 30, состоящее из соответствующего количества горизонтальных балок 31 и пола перекрытия 33, который состоит, в показанном примере выполнения, из нескольких полотен (деревянных досок).

Между соседними стойками 3 смежных рамочных элементов 9 в показанном примере выполнения закреплены две балки 37, которые направлены горизонтально. Балки 37 прикреплены в этом примере выполнения с помощью металлических уголков 43, 44 и крепежных винтов к вертикальным стойкам 3.

Балки 37 несут стеновой элемент 39, который в показанном примере выполнения составлен из нескольких вертикальных продольных элементов. Эти продольные элементы могут быть пластмассовыми досками, металлическими полосами или деревянными досками. На фиг.7 показано также, что с внутренней стороны стенового элемента 39 может быть предусмотрена изоляция 41.

В предпочтительном варианте выполнения балки 37, прежде чем их располагают между вертикальными стойками 3 и там закрепляют, связывают со стеновым элементом 39 в единое целое. Это упрощенная технология, так как достаточно, например, связать стеновой элемент 39 с двумя балками 37 в блок, который лежит на перекрытии 30 или на полу и затем только лишь откидывается вверх до упора. Чтобы облегчить выравнивание стенового элемента 39 с балками 37 относительно стоек 3, с наружной стороны вертикальных стоек предусмотрены упоры 50 (накладки). Упоры 50 занимают, по меньшей мере, часть высоты вертикальной стойки 3 и выступают в показанном примере выполнения с двух сторон за габарит вертикальной стойки 3. Имеющимися по бокам стоек 3 выступами упоры 50 обеспечивают точное выравнивание стеновых элементов 39 без необходимости особенного внимания. Просто достаточно двигать вперед стеновой элемент 39, при случае с закрепленными на нем балками 37, до прилегания к упорам 50. Затем балки 37 будут любым способом, в частности, уголками 43, 44 и/или установочными болтами, прикреплены к вертикальным стойкам 3 рамочных элементов 9 соответствующего изобретению каркаса 1. На внутреннюю сторону стеновых элементов 39 может быть нанесена изоляция 41. Эту изоляцию 41 наносят (фиг.7) между балками 37 и/или на обращенную внутрь здания сторону балок 37. Изоляция 41 может быть нанесена при монтаже блока из стенового элемента 41 и балок 37 или после установки блока между стойками 3 каркаса 1.

При желании на стеновые элементы 39 можно нанести снаружи слой штукатурки 45, причем штукатурка 45 лежит лишь между упорами 50 или, альтернативно, между стойками 3, то есть прерывается упорами 50 или стойками 3.

При вертикально друг над другом расположенных стойках 3 предпочтительно, чтобы их стык 47 находился в области горизонтальных балок 7.

При этом соединение горизонтальных балок 5, 7 может быть, предпочтительно, выполнено таким образом, как это показано на фиг.16.

В измененном по сравнению с фиг.6 или 7 выполнении стеновой элемент 39, как следует из описания фиг.20 и 21, может быть установлен на место между вертикальными стойками 3.

Сам по себе, стабильный по форме и готовый, стеновой элемент 39 между вертикальными стойками 3 доводят до упоров через шарниры 90, установленные на горизонтальных строительных деталях (например, на межэтажном перекрытии), или также через шарниры 90 на самой вертикальной стойке 3, так что он может быть точно повернут в свое рабочее положение или вокруг горизонтальной (установленной на нижнем краю стенового элемента 39) оси (как на фиг.20 и 21) или вокруг вертикальной оси, которую устанавливают в области одной из двух стоек 3, между которыми стеновой элемент 39 следует поставить на место. Эта технология имеет то преимущество, что возможно простое точное позиционирование стенового элемента 39, и стеновой элемент 39 при желании может быть вновь открыт.

Эта форма выполнения позволяет также делать более узкими упоры 50 (накладки), которые установлены на вертикальных стойках 3 так, чтобы они только немного выступали за габариты стоек 3.

Окончательное фиксирование стенового элемента 39 можно произвести любым способом, например, специальными крепежными средствами или же также с помощью клиньев, которые вбивают или запрессовывают в стыковые швы между вертикальными стойками 3 и стеновым элементом 39.

Если упоры 50 с наружной стороны вертикальных стоек 3 выполнены более узкими, уплотнение швов 91, например, может быть осуществлено изнутри в области стыка между стенным элементом 39 и упорами 50.

Шарниры (сочленения) 90 могут быть закреплены, например, на межэтажном перекрытии 30 или балке перекрытия. В любом случае, при установке шарниров 90 рекомендуется одни части шарниров (приемные) установить, например, на горизонтальной архитектурной детали, например, на межэтажном перекрытии 30, и затем вдвинуть стеновой элемент 39 установленными на нем другими (вставляемыми) частями шарниров, например, шарнирными болтами в приемные части шарниров, закрепленные на горизонтальной архитектурной детали.

Если упоры 50 только немного выступают за габариты вертикальных стоек 3, планки уплотнения могут быть закреплены между упорами 50 и вертикальными кромками стеновых элементов 39 изнутри, к упорам 50.

Для установки стеновых элементов 39, служащих облицовкой соответствующего изобретению каркаса 1, например, стеновых элементов 39, конструкция которых для примера показана на фиг.6, 7, 20, 21, между вертикальными стойками 3 рамочных элементов 9 соответствующего изобретению каркаса 1 имеются различные возможности. В отношении облицовки каркаса 1 стеновыми элементами различают, в частности:

– облицовки стен (в частности, небольшие, легкие облицовки стены, например, для жилых строений), устанавливаемые снаружи, примыкающие к продольной балке;

– облицовки стен (в частности, небольшие, легкие облицовки стен, например, для жилых строений), смонтированные изнутри до упора в упоры 50 (накладки) на вертикальных стойках 3;

– облицовки стен (в частности, большие/более тяжелые облицовки стен для хозяйственных строений), смонтированные изнутри со сборкой, подобной шарнирной; с

а. шарнир на балке пола,

b. шарнир на вертикальной стойке или

с. без шарнира, только при монтаже установлены, как на шарнире,

– герметизацию швов могут выполнять произвольно.

Для маленьких и легких стеновых элементов 39, какие используют в строительстве жилых зданий, достаточно обычно простого вдевания и навешивания от руки. Важно только, что стеновые элементы могут быть установлены также изнутри – например, так, что элемент, подогнав, вдевают, затем навешивают поперечную балку и закрепляют стеновой элемент на стеновой балке.

На фиг.18 показан вариант установки стеновых элементов 39 на наружной стороне соответствующих изобретению каркасов 1, образованных рамочными элементами 9. В частности, на стойку 3, которая составлена из двух продольно прилегающих друг к другу горизонтальных деревянных частей 4, которые связаны друг с другом подробно непоказанным способом, нанесена снаружи водонепроницаемая прокладка 80. Прилегая к этой прокладке 80, стеновые элементы 39, которые в зоне вертикальных стоек 3 стыкуют друг с другом, установлены так, что места их стыка 81 располагаются в зоне вертикальных стоек 3. Стеновые элементы 39 могут быть закреплены крепежными элементами 82, которые вводятся в стойки 3. Альтернативно или дополнительно имеется возможность крепить стеновые элементы 39 к брусьям 83 или балкам 11, закрепленным между стойками 3, для чего стеновые элементы 39 навешиваются, например, на брус 83 или балку 11 выемкой.

Независимо от того, как стеновые элементы 39 закреплены, они могут быть расположены, перекрывая друг друга, или быть рядом, причем (см. фиг.18) в области стыка может быть применена планка 84 профиля перекрытия.

Соответствующее изобретению выполнение позволяет изготавливать стойки 3 из металла (стали) или древесины и балки 5 также изготавливать из металла (стали) или древесины. Таким образом, возможны различные комбинации между материалами, металл и древесина, причем стойки 3 из металла могут быть комбинируемы с балками 5 из древесины, стойки 3 из древесины с балками 5 из металла, а также стойки 3 из металла с балками 5 из металла и стойки 3 из древесины с балками 5 из древесины.

К горизонтальным балкам 5 могут быть, при всех вариантах выполнения изобретения, прикреплены дополнительные накладки для перегородок или дополнительных горизонтальных балок 5, так что в каркасе 1 здания, который образован из соответствующих изобретению рамочных элементов 9, в любых местах могут быть расположены дополнительные разделительные элементы (перегородки и т.п.), а также несущие элементы (дополнительные стойки и/или балки).

Обобщая, пример выполнения может быть представлен, как показано ниже.

Здание, например жилая структура или павильон, имеет каркас 1, который состоит из нескольких, расположенных параллельно друг к другу на расстоянии друг от друга, рамочных элементов 9. Рамочные элементы 9 состоят, каждый, из двух вертикальных стоек 3 и, по меньшей мере, одной горизонтальной балки 5 и 7. Рамочные элементы 9 связывают друг с другом в каркас 1 здания балками 11, которые снаружи крепят к их вертикальным стойкам 3. Для соединения стоек 3, балок 5 и 7 и балок 11 используют уголки 17 из листовой стали, которые в своих полках 23 имеют отверстия 19 для пропускания средств соединения (винты) и/или уголки 17 с отштампованными и отогнутыми наружу нагелями 21 на полках 23 по типу гвоздевых пластин.

В каркасе 1 из рамочных элементов 9 с вертикальными стойками 3 и горизонтальными балками 7 для соединения рамочных элементов 9 с продольным ребром жесткости каркаса 1 предусмотрены балки 37, которые расположены между вертикальными стойками 3 и закреплены. Балки 37 несут стеновые элементы 39, которые прилегают изнутри к упорам 50 на вертикальных стойках 3. Предпочтительно, если стеновые элементы 39 и балки 37 являются предварительно изготовленными узлами, которые помещают между вертикальными стойками 3, доводя до упоров 50, и затем балки 37 закрепляют на вертикальных стойках 3.

Формула изобретения

1. Каркас для здания, состоящий из вертикальных стоек (3) и горизонтальных балок (5, 7), причем предусмотрены, по меньшей мере, два рамочных элемента (9), каждый из которых состоит из, по меньшей мере, двух вертикальных стоек (3) и, по меньшей мере, одной, связанной с ними, горизонтальной балки (5, 7), и рамочные элементы (9) расположены на расстоянии друг от друга и связаны друг с другом, причем рамочные элементы (9) связаны друг с другом горизонтально направленными балками (11), размещенными на вертикальных стойках (3), отличающийся тем, что между соседними вертикальными стойками (3) расположены горизонтальные балки (37), которые соединены со стойками (3), причем горизонтальные балки (37) на их обращенной к каркасу (1) стороне несут стеновой элемент (39), причем на вертикальных стойках (3) рамочных элементов (9) снаружи предусмотрены упоры (50) для стеновых элементов (39), и эти упоры (50) выступают с обеих сторон за пределы габарита вертикальных стоек (3) рамочных элементов (9).

2. Каркас по п.1, отличающийся тем, что направленные по горизонтали балки (11) представляют собой деревянные брусья или металлические планки.

3. Каркас по п.1 или 2, отличающийся тем, что балки (11), в частности деревянные брусья, состоят каждая из двух стержней (15), связанных друг с другом, в частности из целикового деревянного бруса.

4. Каркас по п.2, отличающийся тем, что самая нижняя балка (11), направленная горизонтально и связывающая рамочные элементы (9) друг с другом, является планкой металлического профиля.

5. Каркас по п.4, отличающийся тем, что планка металлического профиля уже, чем стержень в виде деревянного бруса.

6. Каркас по п.5, отличающийся тем, что стержни (11), соединяющие друг с другом рамочные элементы (9) расположены, по меньшей мере, в области нижних концов вертикальных стоек (3) и в области верхних концов вертикальных стоек (3).

7. Каркас по п.1, отличающийся тем, что каждый рамочный элемент (9) каркаса (1) для многоэтажного здания имеет, по меньшей мере, две горизонтальные балки (5, 7), расположенные на расстоянии друг от друга.

8. Каркас по п.1, отличающийся тем, что балки (11), соединяющие рамочные элементы (9) друг с другом, предусмотрены в области высоты горизонтальных балок (5, 7).

9. Каркас по п.1, отличающийся тем, что вертикальные стойки (3) состоят из древесины.

10. Каркас по п.1, отличающийся тем, что вертикальные стойки (3) состоят из металлического профиля.

11. Каркас по п.1, отличающийся тем, что горизонтальные балки (5, 7) состоят из древесины.

12. Каркас по п.1, отличающийся тем, что горизонтальные балки (5, 7) являются профилями из стали.

13. Каркас по п.1, отличающийся тем, что горизонтальные балки (5, 7) связаны с вертикальными стойками (3) посредством металлических уголков (17) или соединительных накладок (76), перемыкающих область стыка между упомянутыми конструктивными элементами.

14. Каркас по п.13, отличающийся тем, что металлические уголки (17) или соединительные накладки (76) расположены прилегая с двух сторон к связанным друг с другом вертикальным стойкам (3) и горизонтальным балкам (5, 7).

15. Каркас по п.13 или 14, отличающийся тем, что металлические уголки (17) расположены на верхних горизонтальных балках (3) в области концов горизонтальных балок (3).

16. Каркас по п.15, отличающийся тем, что торцы горизонтальных балок (3), по существу, совпадают с внешними кромками (24) вертикальных полок (23) металлических уголков (17).

17. Каркас по п.15, отличающийся тем, что металлические уголки (17) установлены на горизонтальных балках (7), которые расположены между нижним концом и верхним концом рамочного элемента (9), выступая за торцы балок (7).

18. Каркас по п.17, отличающийся тем, что внешние кромки (24) вертикальных полок (23) металлических уголков (17) выступают за торцевые поверхности балки (7).

19. Каркас по п.1, отличающийся тем, что для крепления балок (11), связывающих друг с другом вертикальные стойки (3) на вертикальных стойках (3) рамочных элементов (9), предусмотрены металлические уголки (17), у которых одна полка (23) закреплена на вертикальной стойке (3), а другая полка (23) – на балке (11).

20. Каркас по п.19, отличающийся тем, что при балках (11), составленных из нескольких брусьев (15), горизонтальная полка (23) металлического уголка (17) расположена между брусьями (15), перемыкая продольный стык.

21. Каркас по п.1, отличающийся тем, что верхние балки (5) рамочных элементов (9) проходят и/или направлены так, что это направление соответствует конфигурации крыши возводимого с применением каркаса (1) здания.

22. Каркас по п.1, отличающийся тем, что вертикальные стойки (3) выполнены из металла, а горизонтальные балки (5) – из древесины.

23. Каркас по п.1, отличающийся тем, что горизонтальные балки (37) связаны с вертикальными стойками (3) с помощью уголков (43, 44) установочными болтами для стягивания и т.п.

24. Каркас по п.1, отличающийся тем, что предусмотрены стеновые элементы (39), имеющие оконные проемы и/или дверные проемы.

25. Каркас по п.24, отличающийся тем, что стеновой элемент (39) связан, по меньшей мере, с двумя балками (37) в единый блок.

26. Каркас по п.24 или 25, отличающийся тем, что стеновые элементы (39) несут на наружной стороне слой штукатурки (45).

27. Каркас по п.24, отличающийся тем, что стеновые элементы (39) выполнены из древесины, металла, пластмассы или минерального материала.

28. Каркас по п.24 или 27, отличающийся тем, что стеновые элементы (39) могут быть составлены из нескольких продольных полотен или полос.

29. Каркас по п.1, отличающийся тем, что упоры (50) выполнены из древесины, металла, пластмассы или минерального материала.

30. Каркас по п.24, отличающийся тем, что стеновые элементы (39) выполнены высотой с этаж.

31. Каркас по п.1, отличающийся тем, что на каждом этаже каркаса (1) между соседними стойками (3) рамочных элементов (9) предусмотрены, по меньшей мере, две горизонтальные балки (37).

32. Каркас по п.24 или 30, отличающийся тем, что расположенные друг над другом стеновые элементы (39) плотно состыкованы.

33. Каркас по п.24 или 30, отличающийся тем, что расположенные друг над другом стеновые элементы (39) перекрывают друг друга.

34. Каркас по п.33, отличающийся тем, что верхний стеновой элемент (39) наложен на нижний стеновой элемент (39) частично его перекрывая.

35. Каркас по п.1, отличающийся тем, что стойки (3) рамочных элементов (9) выполнены составными и в области стыка (47) стоят непосредственно одна на другой.

36. Каркас по п.1, отличающийся тем, что на обращенной к зданию стороне балки (37) предусмотрена изоляция (41).

37. Каркас по п.24, отличающийся тем, что на обращенной к зданию стороне стеновых элементов (39) предусмотрена изоляция (41).

38. Каркас по п.1, отличающийся тем, что балки (37) выполнены из древесины или металла.

39. Каркас по п.38, отличающийся тем, что балки (37) из металла имеют на концах поперечины, которые связаны с вертикальными стойками (3) рамочных элементов (9).

40. Каркас по п.1, отличающийся тем, что вертикальные стойки (3) с горизонтальными балками (5, 7) связаны друг с другом соединительными накладками (60, 76), входящими в концы стоек (3) / балок (5, 7).

41. Каркас по п.1, отличающийся тем, что балки (11), соединяющие между собой рамочные элементы (9), связаны с вертикальными стойками (3) соединительными накладками (60), входящими в концы балок (11).

42. Каркас по п.40 или 41, отличающийся тем, что соединительные накладки (60, 76) установлены между соединяемыми между собой деревянными деталями, образующими балки (5, 7), стойки (3) и/или балки (11).

43. Каркас по п.40 или 41, отличающийся тем, что соединительные накладки (60) закреплены на перекладине (62) балки (5, 7, 11), изготовленной из металлического профиля двутаврового сечения.

44. Каркас по п.40 или 41, отличающийся тем, что соединительные накладки (60) устанавливают между средними полками (64) сложенных друг с другом средними полками металлических швеллеров (63), образующих балки (5, 7, 11).

45. Каркас по п.40 или 41, отличающийся тем, что в стойке (3) предусмотрены, по меньшей мере, две соединительные накладки (60), которые составляют друг с другом угол, в частности угол 90°.

46. Каркас по п.1, отличающийся тем, что к горизонтальным стойкам (3) присоединены, по меньшей мере, две горизонтальные балки (5), ориентированные в разных направлениях.

47. Каркас по п.46, отличающийся тем, что для крепления горизонтальных балок (5, 7) к вертикальным стойкам (3) в концах, по меньшей мере, одной горизонтальной балки (5) и вертикальной стойки (3) предусмотрены выемки в форме паза или, соответственно, в форме щели для установки соединительных накладок (60, 76).

48. Каркас по п.47, отличающийся тем, что соединительные накладки (60) имеют прямоугольную форму.

49. Каркас по п.48, отличающийся тем, что соединительные накладки (76) имеют Т-образную форму.

50. Каркас по п.47, отличающийся тем, что горизонтальные балки (5), присоединенные к горизонтальным элементам соединительных накладок (76), установлены с возможностью поворота вокруг горизонтальной оси.

51. Каркас по п.1, отличающийся тем, что на вертикальных стойках (3) предусмотрены выступающие наружу выступы (78) для опоры горизонтальных балок (11).

52. Каркас по п.51, отличающийся тем, что выступы (78) выполнены заодно с соединительными накладками (76).

53. Каркас по п.1, отличающийся тем, что между вертикальными стойками (3) рамочных элементов (9) предусмотрено, по меньшей мере, по одной растяжке (70), проходящей под углом.

54. Каркас по п.53, отличающийся тем, что предусмотрена растяжка между стойкой (3) рамочного элемента (9), расположенной в угловой области каркаса (1) и следующей по направлению внутрь стойкой (3) соседнего рамочного элемента(9).

55. Каркас по п.53 или 54, отличающийся тем, что растяжки (70) направлены к углу каркаса (1), проходя под углом вверх.

56. Каркас по п.53 или 54, отличающийся тем, что предусмотрены две растяжки (70), между которыми установлен поперечный стержень (72), предусмотренный примерно на середине высоты вертикальной стойки (3).

57. Каркас по п.1, отличающийся тем, что внешние стеновые элементы (39) с прокладкой (80) между ними закреплены на вертикальных стойках (3) рамочных элементов (9).

58. Каркас по п.57, отличающийся тем, что стыковой шов (81) между граничащими друг с другом внешними стеновыми элементами (39) закрыт защитной планкой (84).

59. Каркас по п.1, отличающийся тем, что стеновые элементы (39) закреплены между стойками (3) на закрепленных между стойками (3) брусьях (83), в частности навешены.

60. Каркас по п.1, отличающийся тем, что между стойками (3) соседних рамочных элементов (9) предусмотрены поля жесткости.

61. Каркас по п.60, отличающийся тем, что поля жесткости имеют прямоугольную раму.

62. Каркас по п.60 или 61, отличающийся тем, что в элементах усиления предусмотрена, по меньшей мере, одна растяжка (70), проходящая под углом (по диагонали).

63. Каркас по п.53, отличающийся тем, что проходящие под углом растяжки (70) закреплены между вертикальными стойками (3) соседних рамочных элементов (9) клиньями (74).

64. Каркас по п.60, отличающийся тем, что поля жесткости разъемно закреплены между вертикальными стойками (3) соседних рамочных элементов (9) клиньями (74) или установочными болтами.

65. Каркас по п.1, отличающийся тем, что помещаемые между вертикальными стойками (3) стеновые элементы (39) установлены с возможностью поворота в их рабочее положение, находящееся между вертикальными стойками (3).

66. Каркас по п.65, отличающийся тем, что стеновые элементы (39) установлены с возможностью поворота вокруг горизонтальной оси.

67. Каркас по п.65, отличающийся тем, что стеновые элементы (39) установлены с возможностью поворота вокруг вертикальной оси.

68. Каркас по п.65, отличающийся тем, что стеновые элементы (39) установлены с возможностью поворота вокруг шарниров (90).

69. Каркас по п.65, отличающийся тем, что на упоры (50) изнутри установлены планки для уплотнения швов между упором (50) и стеновым элементом (39).

70. Каркас по п.65, отличающийся тем, что стеновой элемент (39) после поворота в рабочее положение зафиксирован в этом положении средствами крепления, например забитыми или запрессованными клиньями.

РИСУНКИ

Categories: BD_2397000-2397999