Патент на изобретение №2397294

Published by on




РОССИЙСКАЯ ФЕДЕРАЦИЯ



ФЕДЕРАЛЬНАЯ СЛУЖБА
ПО ИНТЕЛЛЕКТУАЛЬНОЙ СОБСТВЕННОСТИ,
ПАТЕНТАМ И ТОВАРНЫМ ЗНАКАМ
(19) RU (11) 2397294 (13) C2
(51) МПК

E03D5/016 (2006.01)

(12) ОПИСАНИЕ ИЗОБРЕТЕНИЯ К ПАТЕНТУ

Статус: по данным на 28.09.2010 – действует

(21), (22) Заявка: 2008123399/03, 14.12.2005

(24) Дата начала отсчета срока действия патента:

14.12.2005

(43) Дата публикации заявки: 20.01.2010

(46) Опубликовано: 20.08.2010

(56) Список документов, цитированных в отчете о
поиске:
WO 02068764 А1, 06.09.2002. SU 696113 А, 05.11.1979. GB 1302532 А, 10.01.1970. GB 1288786 А, 13.09.1972.

(85) Дата перевода заявки PCT на национальную фазу:

14.07.2008

(86) Заявка PCT:

CN 2005/002183 20051214

(87) Публикация PCT:

WO 2007/068144 20070621

Адрес для переписки:

117393, Москва, а/я 279, ООО “Константин Шилан и Ко.” (Фирма патентных поверенных), пат.пов. К.А.Шилану, рег. 367

(72) Автор(ы):

ВУ ХАО (CN)

(73) Патентообладатель(и):

ВУ ХАО (CN)

(54) БЕЗВОДНЫЙ ТУАЛЕТ СО СМЫВАЮЩИМ УСТРОЙСТВОМ И СМЫВАЮЩИМ НАСОСОМ

(57) Реферат:

Изобретение относится к области санитарно-технических устройств. Безводное смывное устройство туалета состоит из устройства обнаружения человека, устройства управления контуром, унитаза, устройства диспергатора и центрифуги, смывного насоса смывной жидкости верхнего уровня, камеры сбора смывной жидкости, камеры сбора фекальных масс, автоматического устройства дозирования дезодорирующей жидкости. При этом устройство диспергатора и центрифуги состоит из чаши с диспергатором и рабочего колеса центрифуги, установленного на том же валу, и электродвигателя, который установлен в углублении унитаза для привода вала. Смывной насос смывной жидкости верхнего уровня установлен внутри или снаружи камеры смывной жидкости, что позволяет легче откачивать смывную жидкость верхнего уровня, выход смывного насоса смывной жидкости верхнего уровня соединен с передней частью унитаза через трубопровод. При этом в состав устройства также входит четырехходовой электроуправляемый клапан, вход которого соединен с выходом в боковой стенке углубления в задней части унитаза для сбора фекальных масс. Три выхода клапана соединены с центральной частью унитаза, камерой сбора фекальных масс и камерой сбора смывной жидкости через трубу диспергированных фекальных масс, трубу-коллектор фекальных масс и трубу-коллектор урины. Технический результат заключается в упрощении монтажа и техобслуживании устройства. 6 з.п. ф-лы, 8 ил.

ОБЛАСТЬ ТЕХНИКИ ИЗОБРЕТЕНИЯ

Изобретение относится к смывному устройству туалета особой конструкции. В состав вышеупомянутой конструкции входит смывной насос, в котором не используется вода в качестве смывной жидкости.

ПРЕДПОСЫЛКИ СОЗДАНИЯ ИЗОБРЕТЕНИЯ

Заявка по настоящему изобретению соответствует международной заявке (номер публикации – WO 02/68764), в которой предлагается своего рода туалет со смывом. Он состоит из унитаза, насоса-измельчителя и устройства управления контуром. Труба измельчителя фекальной массы установлена в нижней части унитаза и соединена с выходом насоса-измельчителя унитаза. На трубе измельчителя фекальной массы установлен магнитный клапан. В нижней части унитаза установлена труба-коллектор фекальной массы, которая снабжена магнитным клапаном. Другой конец трубы-коллектора фекальной массы открыт и через него можно сбрасывать нечистоты. При смыве туалета под контролем устройства управления контуром организуется циркуляция смывной жидкости по контуру, состоящему из унитаза, насоса-измельчителя, магнитного клапана измельчителя фекальной массы, трубы измельчителя фекальной массы и унитаза, при этом фекальная масса смывается из унитаза в насос-измельчитель для измельчения. Затем жидкая фекальная масса смешивается со смывной жидкостью и превращается в кашеобразную массу; устройство управления контуром открывает магнитный клапан и насос-измельчитель вращает и удаляет нечистоты из унитаза наружу через насос-измельчитель, магнитный клапан и трубу-коллектор фекальной массы. Экономия воды осуществляется главным образом путем обеспечения циркуляции смывной структуры, при этом изобретение обеспечивает большую экономию воды. Кроме того, установлено устройство-коллектор урины, устройство-дозатор жидких медицинских препаратов, смывное устройство с двойным насосом и устройство автоматической идентификации фекальной массы и урины. Вышеупомянутые структуры объединяются вместе и формируют систему смыва туалета без напора воды. Система выполняет функцию санитарного смыва без неприятного запаха и с управляемым сбросом и удовлетворяет требованиям защиты окружающей среды.

После использования данного туалета в течение некоторого времени было обнаружено, что у него есть некоторые недостатки. В результате того, что труба диспергированных фекальных масс, труба-коллектор фекальных масс, труба-коллектор урины и магнитный клапан вышеупомянутых труб и четырехходовая соединительная муфта занимают много места, усложняется монтаж и техобслуживание данного устройства. В частности, в результате того, что в четырехходовой соединительной муфте часто остается жидкость, это приводит к тому, что открываются разные магнитные клапаны и сообщаются различные трубопроводы. Затем остатки жидкости будут поступать туда, куда не надо. Например, однородные фекальные массы поступают в камеру сбора смывной жидкости, или не совсем чистая урина сбрасывается через трубу-коллектор фекальных масс.

КРАТКОЕ ИЗЛОЖЕНИЕ СУЩНОСТИ ИЗОБРЕТЕНИЯ

В данном изобретении предлагается решение проблем безводного смывного устройства туалета со смывным насосом. Проблемы состоят в том, что труба диспергированных фекальных масс, труба-коллектор фекальных масс, труба-коллектор урины и магнитный клапан вышеупомянутых труб и четырехходовая соединительная муфта занимают много места, из-за этого усложняется монтаж и техобслуживание данного устройства, кроме того в четырехходовой соединительной муфте часто остается жидкость, и это приводит к тому, что открываются разные магнитные клапаны и сообщаются различные трубопроводы, при этом остатки жидкости будут поступать туда, куда не надо. В настоящем изобретении предлагается улучшенный вариант безводного смывного устройства туалета со смывным насосом.

В состав безводного смывного устройства туалета входит устройство обнаружения человека, устройство управления контуром, унитаз, устройство диспергатора и центрифуги, смывной насос смывной жидкости верхнего уровня, камера сбора смывной жидкости, камера сбора фекальных масс, автоматическое устройство дозирования дезодорирующей жидкости. В состав устройства диспергатора и центрифуги входит чаша с диспергатором и рабочее колесо центрифуги, установленное на том же самом валу и электродвигатель, который установлен в углублении унитаза для привода вала. Смывной насос смывной жидкости верхнего уровня установлен снаружи или внутри камеры смывной жидкости, и это позволяет легко откачивать смывную жидкость верхнего уровня. Передняя сторона унитаза соединена со смывным насосом смывной жидкости верхнего уровня через трубопровод. Еще одна отличительная особенность состоит в наличии четырехходового электроуправляемого клапана, один из входов которого соединен с выходом в боковой стенке углубления в задней части унитаза для сбора фекальных масс. А три его выхода соединены с центральной частью унитаза, камерой сбора фекальных масс и камерой сбора смывной жидкости через трубу диспергированных фекальных масс, трубу-коллектор фекальных масс и трубу-коллектор урины.

В безводном смывном устройстве туалета по настоящему изобретению используется четырехходовой клапан, заменяющий магнитный клапан трубы диспергированных фекальных масс, магнитный клапан трубы-коллектора фекальных масс и урины, что обеспечивает обращение с жидкими фекальными массами и уриной в трубе диспергированных фекальных масс, трубе-коллекторе фекальных масс и урины. Конструкция упростилась, и стоимость снизилась. Кроме этого, поскольку четырехходовая соединительная муфта упразднена, решена проблема неправильного перетока жидкости. Таким образом можно избежать перетока однородных фекальных масс в камеру сбора смывной жидкости или избежать сброса условно чистой и чистой урины через трубу-коллектор фекальных масс, и это повышает смывающий эффект.

КРАТКОЕ ОПИСАНИЕ ЧЕРТЕЖЕЙ

На фиг.1 представлено продольное сечение первого примера безводного смывного устройства туалета по настоящему изобретению.

На фиг.2 представлено продольное сечение второго примера безводного смывного устройства туалета по настоящему изобретению.

На фиг.3 представлено продольное сечение третьего примера безводного смывного устройства туалета по настоящему изобретению.

На фиг.4 представлено продольное сечение четвертого примера безводного смывного устройства туалета по настоящему изобретению.

На фиг.5 представлено продольное сечение пятого примера безводного смывного устройства туалета по настоящему изобретению.

На фиг.6 представлено продольное сечение безводного смывного устройства туалета прототипа.

На фиг.7 – статистическая диаграмма времени дефекации или мочеиспускания, используемая для автоматической идентификации дефекации или мочеиспускания в устройстве управления контуром прототипа безводного смывного устройства туалета.

На фиг.8 – логическая диаграмма автоматической идентификации дефекации или мочеиспускания прототипа безводного смывного устройства туалета.

Отличительные особенности и преимущества настоящего изобретения особенно ясно видны из детального описания примеров осуществления настоящего изобретения со ссылкой на прилагаемые чертежи.

Для более глубокого понимания настоящего изобретения сошлемся на заявку РСТ тех же авторов, что и публикация WO 2/68764.

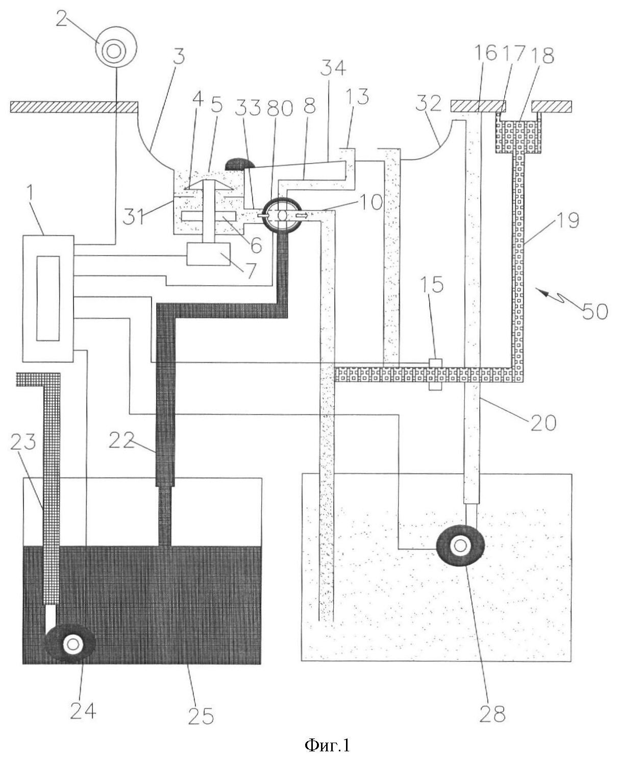
В публикации WO 2/68764 предлагается туалет со смывом, как показано на фиг.6. В его состав входит устройство обнаружения человека 2, устройство управления контуром 1 унитаза 3, устройство диспергатора и центрифуги 5, смывной насос смывной жидкости верхнего уровня 28, камера сбора смывной жидкости 26, камера сбора фекальных масс 25, автоматическое устройство дозирования дезодорирующей жидкости 50 и многочисленные трубопроводы.

В состав устройства диспергатора и центрифуги 5 входит чаша с диспергатором 4 и рабочее колесо центрифуги 6, установленное на том же валу, и электродвигатель 7, который установлен в углублении 31 унитаза, для привода вала. Смывной насос смывной жидкости верхнего уровня 28 установлен внутри или снаружи камеры смывной жидкости 26, что позволяет легче откачивать смывную жидкость верхнего уровня. Выход смывного насоса смывной жидкости верхнего уровня соединен через трубопровод 20 с открытым концом 16 на передней стороне 32 унитаза 3. В состав трубопроводов входит труба диспергированных фекальных масс 8 и установленный на ней магнитный клапан 12, труба-коллектор фекальных масс 22 и установленный на ней магнитный клапан коллектора фекальных масс 9 и труба-коллектор урины 10 и установленный на ней магнитный клапан 11. Входы трубы диспергированных фекальных масс 8, трубы-коллектора фекальных масс 22 и трубы-коллектора урины 10 соединены с выходом 33 в боковой стенке углубления 31 в задней части унитаза для сбора фекальных масс через четырехходовую соединительную муфту 40, а выход соединен с открытым концом 13 средней части 34 унитаза, камерой сбора фекальных масс 25 и камерой сбора смывной жидкости 26 соответственно. В состав автоматического устройства дозирования дезодорирующей жидкости 50 входит бачок с медицинским препаратом 17, подводящий патрубок медицинского препарата 19, один конец которого соединен с днищем бачка с медицинским препаратом 17, а другой конец соединен с трубой-коллектором урины 10 и магнитным клапаном дозирования медицинского препарата 15, установленным на подводящем патрубке медицинского препарата 19. Вход насоса отвода фекальных масс 24 соединен с днищем камеры сбора фекальных масс 25, а его выход соединен с трубой отвода фекальных масс 23, выходящей из камеры сбора фекальных масс 25, а выход трубы отвода фекальных масс 23 соединен с контейнером-накопителем. Устройство управления контуром 1 подключено к электродвигателю 7, смывному насосу смывной жидкости верхнего уровня 28 и электродвигателю насоса отвода фекальных масс 24, магнитному клапану трубы диспергированных фекальных масс 12, магнитному клапану трубы-коллектора фекальных масс 9, магнитному клапану трубы-коллектора урины 11, магнитному клапану дозирования медицинского препарата 15 и устройству обнаружения человека 2. В качестве устройства управления контуром 1 используется однокристальный компьютер (common chip computer). Устройство обнаружения человека 2 монтируется в соответствующем месте в туалете и используется для преобразования сигнала наличия или отсутствия человека в туалете в электрический сигнал и затем передает его на вход устройства управления контуром 1. В качестве устройства обнаружения человека 2 может использоваться фотоэлектрическое устройство обнаружения, устанавливаемое в туалете, а также пассивный датчик инфракрасного излучения человека, или датчик давления, устанавливаемый под полом туалета, а также позиционно-чувствительный выключатель, устанавливаемый на замке или задвижке туалета, или устройство обнаружения любого другого вида, только если его состояние указывает на присутствие или отсутствие человека в туалете. Например, поскольку пользователь входит в туалет, тело человека будет загораживать или отражать свет, исходящий из фотоэлектрического устройства обнаружения, и это заставляет устройство обнаружения менять свое состояние. Инфракрасное излучение тела человека может изменять состояние пассивного датчика инфракрасного излучения человека. Когда человек наступает на пол, это может изменять состояние датчика давления под полом. Когда человек запирает дверь, это может изменять состояние открыто/закрыто позиционно-чувствительного выключателя. Рабочее состояние устройства обнаружения может показывать, использует ли кто-то безводное смывное устройство в туалете.

На фиг.7 приведена статистическая диаграмма времени дефекации или мочеиспускания, используемая для автоматической идентификации дефекации или мочеиспускания в устройстве управления контуром прототипа безводного смывного устройства туалета. На диаграмме показано время использования человеком туалета, мочеиспускания и дефекации в прямоугольных координатах. Диаграмма построена на основе измерения времени посещения туалета сотнями людей, и на ней показано с какой регулярностью обычно используется туалет. Продольная координата это – дифференциал числа людей, использующих туалет от времени использования в процентах. Горизонтальная координата – время использования туалета. На диаграмме показаны две кривые и фактическая линия показывает изменение времени использования и числа людей, а имагинальная линия представляет процент людей, заканчивающих использовать туалет между общим количеством людей до определенного момента времени.

На фиг.7 можно видеть три пика: мочеиспускание мужчин, мочеиспускание женщин и дефекация. Имагинальная линия показывает, что 90% людей, использующих туалет, попадают в отрезок 0-t0 и почти все для мочеиспускания.

Основываясь на результатах испытаний можно заключить, что испытатель не может завершить дефекацию за время меньше времени t0, из этого следует, что такое время t0 является реальным, и в такое время ни один человек не может завершить дефекацию. Согласно фактическому испытанию значение t0 находится в интервале от 1 до 1,5 мин.

Вышеупомянутое заключение помогает определить автоматический способ идентификации дефекации или мочеиспускания по времени использования туалета. В устройстве управления контуром 1 установлена программа идентификации дефекации или мочеиспускания, которая соединена с устройством обнаружения 2.

На фиг.8 показана логическая схема автоматической идентификации дефекации или мочеиспускания по прототипу безводного смывного устройства туалета. Устройство управления контуром 1, снабженное программой идентификации дефекации или мочеиспускания, может не только начать промывку унитаза 3 по сигналу выхода человека из туалета, выдаваемому устройством обнаружения 2, но также может и начать отсчет времени по сигналу входа пользователя в туалет, выдаваемому устройством обнаружения 2. Упомянутый процесс отсчета времени не заканчивается пока устройство обнаружения 2 не выдаст сигнал выхода человека из туалета. Устройство управления контуром 1 идентифицирует дефекацию или мочеиспускание по тому, насколько долгим или коротким было время, зарегистрированное устройством отсчета времени. Это означает, что если время пользования туалетом короче t0, то можно определить, что пользователь не производит дефекацию. Но если время мочеиспускания у отдельного пользователя занимает много времени, то этот способ не может правильно идентифицировать дефекацию или мочеиспускание, но он может идентифицировать число пользователей, не производящих дефекацию. Вышеупомянутый способ нельзя назвать “способом автоматической идентификации мочеиспускания”, потому что пользователь, покидающий туалет через t0 может осуществлять не только мочеиспускание, но может также ничего не делать вообще.

На фиг.6, показано, что, как только срабатывает безводное смывное устройство туалета и начинается дефекация или мочеиспускание, по сигналу начала дефекации или мочеиспускания, посланному устройством обнаружения, устройство управления контуром 1 начинает отсчет времени 2. При дефекации или мочеиспускании устройство управления контуром 1 открывает магнитный клапан 11 коллектора урины, и урина через устройство диспергатора и центрифуги 5 и трубу-коллектор урины 10 поступает в камеру сбора смывной жидкости 26. Урина и фекальные массы разделяются. В процессе сбора урины устройство управления контуром 1 открывает магнитный клапан дозирования медицинского препарата, что позволяет жидкому медицинскому препарату 18 из бачка с медицинским препаратом 17 поступать в трубу-коллектор урины 10 через подводящий патрубок жидкого медицинского препарата 19, и смешиваться с собранной уриной, а затем эта смесь поступает в камеру сбора смывной жидкости 26, где жидкость с медицинским препаратом становится смывной жидкостью. Когда пользователь покидает туалет, устройство управления контуром 1 с помощью программы идентификации по сигналу завершения дефекации или мочеиспускания, посланному устройством обнаружения 2, определяет, что было мочеиспускание, и тогда включается электродвигатель 7 смывного насоса смывной жидкости верхнего уровня 28 и электродвигатель устройства диспергатора и центрифуги 5 и смывная жидкость верхнего уровня из камеры сбора смывной жидкости 26 начнет перекачиваться смывным насосом смывной жидкости верхнего уровня 28 в открытый конец 16 в передней части 32 унитаза 3, и обеспечивает смыв. Затем она вместе с уриной засасывается в углубление 31 в задней части унитаза 3 для сбора фекальных масс под действием рабочего колеса 6 устройства диспергатора и центрифуги 5. А затем она откачивается в трубу-коллектор урины 10 через выход 33 в боковой стенке углубления 31 в задней части унитаза и стекает обратно в камеру сбора смывной жидкости 26. В случае дефекации, устройство управления контуром 1 закрывает магнитный клапан трубы-коллектора урины 11 и включает смывной насос смывной жидкости верхнего уровня 28 и держит его некоторое время включенным. Смывная жидкость из камеры сбора смывной жидкости 26 откачивается смывным насосом смывной жидкости верхнего уровня 28 и подается в открытый конец 16 в передней части 32 унитаза 3 по трубе смывной жидкости 20 и в унитаз 3. После этого, устройство управления контуром 1 включает электродвигатель 7 устройства диспергатора и центрифуги 5 и открывает магнитный клапан трубы диспергированных фекальных масс 12, и фекальные массы диспергируются в чаше с диспергатором 4 устройства диспергатора и центрифуги 5, и фекальные массы смешиваются со смывной жидкостью и превращаются в кашеобразную массу. При включении рабочего колеса 6 устройства диспергатора и центрифуги 5 осуществляется принудительная циркуляция по кольцевому каналу, образованному унитазом 3 и углублением 31 в задней части унитаза 3 для сбора фекальных масс, и по трубе диспергированных фекальных масс 8. После этого устройство управления контуром 1 закрывает магнитный клапан трубы диспергированных фекальных масс 12 и открывает магнитный клапан трубы-коллектора фекальных масс 9, что обеспечивает переток кашеобразной массы фекальных масс в камеру сбора фекальных масс 25 через трубу-коллектор фекальных масс 22. Таким образом, небольшое количество кашеобразной массы фекальных масс отводится в нижнюю часть унитаза 3. Сразу после включения смывного насоса смывной жидкости верхнего уровня 28 смывная жидкость устремляется в унитаз 3 под действием смывного насоса смывной жидкости верхнего уровня 28 и унитаз 3 легко промывается. При использовании этого вида безводного смывного устройства туалета, количество смывной жидкости, используемой для смыва фекальных масс, постоянно уменьшается с первоначальных 6-12 литров приблизительно до 0,5 литра, и при этом обеспечивается хороший эффект смыва.

Из приведенного выше описания можно понять, как работает безводный смывной туалет прототипа, что магнитный клапан трубы-коллектора урины 11, магнитный клапан трубы диспергированных фекальных масс 12 и магнитный клапан трубы-коллектора фекальных масс 9 имеют общий вход 33 в боковой стенке углубления 31 в задней части унитаза для сбора фекальных масс и различные выходы, при этом клапаны открываются и закрываются в разные моменты.

ДЕТАЛЬНОЕ ОПИСАНИЕ ПРЕДПОЧТИТЕЛЬНОГО ПРИМЕРА ОСУЩЕСТВЛЕНИЯ НАСТОЯЩЕГО ИЗОБРЕТЕНИЯ

Ниже дается детальное описание безводного смывного устройства туалета со смывным насосом по настоящему изобретению.

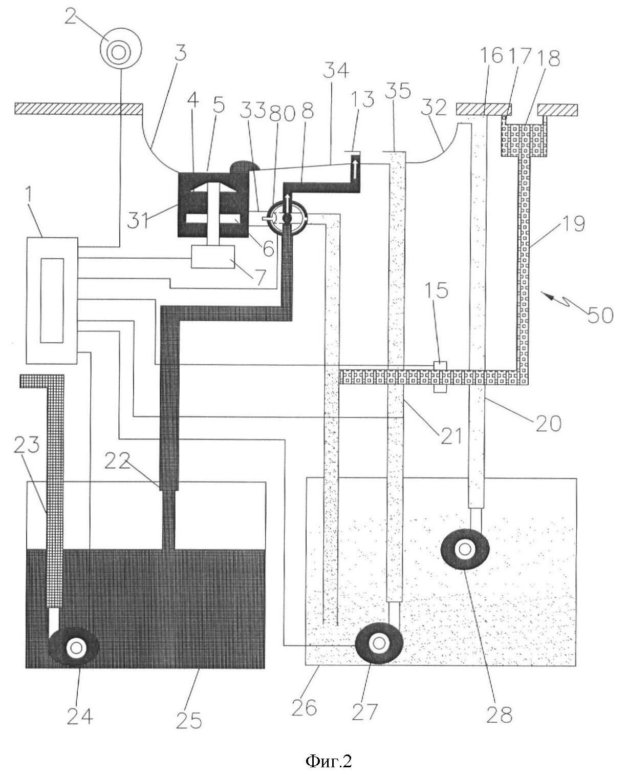
На фиг.1 показан первый пример осуществления настоящего изобретения безводного смывного устройства туалета со смывным насосом по настоящему изобретению. Основные различия устройств, изображенных на фиг.1 и 6, состоят в том, что смывное устройство туалета со смывным насосом смывной жидкости верхнего уровня 28, как показано на фиг.1, снабжено четырехходовым регулирующим элекроклапаном 80, который установлен вместо магнитного клапана трубы-коллектора урины 11, магнитного клапана трубы диспергированных фекальных масс 12 и магнитного клапана трубы-коллектора фекальных масс 9 безводного смывного устройства туалета со смывным насосом, как показано на фиг.6, и одновременно отсутствует четырехходовая соединительная муфта 40, как показано на фиг.6. Кроме этого, конструкция смывного устройства туалета, как показано на фиг.1 и 6, почти такая же, поэтому детальное описание не приводится.

Корпус четырехходового регулирующего электроклапана 80 имеет вход жидкости и три выхода потока в продольном направлении. Вышеупомянутый вход соединен с выходом 33 в боковой стенке углубления 31 в задней части унитаза 3, а три выхода соединены с открытым концом 13 в средней части 34 туалета, камерой сбора фекальных масс 25 и камерой сбора смывной жидкости 26 через трубу диспергированных фекальных масс 8, трубу-коллектор фекальных масс 22 и трубу-коллектор урины 10. В четырехходовом регулирующем электроклапане 80 имеется также и L-образный канал. L-образный канал всегда соединен с входом жидкости четырехходового регулирующего электроклапана 80. В соответствии с предшествующим уровнем техники в качестве четырехходового регулирующего электроклапана 80 можно использовать четырехходовой шаровой электроклапан.

Как показано на фиг.1, при работе безводного смывного туалета со смывным насосом устройство управления контуром 1 может соединять выход 33 в боковой стенке углубления 31 в задней части унитаза 3 с трубой-коллектором урины 10, трубой диспергированных фекальных масс 8 и трубой-коллектором фекальных масс 22 соответственно в разное время с помощью четырехходового регулирующего электроклапана 80. Так что можно понять, как работает безводное смывное устройство туалета со смывным насосом, изображенное на фиг.1. Что касается вышеупомянутого детального описания работы безводного смывного устройства туалета со смывным насосом, изображенного на фиг.1, то по фиг.1 работу безводного смывного туалета со смывным насосом может понять любой техник, работающий в данной области.

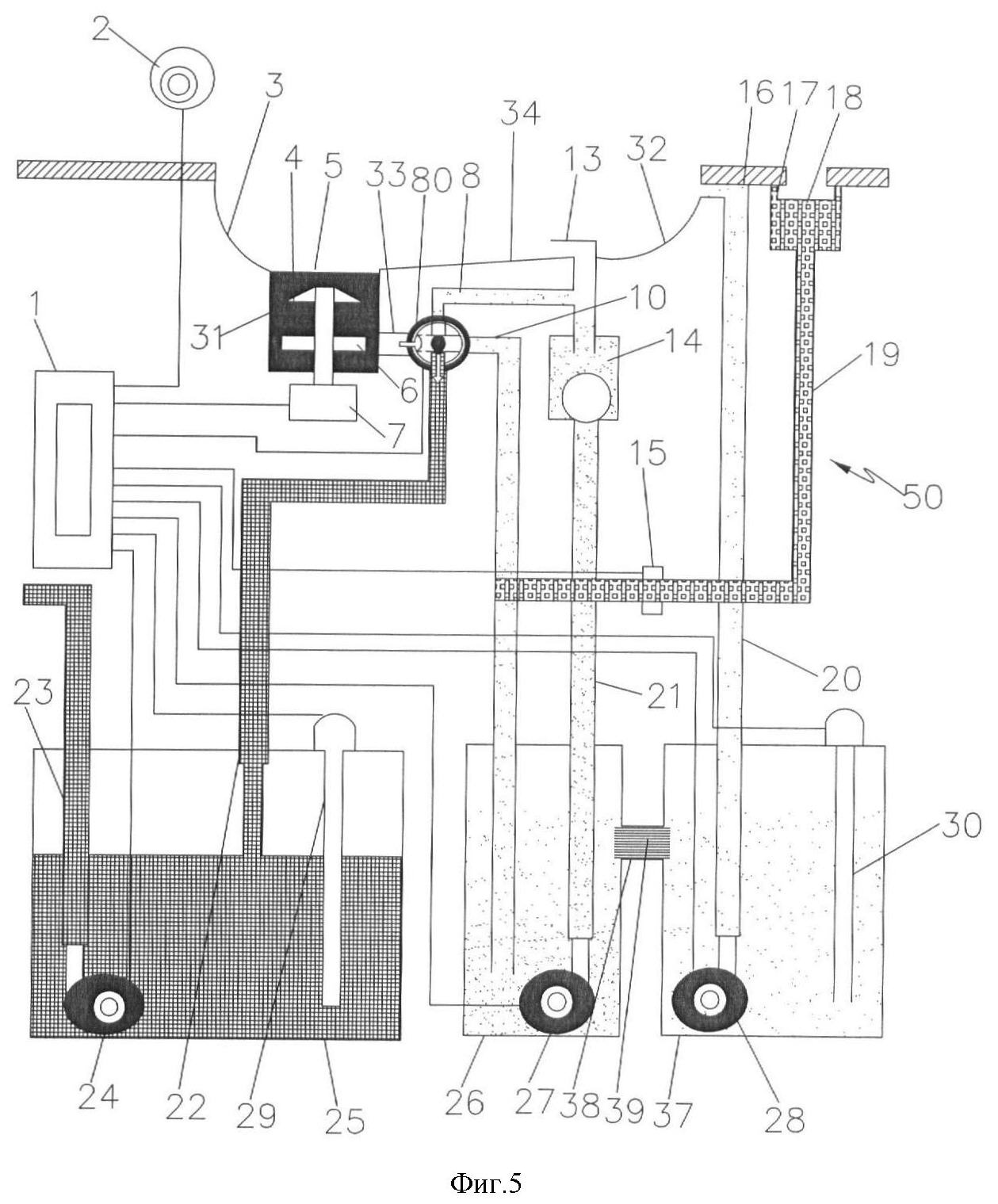
На фиг.2 показан второй пример осуществления настоящего изобретения безводного смывного устройства туалета со смывным насосом по настоящему изобретению. По сравнению с безводным смывным туалетом со смывным насосом, изображенным на фиг.1, безводный смывной туалет со смывным насосом, изображенный на фиг.2, снабжен смывным насосом смывной жидкости нижнего уровня 27 и трубопровод смывной жидкости нижнего уровня 21, соединенный с выходом смывного насоса смывной жидкости нижнего уровня 27. Смывной насос смывной жидкости нижнего уровня 27 установлен в камере сбора смывной жидкости 26 и находится в смывной жидкости нижнего уровня. Выход трубопровода 21 соединен с открытым смывным концом 35 в средней части 34 унитаза. Электродвигатель смывного насоса смывной жидкости нижнего уровня 27 подключен к устройству управления контуром 1.

Во время работы вышеупомянутого безводного смывного устройства туалета со смывным насосом под контролем устройства управления контуром 1 смывной насос смывной жидкости нижнего уровня 27 осуществляет забор поступившей сверху смывной жидкости нижнего уровня из камеры сбора смывной жидкости 26, и он направляется вверх и попадает в открытый смывной конец 35 через трубопровод смывной жидкости нижнего уровня 21. Затем жидкость выдается в заднюю часть унитаза 3, при этом урина и фекальные массы сбегают вниз и промывают унитаз. После этого смывной насос смывной жидкости верхнего уровня 28 осуществляет забор смывной жидкости из камеры сбора смывной жидкости 26 и подает ее вверх в открытый конец 16 в передней части 32 унитаза 3 через трубопровод смывной жидкости верхнего уровня 20, а затем смывная жидкость попадает в унитаз 3 и также выдается в заднюю часть унитаза 3, при этом урина и фекальные массы сбегают вниз и снова промывают унитаз. Так при работе смывного насоса смывной жидкости нижнего уровня 27 и смывного насоса смывной жидкости верхнего уровня 28 унитаз 3 может промываться, и при этом не остается поступившей сверху урины. Так можно расходовать поступившую сверху смывную жидкость нижнего уровня в камере сбора смывной жидкости 26, и она не будет накапливаться от раза к разу.

На фиг.3 изображен третий пример осуществления настоящего изобретения безводного смывного устройства туалета со смывным насосом по настоящему изобретению. По сравнению с безводным смывным туалетом со смывным насосом, изображенным на фиг.2, безводный смывной туалет со смывным насосом, изображенный на фиг.3, снабжен одноходовым клапаном. Выход смывного насоса смывной жидкости нижнего уровня 27 соединен с одноходовым клапаном 14 через трубопровод смывной жидкости нижнего уровня 21, а выход одноходового клапана 14 соединен с открытым концом 13 в средней части 34 унитаза и трубой диспергированных фекальных масс 8. Датчик уровня жидкости камеры сбора фекальных масс 29 и датчик уровня жидкости камеры сбора урины используются в вышеупомянутом туалета, и эти два датчика подключены к устройству управления контуром 1.

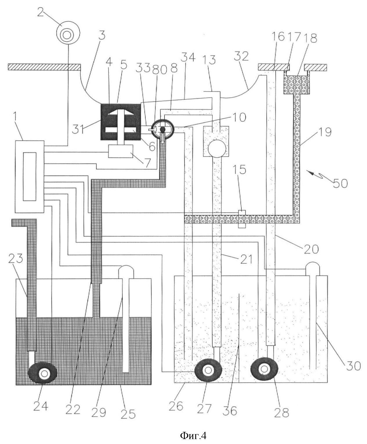
На фиг.4 показан четвертый пример осуществления настоящего изобретения безводного смывного устройства туалета со смывным насосом по настоящему изобретению. По сравнению с безводным смывным устройством туалета со смывным насосом, изображенным на фиг.3, отличие состоит в том, что в камере сбора смывной жидкости 26 установлена пластина перелива 36, и смывной насос смывной жидкости нижнего уровня 27, и смывной насос смывной жидкости верхнего уровня 28 в камере сбора смывной жидкости 26 установлены слева или справа от пластины перелива 36 соответственно. Труба-коллектор урины 10 установлена слева от пластины перелива 36 у днища камеры сбора смывной жидкости 26. Путем соответствующей регулировки пластины перелива 36 в камере сбора смывной жидкости 26 можно поступившую сверху смывную жидкость верхнего уровня слева от пластины перелива 36 переливать в емкость справа от пластины перелива 36 через эту пластину. Поступившая сверху смывная жидкость верхнего уровня более всего подходит для использования в качестве конечной смывной жидкости, когда безводное смывное устройство туалета со смывным насосом по настоящему изобретению работает постоянно. Кроме этого, поскольку поступившая сверху смывная жидкость верхнего уровня справа от пластины перелива 36 больше не накапливается, то не нужно устанавливать смывной насос смывной жидкости верхнего уровня 28 в верхнюю часть смывной жидкости. Тогда можно избежать ситуации, при которой смывной насос смывной жидкости верхнего уровня 28 не может откачивать смывную жидкость, так как уровень поступившей сверху смывной жидкости верхнего уровня понизился.

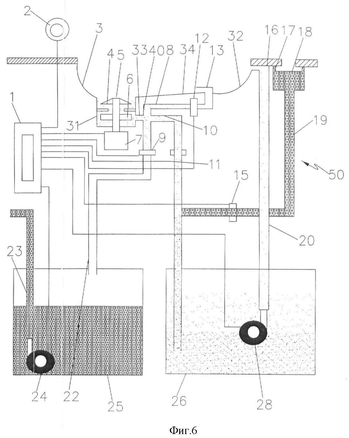
На фиг.5 показан пятый пример осуществления настоящего изобретения безводного смывного устройства туалета со смывным насосом по настоящему изобретению. По сравнению с безводным смывным устройством туалета со смывным насосом, изображенным на фиг.4, отличие состоит в том, что камера сбора смывной жидкости 26 разделена на левый коллектор смывной жидкости и правый коллектор смывной жидкости, которые в верхней части камеры соединены друг с другом через промежуточную трубку 38. На месте канала, образованного промежуточной трубкой 38, может устанавливаться модуль обработки урины 39, который производит ее фильтрацию, обесцвечивание, очистку, дезинфекцию, сепарацию загрязнений и т.д. Смывной насос смывной жидкости нижнего уровня 27 и смывной насос смывной жидкости верхнего уровня 28 устанавливаются внутри или снаружи левой и правой камер сбора смывной жидкости соответственно. У днища камеры сбора смывной жидкости 26 труба-коллектор урины 10 соединена с левой камерой сбора смывной жидкости и датчик уровня жидкости 30 камеры сбора смывной жидкости установлен в правой камере сбора смывной жидкости. Таким образом, поступившая сверху смывная жидкость верхнего уровня в левой камере сбора смывной жидкости может перетекать в правую камеру сбора смывной жидкости через промежуточную трубку 38, Поступившая сверху смывная жидкость верхнего уровня более всего подходит для использования в качестве конечной смывной жидкости, когда безводное смывное устройство туалета со смывным насосом по настоящему изобретению работает постоянно. Кроме этого, поскольку поступившая сверху смывная жидкость верхнего уровня, перетекающая в правую камеру сбора смывной жидкости, больше не накапливается, то не нужно устанавливать смывной насос смывной жидкости верхнего уровня 28 в верхней части смывной жидкости. Тогда можно избежать ситуации, при которой смывной насос смывной жидкости верхнего уровня 28 не может больше смывную жидкость, так как уровень поступившей сверху смывной жидкости верхнего уровня понизился. В противном случае, как показано на фиг.4 для четвертого примера осуществления настоящего изобретения, поскольку поступившая сверху смывная жидкость верхнего уровня слева от пластины перелива 36 переливается в емкость справа от пластины перелива 36 через саму эту пластину, то вместе с ней в емкость справа от пластины перелива 36 переливается и большое количество пены смывной жидкости. Это приводит к погрешности определения уровня жидкости датчиком уровня жидкости 30 камеры сбора смывной жидкости. Но, как показано на фиг.5 для пятого примера осуществления настоящего изобретения, возможность появления такой проблемы уменьшается. Кроме того, в промежуточной трубе 38 можно устанавливать модуль обработки урины 39, и он может обрабатывать урину, например, подвергать ее фильтрации, обесцвечиванию, очистке, дезинфекции, сепарации загрязнений и т.д. И затем при использовании безводного смывного устройства туалета со смывным насосом по настоящему изобретению можно получить такой же хороший эффект, как и при использовании туалета со смывом водой.

Как показано на фиг.1-6, насос отвода фекальных масс 24, смывной насос смывной жидкости нижнего уровня 27 и смывной насос смывной жидкости верхнего уровня 28 установлены в камере сбора фекальных масс 25 и камере сбора смывной жидкости 26. В соответствии с настоящим изобретением насос отвода фекальных масс 24, смывной насос смывной жидкости нижнего уровня 27 и смывной насос смывной жидкости верхнего уровня 28 можно также устанавливать вне камеры сбора фекальных масс 25 и камеры сбора смывной жидкости 26, и одновременно выходы насоса отвода фекальных масс 24, смывного насоса смывной жидкости нижнего уровня 27 и смывного насоса смывной жидкости верхнего уровня 28 должны быть соединены с соответствующими выходами камеры сбора фекальных масс 25 и камеры сбора смывной жидкости 26 соответственно.

Формула изобретения

1. Безводное смывное устройство туалета, состоящее из устройства обнаружения человека, устройства управления контуром, унитаза, устройства диспергатора и центрифуги, смывного насоса смывной жидкости верхнего уровня, камеры сбора смывной жидкости, камеры сбора фекальных масс, автоматического устройства дозирования дезодорирующей жидкости, при этом устройство диспергатора и центрифуги состоит из чаши с диспергатором и рабочего колеса центрифуги, установленного на том же валу, и электродвигателя, который установлен в углублении унитаза для привода вала, смывной насос смывной жидкости верхнего уровня установлен внутри или снаружи камеры смывной жидкости, что позволяет легче откачивать смывную жидкость верхнего уровня, выход смывного насоса смывной жидкости верхнего уровня соединен с передней частью унитаза через трубопровод, при этом в состав устройства также входит четырехходовой электроуправляемый клапан, вход которого соединен с выходом в боковой стенке углубления в задней части унитаза для сбора фекальных масс, три выхода соединены с центральной частью унитаза, камерой сбора фекальных масс и камерой сбора смывной жидкости через трубу диспергированных фекальных масс, трубу-коллектор фекальных масс и трубу-коллектор урины.

2. Безводное смывное устройство туалета по п.1, отличающееся тем, что в его состав входит смывной насос смывной жидкости нижнего уровня, установленный либо в камере сбора смывной жидкости, либо вне этой камеры, для того, чтобы можно было легко откачивать смывную жидкость нижнего уровня.

3. Безводное смывное устройство туалета по п.2, отличающееся тем, что в его состав входит односторонний клапан, и его вход соединен с выходом смывного насоса смывной жидкости нижнего уровня, выход одноходового клапана соединен с открытым концом средней части унитаза и трубой диспергированных фекальных масс.

4. Безводное смывное устройство туалета по п.3, отличающееся тем, что в его состав входит пластина перелива, установленная в камере сбора смывной жидкости, смывная жидкость верхнего и нижнего уровня слева и справа от пластины перелива легко откачивается смывными насосами смывной жидкости верхнего и нижнего уровня, труба-коллектор урины установлена слева от пластины перелива в камере сбора смывной жидкости.

5. Безводное смывное устройство туалета по п.3, отличающееся тем, что в его состав входит камера сбора смывной жидкости, разделенная на левую и правую камеры сбора смывной жидкости, две камеры сбора смывной жидкости соединены друг с другом через промежуточную трубку в верхней их части, смывные жидкости верхнего и нижнего уровня в левой и правой камере сбора смывной жидкости легко окачиваются смывными насосами смывной жидкости верхнего и нижнего уровня, труба-коллектор урины соединена с левой камерой сбора смывной жидкости.

6. Безводное смывное устройство туалета по п.5, отличающееся тем, что в его состав входит модуль обработки урины, установленный в промежуточной трубе с целью обработки урины, например, для ее фильтрации, обесцвечивания, очистки, дезинфекции, сепарации загрязнений и т.д.

7. Безводное смывное устройство туалета по п.4 или 5, отличающееся тем, что в его состав входит датчик уровня жидкости камеры сбора фекальных масс, и датчик уровня жидкости камеры сбора смывной жидкости, датчик уровня жидкости камеры сбора фекальных масс установлен в камере сбора фекальных масс, а датчик уровня жидкости камеры сбора смывной жидкости установлен в камере сбора смывной жидкости.

РИСУНКИ

Categories: BD_2397000-2397999