|
|
(21), (22) Заявка: 2008139845/15, 07.10.2008
(24) Дата начала отсчета срока действия патента:
07.10.2008
(43) Дата публикации заявки: 20.04.2010
(46) Опубликовано: 20.08.2010
(56) Список документов, цитированных в отчете о поиске:
US 4218520 А, 19.08.1980. RU 2297386 C1, 20.04.2007. SU 1134538 A1, 15.01.1985. RU 2266157 C1, 20.12.2005. WO 2005005311 A2, 20.01.2005. US 4543246 A, 24.09.1985. EP 0310408 A2, 05.04. 1989. US 2003118505 A1, 26.06.2003.
Адрес для переписки:
620041, г.Екатеринбург, ГСП-145, ул. Первомайская, 91, Институт химии твердого тела УрО РАН, патентный отдел
|
(72) Автор(ы):
Яценко Сергей Павлович (RU), Шевченко Владимир Григорьевич (RU), Скрябнева Лидия Михайловна (RU)
(73) Патентообладатель(и):
Институт химии твердого тела УрО РАН (RU)
|
(54) СПОСОБ ПОЛУЧЕНИЯ ВОДОРОДА И ХИМИЧЕСКИЙ РЕАКТОР ДЛЯ ЕГО ОСУЩЕСТВЛЕНИЯ
(57) Реферат:
Изобретения относятся к области химии и используются при получении водорода. Воду разлагают алюминием в щелочно-галлатном растворе, содержащем 5-60 г/дм3 едкого натрия и 1-10 г/дм3 галлия в присутствии жидкого металлического галлия или жидкого сплава галлия и олова и/или индия при его непосредственном контакте с алюминием. Реактор включает корпус 1, разделенный на две емкости 2 и 3. Верхняя емкость 2 имеет отверстие для подачи воды в реактор, а ее дно снабжено коническим тубусом, расположенным внутри второй емкости 3. Реактор также включает устройство для размещения алюминия 19, выполненное в виде бокового кармана и снабженное защитной сеткой 7, на дно которого помещен жидкий галлий или жидкий сплав галлия и олова и/или индия, теплообменник 12, расположенный с внешней стороны реактора, датчик 16 контроля уровня раствора в верхней емкости, гидроциклон для отделения осветленной части раствора от пульпы, накапливающейся в нижней части реактора, и ряд штуцеров 6, направляющих струи осветленного раствора на алюминий. Изобретения позволяют повысить выход водорода. 2 н. и 3 з.п. ф-лы, 1 ил., 1 табл.
Изобретение относится к физико-химическим технологиям получения водорода, который может быть использован в энергетических установках для получения электроэнергии, в качестве ракетного топлива, в химической промышленности для получения органических соединений и т.д.
Известен способ получения водорода путем разложения воды при ее взаимодействии с алюминием с образованием гидроксида алюминия и значительного количества тепла в среде водного раствора натриевой щелочи, содержащего в качестве добавки галлат-ионы (патент США 4218520, МПК H01M 12/00, 1980 г.). Водород, полученный известным способом, в дальнейшем используется в электрохимической ячейке для получения электроэнергии. Способ позволяет получить около 50 килокалорий электроэнергии и 150 килокалорий тепловой энергии с использованием для их получения 27 г алюминия.
Однако способ обладает рядом недостатков. Недостатками способа являются: использование высококонцентрированного щелочного раствора (от 2 до 10 молей на литр или 80-400 г NaOH/дм3); необходимость для начала проведения реакции нагрева щелочного раствора до температуры не ниже 60°С; использование в качестве нереактивной среды для защиты активированного алюминия от коррозии щелочным раствором или окисления кислородом воздуха диэтилкарбитола; сложность автоматической регулировки выхода водорода потребителю, которая включает необходимость регулирования крупности поступающей стружки алюминия, снижения температуры теплообменника, подачи команды на задвижку при выходе вольтажа ячейки за установленные пределы (1,4±0,3 В).
Известен химический реактор для получения водорода путем разложения воды при ее взаимодействии с алюминием в среде щелочного агента, который включает цилиндрический корпус со средой жидкого реагента, в которой размещен датчик температуры, связанный с блоком управления, а в верхней части корпуса расположен штуцер отвода газообразного продукта реакции, при этом внутри корпуса установлен трубчатый теплообменник (патент РФ 2297386, МПК С01В 3/00, 2007 г.). Трубки теплообменника размещены, по крайней мере, по двум концентрическим окружностям, отстоят одна от другой и сообщаются через коллектор с клапанами подачи теплоносителя, между трубками теплообменника в среде жидкого реагента расположена кольцевая решетка-колосник, на которой размещены гранулы твердого реагента, в реактор введены вертикальные проставки между трубками, расположенными на концентрических окружностях, закрывающие зазор между соседними трубками, кроме того, введены вертикальные вставки между противостоящими трубками соседних концентрических окружностей, закрывающие зазор между этими трубками, причем упомянутые проставки и вставки образуют зоны, свободные от гранул твердого реагента, а клапаны подачи теплоносителя соединены через блок управления с датчиками температуры.
Недостатками известного химического реактора являются, во-первых, сложность его конструкции и, во-вторых, тот факт, что реактор рассчитан на получение водорода высокого давления, что часто не требуется потребителю, но требует специальных условий эксплуатации ввиду значительной утечки водорода и опасности взрыва.
Таким образом, перед авторами стояла задача разработать простой технологически способ получения водорода, обеспечивающий высокий выход целевого продукта.
Поставленная задача решена в способе получения водорода путем разложения воды при ее взаимодействии с алюминием в водном растворе натриевой щелочи, содержащем галлат-ионы, в котором в качестве водного раствора натриевой щелочи, содержащего галлат-ионы, используют щелочно-галлатный раствор, содержащий 5-60 г/дм3 едкого натрия и 1-10 г/дм3 галлия, и процесс осуществляют в присутствии жидкого металлического галлия или жидкого сплава галлия и олова и/или индия при его непосредственном контакте с алюминием.
При этом может быть использован сплав галлия и индия при следующем соотношении компонентов, мас.%: индий 5-30; галлий – остальное.
При этом может быть использован сплав галлия и олова при следующем соотношении компонентов, мас.%: олово 3-12; галлий – остальное.
При этом может быть использован сплав галлия и индия и олова при следующем соотношении компонентов, мас.%: индий 13,5-29,5; олово 7,5-17,5; галлий – остальное.
Поставленная задача также решена в химическом реакторе для получения водорода, включающем цилиндрический корпус, снабженный теплообменником, со средой водного раствора натриевой щелочи, содержащего галлат-ионы, в котором размещен датчик контроля, связанный с блоком управления, в корпусе расположен штуцер отвода газообразного продукта реакции, штуцер подачи раствора натриевой щелочи, приемник загрузки алюминия, внутри корпуса расположено устройство для размещения алюминия, снабженное приспособлением, препятствующим попаданию алюминия в циркулирующий раствор натриевой щелочи, в котором корпус реактора разделен на две емкости, верхняя из которых имеет отверстие для подачи воды в реактор, а ее дно снабжено коническим тубусом, расположенным внутри второй емкости, устройство для размещения алюминия выполнено в виде бокового кармана и снабжено защитной сеткой, на дно бокового кармана помещен жидкий галлий или жидкий сплав галлия и олова и/или индия, теплообменник расположен с внешней стороны реактора, а в качестве датчика контроля использован датчик контроля уровня раствора в верхней емкости, кроме того, реактор дополнительно снабжен гидроциклоном для отделения осветленной части раствора от пульпы, накапливающейся в нижней части реактора, и рядом штуцеров, направляющих струи осветленного раствора на алюминий.
В настоящее время не известен способ получения водорода, а также химический реактор для его осуществления, в котором осуществляют активацию алюминия при его взаимодействии с водой в среде жидкого щелочного агента путем непосредственного контакта алюминия с жидким металлическим галлием или жидким сплавом галлия и олова и/или индия.
Как известно, при получении водорода гидролизом алюминия в водном растворе щелочи в случае содержания в растворе галлат-ионов реакция сопровождается образованием галламы алюминия (жидкого сплава алюминия и галлия), в результате чего алюминий активизируется и процесс выделения водорода становится более эффективным. Однако сохраняется возможность окисления алюминия как щелочной средой, так и кислородом воздуха. Исследования, проведенные авторами, позволили выявить условия проведения процесса, которые полностью устраняют возможность даже частичного окисления алюминия и обеспечивают эффективное получение водорода за счет значительной активации алюминия. Получение водорода по предлагаемому способу предполагает наличие ряда реакций, сопровождающих выделение водорода:
– образование галламы алюминия за счет наличия в растворе натриевой щелочи галлат-ионов;
– цементация галлия на галламе алюминия;
– растворение алюминия в жидком металлическом галлии или его сплаве;
– основная реакция – разложение воды при ее взаимодействии с алюминием, который в значительной мере активирован в результате прохождения побочных реакций
Аl+3Н2O Аl(ОН)3+1,5Н2+99,3 ккал/моль (27,2 г Аl)
Авторами предлагаемого технического решения установлено, что галлий и его жидкие сплавы препятствуют возникновению оксидной защитной пленки на поверхности алюминия и химически активный алюминий взаимодействует с водой, образуя водород и гидроксид алюминия. Выделившийся по реакции цементации на алюминии жидкий галлий в виде тонкой пленки на поликристаллическом образце и контактирующий с алюминием металлический галлий или галлиевый сплав взаимодействуют преимущественно с зонами, прилегающими к границам зерен. Алюминий из этих зон растворяется в галлии или галлиевом сплаве и активно взаимодействует с водой. Зерна становятся разобщенными жидкими прослойками и образец резко увеличивает свою поверхность и со временем разваливается. При этом применение вместо чистого металлического галлия его сплавов с оловом и/или индием позволяет снизить температуру начала реакции благодаря более низким температурам их затвердевания (например, эвтектический состав сплава галлий-олово затвердевает при 20°С, а галлий-индий-олово затвердевает при 10,5°С). Стандартные электрохимические потенциалы компонентов этих сплавов менее отрицательны по сравнению с галлием, что обусловливает более энергичное взаимодействие их с алюминием по сравнению с чистым галлием при прочих равных условиях. Кроме того, разбавление галлия оловом снижает стоимость используемых реагентов, поскольку олово значительно дешевле галлия.
В соответствии с предлагаемым способом в зависимости от объема загруженного алюминия количество получаемого водорода при пересчете на нормальные условия (давление 101,3 кПа или 1 атм, температура 20°С) из 1 кг алюминия составляет 1,245 м3, при этом потребуется 2 дм3 воды, будет получено гидроксида алюминия (Al2О3·3Н2О) 2,89 кг и выделится тепла 3650,7 ккал.
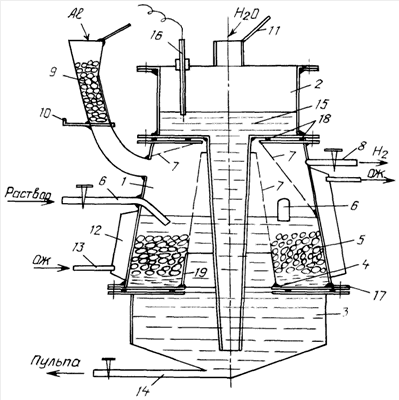
На чертеже изображен химический реактор для осуществления предлагаемого способа. Химический реактор для получения водорода включает цилиндрический корпус (1), снабженный теплообменником (12), который расположен с внешней стороны корпуса реактора (1) и снабжен штуцером (13) подачи и выхода охлаждающей жидкости, в качестве которой может быть использован, например, тосол или вода. Корпус реактора (1) разделен на две емкости (2 и 3), верхняя из которых (2) имеет отверстие для подачи воды в реактор, снабженное крышкой (11), а ее дно снабжено коническим тубусом, расположенным внутри второй емкости (3), который позволяет раствору натриевой щелочи перемещаться из емкости (3) через ее нижнюю часть, служащую для сбора пульпы, в верхнюю емкость (2). Тубус снабжен уплотнениями (18) и болтовыми соединениями, которые позволяют закрепить его к корпусу (1) реактора. Водный раствор натриевой щелочи, содержащий галлат-ионы (15), находится в емкости (3) и частично в емкости (2), где в нем размещен многоуровневый датчик (16) контроля расхода водного раствора натриевой щелочи, связанный с блоком управления. В корпусе (1) реактора расположены штуцер отвода газообразного продукта реакции (8), снабженный вентилем, штуцер подачи раствора натриевой щелочи, приемник (9) загрузки гранулированного или кускового алюминия с заслонкой (10) и герметичной крышкой (16), внутри корпуса (1) расположен боковой карман (19), который крепится к корпусу (1) с помощью болтового соединения (17) и снабженный металлической защитной сеткой (7), с одной стороны отделяющей гранулы алюминия и препятствующей попаданию их в ту часть емкости (3), где скапливается пульпа, а с другой стороны отделяющей крупные брызги раствора. На дно бокового кармана (19) помещен жидкий галлий или жидкий сплав галлия и олова и/или индия. Кроме того, реактор дополнительно снабжен гидроциклоном для отделения осветленной части раствора от пульпы, накапливающейся в нижней части реактора, и рядом штуцеров (6), направляющих струи осветленного раствора на алюминий. Таким образом, конструкция предлагаемого реактора позволяет:
– автоматически прекращать реакцию разложения воды при отсутствии потребления водорода;
– удалять осадок гидроксида алюминия из реакционной емкости;
– отделять и уплотнять осадок из пульпы в гидроциклоне;
– периодически загружать гранулами/кусками алюминия реакционную емкость без прекращения получения и отвода водорода;
– передавать тепловую энергию потребителю тепла;
– очищать получаемый водород от брызг щелочного раствора;
– удалять образующийся гидроксидный осадок с поверхности гранул или кусков алюминия.
Предлагаемый способ может быть осуществлен следующим образом. В качестве исходных компонентов используют гранулированный алюминий (например, марки ТУ 6-09-02-529-92) или его мелкокусковые сплавы; металлический галлий или его сплавы Ga-In, Ga-Sn, Ga-In-Sn; щелочной раствор едкого натрия в воде, содержащий 5-60 г NaOH в дм3; галлатный раствор, например, полученный электрохимическим растворением галлия в растворе едкого натра, содержащий 1-10 г Ga в дм3.
В боковой карман (19) корпуса (1) реактора загружают необходимое количество жидкого металлического галлия или сплава галлия и индия и/или олова (4); сверху засыпают гранулированный или мелкокусковой алюминий (5) в объеме не более половины емкости, образуемой стенками корпуса (1) реактора и внутренней частью сетки (7); завершают монтаж реактора; заливают водный раствор натриевой щелочи, содержащий галлат-ионы до устойчивого контакта с датчиком уровня раствора (16). Для потребления водорода открывают вентиль на штуцере (8) и добавляют некоторое количество воды в емкость (2) корпуса (1) реактора через верхнюю крышку (11). Объем вводимой воды зависит от размеров реактора. В последующем дозировку воды проводят по показаниям датчика (16). Введение новых порций алюминия осуществляют через приемник (9) после закрытия крышки и открытия заслонки (10). При потреблении водорода водный раствор натриевой щелочи, содержащий галлат-ионы, поступает из емкости (2) через тубус в емкость (3), провоцируя реакции по активации алюминия и последующего взаимодействия активированного алюминия с водой. Предлагаемая конструкция реактора обеспечивает удаление щелочного раствора от реакционной массы за счет повышения давления водорода в корпусе (1) реактора в отсутствие потребления водорода. Это сопровождается вытеснением раствора из емкости (3) и прекращением реакции разложения воды. Активированный алюминий в этом случае остается в атмосфере водорода и окисления его воздухом не происходит. В нижней части емкости (3) происходит накопление пульпы, которая через штуцер (14) в конусном дне поступает в гидроциклон под давлением, создаваемым центробежным насосом или помпой (на чертеже не показаны). Осаждение гидроксида алюминия происходит в гидроциклоне, а осветленная часть щелочного раствора поступает в реакционное пространство емкости (3) через штуцеры (6) и смывает гидроксид алюминия с гранулированного или мелкокускового алюминия.
В таблице представлены результаты опытов, свидетельствующие, что при взаимодействии гранулированного или мелкокускового алюминия при очень низком покрытии галлием путем цементации с содержанием галлия к массе алюминия 0,10% выделение водорода в расчете на 1 кг алюминия за время 1 час при температуре раствора 40°С составляет всего 0,25 дм3/час·кг. Повышение температуры до 50°С увеличивает выход водорода при тех же условиях до 1,0 дм3/час·кг. Повышение содержания галлия на поверхности алюминия улучшает показатели процесса, но использование жидкого металлического галлия для этой цели требует некоторого подогрева исходного раствора, по крайней мере до 30°С. Контакт алюминия со сплавами на основе галлия в смеси с водой при комнатной температуре приводит к очень слабому взаимодействию. В присутствии едкого натра в растворе эффективность взаимодействия резко возрастает. При концентрации щелочи NaOH 10 г/дм3 раствор в присутствии жидкого сплава галлия самопроизвольно разогревается и может достигнуть температуры кипения. Эффективность использования металлического галлия уступает эффективности использования сплава на основе галлия при температурах ниже плавления металлического галлия. Наиболее интенсивное взаимодействие с водой достигается при использовании галлированных гранул алюминия и наличии контакта жидкого галлиевого сплава с ними. Однако наличие большого количества гидроксида алюминия, образующегося в этих условиях, может замедлять выделение водорода в единицу времени. В связи с этим в конструкции реактора предусмотрена защитная сетка (7), разделяющая реакционный объем от нижней части емкости (3), куда поступает гидроксид алюминия при принудительной циркуляции пульпы, создаваемой насосом. Необходимо отметить, что эффективность процесса также зависит от состава используемого сплава галлия и индием и/или оловом. Как показали исследования, состав должен быть эвтектическим или иметь допустимое отклонение от эвтектики, которое было установлено экспериментальным путем.
Масс-спектрометрический анализ гидроксида алюминия, отделенного в условиях, имитирующих работу гидроциклона, показал следующее содержание примесей, мас.%: галлия 0,25-0,35; индия – 0,04-0,75; олова – 0,001-0,05. Следовательно, результаты исследований позволяют рекомендовать активирование галлированного алюминия жидким металлическим галлием или жидким сплавом галлия и индия и/или олова для получения водорода разложением воды с допустимым загрязнением гидроксида алюминия примесными компонентами: галлием, индием, оловом.
| Выделение водорода разложением воды галлированными гранулами алюминия (1) или при контакте чистых гранул со сплавами на основе галлия (2) |
п/п |
Условия опыта |
Выделение водорода (дм3/час·кг) при начальной температуре, °С |
| 1 |
Содержание галлия на гранулах алюминия, % |
40° |
50° |
 |
0,1 |
0,25 |
1,0 |
 |
0,45 |
8,2 |
29,3 |
 |
1,0 |
47 |
67 |
| 2 |
Контакт гранул алюминия со сплавом на основе галлия |
20° |
40° |
 |
Gа |
– |
83 |
 |
Ga-Sn |
5,5 |
80 |
 |
Ga-In |
4,5 |
72 |
 |
Ga-In-Sn |
4,8 |
85 |
| Примечание: отношение массы алюминия к массе сплава равно 2:1 для навесок алюминия 100 г. |
Предлагаемое техническое решение иллюстрируется следующими примерами.
Пример 1. В качестве исходных компонентов используют 100 г гранулированного алюминия марки ТУ 6-09-02-529-92; 25 г металлического галлия; водный щелочной раствор едкого натра в воде, содержащий 5 г NaOH в дм3 и 1 г Ga в дм3.
В боковой карман (19) корпуса (1) реактора загружают 30 г жидкого металлического галлия (4); сверху засыпают 50 г гранулированного алюминия (5) в емкость, образуемую стенками корпуса (1) реактора и внутренней частью сетки (7); завершают монтаж реактора; заливают водный раствор натриевой щелочи, содержащий галлат-ионы. Для потребления водорода открывают вентиль на штуцере (8) и добавляют 250 мл воды в емкость (2) корпуса (1) реактора через верхнюю крышку (11) до устойчивого контакта нижнего уровня датчика (16). В последующем дозировку воды проводят по показаниям датчика (16). Введение новой порции алюминия в количестве 50 г осуществляют через приемник (9) после закрытия крышки и открытия заслонки (10). При потреблении водорода водный раствор натриевой щелочи, содержащий галлат-ионы, поступает из емкости (2) через тубус в емкость (3), провоцируя реакции по активации алюминия и последующего взаимодействия активированного алюминия с водой.
В результате получено: водорода 125 дм3; гидроксида алюминия 280 г, высушенного при 100°С; тепла 350 ккал. (Учитывая коэффициент абсорбции водорода водой при 20°С и давлении 750 мм ртутного столба, приводя газ к нормальным условиям, получаем объем выделенного водорода равным 115,5 дм3. Это составляет 92,8% от теоретически расчетного количества выделяемого водорода по реакции, то есть потери составили 7,2%. Последнее объясняется утечкой водорода при длительной выдержке).
Пример 2. В качестве исходных компонентов используют 100 г гранулированного алюминия марки ТУ 6-09-02-529-92); сплав Ga-In состава, мас.%: индий 28; галлий 72; щелочной раствор едкого натра в воде, содержащий 60 г NaOH в дм3 и 10 г Ga в дм3.
В боковой карман (19) корпуса (1) реактора загружают 30 г жидкого сплава галлия-индия (4); сверху засыпают 50 г гранулированного алюминия (5) в емкость, образуемую стенками корпуса (1) реактора и внутренней частью сетки (7); завершают монтаж реактора; заливают водный раствор натриевой щелочи, содержащий галлат-ионы. Для потребления водорода открывают вентиль на штуцере (8) и добавляют 250 мл воды в емкость (2) корпуса (1) реактора через верхнюю крышку (11) до устойчивого контакта с датчиком уровня раствора (16). В последующем дозировку воды проводят по показаниям датчика (16). Введение новой порции алюминия в количестве 50 г осуществляют через приемник (9) после закрытия крышки и открытия заслонки (10). При потреблении водорода водный раствор натриевой щелочи, содержащий галлат-ионы, поступает из емкости (2) через тубус в емкость (3), провоцируя реакции по активации алюминия и последующего взаимодействия активированного алюминия с водой.
В результате получено: водорода 120 дм3 (в перерасчете на нормальные условия или 96,4% от теоретически рассчитанного); гидроксида алюминия 300 г (высушенного при 20°С с влажностью 8%); тепла 360 ккал.
Пример 3. В качестве исходных компонентов используют 100 г гранулированного алюминия марки ТУ 6-09-02-529-92; сплав Ga-Sn состава, мас.%:
олово 8; галлий 92; щелочной раствор едкого натра в воде, содержащий 60 г NaOH в дм3 и 10 г Ga в дм3.
В боковой карман (19) корпуса (1) реактора загружают 25 г жидкого сплава галлия-олова (4); сверху засыпают 45 г гранулированного алюминия (5) в емкость, образуемую стенками корпуса (1) реактора и внутренней частью сетки (7); завершают монтаж реактора; заливают водный раствор натриевой щелочи, содержащий галлат-ионы. Для потребления водорода открывают вентиль на штуцере (8) и добавляют 250 мл воды в емкость (2) корпуса (1) реактора через верхнюю крышку (11). В последующем дозировку воды проводят по показаниям датчика (16). Введение новой порции алюминия в количестве 50 г осуществляют через приемник (9) после закрытия крышки и открытия заслонки (10). При потреблении водорода водный раствор натриевой щелочи, содержащий галлат-ионы, поступает из емкости (2) через тубус в емкость (3), провоцируя реакции по активации алюминия и последующего взаимодействия активированного алюминия с водой.
В результате получено: водорода 122,9 дм3 (или 97,9% от теоретически рассчитанного); гидроксида алюминия 290 г; тепла 350 ккал.
Пример 4. В качестве исходных компонентов используют 100 г гранулированного алюминия марки ТУ 6-09-02-529-92); сплав Ga-In-Sn состава, мас.%: индий 21,5; олово 12,5; галлий 66; щелочной раствор едкого натра в воде, содержащий 60 г NaOH в дм3 и 10 г Ga в дм3.
В боковой карман (19) корпуса (1) реактора загружают 25 г жидкого сплава галлия и индия (4); сверху засыпают 50 г гранулированного алюминия (5) в емкость, образуемую стенками корпуса (1) реактора и внутренней частью сетки (7); завершают монтаж реактора; заливают водный раствор натриевой щелочи, содержащий галлат-ионы. Для потребления водорода открывают вентиль на штуцере (8) и добавляют 250 мл воды в емкость (2) корпуса (1) реактора через верхнюю крышку (11) до устойчивого контакта с датчиком уровня раствора (16). В последующем дозировку воды проводят по показаниям датчика (16). Введение новой порции алюминия в количестве 50 г осуществляют через приемник (9) после закрытия крышки и открытия заслонки (10). При потреблении водорода водный раствор натриевой щелочи, содержащий галлат-ионы, поступает из емкости (2) через тубус в емкость (3), провоцируя реакции по активации алюминия и последующего взаимодействия активированного алюминия с водой.
В результате получено: водорода 120 дм3 (или 96,4% от теоретически рассчитанного); гидроксида алюминия 285 г; тепла 350 ккал.
Таким образом, предлагается технологически простой способ получения водорода путем разложения воды при ее взаимодействии с алюминием в водном растворе натриевой щелочи, содержащем галлат-ионы, обеспечивающий высокий выход по водороду.
Формула изобретения
1. Способ получения водорода путем разложения воды при ее взаимодействии с алюминием в водном растворе натриевой щелочи, содержащем галлат-ионы, отличающийся тем, что в качестве водного раствора натриевой щелочи, содержащего галлат-ионы, используют щелочно-галлатный раствор, содержащий 5-60 г/дм3 едкого натрия и 1-10 г/дм3 галлия, и процесс осуществляют в присутствии жидкого металлического галлия, или жидкого сплава галлия и олова, и/или индия при его непосредственном контакте с алюминием.
2. Способ по п.1, отличающийся тем, что используют сплав галлия и индия при следующем соотношении компонентов, мас.%: индий – 5-30; галлий – остальное.
3. Способ по п.1, отличающийся тем, что используют сплав галлия и олова при следующем соотношении компонентов, мас.%: олово – 3-12; галлий – остальное.
4. Способ по п.1, отличающийся тем, что используют сплав галлия, и индия, и олова при следующем соотношении компонентов, мас.%: индий – 13,5-29,5; олово – 7,5-17,5; галлий – остальное.
5. Химический реактор для получения водорода, включающий цилиндрический корпус, снабженный теплообменником, со средой водного раствора натриевой щелочи, содержащего галлат-ионы, в котором размещен датчик контроля, связанный с блоком управления, в корпусе расположен штуцер отвода газообразного продукта реакции, штуцер подачи раствора натриевой щелочи, приемник загрузки алюминия, внутри корпуса расположено устройство для размещения алюминия, снабженное приспособлением, препятствующим попаданию алюминия в циркулирующий раствор натриевой щелочи, отличающийся тем, что корпус реактора разделен на две емкости, верхняя из которых имеет отверстие для подачи воды в реактор, а ее дно снабжено коническим тубусом, расположенным внутри второй емкости, устройство для размещения алюминия выполнено в виде бокового кармана и снабжено защитной сеткой, на дно бокового кармана помещен жидкий галлий, или жидкий сплав галлия и олова и/или индия, теплообменник расположен с внешней стороны реактора, а в качестве датчика контроля использован датчик контроля уровня раствора в верхней емкости, кроме того, реактор дополнительно снабжен гидроциклоном для отделения осветленной части раствора от пульпы, накапливающейся в нижней части реактора, и рядом штуцеров, направляющих струи осветленного раствора на алюминий.
РИСУНКИ
|
|