Патент на изобретение №2397137

Published by on




РОССИЙСКАЯ ФЕДЕРАЦИЯ



ФЕДЕРАЛЬНАЯ СЛУЖБА
ПО ИНТЕЛЛЕКТУАЛЬНОЙ СОБСТВЕННОСТИ,
ПАТЕНТАМ И ТОВАРНЫМ ЗНАКАМ
(19) RU (11) 2397137 (13) C1
(51) МПК

B66C23/84 (2006.01)

(12) ОПИСАНИЕ ИЗОБРЕТЕНИЯ К ПАТЕНТУ

Статус: по данным на 28.09.2010 – действует

(21), (22) Заявка: 2009117179/11, 05.05.2009

(24) Дата начала отсчета срока действия патента:

05.05.2009

(46) Опубликовано: 20.08.2010

(56) Список документов, цитированных в отчете о
поиске:
RU 2206492 С2, 20.06.2003. SU 857511 А, 03.09.1981. US 4216870 А, 12.08.1980. US 3452624 А, 01.07.1969.

Адрес для переписки:

424000, Республика Марий Эл, г.Йошкар-Ола, пл. Ленина, 3, ГОУ ВПО Марийский государственный технический университет, отдел интеллектуальной собственности

(72) Автор(ы):

Багаутдинов Ильдар Нургаязович (RU),
Грязин Владимир Альбертович (RU),
Шестаков Яков Иванович (RU),
Лоскутов Юрий Васильевич (RU),
Егошина Татьяна Михайловна (RU),
Зинатуллин Фирзар Хайдарович (RU),
Авдеев Артем Владимирович (RU),
Мухамадияров Ильяс Тахирович (RU),
Александров Алексей Юрьевич (RU)

(73) Патентообладатель(и):

Государственное образовательное учреждение высшего профессионального образования Марийский государственный технический университет (RU)

(54) ОПОРНО-ПОВОРОТНОЕ УСТРОЙСТВО МАНИПУЛЯТОРА ЛЕСОЗАГОТОВИТЕЛЬНОЙ МАШИНЫ

(57) Реферат:

Изобретение относится к технологическому оборудованию лесозаготовительных машин манипуляторного типа, а именно к опорно-поворотным устройствам. Опорно-поворотное устройство включает опору поворотную роликовую, нижняя неповоротная часть которой жестко закреплена на раме самоходного шасси, а на верхней поворотной части опоры поворотной роликовой жестко установлена поворотная платформа, на которой смонтирован манипулятор и механизм поворота поворотной платформы с манипулятором в горизонтальной плоскости вокруг вертикальной оси. Механизм поворота поворотной платформы выполнен в виде лопастного гидромотора, корпус которого жестко соединен с верхней поворотной частью опоры поворотной роликовой и снабжен сектором, жестко связанным с внутренней поверхностью корпуса. Корпус снабжен отверстиями точно совпадающими с каналами, соответственно, выполненными в секторе, и служащими для подвода-отвода рабочей жидкости. Внутренняя часть с лопастью жестко связана с нижней неповоротной частью опоры поворотной роликовой. Центральная часть внутренней части гидромотора выполнена пустотелой в форме трубы. Достигается упрощение конструкции и повышение износоустойчивости. 1 з.п. ф-лы, 2 ил.

Изобретение относится к технологическому оборудованию лесозаготовительных машин манипуляторного типа, а именно к опорно-поворотным устройствам, и может быть использовано в лесной промышленности и лесном хозяйстве.

Известно опорно-поворотное устройство манипулятора лесозаготовительной машины, включающее трубу, смонтированную на П-образной ферме, вставленную в трубу поворотную колонну, на которой смонтирован манипулятор с его приводом, и механизм поворота манипулятора в горизонтальной плоскости (Кусакин Н.Ф. Устройство и эксплуатация трелевочных тракторов: Учеб. пособие для профтехучилищ. – М.: Лесная промышленность, 1985. – 272 с., см. стр.136 и рис.79).

Известное опорно-поворотное устройство манипулятора лесозаготовительной машины применяется на машинах малой и средней грузоподъемности и имеет ограниченный угол поворота.

Наиболее близким к изобретению является опорно-поворотное устройство манипулятора лесозаготовительной машины, включающее опору поворотную роликовую, нижняя неповоротная часть которой жестко закреплена на раме самоходного шасси, а на верхней поворотной части опоры поворотной роликовой жестко установлена поворотная платформа, на которой смонтирован манипулятор и механизм поворота поворотной платформы с манипулятором в горизонтальной плоскости вокруг вертикальной оси (Кругов B.C., Борман М.А., Ермольев В.П., Королев В.Е., Попов Б.В. Валочно-пакетирующая машина ЛП-19. – М.: Лесн. пром-сть, 1982. – 288 с., см. стр.15 рис.5, стр.20 рис.9, стр.21 рис.10 и стр.33 рис.19).

Недостатками известного опорно-поворотного устройства манипулятора лесозаготовительной машины являются сложность и материалоемкость конструкции, консольность крепления ведущей шестерни и обеспечения соосности ведущей и ведомой шестерен.

Технический результат заключается в уменьшении материалоемкости, упрощении конструкции и повышении износоустойчивости.

Технический результат достигается тем, что предлагаемое опорно-поворотное устройство манипулятора лесозаготовительной машины включает опору поворотную роликовую, нижняя неповоротная часть которой жестко закреплена на раме самоходного шасси, а на верхней поворотной части опоры поворотной роликовой жестко установлена поворотная платформа, на которой смонтирован манипулятор и механизм поворота поворотной платформы с манипулятором в горизонтальной плоскости с возможностью поворота вокруг вертикальной оси, причем новым является то, что механизм поворота поворотной платформы выполнен в виде лопастного гидромотора, корпус которого жестко соединен с верхней поворотной частью опоры поворотной роликовой, а внутренняя часть с лопастью жестко связана с нижней неповоротной частью опоры поворотной роликовой, при этом центральная часть внутренней части выполнена пустотелой в форме трубы, а корпус снабжен отверстием для подвода-отвода рабочей жидкости, при этом лопасть внутренней части снабжена с обеих сторон клапанами, установленными на сквозных каналах лопасти.

Предлагаемая конструкция опорно-поворотного устройства манипулятора лесозаготовительной машины снижает сложность и материалоемкость конструкции, исключается открытая зубчатая передача.

В патентной и научно-технической литературе подобной конструкции опорно-поворотного устройства манипулятора лесозаготовительной машины не обнаружено.

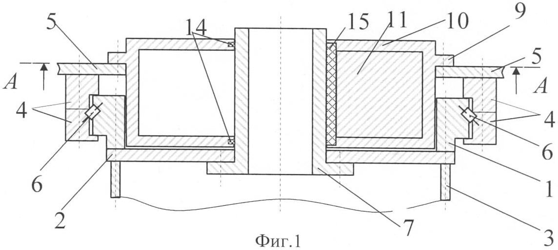
На фиг.1 изображено опорно-поворотное устройство манипулятора лесозаготовительной машины, разрез; на фиг.2 – то же, сечение А-А на фиг.1.

Опорно-поворотное устройство манипулятора лесозаготовительной машины включает опору поворотную роликовую, содержащую нижнюю неповоротную часть 1, которая жестко закреплена через опорное кольцо 2 на раме 3 самоходного шасси, верхнюю поворотную часть 4, на которой жестко установлена поворотная платформа 5 с манипулятором (не показан). Верхняя поворотная часть 4 установлена с возможностью вращения относительно нижней неповоротной части 1 на элементах качения 6, например, роликах. На опорном кольце 2 жестко установлена внутренняя часть 7 лопастного гидромотора с жестко закрепленной на ней лопастью 8. Внутренняя часть 7 выполнена пустотелой в форме трубы с возможностью установки внутри ее центрального коллектора (не показан) гидросистемы трансмиссии, а лопасть 8 жестко соединена с наружной поверхностью трубы внутренней части 7. На поворотной платформе 5 через фланец 9 жестко установлен корпус 10 гидромотора, на внутренней полости которого жестко смонтирован сектор 11 с каналами 12 и 13 внутри него для подвода-отвода рабочей жидкости для привода гидромотора. Корпус 10 и внутренняя часть 7 установлены съемными с возможностью их монтажа-демонтажа. Между внутренней частью 7 и корпусом 10 смонтированы уплотнения 14, например, сальники. Между лопастью 8 и корпусом 10 и между сектором 11 и внутренней частью 7 также установлены уплотнения 15. В корпусе 10 выполнены отверстия 16 и 17 для подвода-отвода рабочей жидкости, точно совпадающие с каналами 12 и 13. Лопасть 8 снабжена клапанами 18 и 19, установленными с обоих сторон лопасти 8 и которые удерживаются в закрытом положении с помощью упругих элементов 20, например, пружин растяжения. Клапаны 18 и 19 установлены на сквозных каналах 21 и 22, выполненными в лопасти 8.

Опорно-поворотное устройство манипулятора лесозаготовительной машины работает следующим образом.

Оператор, управляя гидрораспределителем (не показан), направляет поток рабочей жидкости в отверстия 16 или 17, под действием давления рабочей жидкости корпус 10 поворачивается относительно внутренней части 7, отталкиваясь от лопасти 8, а с корпусом 10 поворачивается поворотная платформа 5. Если рабочая жидкость подается под давлением в отверстие 16 и клапан 12, то через канал 13 и отверстие 17 рабочая жидкость сливается в гидробак (не показан), при этом поворотная платформа 5 поворачивается против часовой стрелки. Если рабочая жидкость подается под давлением в отверстие 17 и канал 13, то через канал 12 и отверстие 16 – сливается в гидробак и поворотная платформа 5 поворачивается по часовой стрелке. При резком повышении давления рабочей жидкости между лопастью 8 и сектором 11 или при гидродинамическом ударе срабатывают клапаны 18 или 19, предотвращая динамические нагрузки и выход из строя агрегатов гидросистемы и технологического оборудования лесозаготовительной машины.

Предлагаемое опорно-поворотное устройство манипулятора лесозаготовительной машины снижает сложность и материалоемкость конструкции, исключает применение открытой зубчатой передачи, в результате повышает эффективность его использования.

Формула изобретения

1. Опорно-поворотное устройство манипулятора лесозаготовительной машины, включающее опору поворотную роликовую, нижняя неповоротная часть которой жестко закреплена на раме самоходного шасси, а на верхней поворотной части опоры поворотной роликовой жестко установлена поворотная платформа, на которой смонтированы манипулятор и механизм поворота поворотной платформы с манипулятором в горизонтальной плоскости вокруг вертикальной оси, отличающееся тем, что механизм поворота поворотной платформы выполнен в виде лопастного гидромотора, корпус которого жестко соединен с верхней поворотной частью опоры поворотной роликовой и снабжен сектором, жестко связанным с внутренней поверхностью корпуса, при этом корпус снабжен отверстиями, точно совпадающими с каналами, выполненными в секторе, и служащими для подвода-отвода рабочей жидкости, а внутренняя часть с лопастью жестко связана с нижней неповоротной частью опоры поворотной роликовой, при этом центральная часть внутренней части выполнена пустотелой в форме трубы.

2. Устройство по п.1, отличающееся тем, что лопасть внутренней части гидромотора снабжена с обеих сторон клапанами, установленными на сквозных каналах лопасти.

РИСУНКИ

Categories: BD_2397000-2397999