Патент на изобретение №2397124

Published by on




РОССИЙСКАЯ ФЕДЕРАЦИЯ



ФЕДЕРАЛЬНАЯ СЛУЖБА
ПО ИНТЕЛЛЕКТУАЛЬНОЙ СОБСТВЕННОСТИ,
ПАТЕНТАМ И ТОВАРНЫМ ЗНАКАМ
(19) RU (11) 2397124 (13) C2
(51) МПК

B65D3/22 (2006.01)

(12) ОПИСАНИЕ ИЗОБРЕТЕНИЯ К ПАТЕНТУ

Статус: по данным на 28.09.2010 – действует

(21), (22) Заявка: 2008108213/12, 07.09.2006

(24) Дата начала отсчета срока действия патента:

07.09.2006

(30) Конвенционный приоритет:

08.09.2005 DE 202005014177.1

(43) Дата публикации заявки: 20.10.2009

(46) Опубликовано: 20.08.2010

(56) Список документов, цитированных в отчете о
поиске:
US 6401955 B1, 11.06.2002. RU 2243308 C2, 27.12.2004. US 3443714 A, 13.05.1969. US 4548348 A, 22.10.1985. US 2462497 A, 22.02.1949. DE 8301046 U1, 23.06.1983. US 1615319 A, 25.01.1927. US 2666542 A, 19.01.1954.

(85) Дата перевода заявки PCT на национальную фазу:

08.04.2008

(86) Заявка PCT:

EP 2006/008753 20060907

(87) Публикация PCT:

WO 2007/028623 20070315

Адрес для переписки:

190000, Санкт-Петербург, Вох 1125, ООО “ПАТЕНТИКА”

(72) Автор(ы):

Д`АМАТО Джанфранко (IT)

(73) Патентообладатель(и):

СЕДА С.П.А. (IT)

(54) СТАКАН С ДВОЙНОЙ СТЕНКОЙ

(57) Реферат:

Изобретение относится к стакану для текучей среды, например, горячего или охлажденного напитка. Стакан выполнен с двойной внутренней и внешней стенкой, а также отверстием на его верхнем конце и донной частью на его нижнем конце. Внешняя стенка изготовлена из бумаги, картона и т.п. Внутренняя стенка сформована внутренним стаканом, который вставлен во внешний стакан, образующий внешнюю стенку. Внутренний стакан прикреплен с возможностью открепления и изготовлен из не проницаемой для текучей среды пластмассы. Нижний конец внутреннего стакана расположен на расстоянии от нижнего конца внешнего стакана с формированием между концами приемного пространства, а нижняя секция внешнего стакана выполнена с возможностью открепления от верхней секции стакана. Изобретение обеспечивает быстрое и простое изготовление и сборку с сохранением соответствующих теплоизоляционных свойств при одновременном придании такому стакану большей прочности. 28 з.п. ф-лы, 10 ил.

Изобретение относится к стакану с двойной внутренней и внешней стенкой, имеющему на верхнем конце отверстие, а на нижнем конце донышко. По меньшей мере, внешняя стенка по существу выполнена из бумаги, картона и т.п.

Такой стакан с двойной стенкой известен из ЕР 1227043. Здесь внешняя стенка сформирована рукавом, который обычно натянут снизу на внутренний стакан, формирующий внутреннюю стенку. Рукав, формирующий внешнюю стенку, закреплен на верхнем и нижнем концах внутреннего стакана, причем между рукавом и внутренним стаканом сформирован воздушный зазор, который обеспечивает в стакане с двойной стенкой теплоизоляцию.

Известный стакан с двойной стенкой имеет хорошие изоляционные свойства и потому может быть успешно использован для хранения и приема теплого или горячего напитка и хранения и приема охлажденного напитка и т.п. Его внутренний стакан также изготовлен из бумаги, картона и т.п., причем по меньшей мере внутренний стакан дополнительно имеет на внутренней стороне покрытие, не проницаемое для текучей среды.

Задача настоящего изобретения состоит в усовершенствовании такого стакана с двойной стенкой так, чтобы его можно было быстрее и проще изготавливать и собирать с сохранением подходящих теплоизоляционных свойств при одновременном придании такому стакану большей прочности.

Эта задача решена посредством реализации признаков изобретения, раскрытых в п.1 формулы изобретения.

Предлагаемый стакан с двойной стенкой отличается в особенности тем, что его внутренний стакан, образующий внутреннюю стенку, вставлен во внешний стакан, образующий внешнюю стенку, прикреплен к нему в особенности с возможностью открепления и сформирован по меньшей мере из пластмассы, не проницаемой для текучей среды.

Благодаря использованию внутреннего стакана и внешнего стакана предлагаемый стакан с двойной стенкой обладает большей механической прочностью, поскольку в донной части нет отверстия рукава, который натягивают снизу на внутренний стакан. Протекание внутреннего стакана не ведет к протеканию стакана с двойной стенкой, которое может испачкать одежду пользователя. Напротив, внешний стакан позволяет собирать текучую среду, протекшую из внутреннего стакана, благодаря чему предлагаемый стакан с двойной стенкой оказывается не только прочнее, но и безопаснее в использовании.

Внутренний стакан может быть размещен во внешнем стакане различными способами и может быть закреплен в нем или прикреплен к нему. Использование двух стаканов позволяет реализовать несколько способов скрепления с последующим возможным раскреплением, например в области внутренней и внешней стенок, в области выполняемых при необходимости кромок обоих стаканов и/или также в области их донышек. Кроме того, упрощается изготовление внутреннего стакана, и поскольку он выполнен из пластмассы и может иметь различную конструкцию, то после подходящего пластического формования его можно просто вставить во внешний стакан.

Подходящий пластмассовый материал внутреннего стакана по меньшей мере не проницаем для текучей среды, поэтому при использовании текучего или жидкого содержимого, внутренний стакан сохраняет герметичность.

Для улучшения защитных свойств внешнего стакана, в особенности в случае протекания внутреннего стакана или прохода пищевых продуктов и т.п., содержащихся во внутреннем стакане, во внешний стакан и выполнения последнего по меньшей мере не проницаемым для текучей среды внешний стакан может быть покрыт изнутри и/или снаружи не проницаемой для текучей среды пленкой из пластмассы. Эта пленка, в особенности покрывающая внешний стакан снаружи, улучшает его пригодность для печатания, которая и без пленки является относительно хорошей благодаря тому, что внешний стакан изготовлен из бумаги, картона и т.п.

Для облегчения удаления из стакана с двойной стенкой в особенности жидких пищевых продуктов внешний стакан может иметь выступающую наружу кромку, по меньшей мере частично окружающую подходящее верхнее отверстие внешнего стакана. Благодаря этому внешний стакан не только стабильно сохраняет свою форму в особенности в области своего отверстия, но и упрощает процесс питья из стакана жидких пищевых продуктов. В предпочтительном варианте реализации изобретения соответствующая кромка может быть выполнена в виде скрученного ободка, развальцованного наружу. В области этого скрученного ободка также может быть нанесена походящая пленка из пластмассы.

Для упрощения опорожнения внутреннего стакана или при необходимости обеспечения его герметизации сверху относительно внешнего стакана внутренний стакан может иметь по меньшей мере частично внутреннюю кромку, окружающую его верхнее отверстие. Такая кромка может быть выполнена различными способами в зависимости от конкретных требований.

В предпочтительном варианте реализации изобретения внутренняя кромка может по меньшей мере местами примыкать сверху к внешней кромке внешнего стакана. Благодаря этому удаление в особенности жидких пищевых продуктов из стакана с двойной стенкой возможно через обе кромки, примыкающие друг к другу. Кроме того, внутренний стакан в области кромок оказывается достаточно загерметизирован относительно внешнего стакана очень простым способом.

Для улучшения герметизации внутреннего стакана, например, при его одновременном определенном креплении относительно внешнего стакана или по меньшей мере фиксации в заданной позиции относительно внешнего стакана внутренняя кромка может по меньшей мере частично охватывать внешнюю кромку. Такой охват может быть реализован различными способами. В одном варианте реализации изобретения внешняя кромка охвачена внутренней кромкой достаточно свободно, так что опора одной кромки на другую по существу служит только для размещения внутреннего стакана во внешнем стакане. Такой охват также может быть выполнен достаточно плотным с получением по существу фрикционного соединения в этой области, которое обеспечивает получение некоторой, а при необходимости и достаточной фиксации внутреннего стакана во внешнем стакане. В этом случае для улучшения фиксации внутренняя кромка и внешняя кромка могут быть соединены в особенности с возможностью разъединения. Соединение такого типа может быть реализовано подходящим клеем или, например, оплавлением и соединением с использованием пленки из пластмассы, нанесенной на внешний стакан в области кромок.

Кроме такого соединения в области кромок дополнительно может быть использовано соединение клеем, оплавлением пленки из пластмассы и т.п. в области внутренней и внешней стенок внутреннего и внешнего стаканов или в области соответствующих донных частей обоих стаканов дополнительно к указанным способам или вместо них.

При использовании скрученного ободка, периферически отогнутого наружу на внешнем стакане, внутренняя кромка может быть предпочтительно выполнена в форме буквы П, а внутренний стакан оказывается вставлен в периферические захваты скрученного ободка сверху посредством соответствующих ножек этой буквы П.

Соответствующее скрепление обоих стаканов с возможностью раскрепления также может быть выполнено посредством этих ножек и скрученного ободка. В этом случае также можно использовать соединение с фрикционным взаимодействием.

В другом варианте реализации изобретения кромка может быть сформирована по существу плоской и выступающей радиально наружу, и, например, по существу только соприкасающейся сверху с внешней кромкой или скрученным ободком. В этом случае такая плоская кромка выступает радиально над внешней кромкой и формирует, например, на своем свободном конце кромку для стекания.

В другом варианте реализации изобретения внутренняя кромка может быть размещена на выступе, выступающем по меньшей мере местами с внутренней стороны внешнего стакана, в особенности если она сформирована плоской. Благодаря этому верхнее отверстие внутреннего стакана размещено со смещением в нижнем направлении относительно верхнего отверстия внешнего стакана, и внутренний стакан полностью размещен во внешнем стакане. Если кромка внутреннего стакана опирается на соответствующий выступ, то можно выполнить подходящее прикрепление внутреннего стакана к внешнему стакану и/или подходящую герметизацию между ними, причем в этой области также можно выполнить прикрепление с возможностью открепления посредством клея, оплавления пленки из пластмассы и т.п., нанесенной на внешний стакан.

Вместо опоры внутренней кромки на такой выступ в другом варианте реализации изобретения эта кромка, в особенности плоская, может быть вставлена своим свободным концом в канавку, проходящую вокруг внутренней стороны внешнего стакана. Соответствующее положение внутреннего стакана относительно внешнего стакана задано опорой о выступ или вставкой в канавку. Взаимодействие свободного конца в канавке может в особенности привести к соединению обоих стаканов с геометрическим замыканием, причем взаимодействие свободного конца в канавке при вставке внутреннего стакана во внешний стакан вызывает появление определенного запирающего эффекта. Кроме того, в этом случае в области свободного конца и канавки можно выполнить подходящее скрепление или подходящую герметизацию, например, клеем, оплавлением пленки из пластмассы на внешнем стакане и т.п.

Вставка внутреннего стакана с использованием выступа или канавки по меньшей мере при использовании канавки упрощена тем, что канавка имеет глубину, уступающую длине плоской кромки. При этом область выступа также может иметь глубину, уступающую длине плоской кромки. Благодаря этому упрощается изготовление подходящего выступа или канавки, потому что он или она может быть сформирован или сформирована во внешнем стакане с малыми затратами и без значительного воздействия на его внешнюю видимую сторону.

Если сформирована канавка, то вставка свободного конца плоской кромки может быть облегчена и герметизация в этой области может быть улучшена дополнительным выполнением свободного конца плоской кромки закругленным.

Внешний стакан может быть выполнен в форме конуса, расширяющегося вверх к своему верхнему концу в подходящей секции верхней стенки между отверстием внешнего стакана и выступом. Благодаря этому упрощается процесс размещения внутреннего стакана и в особенности плоской кромки с выступом. Однако в этом случае для улучшения фиксации внутреннего стакана во внешнем стакане соответствующая секция стенки внешнего стакана может проходить от выступа вверх по существу вертикально к соответствующей внешней кромке.

В другом варианте реализации изобретения нижний конец или донная часть внутреннего стакана может быть расположен или расположена на расстоянии от нижнего конца или донной части внешнего стакана с формированием приемного пространства между этими концами или донными частями. Приемное пространство может быть использовано для размещения подарка-сюрприза и т.п., который может быть доступен в особенности после опорожнения внутреннего стакана и его удаления из внешнего стакана. Однако нижний конец или донная часть внутреннего стакана может соприкасаться с нижним концом или донной частью внешнего стакана, в результате чего внутренний стакан имеет опору не только в результате соприкосновения соответствующих кромок, но и в результате соприкосновения с соответствующими донными частями внешнего стакана. Кроме того, в этом случае скрепление обоих стаканов также может быть осуществлено в области донных частей или нижних концов. Если приемное пространство небольшое, оно также может создавать теплоизоляцию, поскольку в этой области между внутренним стаканом и внешним стаканом отсутствует прямое соприкосновение.

Теплоизоляция между внутренним и внешним стаканами может быть улучшена за счет формирования между по меньшей мере стенкой внутреннего стакана и стенкой внешнего стакана воздушной камеры, в особенности проходящей в периферическом направлении. Кроме того, можно использовать несколько таких воздушных камер, размещенных в периферическом направлении и разграниченных подходящими опорными ребрами, опорными выступами и т.п., проходящими между обоими стаканами. В этом случае соответствующие воздушные камеры могут проходить в вертикальном направлении и быть отделены друг от друга в периферическом направлении и/или проходить в периферическом направлении и быть отделены друг от друга в вертикальном направлении.

Поперечные сечения стаканов могут иметь различную геометрическую форму, например, круга, овала, прямоугольника и в особенности квадрата. Для облегчения удержания стакана с двойной стенкой стенка внутреннего стакана и стенка внешнего стакана могут быть выполнены в форме расширяющегося вверх конуса. Подходящие конические углы стенки внутреннего стакана и стенки внешнего стакана могут соотноситься друг с другом по-разному. Если конические углы стенки внутреннего стакана и стенки внешнего стакана равны, то внутренние и внешние стенки могут, например, прямо соприкасаться. Однако, если, например, размещение внутреннего стакана во внешнем стакане осуществлено с использованием выступа или канавки, то при равных конических углах внутренняя и внешняя стенки могут быть размещены на одинаковом расстоянии друг от друга. Конические углы стенки внутреннего стакана и стенки внешнего стакана могут быть различными. В одном варианте реализации изобретения конический угол стенки внешнего стакана больше конического угла стенки внутреннего стакана, так что расстояние между стенками внутреннего и внешнего стаканов увеличивается в направлении отверстия стакана. Также возможен обратный случай, т.е. конический угол стенки внутреннего стакана больше конического угла стенки внешнего стакана, так что расстояние между стенками увеличивается в направлении донышка стакана.

Как уже было указано, подходящее скрепление двух стаканов может быть осуществлено в различных местах. Если это скрепление, например, выполнено в области стенок стакана, то в предпочтительном варианте реализации изобретения стенка внутреннего стакана соприкасается со стенкой внешнего стакана изнутри по меньшей мере местами.

Подходящий пластмассовый материал внутреннего стакана не только улучшает его герметичность, но и увеличивает срок службы. Кроме того, такую пластмассу несложно также выполнить газонепроницаемой, или в любом случае она является герметичной как в отношении газа, так и в отношении жидкости. Благодаря этому нежные пищевые продукты, такие как йогурт, печенье и т.п., лучше защищены от воздействия запахов или других газов. Также благодаря этому предотвращено появление запаха или газа из стакана с двойной стенкой, содержащего, например, сыр или другие пищевые продукты с сильным запахом.

Стакан с двойной стенкой может быть закрыт различными способами. Например, на соответствующей кромке внешнего стакана или внутреннего стакана может быть размещена известным способом крышка. Также для закрытия внутреннего стакана можно с возможностью открепления прикрепить герметизирующую пленку к внутренней или внешней кромке.

В принципе, геометрическая форма внутреннего стакана может отличаться от геометрической формы внешнего стакана, кроме при необходимости в области кромок, соприкасающихся друг с другом, или в области, в которой внутренняя кромка размещена на выступе или в канавке. Иными словами, овальный или прямоугольный внутренний стакан может быть размещен, например, во внешнем стакане круглого поперечного сечения, или наоборот. В таком случае подходящее размещение стаканов относительно друг друга или их скрепление при этом может быть осуществлено только в области геометрически схожих кромок или при соприкосновении внутренней кромки с выступом или канавкой.

Однако в предпочтительном варианте реализации изобретения для упрощения размещения двух стаканов поперечные сечения внутреннего и внешнего стаканов могут быть по существу геометрически подобны друг другу по всей высоте стакана с двойной стенкой.

Как отмечено выше, в предпочтительном варианте реализации изобретения внутренний стакан может стоять своим нижним концом по меньшей мере местами на донной части внешнего стакана. Благодаря этому внутренний стакан имеет опору во внешнем стакане, и, кроме того, в области такой опоры также можно скрепить с возможностью раскрепления оба стакана. Если опора осуществляется только местами, то оставшаяся область также может служить для теплоизоляции.

Уже указывалось, что теплоизоляция предлагаемого стакана с двойной стенкой может быть реализована только благодаря выполнению внешнего стакана из бумаги, картона и т.п., в особенности, даже если стенка внутреннего стакана касается стенки внешнего стакана изнутри. Внешний стакан в области своей стенки может иметь достаточную толщину или быть выполненным, например, с двойными стенками, между которыми при необходимости выполнены воздушные камеры.

Пластмассовый материал внутреннего стакана, который не проницаем как для текучей среды, так и газа, может представлять собой, например, полипропилен, полистирол, сложный полиэфир, полиэтилен или их комбинацию и т.п.

Кроме того, соединение между внутренней и внешней стенками может быть реализовано различными способами, причем в особенности соединение посредством пленки из пластмассы, нанесенной на внешний стакан, может быть выполнено с использованием полиэтилена.

В связи с упомянутым выше приемным пространством для размещения подарка-сюрприза следует отметить, что в предпочтительном варианте реализации изобретения этот подарок может быть удален до опорожнения внутреннего стакана и без выемки внутреннего стакана из внешнего стакана. Это может быть реализовано, например, выполнением нижней секции внешнего стакана с возможностью открепления от верхней секции этого стакана.

Такая возможность реализована выполнением между секциями стакана отрывной полоски или разрывной линии.

Отрыв полоски или разрыв линии может быть упрощен, если из них выступает отрывной флажок или по меньшей мере такой флажок присоединен к полоске или линии и, например, выполнен с возможностью отгиба от внешней поверхности внешнего стакана.

Предпочтительные варианты реализации изобретения проиллюстрированы на чертежах, на которых:

на фиг.1 показан продольный разрез стакана с двойной стенкой согласно первому варианту реализации изобретения;

на фиг.2 показан увеличенный фрагмент “А” фиг.1;

фиг.3 аналогична фиг.2 и иллюстрирует другой вариант реализации изобретения;

фиг.4 аналогична фиг.2 и иллюстрирует еще один вариант реализации изобретения;

на фиг.5 показан продольный разрез стакана с двойной стенкой согласно второму варианту реализации изобретения;

на фиг.6 показан продольный разрез стакана с двойной стенкой согласно третьему варианту реализации изобретения;

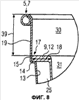
на фиг.7 показан продольный разрез стакана с двойной стенкой согласно четвертому варианту реализации изобретения;

на фиг.8 показан увеличенный фрагмент “А” фиг.7;

на фиг.9 показан продольный разрез стакана с двойной стенкой согласно пятому варианту реализации изобретения и

на фиг.10 показан увеличенный фрагмент “А” фиг.9.

На фиг.1 показан продольный разрез стакана 1 с двойной стенкой согласно первому варианту реализации изобретения, имеющего внутренний стакан 2 и внешний стакан 3. Стакан 2 расположен так, что между его нижним концом 20 и нижним концом 21 стакана 3 имеется промежуток, причем конец 21 сформирован донной частью 29. Между концами 20 и 21 сформировано приемное пространство 22, которое также служит в качестве воздушной камеры 25 для обеспечения теплоизоляции стакана 2 от стакана 3. В пространстве 22 размещен подарок-сюрприз 40. Доступ к пространству 22 может быть обеспечен посредством отрыва отрывной полоски 34, которая сформирована между верхней секцией 33 и нижней секцией 32 стакана 3. Полоска 34 имеет отрывной флажок 35, выполненный для отрыва с возможностью захвата.

Внутренний и внешний стаканы 2 и 3 имеют в верхнем конце соответствующее верхнее отверстие 8, 6, которое, как показано на фиг.1, герметично закрыто герметизирующей пленкой 28. Пленка 28 герметично наложена на область внутренней кромки 9, которая выступает из стакана 2 наружу и окружает его соответствующее отверстие. Во внутренней части 31 стакана 2 могут быть размещены предназначенные для потребления пищевые продукты, которые могут быть извлечены из стакана 1 после удаления пленки 28 или подходящей крышки.

Под внутренней кромкой 9 размещена внешняя кромка 5, выполненная в форме скрученного ободка 7, развальцованного наружу. Кромка 5 выполнен в верхнем конце стакана 3 и проходит вокруг его верхнего отверстия 6.

На фиг.1 внутренняя стенка или стенка 23, сформированная стаканом 2 (относится к следующим вариантам реализации изобретения), и внешняя стенка или стенка 24, сформированная стаканом 3 (относится к следующим вариантам реализации изобретения), соприкасаются без формирования воздушной камеры между ними, а теплоизоляция обеспечивается посредством стакана 3 и его материалом, таким как бумага, картон и т.п.

Стаканы 2 и 3 выполнены в форме конусов, расширяющихся в направлении своих отверстий под одинаковыми в этом случае углами (относится к следующим вариантам реализации изобретения).

На фиг.2-4 проиллюстрированы в увеличенном виде различные варианты реализации фрагмента “А”, показанного на фиг.1. Одинаковые детали на этих и всех остальных чертежах обозначены одинаково, хотя иногда при этом указан номер чертежа.

Из фиг.2 видно, что пленка 28 нанесена сверху на плоскую область кромки 9, к которой она герметично прикреплена. Кромка 9 выполнена в форме буквы П с двумя ножками 10 и 11, обращенными вниз. Они накрывают сверху кромку 5, сформированную в виде ободка 7. Внешняя ножка 10 выполнена с образованием свободного пространства относительно внешней стороны ободка 7. Внутренняя ножка 11 и соединитель ножек в каждом случае соприкасаются с ободком 7 или стенкой 24.

В варианте реализации изобретения, показанном на фиг.3, соответствующие ножки 10 и 11 находятся в плотном соприкосновении с ободком 7, так что благодаря соприкосновению кромки 5 с кромкой 9 сформировано соединение по существу с фрикционным взаимодействием.

Аналогично этому реализован вариант изобретения, показанный на фиг.4, в котором использованы две ножки приблизительно равной прочности, при этом в варианте реализации изобретения, показанном на фиг.3, ножка 10 толще ножки 11. В каждом из этих вариантов (фиг.3 и 4) соединитель ножек 10 и 11 толще самих ножек.

На фиг.5 проиллюстрирован второй вариант стакана с двойной стенкой, который отличается от показанного на фиг.1 по существу тем, что стакан 2 достигает своим нижним концом 20 нижнего конца 21 стакана 3. Конец 20 стакана 2 сформирован так, что стакан 2 местами стоит на соответствующей донной части 29 с формированием между ними воздушной камеры 25.

Каждые соответствующие конические углы 26 стакана 2 и 27 стакана 3 равны, причем между стенкой 23 и стенкой 24 нет свободного пространства для воздушной камеры и т.п., и они соприкасаются по всей своей высоте.

В третьем варианте реализации изобретения, показанном на фиг.6, стенки 23 и 24 размещены вдоль друг от друга на расстоянии по меньшей мере на большей части с формированием камеры 25 по существу одинаковой ширины благодаря равенству углов 26 и 27 в направлении, перпендикулярном вертикали 36.

Другие особенности третьего варианта реализации изобретения по существу соответствуют таковым первого и второго вариантов реализации изобретения, показанных на фиг.1 и 5.

Следует отметить, что соответствующие фрагменты “А”, показанные на фиг.2-4, могут быть сформированы для всех вариантов реализации изобретения, описанных выше.

Скрепление двух стаканов 2, 3 может быть выполнено в области соответствующих кромок 5, 9, например, как показано на фиг.3 и 4, соединением с фрикционным взаимодействием, образованным между кромками. Дополнительно к этому или вместо этого может быть использован клей между кромками или также между стенкой 23 и стенкой 24, или между концом 20 стакана 2 и концом 21 стакана 3; или для соединения обоих стаканов 2 и 3 с возможностью разъединения можно чуть оплавить пленку 4 из пластмассы (фиг.1), нанесенную на внутреннюю сторону, а при необходимости также на внешнюю сторону стакана 3, и затем присоединить ее к стакану 2 в подходящем месте. Соединение с помощью пленки из пластмассы также может быть выполнено в области соответствующей кромки 5, 9.

Конические углы 26, 27 в вариантах реализации изобретения, показанных на фиг.1, 5 и 6, могут быть различными, как, например, в пятом и шестом вариантах реализации изобретения, показанных на фиг.7 и 9. Здесь угол 26 внутреннего стакана может быть меньше соответствующего угла 27 внешнего стакана или большего его. Благодаря отличающимся коническим углам между стенкой 23 и стенкой 24 (фиг.7 и 9) сформирована подходящая воздушная камера 25.

Четвертый вариант реализации изобретения, показанный на фиг.7, отличается от прочих другим положением кромки 9 и ее формированием. Она сформирована в виде плоской кромки 12, показанной на фиг.8, иллюстрирующей увеличенный фрагмент “А” (фиг.7). Кромка 12 лежит своими нижней стороной и свободным концом 15 на выступе 14, который сформирован на внутренней стороне 13 стакана 3. Выше выступа 14 на высоту 39 проходит секция 19 стенки стакана 24. Эта секция 19 проходит по существу параллельно вертикалям 36 до ободка 7, выполненного в виде кромки 5. Соответствующая глубина 17 выступа 14 уступает длине 18 кромки 12, которая проходит радиально наружу от стакана 2 в области отверстия 8 внутреннего стакана. Благодаря этому между стенкой 23 и стенкой 24 сформирована соответствующая воздушная камера 25 (см. также фиг.7), ширина которой вследствие отличающихся углов 26, 27 уменьшается в направлении части 29 стакана 3.

В четвертом варианте реализации изобретения (фиг.7), как и в прочих, стакан 2 также может быть расположен согласно фиг.1, т.е. находиться на расстоянии от донной части 29 стакана 3. Кроме того, в этом варианте реализации изобретения, как и в прочих, на внутренней стороне стакана 2 может быть сформирован подходящий выступ, который, например, при вставке стаканов 1 друг в друга стопой служит для облегчения их рассоединения, поскольку он ограничивает глубину вставки таких стаканов в стопе, предотвращая застревание стаканов друг в друге.

Также при осуществлении изобретения согласно вариантам, показанным на фиг.5, 6, 7 и 9, в пространстве 22 можно разместить подходящий подарок-сюрприз 40 при условии, что стакан 2 оканчивается на достаточном расстоянии от донной части 29 стакана 3.

В варианте реализации изобретения, показанном на фиг.7, глубина 17 выступа 14 по существу соответствует длине 18 кромки 12, а воздушная камера 25 сформирована благодаря тому, что конический угол 26 стакана 2 больше конического угла 27 стакана 3. Вследствие этого сформирована камера 25, расширяющаяся в направлении донной части 29.

В вариантах реализации изобретения, показанных на фиг.7 и 9, стакан 2 в каждом случае полностью размещен во внутренней части 30 стакана 3, а в вариантах реализации изобретения, показанных на фиг.1, 5 и 6, он выступает по меньшей мере кромкой 9 из внутренней части 30 стакана 3.

В пятом варианте реализации изобретения, показанном на фиг.9, кромка 12 зафиксирована в стакане 3 в качестве кромки 9 стакана 2 в другом месте и другим способом. В этом случае стакан 3 на своей внутренней стороне 13 имеет канавку 16, которая размещена на расстоянии от ободка 7 и в которую вставлен свободный конец 15 кромки 12. Конец 15 может быть закругленным для лучшей припасовки и лучшего приема относительно канавки 16.

Остальные признаки пятого варианта реализации изобретения соответствуют четвертому варианту, показанному на фиг.7. Изобретение также может быть реализовано по-другому, например, с различными углами 26, 27 или концом стакана 2, размещенным на расстоянии относительно донной части 29 стакана 3. Углы 26, 27 могут находиться в обратном соотношении, т.е. угол 26 внутреннего стакана может быть больше угла 27 стакана 3.

В варианте реализации изобретения, показанном на фиг.9 и 10, глубина канавки 16 уступает длине 18 кромки 12. Однако эта глубина может по существу соответствовать этой длине, благодаря чему в области канавки 16 соответствующие стенки 23 и 24 соприкасаются, и сформированная воздушная камера 25 расширяется в направлении донной части 29.

На фиг.7 и 9 общая высота 37 стакана 1 определена высотой стакана 3. На фиг.1, 5 и 6 общая высота 37 стакана 1 составлена в каждом случае сложением толщины соединителя двух ножек 10, 11, показанных на фиг.2-4, с общей высотой стакана 3.

Соответствующий диаметр 38 отверстия стакана в варианте реализации изобретения, показанном на фиг.7 и 9, задан диаметром 38 стакана 3, а в вариантах реализации изобретения, показанных на фиг.1, 5 и 6, соответствующим диаметром стакана 2 в этой области.

Внешние и внутренние кромки могут быть выполнены по-другому. Например, внутренняя кромка 9 может быть выполнена в виде развальцованного наружу скрученного ободка, который помещен сверху в U-образную внешнюю кромку 5, открытую сверху. Аналогично вместо плоской кромки 12, показанной на фиг.10, в качестве кромки 9 можно сформировать скрученный ободок, который соответственно взаимодействует с канавкой 16.

Можно по-разному комбинировать различные варианты реализации настоящего изобретения, например можно выполнить дополнительный выступ в стакане 3, на который опирается нижний конец 20 стакана 2.

Внутренний стакан сформирован из не проницаемой для газа и текучей среды пластмассы, такой как полипропилен, полистирол, сложный полиэфир, полиэтилен или их комбинации, и может быть просто и быстро изготовлен подходящим способом пластического формования. Благодаря использованию такого материала внутренний стакан также имеет достаточную прочность и длительный срок службы.

Благодаря использованию бумаги, картона и т.п. для внешнего стакана на его внешнюю сторону может быть легко нанесено печатное изображение, причем пригодность для печатания может быть дополнительно улучшена также пленкой из пластмассы, например, полиэтилена, нанесенной соответствующим способом на внешнюю сторону.

Формула изобретения

1. Стакан (1) с двойной внутренней и внешней стенкой, верхним отверстием и нижним дном, в котором по меньшей мере внешняя стенка по существу выполнена из бумаги, картона и т.п.,
внутренняя стенка сформирована внутренним стаканом (2), который вставлен во внешний стакан (3), образующий внешнюю стенку, прикреплен в особенности с возможностью открепления к внешнему стакану и выполнен по меньшей мере из не проницаемой для текучей среды пластмассы,
отличающийся тем, что нижний конец (20) внутреннего стакана (2) расположен на расстоянии от нижнего конца (21) внешнего стакана (3) с формированием между этими концами (20, 21) приемного пространства (22), а нижняя секция (32) внешнего стакана (3) выполнена с возможностью открепления от верхней секции (33) стакана.

2. Стакан по п.1, отличающийся тем, что внешний стакан (3) покрыт изнутри и/или снаружи пленкой (4) из пластмассы.

3. Стакан по п.1 или 2, отличающийся тем, что внешний стакан (3) имеет внешнюю кромку (5), которая выступает наружу и по меньшей мере частично окружает верхнее отверстие (6) внешнего стакана.

4. Стакан по п.3, отличающийся тем, что внешняя кромка (5) выполнена в виде развальцованного скрученного ободка (7).

5. Стакан по п.1, отличающийся тем, что внутренний стакан (2) имеет внутреннюю кромку (9), которая по меньшей мере частично окружает его верхнее отверстие (8).

6. Стакан по п.5, отличающийся тем, что внутренняя кромка (9) соприкасается с внешней кромкой (5) сверху по меньшей мере местами.

7. Стакан по п.5, отличающийся тем, что внутренняя кромка (9) охватывает внешнюю кромку (5) по меньшей мере частично.

8. Стакан по п.5, отличающийся тем, что внутренняя и внешняя кромки (9, 5) соединены друг с другом в особенности с возможностью разъединения.

9. Стакан по п.5, отличающийся тем, что внутренняя кромка (9) по существу выполнена в форме буквы П.

10. Стакан по п.5, отличающийся тем, что внутренняя кромка (9) по существу выполнена в виде выступающей радиально наружу плоской кромки (12).

11. Стакан по п.10, отличающийся тем, что плоская кромка (12) соприкасается с выступом (14), который выступает от внутренней стороны (13) внешнего стакана (3) по меньшей мере местами.

12. Стакан по п.11, отличающийся тем, что плоская кромка (12) вставлена своим свободным концом (15) в канавку (16), которая проходит вокруг внутренней стороны (13) внешнего стакана (3).

13. Стакан по п.12, отличающийся тем, что выступ (14) или канавка (16) имеют глубину (17), уступающую длине (18) плоской кромки (12).

14. Стакан по п.12, отличающийся тем, что плоская кромка (12) закруглена на своем свободном конце (15).

15. Стакан по п.11, отличающийся тем, что от выступа (14) по существу вертикально вверх до внешней кромки (5) проходит секция (19) стенки внешнего стакана (3).

16. Стакан по п.1, отличающийся тем, что по меньшей мере воздушная камера (25), в особенности проходящая в периферическом направлении, сформирована между стенкой (23) внутреннего стакана и стенкой (24) внешнего стакана.

17. Стакан по п.16, отличающийся тем, что стенка (23) внутреннего стакана и стенка (24) внешнего стакана выполнены в форме расширяющегося вверх конуса.

18. Стакан по п.17, отличающийся тем, что конические углы (26, 27) стенки (23) внутреннего стакана и стенки (24) внешнего стакана равны.

19. Стакан по п.17, отличающийся тем, что конические углы (26, 27) стенки (23) внутреннего стакана и стенки (24) внешнего стакана (24) отличаются.

20. Стакан по п.16, отличающийся тем, что стенка (23) внутреннего стакана соприкасается со стенкой (24) внешнего стакана (24) изнутри по меньшей мере местами.

21. Стакан по п.1, отличающийся тем, что внутренний стакан (2) выполнен из газонепроницаемой пластмассы.

22. Стакан по п.5, отличающийся тем, что для герметизации внутренней части стакана к внутренней или внешней кромке (9, 5) прикреплена с возможностью открепления герметизирующая пленка или крышка (28).

23. Стакан по п.1, отличающийся тем, что поперечные сечения внутреннего и внешнего стаканов (2, 3) геометрически схожи друг с другом.

24. Стакан по п.1, отличающийся тем, что внутренний стакан (2) стоит своим нижним концом (20) на донной части (29) внешнего стакана (3) местами.

25. Стакан по п.1, отличающийся тем, что внутренний стакан (2) изготовлен из полипропилена, полистирола, сложного полиэфира, полиэтилена, их комбинации и т.п.

26. Стакан по п.2, отличающийся тем, что внутренний стакан (2) соединен с внешним стаканом (3) посредством пленки (4) из пластмассы, например полиэтилена, которая в особенности нанесена на внутреннюю часть (30) внешнего стакана (3), оплавлена и затем присоединена к внутреннему стакану (2) в подходящем месте.

27. Стакан по п.1, отличающийся тем, что между нижней и верхней секциями (32, 33) внешнего стакана (3) выполнена отрывная полоска (34) или разрывная линия.

28. Стакан по п.27, отличающийся тем, что к отрывной полоске или к отрывной линии присоединен отрывной флажок (35).

29. Стакан по п.1, отличающийся тем, что внутренний стакан (2) и внешний стакан (3) соединены друг с другом клеем и/или путем механического взаимодействия.

РИСУНКИ

Categories: BD_2397000-2397999