|
|
(21), (22) Заявка: 2008110020/11, 14.03.2008
(24) Дата начала отсчета срока действия патента:
14.03.2008
(30) Конвенционный приоритет:
16.03.2007 DE 102007012777.6
(43) Дата публикации заявки: 20.09.2009
(46) Опубликовано: 20.08.2010
(56) Список документов, цитированных в отчете о поиске:
RU 2228890 C2, 20.05.2004. DE 2725359 A1, 07.12.1978. US 3224083 A, 21.12.1965. US 2929069 A, 22.03.1960. DE 1274492 B, 01.08.1968. RU 2255881 C2, 10.07.2005. US 3914980 A, 28.10.1975. SU 1639568 A2, 07.04.1991. US 2709255 A, 31.05.1955. DE 19519591 A1, 07.12.1995. SU 1556620 A1, 15.04.1990.
Адрес для переписки:
103735, Москва, ул. Ильинка, 5/2, ООО “Союзпатент”, пат.пов. С.Б.Фелицыной, рег. 303
|
(72) Автор(ы):
ДЮРИНГЕР Карстен (DE)
(73) Патентообладатель(и):
ПОЛИ-КЛИП ЗЮСТЕМ ГМБХ УНД КО.КГ (DE)
|
(54) СПОСОБ И УСТРОЙСТВО ДЛЯ РЕГУЛИРУЕМОГО ЗАЖИМА, ПО МЕНЬШЕЙ МЕРЕ, ОДНОГО КЛИПСА ВОКРУГ СВОБОДНОГО ОТ ФАСУЕМОГО МАТЕРИАЛА УЧАСТКА КОНЧИКА РУКАВА ОБОЛОЧКИ
(57) Реферат:
Группа изобретений относится к способу и устройству для регулируемого зажима клипса. Устройство для регулируемого зажима клипса вокруг свободного от фасуемого материала участка (1) кончика рукава оболочки между двумя окруженными оболочкой участками (2, 3) фасуемого материала содержит два регулируемо-передвигаемых зажимающих инструмента (4, 5). Зажимающие инструменты (4, 5) в процессе зажима должны располагаться с обеих сторон участка (1) кончика рукава. Оба зажимающих инструмента (4, 5) содержат совместное направляющее устройство, посредством которого зажимающие инструменты (4, 5) направлены с возможностью перемещения перпендикулярно к продольной протяженности участка (1) кончика рукава. Для расположения зажимающих инструментов (4, 5) с обеих сторон участка (1) кончика рукава один из обоих зажимающих инструментов (4, 5) проведен мимо участка кончика рукава и для осуществления процесса зажима передвинут в выровненное по отношению к другому зажимающему инструменту положение. Технический результат направлен на упрощение управления движением устройства с малыми затратами по времени. 2 н. и 8 з.п. ф-лы, 10 ил.
Изобретение относится к способу и к устройству для регулируемого зажима, по меньшей мере, одного клипса вокруг свободного от фасуемого материала участка кончика рукава оболочки между двумя окруженными оболочкой участками фасуемого материала, при котором, по меньшей мере, один клипс, охватывающий участок кончика рукава, посредством двух регулируемо-передвигаемых зажимающих инструментов зажимается вокруг участка кончика рукава.
Такого рода устройство известно, к примеру, из DE 19519591 C2. В нем U-образный клипс посредством двух выровненных относительно друг друга зажимающих инструментов приводится в соприкосновение со свободным от фасуемого материла участком кончика рукава, и полки клипса при зажимающем движении, при котором один инструмент надвигается на другой, загибаются вокруг свободного от фасуемого материала участка кончика рукава.
Из EP 1095570 A1 известно устройство для двойных клипсов, у которого вокруг свободного от фасуемого материала участка кончика рукава зажимаются два клипса.
Задачей изобретения является создание способа и устройства ранее указанного типа, с помощью которых, посредством простого управления движением, с малыми затратами по времени, достигается зажим соответствующего клипса вокруг участка кончика рукава.
Эта задача решается при использовании способа в соответствии с изобретением посредством признаков пункта 1 формулы изобретения и при использовании устройства посредством признаков пункта 14 формулы изобретения.
В изобретении один из двух зажимающих инструментов проводится от одной стороны участка кончика рукава, перпендикулярно продольной протяженности участка кончика рукава, мимо участка кончика рукава, на другую сторону участка кончика рукава. Затем оба зажимающих инструмента приводятся в выровненное относительно друг друга положение, и затем производится процесс зажима клипса вокруг участка кончика рукава.
При этом зажимающий инструмент, передвинутый мимо участка кончика рукава в направлении к другому стационарно удерживаемому зажимающему инструменту, может передвигаться в выровненное относительно друг друга положение. Предпочтительным образом для этого передвинутый мимо участка кончика рукава зажимающий инструмент посредством вращательного движения приводится в выровненное относительно другого зажимающего инструмента положение, для осуществления процесса зажима. При этом оба зажимающих инструмента находятся по обе стороны расположенного между ними участка кончика рукава.
Вращательное движение может происходить при этом в варианте осуществления изобретения вокруг оси вращения, перпендикулярной продольной протяженности участка кончика рукава. В следующем примере осуществления изобретения вращательное движение происходит вокруг оси вращения, параллельной продольной протяженности участка кончика рукава. При зажимающем движении для осуществления зажима клипса происходит движение обоих зажимающих инструментов друг на друга, причем это зажимающее движение предпочтительно происходит, в основном, перпендикулярно продольной протяженности участка кончика рукава. При этом предпочтительно один из обоих зажимающих инструментов, в частности, ранее передвинутый мимо участка кончика рукава зажимающий инструмент удерживается в статическом положении, а другой зажимающий инструмент, который сдвигает клипс над участком кончика рукава, передвигается. Само собой разумеется, что имеется также возможность для того, чтобы перемещался передвинутый мимо участка кончика рукава зажимающий инструмент, в то время как другой зажимающий инструмент удерживался в статическом положении.
Клипс перед осуществлением зажимающего движения помещается между обоими зажимающими инструментами, причем клипс располагается, предпочтительным образом, перед передвинутым при зажимающем движении зажимающим инструментом. Расположение клипса между обоими зажимающими инструментами происходит предпочтительным образом в перпендикулярном направлению зажимающего движения направлении загрузки.
Прежде чем соответствующий клипс в одиночку помещается между обоими зажимающими инструментами, несколько клипсов, расположенные в ряд, могут направляться примерно параллельно направлению зажимающего движения. Посредством перпендикулярного ему движения загрузки можно простым образом привести следующие друг за другом клипсы, соответственно, по одиночке, в подходящее для осуществления зажимающего движения положение между зажимающими инструментами.
При движении одного зажимающего инструмента мимо участка кончика рукава оба зажимающих инструмента на определенном расстоянии друг от друга проводятся в направлении совместного движения. Посредством данного зазора обеспечивается то обстоятельство, что клипс может располагаться между обоими инструментами и участок кончика рукава укладывается между обоими зажимающими инструментами. В предпочтительно варианте, посредством совместного перемещения обоих зажимающих инструментов, по меньшей мере, один клипс располагается перед передвинутым при зажимающем движении зажимающим инструментом. Такое расположение клипса может иметь место предпочтительно во время образования участка кончика рукава, при котором посредством вытесняющего устройства упаковочная оболочка пережимается между двумя участками фасуемого материала. Также оба зажимающих инструмента могут еще дополнительно передвигаться синхронно с потоком продукта и параллельно потоку продукта, направление которого, в основном, перпендикулярно направлению зажимающего движения или в направлении продольной протяженности участка кончика рукава.
В предпочтительном варианте два клипса, предпочтительно одновременно, зажимаются вокруг участка кончика рукава. Предназначенные для зажима клипсы для осуществления зажимающего движения располагаются между двумя, не изображенными более подробно, вытесняющими устройствами, которые посредством пережима упаковочной оболочки служат для изготовления свободного от фасуемого материала участка кончика рукава.
Устройство для регулируемого зажима, по меньшей мере, одного клипса содержит для обоих зажимающих инструментов совместное, выполненное как инструмент для наложения клипсов, направляющее устройство, посредством которого зажимающие инструменты направляются перпендикулярно продольной протяженности участка кончика рукава. При этом один из обоих зажимающих инструментов проводится мимо участка кончика рукава так, что зажимающие инструменты оказываются расположенными с обеих сторон участка кончика рукава. Посредством направляющего устройства далее обеспечивается то обстоятельство, что проведенный мимо участка кончика рукава инструмент выравнивается с другим зажимающим инструментом для осуществления зажимающего движения. Это движение в выровненное положение является, предпочтительным образом, вращательным движением, причем, как уже разъяснено выше, вращательное движение может производиться вокруг оси вращения, перпендикулярной участку кончика рукава, или вокруг оси вращения, параллельной участку кончика рукава.
Направляющее устройство или инструмент для наложения клипсов в предпочтительном варианте также может передвигаться в направлении потока продукта, по меньшей мере, во время зажимающего движения, при котором соответствующий клипс зажимается вокруг участка кончика рукава.
Направляющее устройство может быть выполнено просто и может иметь, к примеру, форму стержня, в частности форму цилиндрического стержня, в частности стержня с формой кругового цилиндра. При этом только необходимая для осуществления зажимающего движения часть направляющего устройства может располагаться перед разделительной перегородкой и может передвигаться. Остальные части находятся за разделительной перегородкой. Предпочтительным образом изобретение используется для наполнения оболочки пищевыми продуктами, в частности, при изготовлении колбасных изделий.
Исполнение направляющего устройства или инструмента для наложения клипсов в форме стержня обеспечивает небольшой вес, наряду с компактными габаритами. Данный, выполненный, в частности цилиндрическим инструмент для наложения клипсов может, таким образом, быстро передвигаться. Также, помещенный в стержнеобразный корпус инструмент для наложения клипсов может легко очищаться. Также возможен простой контроль за клипсами, в частности, контроль достигнутого результата, и соответствующие реакции. Каждое движение, в частности зажимающее движение, может быть согласовано с соответствующим, предназначенным для обработки, продуктом. Прилагаемые усилия и проходимые пути при зажиме соответствующего клипса можно легко регулировать. Компоновка устройства невосприимчива в отношении допусков на материал и при изготовлении.
Далее, в предложенном на рассмотрение изобретении особенно предпочтительно, что разделение участка кончика рукава после зажима, по меньшей мере, одного клипса происходит посредством разделяющего ножа, который приводится в действие посредством электромотора, предпочтительно посредством двигателя с линейно-движущимся ротором. Благодаря этому, исключается использование возможных компрессорных установок, как это имеет место в уровне техники.
Чтобы иметь возможность обрабатывать посредством устройства в соответствии с изобретением или посредством цанги клипсов в соответствии с изобретением различные по величине клипсы, преимуществом является далее, когда головка цанги выполнена с возможностью замены. В частности, участок инструмента для наложения клипсов в соответствии с изобретением или цанги клипсов в соответствии с изобретением, который содержит, по меньшей мере, одну матрицу, а также, по меньшей мере, один штамп, может быть выполнен с возможностью замены. Различные головки цанг различаются при этом соответствующими различным величинам клипсов штампами и/или матрицами. Возможно также, чтобы части устройства загрузки клипсов, в частности выдвижной ящик для клипсов, были выполнены с возможностью замены. Далее, однако, возможно также, чтобы эти части были разработаны таким образом, что с их помощью была возможна обработка большего количества различных по величине клипсов.
Далее предусмотрено, что вращательное движение осуществляется вокруг перпендикулярной или параллельной продольной протяженности участка кончика рукава оси вращения.
Предпочтительно, что при зажимающем движении для осуществления зажима клипса оба зажимающих инструмента передвигаются друг на друга.
Дальнейшим преимуществом является то, что в процессе зажима передвинутый мимо участка кончика рукава зажимающий инструмент стационарно удерживается, а другой зажимающий инструмент надвигается на стационарно удерживаемый зажимающий инструмент.
Преимуществом является, когда при движении одного зажимающего инструмента мимо участка кончика рукава оба зажимающих инструмента совместно, на расстоянии друг от друга, проводятся в общем направлении движения.
Следует упомянуть, что перед совместным ведением обоих зажимающих инструментов, по меньшей мере, один клипс располагается перед передвинутым в процессе зажима зажимающим инструментом.
Далее следует заметить, что расположение клипса между зажимающими инструментами происходит во время образования участка кончика рукава.
Далее следует упомянуть, что два клипса зажимаются вокруг участка кончика рукава.
Предпочтительным является то, что проведенный мимо участка кончика рукава зажимающий инструмент выполнен с возможностью перемещения, посредством вращательного движения, в выровненное с другим зажимающим инструментом положение.
Кроме того, преимуществом является то, что вращательное движение происходит вокруг оси вращения, перпендикулярной продольной протяженности участка кончика рукава, или вокруг оси вращения, параллельной участку кончика рукава.
Следует упомянуть, что клипсы в устройстве подведения клипсов подведены к устройству разъединения клипсов в устройстве загрузки клипсов.
Дополнительным преимуществом является то, что несколько клипсов подведены в ряд в устройство подведения клипсов и по одиночке передвигаются из устройства подведения клипсов в перпендикулярно передвигаемое устройство подъема клипсов.
Далее следует упомянуть, что направления передвижения клипсов в устройстве подведения клипсов и в устройстве подъема клипсов проходят примерно перпендикулярно друг другу.
Предпочтительным является, если направление движения соответствующего клипса в устройстве подъема клипсов примерно перпендикулярно зажимающему движению зажимающего инструмента.
Кроме того, следует упомянуть, что в направляющем устройстве проведен далее разделяющий нож для разделения участка кончика рукава после зажима, по меньшей мере, одного клипса.
Предусмотрено, что направление движения разделяющего ножа проходит параллельно зажимающему движению одного зажимающего инструмента.
Далее предусмотрено, что направляющее устройство выполнено в форме стержня и что выполненный с возможностью проведения мимо участка кончика рукава зажимающий инструмент расположен на переднем конце стержня направляющего устройства.
Далее предпочтительно, что направляющее устройство образовано инструментом для наложения клипсов, который на переднем конце имеет выполненную с возможностью вращения вокруг проходящей перпендикулярно участку кончика рукава направляющую часть, на которой закреплен, по меньшей мере, один выполненный с возможностью проведения по участку кончика рукава зажимающий инструмент.
Следует упомянуть, кроме того, что, по меньшей мере, один зажимающий инструмент удерживается в губке инструмента на выполненной с возможностью вращения направляющей части, причем между губкой инструмента и остальной частью выполненной с возможностью вращения направляющей части предусмотрен предоставляющий возможность вращения вокруг оси вращения шлиц, который распространятся вокруг оси вращения.
Предусмотрено, что вращательное движение вокруг перпендикулярной участку кончика рукава оси вращения происходит внутри угловой зоны примерно в 90°.
Предусмотрено также, что выполненная с возможностью вращения направляющая часть имеет, в основном, форму полого цилиндра, внешний габарит которого согласован с формой корпуса инструмента для наложения клипсов.
На основании чертежей на примерах осуществления изобретение разъясняется еще более подробно.
Представлено:
Фиг.1 первый пример осуществления изобретения в первом рабочем положении;
Фиг.2 первый пример осуществления изобретения во втором рабочем положении;
Фиг.3 первый пример осуществления изобретения в третьем рабочем положении;
Фиг.4 изображение в разрезе первого примера осуществления изобретения в третьем рабочем положении;
Фиг.5 первый пример осуществления изобретения в четвертом рабочем положении;
Фиг.6 первый пример осуществления изобретения во взаимодействии с механизмом загрузки клипсов в первом рабочем положении подведения клипсов;
Фиг.7 представленный на Фиг.6 пример осуществления изобретения во втором положении подведения клипсов;
Фиг.8 второй пример осуществления изобретения в перспективном изображении на виде сбоку;
Фиг.9 третий пример осуществления изобретения;
Фиг.10 четвертый пример осуществления изобретения.
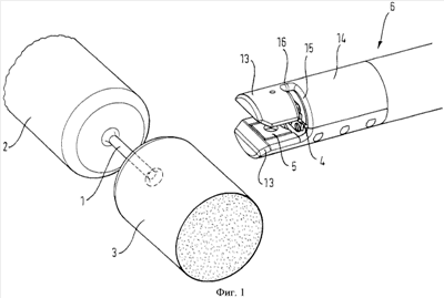
Представленные на чертежах примеры осуществления изобретения демонстрируют устройства или инструменты 6 для наложения клипсов для зажима, по меньшей мере, одного клипса 10 вокруг свободного от фасуемого материала участка 1 кончика рукава оболочки между двумя окруженными оболочкой участками 2, 3 фасуемого материала. Под фасуемым материалом может подразумеваться продовольственный товар, в частности колбасные изделия.
Представленные инструменты 6 для наложения клипсов содержат зажимающие инструменты 4, 5, посредством которых на этапе зажима соответствующий клипс 10 располагается вокруг участка 1 кончика рукава и зажимается. Зажимающие инструменты 4, 5 могут быть выполнены в виде штампа (зажимающий инструмент 4) и матрицы (зажимающий инструмент 5).
Оба зажимающих инструмента 4, 5 расположены в совместном, образованном инструментом 6 для наложения клипсов, направляющем устройстве, которое имеет корпус, в примере осуществления изобретения с Фиг.1-7 корпус, к примеру корпус в форме кругового цилиндра. Представленные на чертежах примеры осуществления инструмента 6 для наложения клипсов имеют продолговатую форму, в частности форму стержня.
Для зажима соответствующего клипса 10 вокруг участка 1 кончика рукава производится следующая последовательность этапов осуществления способа.
Не изображенные более детально вытесняющие устройства, которые синхронно перемещаются вместе с образованным посредством участков 2, 3 фасуемого материала потоком продукта, образуют известным образом, посредством вытеснения и разжима, последующий, свободный от фасуемого материала, участка 1 кончика рукава. Эти оба вытесняющие устройства находятся на обоих концах участка 1 кончика рукава. Во время наполнения оболочки и образования участка 1 кончика рукава посредством вытесняющих устройств инструмент 6 для наложения клипсов загружается одним или двумя клипсами 10, как еще будет детально разъяснено на основании Фиг.6 и 7.
К началу процесса зажима загруженный клипсами 10 инструмент 6 для наложения клипсов, который также образует совместное направляющее устройство для зажимающих инструментов 4, 5, передвигается из представленного на Фиг.1, отведенного назад, исходного положения, в основном, перпендикулярно протяженности участка 1 кончика рукава, пока зажимающий инструмент 5 или оба зажимающих инструмента 5 не окажутся передвинутыми мимо участка 1 кончика рукава на другую сторону участка кончика рукава. В представленных примерах осуществления изобретения проведенные мимо участка кончика рукава зажимающие инструменты 5 удерживаются в губках 13 инструмента. Эти губки 13 инструмента, как можно увидеть из Фиг.2, передвигаются совместно с зажимающими инструментами 5 из положения на Фиг.1 на другую сторону участка 1 кончика рукава. Зажимающие инструменты 4 остаются на исходной стороне. Таким образом, необходимые, соответственно, для осуществления процесса зажима зажимающие инструменты 4 и 5 располагаются с обеих сторон участка 1 кончика рукава.
Для приведения зажимающих инструментов 4 и 5 в выровненное соответствующим образом друг относительно друга положение, для осуществления последующего процесса зажима, в примере осуществления изобретения с Фиг.1-7 зажимающие инструменты 5, соответственно, вращаются или поворачиваются вокруг перпендикулярной участку 1 кончика рукава оси 7 вращения, а в вариантах осуществления с Фиг.8-10 вокруг оси 8 вращения, параллельной участку 1 кончика рукава, не изображенному на данных чертежах.
В примере осуществления изобретения с Фиг.1-7 после осуществления поворотного движения вокруг оси 7 вращения зажимающие инструменты 5 принимают на обеих губках 13 инструмента изображенное на Фиг.3 и 4 положение. Образующее инструмент 6 для наложения клипсов направляющее устройство имеет, к тому же, на переднем конце выполненную с возможностью вращения направляющую часть 14, на которой закреплены губки 13 инструмента. Эта выполненная с возможностью вращения направляющая часть 14 приведена в соответствие с цилиндрической формой остального корпуса и выполнена, в основном, в форме полого цилиндра. При сдвигании удерживаемых в губках инструмента зажимающих инструментов 5 (Фиг.2) они располагаются выше и ниже плоскости, в которой находится участок 1 кончика рукава. Губки 13 инструмента, а также удерживаемые в них зажимающие инструменты 5 находятся на расстоянии друг от друга, которое делает возможным беспрепятственное смещение зажимающих инструментов 5 мимо участка 1 кончика рукава при движении из представленного на Фиг.1 положения в положение, представленное на Фиг.2. Для осуществления возможности поворота зажимающих инструментов 5 из представленного на Фиг.2 положения в положение, представленное на Фиг.3 и 4, вокруг оси 7 вращения, между губками 13 инструмента и удерживаемыми в них зажимающими инструментами 5 и остальной частью, выполненной с возможностью вращения направляющей части 14, предусмотрен проходящий примерно по угловой зоне в 90° шлиц 15. Ширина шлица соразмерена таким образом, что края шлица при повороте могут беспрепятственно проводиться мимо участка 1 кончика рукава. Благодаря этому, создается возможность для поворота зажимающих инструментов из представленного на Фиг.2 положения в положение, представленное на Фиг.3 и 4. Этот поворот происходит примерно на угол 90°.
Посредством оставшихся соединительных перемычек губки 13 инструмента в представленном примере осуществления изобретения соединены в одно целое с остальной частью, выполненной с возможностью вращения направляющей части 14. Выполненная с возможностью вращения направляющая часть для приведения в соответствие с корпусом совместного направляющего устройства 6 или инструмента для наложения клипсов может быть выполнена в форме полого цилиндра.
Как, в частности, очевидно из Фиг.4, зажимающие инструменты 4 и 5 для последующего процесса зажима выровнены относительно друг друга, причем между зажимающими инструментами расположены участок 1 кончика рукава и сдвинутые своими полками над участком 1 кончика рукава клипсы 10.
Для безупречного позиционирования положения, в частности, соосно зажимающим инструментам 4 и 5, в инструменте 6 для наложения клипсов может быть предусмотрено фиксирующее устройство 12, которое выполнено, к примеру, в форме втулки.
Для зажима обоих клипсов 10 зажимающие инструменты 4, которые могут быть выполнены в виде штампа, передвигаются в направлении к зажимающим инструментам 5, которые могут быть выполнены в виде матрицы. При этом клипсы 10 сдвигаются вперед к зажимающим инструментам 5, и посредством поверхностей матрицы на зажимающих инструментах 5 сдвинутые над участком 1 кончика рукава полки клипсов 10 обвиваются вокруг участка 1 кончика рукава и зажимаются. Данный процесс зажима может производиться с регулировкой перемещения и/или с регулировкой усилия, и под контролем усилия зажима и/или высоты клипса.
После данного процесса зажима зажимающие инструменты 4 передвигаются назад, в свое исходное положение, и освобождают разъединенные участки кончика рукава. Выполненная с возможностью вращения направляющая часть 14 поворачивается обратно, совместно с зажимающими инструментами 5, в представленное на Фиг.2 положение. Направляющее устройство или инструмент 6 для наложения клипсов передвигается затем обратно из данного положения в представленное на Фиг.5 исходное положение, которое соответствует положению, представленному на Фиг.1. В случае, если не произошло отделения свободного от фасуемого материала участка 1 кончика рукава, зажимающие инструменты 5, вследствие зазора между ними, могут быть беспрепятственно отведены мимо участка 1 кончика рукава. В случае, если, как описано ранее, посредством разделяющего ножа 17 участок 1 кончика рукава разделяется на два участка, будет иметь место представленная на Фиг.5 рабочая ситуация. При таком позиционировании инструмента 6 для наложения клипсов происходит новая загрузка клипсами 10. Этот процесс поясняется на основании Фиг.6 и 7.
Для загрузки инструмента 6 для наложения клипсов служит устройство 25 загрузки клипсов, которое в исходном положении расположено ниже инструмента 6 для наложения клипсов. В устройстве 11 подведения клипсов клипсы в ряд, параллельно продольной протяженности инструмента 6 для наложения клипсов, подаются в механизм разъединения, который в примере осуществления изобретения выполнен как устройство 9 подъема клипсов. Устройство 9 подъема клипсов включает в себя подъемный элемент 18, который приводится в движение от приводного устройства 19 через кривошипно-шатунный механизм 20. Лежащий первым в ряду клипс захватывается подъемным элементом и передвигается в положение, которое находится перед зажимающим инструментом 4 (Фиг.7). Движение подачи или движение подъема подъемного элемента 18 перпендикулярно направлению подачи подведенных в ряду подъемного элемента 18 клипсов в устройстве 11 подведения клипсов. Из вышеописанного разъяснения выявляется тот факт, что для загрузки инструмента 6 для наложения клипсов клипсы подаются, соответственно, по одному. Для этого несколько клипсов 10 в ряду подаются в определенном направлении, в частности, параллельно продольной протяженности инструмента 6 для наложения клипсов, а во втором направлении движения передаются перпендикулярно этому направлению для загрузки инструмента 6, для наложения клипсов отдельными клипсами. При смене направления движения происходит разъединение клипсов.
В примерах осуществления изобретения на Фиг.8-10 зажимающие инструменты 5, которые, предпочтительным образом, выполнены в виде матриц, закреплены на выполненных с возможностью поворота вокруг осей 8 вращения губках 13 инструмента. Соответствующие оси 8 вращения проходят параллельно участку 1 кончика рукава. Представленные в данных вариантах осуществления изобретения инструменты 6 для наложения клипсов образуют также, как и в примере осуществления изобретения с Фиг.1, совместное направляющее устройство для зажимающих инструментов 4 и 5 при движении зажимающих инструментов 5 мимо участка 1 кончика рукава, так что они приводятся в соответствующее Фиг.2 положение. В примере осуществления изобретения с Фиг.8 обе губки 13 инструмента при таком движении находятся в изображенном открытом состоянии. В примере осуществления изобретения с Фиг.9 губка 13 инструмента находится в представленном на чертеже, открытом вниз, положении. В примере осуществления изобретения с Фиг.10 губка 13 инструмента находится при таком движении мимо участка 1 кончика рукава также в повернутом вниз движении, как она представлена на Фиг.9. Это достигается посредством того, что направляющие цапфы 21, которые предусмотрены на жестко соединенном с губкой 13 инструмента направляющем кронштейне 22, соответственно, находятся в соосном положении возле точек А и В изогнутых частей предусмотренного в направляющем листе 23 направляющего шлица 24. В представленном примере осуществления изобретения с обеих сторон направляющего кронштейна 22 предусмотрены соответствующие направляющие листы 23. Посредством комбинированного движения, которое совершают направляющие цапфы 21 в направляющем шлице 24, в частности, в обеих изогнутых зонах шлица, определяется поворотное движение. Из соответствующего Фиг.2 положения губки 13 инструмента с закрепленными на них зажимающими инструментами 5 поворачиваются затем вокруг соответствующих осей 8 вращения, так что оказываются выровненными с зажимающими инструментами 4. Это положение соответствует представленному на Фиг.3 и 4 положению первого примера осуществления изобретения. Как показано в примере осуществления изобретения с Фиг.8, для данного поворотного движения предусмотрен приводной механизм и расположенная между губками 13 инструмента трансмиссия, которая переводит приводное движение в соответствующее поворотное движение. Затем зажимающие инструменты 4, перед которыми расположены клипсы, передвигаются на зажимающие инструменты 5, чтобы, как разъясняется на основании Фиг.4 в первом примере осуществления изобретения, зажать оба клипса вокруг участка 1 кончика рукава. Затем соответствующий инструмент 6 для наложения клипсов передвигается обратно в исходное положение.
В предпочтительном варианте необходимая для зажима клипса передняя часть инструмента для наложения клипсов может выступать за разделительную перегородку. В результате этого может производиться упрощенная очистка находящейся в рабочей зоне, в частности в зоне скопления влаги, части инструмента 6 для наложения клипсов. Остальные сопряженные части, которые служат для управления движением инструмента 6 для наложения клипсов, а также механизм загрузки клипсов и другие устройства управления движением находятся за разделительной перегородкой.
Для осуществления совместного движения инструмента 6 для наложения клипсов с потоком продукта в разделительной перегородке может быть предусмотрен шлиц, который проходит параллельно направлению движения потока продукта, в котором инструмент для наложения клипсов может синхронно перемещаться совместно с потоком продукта. Это движение происходит примерно в направлении продольной протяженности участка 1 кончика рукава.
ЛИСТ ОБОЗНАЧЕНИЙ
| 1 |
свободный от фасуемого материала участок кончика рукава |
| 2, 3 |
участки фасуемого материала |
| 4, 5 |
зажимающие инструменты (штамп, матрица) |
| 6 |
инструмент для наложения клипсов (совместное направляющее устройство) |
| 7 |
ось вращения, перпендикулярная участку кончика рукава |
| 8 |
ось вращения, параллельная участку кончика рукава |
| 9 |
устройство подъема клипсов |
| 10 |
клипс |
| 11 |
устройство подведения клипсов |
| 12 |
фиксирующее устройство |
| 13 |
губки инструмента |
| 14 |
выполненная с возможностью вращения направляющая часть |
| 15 |
шлиц |
| 16 |
соединительные перемычки |
| 17 |
разделяющий нож |
| 18 |
подъемный элемент |
| 19 |
приводное устройство |
| 20 |
кривошипно-шатунный механизм |
| 21 |
направляющие цапфы |
| 22 |
направляющий кронштейн |
| 23 |
направляющий лист |
| 24 |
направляющий шлиц |
| 25 |
устройство загрузки клипсов |
Формула изобретения
1. Способ регулируемого зажима, по меньшей мере, одного клипса вокруг свободного от фасуемого материала участка кончика рукава оболочки между двумя окруженными оболочкой участками фасуемого материала, при котором, по меньшей мере, один клипс, охватывающий участок кончика рукава, посредством двух регулируемо-передвигаемых зажимающих инструментов зажимают вокруг участка кончика рукава, отличающийся тем, что один зажимающий инструмент проводится от одной стороны участка кончика рукава, перпендикулярно продольной протяженности участка кончика рукава, мимо участка кончика рукава на другую сторону участка кончика рукава, и затем оба зажимающих инструмента приводят в выровненное относительно друг друга положение для последующего зажима клипса вокруг участка кончика рукава.
2. Способ по п.1, отличающийся тем, что передвинутый мимо участка кончика рукава зажимающий инструмент передвигают в направлении к другому стационарно удерживаемому зажимающему инструменту в выровненное относительно друг друга положение.
3. Способ по п.1 или 2, отличающийся тем, что передвинутый мимо участка кончика рукава зажимающий инструмент посредством вращательного движения приводят в выровненное относительно друг друга положение.
4. Способ по п.1 или 2, отличающийся тем, что клипс передвигают в перпендикулярном направлению зажимающего движения направлении загрузки между обоими зажимающими инструментами.
5. Способ по п.4, отличающийся тем, что клипс располагают перед передвинутым в процессе зажима зажимающим инструментом.
6. Способ по п.1, отличающийся тем, что несколько клипсов перед движением загрузки, при котором, соответственно, клипс передвигается между обоими зажимающими инструментами, направляют почти перпендикулярно направлению движения загрузки.
7. Устройство для регулируемого зажима, по меньшей мере, одного клипса вокруг свободного от фасуемого материала участка (1) кончика рукава оболочки между двумя окруженными оболочкой участками (2, 3) фасуемого материала, с двумя регулируемо-передвигаемыми зажимающими инструментами (4, 5), которые в процессе зажима должны располагаться с обеих сторон участка (1) кончика рукава, отличающееся тем, что оба зажимающих инструмента (4, 5) содержат совместное направляющее устройство, посредством которого зажимающие инструменты (4, 5) направлены с возможностью перемещения перпендикулярно к продольной протяженности участка (1) кончика рукава, причем для расположения зажимающих инструментов (4, 5) с обеих сторон участка (1) кончика рукава один из обоих зажимающих инструментов (4, 5) должен быть проведен мимо участка кончика рукава и, для осуществления процесса зажима, передвинут в выровненное по отношению к другому зажимающему инструменту положение.
8. Устройство по п.7, отличающееся тем, что при зажимающем движении передвинутый мимо участка (1) кончика рукава зажимающий инструмент (5) стационарно удерживается в направляющем устройстве, а другой зажимающий инструмент (4) передвинут в направляющем устройстве.
9. Устройство по п.7 или 8, отличающееся тем, что предусмотрено устройство (25) загрузки клипсов, которое приводит соответствующий клипс (10) в предусмотренное для осуществления процесса зажима положение готовности.
10. Устройство по п.7 или 8, отличающееся тем, что направляющее устройство имеет направленное параллельно зажимающему движению фиксирующее устройство (12), посредством которого участок (1) кончика рукава может фиксироваться относительно направляющего устройства.
РИСУНКИ
|
|