|
|
(21), (22) Заявка: 2007148971/11, 28.04.2006
(24) Дата начала отсчета срока действия патента:
28.04.2006
(30) Конвенционный приоритет:
31.05.2005 US 11/141,246
(43) Дата публикации заявки: 10.07.2009
(46) Опубликовано: 20.08.2010
(56) Список документов, цитированных в отчете о поиске:
US 2328786 А, 07.09.1943. US 4478379 А, 23.10.1984. US 2005236518 A1, 27.10.2005. US 2397632 A, 02.04.1946. US 3149803 A, 22.09.1964. SU 304183 A1, 25.05.1971. RU 2025409 C1, 30.12.1994.
(85) Дата перевода заявки PCT на национальную фазу:
25.12.2007
(86) Заявка PCT:
US 2006/016401 20060428
(87) Публикация PCT:
WO 2006/130287 20061207
Адрес для переписки:
129090, Москва, ул. Б.Спасская, 25, стр.3, ООО “Юридическая фирма Городисский и Партнеры”, пат.пов. Ю.Д.Кузнецову, рег. 595
|
(72) Автор(ы):
БЕРТОЛОТТИ Фабио П. (US)
(73) Патентообладатель(и):
СИКОРСКИ ЭРКРАФТ КОРПОРЕЙШН (US)
|
(54) СИСТЕМА ОБТЕКАТЕЛЕЙ ВТУЛОК НЕСУЩИХ ВИНТОВ ДЛЯ СИСТЕМЫ СООСНЫХ НЕСУЩИХ ВИНТОВ ПРОТИВОВРАЩЕНИЯ
(57) Реферат:
Изобретения относятся к системе обтекателей втулок несущих винтов, а более конкретно к объединенному обтекателю втулок несущих винтов. Система по первому варианту содержит обтекатель верхней втулки, обтекатель нижней втулки и обтекатель вала между обтекателем верхней втулки и обтекателем нижней втулки. Обтекатель вала определяет аэродинамический профиль, имеющий профилированный средний участок для снижения лобового сопротивления в системе соосных несущих винтов. Обтекатель верхней втулки и обтекатель нижней втулки выполнены с возможностью вращения относительно упомянутого обтекателя вала. Согласно второму варианту система содержит обтекатель вала, определяющий хорду обтекателя вала между его передней кромкой и задней кромкой. Обтекатель вала определяет отношение (c/D) хорды обтекателя вала к диаметру обтекателей втулок в диапазоне между 0,9D и 1,25D. Согласно третьему варианту система соосных несущих винтов, содержит систему верхнего несущего винта, включающую в себя втулку верхнего несущего винта, обтекатель верхней втулки, который, по меньшей мере, частично окружает часть втулки верхнего несущего винта, систему нижнего несущего винта, включающую в себя втулку нижнего несущего винта, обтекатель нижней втулки, который, по меньшей мере, частично окружает часть втулки нижнего несущего винта, и обтекатель вала между обтекателем верхней втулки и обтекателем нижней втулки. Обтекатель вала имеет вертикальную ось тангажа, в основном параллельную упомянутой оси вращения. Достигается снижение лобового сопротивления в системе соосных несущих винтов. 3 н. и 19 з.п. ф-лы, 4 ил.
Предпосылки создания изобретения
Настоящее изобретение относится к системе обтекателей втулок несущих винтов, а более конкретно, к объединенному обтекателю втулок несущих винтов, размеры и конфигурация которого обеспечивают уменьшение общего лобового сопротивления в системе соосных несущих винтов противовращения высокоскоростного винтокрылого летательного аппарата.
Как правило, аэродинамическое лобовое сопротивление, связанное с втулкой несущего винта на винтокрылом летательном аппарате, представляет собой значительную часть общего лобового сопротивления летательного аппарата, в типичном случае составляя от 25% до 30% для обычных одновинтовых вертолетов. Лобовое сопротивление системы несущих винтов значительно возрастает в случае винтокрылого летательного аппарата, имеющего систему соосных несущих винтов противовращения, главным образом, за счет дополнительной втулки несущего винта и соединительного вала между системами верхнего и нижнего несущих винтов. В случае высокоскоростного винтокрылого летательного аппарата повышенное лобовое сопротивление из-за системы соосных несущих винтов противовращения может привести к относительно значительной потере мощности.
Аэродинамическое лобовое сопротивление системы двух соосных несущих винтов противовращения создается тремя основными компонентами: верхней втулкой, нижней втулкой и узлом соединительного вала несущих винтов. Вклад в это лобовое сопротивление каждой из втулок может составлять приблизительно 40%, а узла соединительного вала – 20%.
Поэтому желательно разработать уменьшающую лобовое сопротивление систему обтекателя втулок несущих винтов для винтокрылого летательного аппарата, имеющего систему соосных несущих винтов противовращения.
Краткое изложение сущности изобретения
Система обтекателей втулок несущих винтов для системы двух соосных несущих винтов противовращения в соответствии с настоящим изобретением включает в себя обтекатель верхней втулки, обтекатель нижней втулки и обтекатель вала, расположенный между ними. Размеры и конфигурация этой системы обтекателей втулок несущих винтов обеспечивают уменьшение общего лобового сопротивления в системе несущих винтов. Система обтекателей втулок несущих винтов предпочтительно является объединенной системой, особенности которой выявляются посредством анализа и/или тестирования с целью снижения общего лобового сопротивления. Обтекатель втулки несущего винта рассматривается как система для снижения лобового сопротивления, а не как средство снижения лобового сопротивления за счет отдельных компонентов. Система обтекателей втулок несущих винтов снижает лобовое сопротивление путем минимизации избыточного срыва в областях стыков поверхностей. Кроме того, за счет введения объединенной конструкции лобовое сопротивление снижают с учетом помехообразующих эффектов и оптимальных поверхностных распределений для каждой конфигурации системы несущих винтов. Использование зализов на пересекающихся поверхностях дополнительно снижает общее лобовое сопротивление.
Обтекатель вала предпочтительно предусматривает минимальную толщину на среднем участке обтекателя вала. Внешние участки обтекателя вала на каждой стороне среднего участка обтекателя вала, находящиеся рядом с обтекателями верхней и нижней втулок, ограничивают толщину, которая больше, чем на среднем участке обтекателя вала. Минимизация толщины среднего участка снижает лобовое сопротивление, а увеличение толщины на внешних участках обтекателя вала уменьшает срыв потока на поверхностях обтекателей втулок.
В соответствии с другим вариантом осуществления настоящего изобретения, система обтекателей втулок несущих винтов может включать в себя горизонтальный крыловидный разделительный аэродинамический профиль, который проходит от обтекателя вала, предпочтительно, на среднем участке. Разделительный аэродинамический профиль предусматривает форму аэродинамического профиля, которая снижает лобовое сопротивление и чувствительность к изменениям угла атаки. Форма аэродинамического профиля может предусматривать постоянный или корректируемый угол атаки специально для того, чтобы направлять спутную струю втулок несущих винтов в направлении, которое снижает вибрацию корпуса и хвоста летательного аппарата.
В соответствии с еще одним вариантом осуществления настоящего изобретения, система обтекателей втулок несущих винтов может включать в себя множество поворотных лопаток, которые облегчают обтекание задних концов обтекателей верхней и нижней втулок с целью снижения срыва потока и лобового сопротивления. Система обтекателей втулок несущих винтов может включать в себя множество поворотных лопаток, находящихся рядом с нижней втулкой, множество поворотных лопаток, находящихся рядом с верхней втулкой, или любое их сочетание. Верхняя поворотная лопатка может находиться рядом с обтекателем верхней втулки и включает в себя выпуклость, которая предпочтительно следует контуру обтекателя верхней втулки, а нижняя спрямляющая лопатка может находиться рядом с обтекателем нижней втулки и предпочтительно включает в себя выпуклость, которая следует контуру обтекателя нижней втулки.
Следовательно, в настоящем изобретении предложена снижающая лобовое сопротивление система обтекателей втулок несущих винтов для винтокрылого летательного аппарата, имеющего систему соосных несущих винтов противовращения.
Краткое описание чертежей
Различные признаки и преимущества этого изобретения очевидны для специалистов в данной области техники из нижеследующего подробного описания предпочтительного варианта осуществления. Ниже приводится краткое описание чертежей, прилагаемых к подробному описанию.
Фиг.1А-1В – общий схематический вид возможного варианта осуществления винтокрылого летательного аппарата, предназначенного для использования с настоящим изобретением.
Фиг.1С – вид сбоку объединенной системы обтекателей втулок несущих винтов, выполненной в соответствии с настоящим изобретением.
Фиг.1D – сечение на виде сбоку объединенной системы обтекателей втулок несущих винтов, проведенное вдоль линии D-D на фиг.1С.
Фиг.1Е – частично показанный пунктирными линиями вид сбоку объединенной системы обтекателей втулок несущих винтов, выполненной в соответствии с настоящим изобретением.
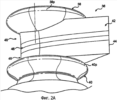
Фиг.2А – перспективное изображение сзади под острым углом объединенной системы обтекателей втулок несущих винтов.
Фиг.2В – перспективное изображение сзади объединенной системы обтекателей втулок несущих винтов.
Фиг.2С – схематическое изображение формы аэродинамических профилей, используемых вместе с обтекателем вала, объединенной системы обтекателей втулок несущих винтов согласно фиг.2А.
Фиг.2D – расчетная эпюра суммарного давления, полученная с помощью системы обтекателей втулок несущих винтов согласно фиг.2А.
Фиг.3А – перспективное изображение сверху под острым углом еще одной объединенной системы обтекателей втулок несущих винтов с разделительным аэродинамическим профилем.
Фиг.3В – вид сбоку объединенной системы обтекателей втулок несущих винтов согласно фиг.3А.
Фиг.3С – вид спереди объединенной системы обтекателей втулок несущих винтов согласно фиг.3А.
Фиг.3D – вид сзади объединенной системы обтекателей втулок несущих винтов согласно фиг.3А.
Фиг.3Е – расчетная эпюра суммарного давления, полученная с помощью системы обтекателей втулок несущих винтов согласно фиг.3А.
Фиг.4А – перспективное изображение сзади под острым углом еще одной объединенной системы обтекателей втулок несущих винтов с множеством поворотных лопаток.
Фиг.4В – перспективное изображение снизу под острым углом объединенной системы обтекателей втулок несущих винтов согласно фиг.4А.
Фиг.4С – перспективный вид сзади объединенной системы обтекателей втулок несущих винтов согласно фиг.4А.
Фиг.4D – вид сверху объединенной системы обтекателей втулок несущих винтов согласно фиг.4А со снятым обтекателем верхней втулки; и
Фиг.4Е – расчетная эпюра суммарного давления, полученная с помощью системы обтекателей втулок несущих винтов согласно фиг.4А.
Подробное описание предпочтительного варианта осуществления
На фиг.1А и 1В показан пример высокоскоростного винтокрылого летательного аппарата 10 вертикального взлета и посадки (ВВиП), имеющего систему 12 двух соосных несущих винтов противовращения. Летательный аппарат 10 включает в себя планер 14, который несет систему 12 двух соосных несущих винтов противовращения, а также систему 30 поступательной тяги, которая обеспечивает поступательную тягу, в основном, параллельно продольной оси L летательного аппарата. Хотя в описываемом варианте осуществления показана конкретная конфигурация летательного аппарата, преимущества от применения настоящего изобретения можно получить также в других машинах.
Система 12 двух соосных несущих винтов противовращения включает в себя систему 16 верхнего несущего винта и систему 18 нижнего несущего винта. Каждая система 16, 18 несущего винта включает в себя множество лопастей 20 несущего винта, установленных на втулку 22, 24, для вращения вокруг оси А вращения несущего винта. Множество лопастей 20 основного несущего винта выступает, по существу, радиально наружу из узлов 22, 24 втулок и соединено с ними любым способом, известным специалисту в данной области техники (это схематически показано и обозначено позицией 21). В системе 12 несущих винтов можно использовать любое количество лопастей 20.
Система 12 несущих винтов приводится в движение с помощью основного редуктора 26, который может находиться над кабиной 28 пилотов летательного аппарата. Устанавливаемая при необходимости система 30 поступательной тяги может приводиться в движение тем же самым основным редуктором 26, который приводит в движение системы 16, 18 несущих винтов. Привод основного редуктора 26 осуществляется одним или несколькими двигателями (условно обозначенными позицией Е; показаны два из них). Как показано на чертеже, редуктор 26 может располагаться между одним или несколькими газотурбинными двигателями Е, системой 12 несущих винтов и системой 30 поступательной тяги.
Система 30 поступательной тяги может быть установлена в заднюю часть корпуса 14, а ось Т вращения при этом оказывается ориентированной, по существу, горизонтально и параллельно продольной оси L летательного аппарата, обеспечивая тягу для высокоскоростного полета. Система 30 поступательной тяги предпочтительно включает в себя толкающий воздушный винт 32, установленный внутри аэродинамического капота 34.
Обращаясь к фиг.1В, следует отметить, что система 12 несущих винтов включает в себя систему 36 обтекателей втулок несущих винтов, расположенную в основном между системами 16, 18 верхнего и нижнего несущих винтов и вокруг этих систем, так что втулки 22, 24 несущих винтов могут быть, по меньшей мере, частично заключены в упомянутой системе обтекателей. Заявитель обнаружил, что над аэродинамическим лобовым сопротивлением, действующим на систему 12 соосных несущих винтов противоположного вращения, может доминировать лобовое сопротивление, обусловленное давлением и возникающее в результате широкомасштабного срыва потока, при этом лобовое сопротивление, обусловленное трением оболочки, может вносить вклад, составляющий примерно 10% суммарного аэродинамического лобового сопротивления. Система 36 обтекателей втулок несущих винтов достигает значительного снижения лобового сопротивления, при котором происходит существенное уменьшение широкомасштабного срыва потока.
Система 36 обтекателей втулок несущих винтов в общем случае включает в себя обтекатель 38 верхней втулки, обтекатель 40 нижней втулки и обтекатель 42 вала, расположенный между ними. В предпочтительном варианте система 36 обтекателей втулок несущих винтов выполнена объединенной для уменьшения помехообразующих эффектов между отдельными обтекателями 38, 40, 42 и устранения последующего срыва в областях стыков (фиг.1С и 1D). В том смысле, в каком термин «объединенная» употребляется в данном описании, он означает, что обтекатель 42 вала в основном следует контурам обтекателя 38 верхней втулки и обтекателя 40 нижней втулки на разделяющей их поверхности вращения, находящейся между ними. Система 36 обтекателей втулок несущих винтов дополнительно снижает лобовое сопротивление с учетом помехообразующих эффектов, оптимизируя поверхностные распределения для конкретной движительной системы. Кроме того, можно использовать детально проработанные модификации пересекающихся поверхностей, включающих в себя зализы, и модифицированные формы поверхностей раздела, чтобы дополнительно оптимизировать снижение лобового сопротивления.
Обращаясь к фиг.1Е, следует отметить, что обтекатель 42 вала предпочтительно крепится к системе 12 соосных несущих винтов противовращения посредством подшипниковой конструкции 43U, 43L (изображенной условно) таким образом, что обтекатель 42 вала может свободно ориентироваться по ветру. В предпочтительном варианте верхний и нижний подшипники 43U, 43L расположены рядом с верхней и нижней частями обтекателя 42 вала. Верхний подшипник 43U крепится к валу 12U одного несущего винта, а нижний подшипник 43L крепится к валу 12L другого несущего винта, так что подшипники вращаются в противоположных направлениях, а общее сопротивление подшипников относительно мало, облегчая ориентацию обтекателя 42 вала по ветру.
Обращаясь к фиг.2А, следует отметить, что здесь показан один вариант осуществления системы 36 обтекателей втулок несущих винтов. Система 36 обтекателей втулок несущих винтов предпочтительно включает в себя обтекатель 42 вала, который имеет распределение толщины между обтекателями 38, 40 втулок верхнего и нижнего несущих винтов с минимальной толщиной на среднем участке 46 обтекателя вала, так что обтекатель 42 вала имеет форму, приблизительно похожую на песочные часы (фиг.2В). Внешние участки 48 обтекателя вала рядом с на каждой стороне среднего участка обтекателя вала, находящиеся рядом с верхней и нижней втулками 38, 40, определяют толщину, которая больше, чем на среднем участке 46 обтекателя вала (это также схематически проиллюстрировано на фиг.2С). Снижение толщины на среднем участке 46 обтекателя вала снижает лобовое сопротивление, а увеличение толщины на внешних участках 48 обтекателя вала уменьшает срыв потока на обтекателях 38, 40 верхней и нижней втулок, не создавая при этом чересчур избыточное лобовое сопротивление в системе 36 обтекателей втулок, причем это делается за счет уменьшения распространения срыва потока (как показано отображенной пунктирными линиями областью на фиг.2D). Для специалиста в данной области техники очевидным является, что можно предусмотреть для обтекателя вала другие формы, отличные от формы песочных часов, и они тоже окажутся в рамках объема охраны по данному варианту осуществления. В предпочтительном варианте, как уже было раскрыто, обтекатель 42 вала выполнен как единое целое с обтекателем 38 верхней втулки и обтекателем 40 нижней втулки для дополнительного снижения общего лобового сопротивления.
Обтекатель 42 вала может также включать в себя заднюю кромку 44, которая выходит за периферийные поверхности 38р, 40р, ограниченные обтекателем 38 верхней втулки и обтекателем 40 нижней втулки, что существенно снижает лобовое сопротивление, обусловленное давлением. Следует отметить, что хотя обтекатель 42 вала может создавать прирост лобового сопротивления, обусловленного трением обшивки, ввиду увеличения площади поверхности, сниженное лобовое сопротивление, обусловленное давлением, приводит к значительному снижению общего лобового сопротивления. Что касается отношения (с/D) хорды обтекателя вала к диаметру обтекателей втулок несущих винтов, то обтекатель 42 вала определяет предпочтительный диапазон длин хорды обтекателя вала между с=0,90·D и с=1,25·D, а в наиболее предпочтительном варианте – между 110% и 120% диаметра (D) обтекателей втулок несущих винтов. Если ось (Р) тангажа (фиг.2С) расположена в месте нахождения четвертной хорды (с/4), то длину (L) обтекателя вала между периферийными поверхностями 38р, 40р можно определить посредством уравнения:
L=(0,75·(c/D)-0,5)·D.
Как показано на фиг.2С, обтекатель 42 вала предпочтительно определяет формы аэродинамического профиля, соответствующие серийным профилям стандартов NACA 0028 и NACA 0042, вдоль среднего участка 46 обтекателя вала и внешних участков 48 обтекателя вала, соответственно. В предпочтительном варианте выражаемая в процентах толщина обтекателя 42 вала, т.е. выражаемое в процентах отношение толщины к длине хорды составляет 24% на среднем участке 46 обтекателя вала и 42% на его внешнем участке 48. Следует понять, что с настоящим изобретением можно использовать и другие формы аэродинамических профилей.
В предпочтительном варианте обтекатель 42 вала предусматривает симметричное распределение толщины сзади, что снижает лобовое сопротивление, обусловленное давлением, на обтекателях 38, 40 верхней и нижней втулок. В наиболее предпочтительном варианте обтекатель 42 вала обуславливает расположение оси Р тангажа в месте нахождения четвертной хорды (с/4). Ось Р тангажа предпочтительно сосна с осью А вращения несущих винтов.
За счет выполнения системы 36 обтекателей втулок несущих винтов как единого целого, оптимизации помех между обтекателем 42 вала, обтекателем 38 верхней втулки и обтекателем 40 нижней втулки, модификации контура и формы аэродинамического профиля обтекателя 42 вала заявителю удалось реализовать общее снижение лобового сопротивления, составляющее 54% относительно ранее известных обтекателей втулок, и снижение, составляющее 68% относительно системы втулок несущих винтов без обтекателей (т.е. оголенных). Заявителю также удалось снизить лобовое сопротивление в крайних сверху зонах системы 12 несущих винтов, т.е. на обтекателе 38 верхней втулки и обтекателе 42 вала, приблизительно на 66% относительно ранее известных обтекателей втулок и примерно на 74% относительно оголенной втулки.
Как показано на фиг.3А, еще одна система 36А обтекателей втулок несущих винтов в общем случае включает в себя обтекатель 38А верхней втулки, обтекатель 40А нижней втулки и обтекатель 42А вала, подсоединенный между ними. Система 36А обтекателей втулок несущих винтов дополнительно включает в себя горизонтальный крыловидный разделительный аэродинамический профиль 50, который выступает от обтекателя 42А вала.
Разделительный аэродинамический профиль 50 предпочтительно выступает от обтекателя 42А вала между обтекателями 38А, 40А верхней и нижней втулок. Разделительный аэродинамический профиль 50 определяет ось 52 тангажа, которая в основном поперечна оси А вращения несущих винтов. Очевидным является, что можно дополнительно использовать профилированный средний участок 46 обтекателя вала, описанный со ссылкой на вариант осуществления по фиг.2. Кроме того, как было раскрыто выше, обтекатель 42А вала можно объединить с обтекателем 38А верхней втулки и обтекателем 40А нижней втулки для дополнительного снижения общего лобового сопротивления. Разделительный аэродинамический профиль 50 также может быть выполнен как единое целое с обтекателем 42А вала.
В предпочтительном варианте разделительный аэродинамический профиль 50 включает в себя аэродинамический профиль, который снижает лобовое сопротивление и чувствительность к изменениям угла атаки, появление которых ожидается ниже системы 36А обтекателей втулок несущих винтов. Разделительный аэродинамический профиль 50 предпочтительно определяет пиковую толщину около задней периферийной поверхности обтекателей 38А, 40А втулок несущих винтов (фиг.3В). То есть, разделительный аэродинамический профиль 50 предусматривает форму аэродинамического профиля, которая имеет максимальную толщину около половинной хорды. Разделительный аэродинамический профиль 50 также может включать в себя заднюю кромку 54 разделительного аэродинамического профиля, которая проходит позади задней кромки 44А обтекателя вала.
Форма аэродинамического профиля, присущая разделительному аэродинамическому профилю 50, предпочтительно выполнена в соответствии с контурами обтекателей 38А, 40А верхней и нижней втулок. Разделительный аэродинамический профиль 50 также может иметь в окружном направлении контур, приблизительно соответствующий периферийным поверхностям 38Ар, 40Ар обтекателей втулок несущих винтов (фиг.3С и 3D). Концы 55 законцовок разделительного аэродинамического профиля выровнены близко к свободному потоку относительно периферийных поверхностей 38Ар, 40Ар обтекателей втулок несущих винтов, вследствие чего общее сопротивление кромок снижается. То есть, разделительный аэродинамический профиль 50 не выходит на значительное расстояние за периферийные поверхности 38Ар, 40Ар обтекателей верхней и нижней втулок.
Разделительному аэродинамическому профилю 50 можно придать размеры и конфигурацию, обеспечивающие направление траектории спутной струи, создаваемой системой 36А обтекателей втулок несущих винтов, путем конкретного задания угла атаки разделительного аэродинамического профиля 50. Форма аэродинамического профиля, присущая разделительному аэродинамическому профилю 50, облегчает достижение постоянного или корректируемого угла атаки специально для того, чтобы направлять спутную струю втулок несущих винтов в направлении, при котором снижается вибрация корпуса 14 и хвоста летательного аппарата. В предпочтительном варианте разделительный аэродинамический профиль 50 наклонен под определенным углом атаки вдоль оси 52 тангажа (фиг.3В) относительно продольной оси L летательного аппарата (фиг.1А). В альтернативном или дополнительном варианте можно предусмотреть разделительный аэродинамический профиль 50, выполненный с возможностью активного поворота относительно оси 52 тангажа в соответствии с конкретными режимами полета.
Разделительный аэродинамический профиль 50 уменьшает эффективную площадь и увеличивает воздушный поток по задней части системы 36А обтекателей втулок несущих винтов рядом с обтекателем 38А верхней втулки и обтекателем 40А нижней втулки, уменьшая отрыв потока. Разделительный аэродинамический профиль 50 также уменьшает эффективную скорость диффузии потока, что уменьшает потери на срыв потока на обтекателях 38А, 40А верхней и нижней втулок (фиг.3Е). Очевидным является, что место нахождения, размеры, расположение и очертания формы в плане разделительного аэродинамического профиля 50 предпочтительно оптимизированы, чтобы уменьшить срыв потока на обтекателях 38А, 40А верхней и нижней втулок, вследствие чего достигается снижение общего лобового сопротивления. Разделительный аэродинамический профиль 50 также можно использовать в сочетании с другими конструкциями обтекателя вала и зализами для снижения общего лобового сопротивления.
Как показано на фиг.4А, еще одна система 36В обтекателей втулок несущих винтов в общем случае включает в себя обтекатель 38В верхней втулки, обтекатель 40В нижней втулки и обтекатель 42В вала, расположенный между ними. Система 36В обтекателей втулок несущих винтов дополнительно включает в себя множество поворотных лопаток 60U, 60L, которые выступают от обтекателя 42В вала рядом с задней кромкой 44В обтекателя 42В вала. Поворотные лопатки 60U, 60L предпочтительно выступают от внешних участков 48В обтекателя вала, присущих обтекателю 42В вала. То есть, верхняя поворотная лопатка 60U и нижняя поворотная лопатка 60L соответственно отклонены к обтекателю 38В верхней втулки и обтекателю 40В нижней втулки. Очевидным является, что хотя настоящее изобретение описано применительно к наличию множества верхних поворотных лопаток 60U и множества нижних поворотных лопаток 60L, это не является обязательным признаком, и система 36В обтекателей втулок несущих винтов может включать в себя единственную пару верхних поворотных лопаток 60U или единственную пару нижних поворотных лопаток 60L. Кроме того, система 36В обтекателей втулок несущих винтов может включать в себя профилированный средний участок 46 обтекателя вала, описанного применительно к варианту осуществления по фиг.2. Помимо этого, как указывалось ранее, обтекатель 42В вала может быть выполнен как единое целое с обтекателем 38B верхней втулки и обтекателем 40B нижней втулки для дополнительного снижения общего лобового сопротивления. Кроме того, поворотные лопатки 60U, 60L также могут быть выполнены как единое целое с обтекателем 42В вала.
Поворотные лопатки 60U, 60L предпочтительно профилированы с учетом контуров обтекателей 38В, 40В верхней и нижней втулок. Верхняя поворотная лопатка 60U может находиться рядом с обтекателем 38В верхней втулки и предпочтительно включает в себя выпуклость, которая следует контуру обтекателя 38В верхней втулки, а нижняя поворотная лопатка 60L может находиться рядом с обтекателем 40В нижней втулки и предпочтительно включает в себя выпуклость, которая следует контуру обтекателя 40В нижней втулки (фиг.4В и 4С). Поворотные лопатки 60U, 60L также предпочтительно имеют в окружном направлении контур, приблизительно соответствующий периферийным поверхностям 38Вр, 40Вр обтекателей втулок несущих винтов (фиг.4D), и предпочтительно включают в себя дугообразную заднюю кромку 62, которая следует периферийным поверхностям 38Вр, 40Вр обтекателей втулок несущих винтов. Концы 64 законцовок поворотных лопаток предпочтительно выровнены близко к воздушному потоку относительно периферийным поверхностям 38Вр, 40Вр обтекателей втулок несущих винтов (фиг.4D), вследствие чего общее сопротивление кромок снижается. То есть, поворотные лопатки 60U, 60L прикреплены к периферийным поверхностям 38Вр, 40Вр обтекателей верхней и нижней втулок и не выходят на значительное расстояние за эту периферию, что приводит к выравниванию концов 64 законцовок параллельно свободному воздушному потоку (фиг.4С).
Верхние и нижние поворотные лопатки 60U, 60L могут иметь асимметричные формы аэродинамических профилей, которые являются зеркальными отражениями друг друга. Поворотные лопатки 60U, 60L ориентированы таким образом, что поверхность аэродинамического контура, ближайшая к соответствующей поверхности обтекателя втулки, приблизительно следует поверхности на обтекателе втулки в направлении свободного воздушного потока, обеспечивая некоторое расширение зоны по направлению к задней кромке 62 поворотной лопатки. Зона между поворотными лопатками 60U, 60L и внутренней поверхностью соответствующих обтекателей 38В, 40В верхней и нижней втулок постепенно увеличивается во избежание избыточной диффузии и срыва потока.
Поворотные лопатки 60U, 60L облегчают обтекание задней зоны обтекателей 38В, 40В верхней и нижней втулок (фиг.4Е), что уменьшает срыв потока и лобовое сопротивление, обусловленное давлением. Законцовочное завихрение, сходящее с концов поворотных лопаток 60U, 60L, дополнительно задерживает срыв потока.
Очевидным является, что такие термины относительного положения, как «вперед», «назад», «верхний», «нижний», «над», «под», «внутренняя», «внешняя» и т.п., употребляются применительно к нормальному рабочему положению летательного аппарата в воздухе, и их не следует считать имеющими какой-то иной ограничительный характер.
Очевидным является, что хотя в проиллюстрированном варианте осуществления описана конкретная компоновка компонентов, другие компоновки могут быть предпочтительными в свете настоящего изобретения.
Хотя проиллюстрированы, описаны и заявлены конкретные последовательности этапов, очевидным является, что эти этапы можно осуществлять в любом порядке, по отдельности или вместе, если не указано иное, и это по-прежнему будет обеспечивать осуществление настоящего изобретения.
Вышеизложенное описание является скорее возможным, чем определяемым ограничениями, указанными в нем. В свете вышеуказанных положений возможны многочисленные модификации и изменения этого изобретения. Выше описаны предпочтительные варианты осуществления этого изобретения, однако для специалиста в данной области техники очевидным является, что в рамках объема охраны этого изобретения возможны некоторые изменения. Поэтому очевидным является, что в рамках объема охраны, определяемого нижеследующей формулой изобретения, возможно осуществление этого изобретения не так, как указано в конкретном описании. По этой причине, для того чтобы определить истинные объем охраны и сущность этого изобретения, следует изучить нижеследующую формулу изобретения.
Формула изобретения
1. Система обтекателей втулок несущих винтов для системы соосных несущих винтов, содержащая обтекатель верхней втулки, определенный вокруг оси, обтекатель нижней втулки, определенный вокруг оси, и обтекатель вала между упомянутым обтекателем верхней втулки и упомянутым обтекателем нижней втулки, причем упомянутый обтекатель вала определяет аэродинамический профиль, имеющий профилированный средний участок для снижения лобового сопротивления в системе соосных несущих винтов, причем упомянутый обтекатель верхней втулки и упомянутый обтекатель нижней втулки выполнены с возможностью вращения относительно упомянутого обтекателя вала.
2. Система обтекателей втулок несущих винтов по п.1, в которой упомянутый обтекатель вала установлен в подшипниках относительно упомянутого обтекателя верхней втулки и упомянутого обтекателя нижней втулки для независимого вращения относительно них.
3. Система обтекателей втулок несущих винтов по п.1, в которой упомянутый обтекатель вала включает в себя вертикальную ось тангажа, определенную упомянутым аэродинамическим профилем, при этом упомянутая вертикальная ось тангажа проходит через упомянутый обтекатель верхней втулки и упомянутый обтекатель нижней втулки, причем упомянутая вертикальная ось тангажа включает в себя ось вращения системы соосных несущих винтов.
4. Система обтекателей втулок несущих винтов по п.2, в которой упомянутая вертикальная ось тангажа в основном параллельна упомянутой оси.
5. Система обтекателей втулок несущих винтов по п.1, в которой упомянутая вертикальная ось тангажа определена в положении четвертной хорды, при этом упомянутая вертикальная ось тангажа накладывается на упомянутую ось.
6. Система обтекателей втулок несущих винтов по п.1, в которой упомянутый обтекатель вала имеет в основном форму песочных часов в поперечном сечении, проведенном вдоль упомянутой оси.
7. Система обтекателей втулок несущих винтов по п.1, в которой упомянутый обтекатель вала включает в себя распределение толщины, в котором минимальная толщина имеет место, по меньшей мере, частично вдоль упомянутого профилированного среднего участка.
8. Система обтекателей втулок несущих винтов по п.1, в которой упомянутый обтекатель вала включает в себя аэродинамический профиль NACA 0028 вдоль упомянутого среднего участка и аэродинамический профиль NACA 0042, рядом с упомянутым обтекателем верхней втулки и упомянутым обтекателем нижней втулки, соответственно.
9. Система обтекателей втулок несущих винтов по п.1, в которой задняя кромка упомянутого обтекателя вала выходит за периферию упомянутого обтекателя верхней втулки и упомянутого обтекателя нижней втулки.
10. Система обтекателей втулок несущих винтов по п.1, дополнительно содержащая разделительный аэродинамический профиль, поперечный упомянутому обтекателю вала.
11. Система обтекателей втулок несущих винтов по п.10, в которой упомянутый разделительный аэродинамический профиль проходит от профилированного среднего участка упомянутого обтекателя вала, и при этом упомянутый обтекатель вала включает в себя распределение толщины, в котором минимальная толщина имеет место, по меньшей мере, частично вдоль упомянутого профилированного среднего участка.
12. Система обтекателей втулок несущих винтов по п.10, в которой задняя кромка упомянутого разделительного аэродинамического профиля выходит за заднюю кромку упомянутого обтекателя вала.
13. Система обтекателей втулок несущих винтов по п.10, в которой упомянутый разделительный аэродинамический профиль определяет максимальную толщину рядом с положением половинной хорды.
14. Система обтекателей втулок несущих винтов по п.10, в которой упомянутый разделительный аэродинамический профиль включает в себя участок, который меньше, чем диаметр упомянутого обтекателя верхней втулки.
15. Система обтекателей втулок несущих винтов по п.1, дополнительно содержащая множество поворотных лопаток.
16. Система обтекателей втулок несущих винтов по п.15, в которой упомянутое множество лопаток включает в себя верхнюю поворотную лопатку и нижнюю поворотную лопатку.
17. Система обтекателей втулок несущих винтов по п.16, в которой упомянутая верхняя поворотная лопатка и упомянутая нижняя поворотная лопатка являются выпуклыми по направлению к упомянутому соответствующему обтекателю верхней и нижней втулки.
18. Система обтекателей втулок несущих винтов по п.1, в которой обтекатель верхней втулки, обтекатель нижней втулки и обтекатель вала объединены в единый элемент.
19. Система обтекателей втулок несущих винтов по п.1, в которой упомянутый обтекатель профилирован так, что имеет уменьшенную толщину в своей центральной области.
20. Система обтекателей втулок несущих винтов для системы соосных несущих винтов, содержащая обтекатель верхней втулки, обтекатель нижней втулки и обтекатель вала между упомянутым обтекателем верхней втулки и упомянутым обтекателем нижней втулки, причем упомянутый обтекатель вала определяет хорду обтекателя вала между его передней кромкой и задней кромкой, упомянутый обтекатель вала определяет отношение (c/D) хорды обтекателя вала к диаметру обтекателей втулок в диапазоне между 0,9D и 1,25D.
21. Система обтекателей втулок несущих винтов по п.20, в которой упомянутый обтекатель вала определяет хорду обтекателя вала, которая приблизительно составляет между 110% и 120% хорды относительно диаметра обтекателя втулки.
22. Система соосных несущих винтов, содержащая систему верхнего несущего винта, включающую в себя втулку верхнего несущего винта, которая вращается вокруг оси вращения, обтекатель верхней втулки, который, по меньшей мере, частично окружает часть упомянутой втулки верхнего несущего винта, систему нижнего несущего винта, включающую в себя втулку нижнего несущего винта, которая вращается вокруг оси вращения, обтекатель нижней втулки, который, по меньшей мере, частично окружает часть упомянутой втулки нижнего несущего винта, и обтекатель вала между упомянутым обтекателем верхней втулки и упомянутым обтекателем нижней втулки, причем упомянутый обтекатель вала имеет вертикальную ось тангажа, в основном параллельную упомянутой оси вращения.
РИСУНКИ
|
|