|
|
(21), (22) Заявка: 2009119093/11, 20.05.2009
(24) Дата начала отсчета срока действия патента:
20.05.2009
(46) Опубликовано: 20.08.2010
(56) Список документов, цитированных в отчете о поиске:
ОСТ 5.4183-76 «ПОДШИПНИКИ ГРЕБНЫХ И ДЕЙДВУДНЫХ ВАЛОВ КАПРОЛОНОВЫЕ», Общие технические условия. – Л.: Типография НПО “Ритм”, 1977, с.4. SU 835880 А, 26.06.1981. JP 49018294 U, 15.02.1974. JP 2001151197 А, 05.06.2001.
Адрес для переписки:
191015, Санкт-Петербург, ул. Кавалергардская, 6, ЗАО “ЦНИИМФ”
|
(72) Автор(ы):
Григорьев Алексей Кузьмич (RU)
(73) Патентообладатель(и):
Закрытое акционерное общество “Центральный ордена Трудового Красного Знамени научно-исследовательский и проектно-конструкторский институт морского флота” (ЗАО “ЦНИИМФ”) (RU)
|
(54) ДЕЙДВУДНОЕ УСТРОЙСТВО
(57) Реферат:
Изобретение относится к области судостроения и машиностроения, в частности к втулочным подшипникам, и предназначено для использования в дейдвудных устройствах любых типов судов, содержащих подшипники скольжения, расположенные горизонтально. Дейдвудное устройство имеет подшипник скольжения с серповидными боковыми каналами и расположенный внутри вал. Серповидные боковые каналы выполнены наклонными к продольной оси подшипника под углом, обеспечивающим на кормовом торце подшипника рабочую нагружаемую площадь на угле не менее 90°. При этом боковые серповидные каналы могут иметь в верхней и нижней части отбойные полки. Повышается надежность работы подшипника в экстремальных условиях. 1 з.п. ф-лы, 5 ил.
Изобретение относится к области судостроения и машиностроения, в частности к втулочным подшипникам, и предназначена для использования в дейдвудных устройствах любых типов судов, содержащих подшипники скольжения, расположенные горизонтально.
Известно дейдвудное устройство по авторскому свидетельству СССР 1551859, МПК F16C 17/02, B63H 23/36, которое содержит подшипник, выполненный из отдельных кольцевых секций. Каждая секция выполнена бочкообразной из отдельных продольных вкладышей. Каждый вкладыш в секции установлен на упругий элемент и металлическое основание. Металлическое основание и упругие элементы выполнены в виде полос и размещены в выполненных во вкладышах по всей длине пазах. Распорные планки установлены на противоположных боковых сторонах и имеют толщину, меньшую толщины вкладыша. Расположенные ниже горизонтальной оси вкладыши имеют с двух сторон поперечные наклонные каналы, соединенные с продольными каналами оснований. Поперечные наклонные каналы обеспечивают принудительную прокачку подшипников рабочей жидкостью при вращении вала как по часовой стрелке, так и против часовой стрелки.
Недостатком данной конструкции подшипника является сложность ее изготовления.
Известна дейдвудная опора скольжения по авторскому свидетельству СССР 1561603, МПК F16C 17/02, B63H 23/36, содержащая составной вкладыш, выполненный из отдельных продольных секций, в котором боковые секции вкладыша имеют меньшую толщину и выполнены в виде клина с двухсторонним углом 6 10°, сопрягаемым с верхним и нижним вкладышами. Наличие боковых вкладышей с заданным углом наклона в рабочей зоне обеспечивает самопрокачивание подшипника рабочей жидкостью при вращении вала.
Недостатком данной конструкции является сложность изготовления и возможность расклинивания подшипника от длительного воздействия динамических и вибрационных нагрузок, которые возникают при плавании судов и ледоколов в ледовых условиях.
Известен также дейдвудный подшипник скольжения с водяной смазкой, принятый за прототип, изготавливаемый по ОСТ5.4183-76, исполнение 2 (Подшипники гребных и дейдвудных валов капролоновые. Общие технические условия. – Л., Типография НПО «Ритм», 1977 – 46 с.), имеющий боковые серповидные каналы, расположенные вдоль оси подшипника.
Недостатком данного подшипника является ненадежность его работы при отказе принудительной прокачки водой, что приводит к резкому повышению температуры в его рабочей зоне, в результате чего происходит подплавление подшипника и выход его из строя.
Технической задачей предлагаемого изобретения является устранение выявленного недостатка, что позволит избежать возникновения аварийной ситуации и повысить надежность работы подшипника дейдвудного устройства в экстремальных условиях.
Поставленная задача решается тем, что в подшипнике скольжения с серповидными боковыми каналами и расположенным внутри валом серповидные боковые каналы выполнены наклонными к продольной оси подшипника под углом, обеспечивающим на кормовом торце подшипника рабочую нагружаемую площадь на угле не менее 90°. При этом боковые серповидные каналы могут иметь в верхней и нижней части отбойные полки.
Сущность изобретения поясняется чертежами.
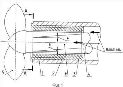
На фиг.1 представлен продольный разрез дейдвудного устройства с самопрокачивающимся втулочным подшипником скольжения; на фиг.2 – то же, поперечный разрез (сечение по А-А); на фиг.3 – то же с подшипником, имеющим наклонные серповидные каналы с отбойными полками; на фиг.4 – графики давлений по окружности втулочного подшипника с наклонными серповидными каналами в точках замера; на фиг.5 – графики количества прокачиваемой и всасываемой воды в точках замера втулочного подшипника с наклонными серповидными каналами.
Дейдвудное устройство содержит дейдвудную трубу 1, в которую установлена дейдвудная втулка 2, с запрессованным в нее дейдвудным подшипником 3, в котором находится гребной вал 4, имеющий на конце гребной винт 5. Дейдвудный подшипник имеет наклонные серповидные каналы 6, расточенные под углом 8 в сторону винта 5. Угол 8 наклона серповидных каналов выбирается таким образом, чтобы обеспечить на кормовом срезе подшипника рабочую площадь контакта вала с подшипником не менее 90° (см. фиг.2, 3).
Дейдвудное устройство работает следующим образом.
Работающий гребной вал 4 увлекает поток воды в зазор между валом 4 и подшипником 3. На входе в рабочую зону дейдвудного подшипника 3 в серповидном боковом канале 6 по ходу вращения вала скорость потока воды замедляется, кинетическая энергия переходит в потенциальную, давление в нижней части канала 6 в точке 7 возрастает. Поскольку боковые серповидные каналы 6 наклонены в корму, появляется продольная составляющая сила, выталкивающая воду, не поступившую в рабочую зону дейдвудного подшипника 3, в корму. В противоположном боковом серповидном канале в нижней точке 11 возникает разряжение и происходит всасывание воды из-за борта. В верхней части бокового серповидного канала в точке 10 по левому борту также появляется зона повышенного давления и пониженного давления по правому борту в точке 8, которые зависят от величины зазора в дейдвудном подшипнике. При изменении направления вращения вала давление в точках 8, 11 возрастает, а в точках 7, 10 снижается. Динамика изменения давлений от частоты вращения вала в нижних точках 7, 11 и верхних точках 8, 10 серповидных каналов приведена на фиг.4.
В верхней части дейдвудного подшипника в точке 9 величина давления на всех скоростных режимах остается постоянной.
Эта точка принята за нулевую точку отсчета при определении величины изменения давлений в точках измерения.
На фиг.5 приведены графики количества прокачиваемой и всасываемой воды в точках замера 7, 8, 10, 11 подшипника скольжения с наклонными серповидными каналами.
Из графиков фиг.4 и 5 видно, что чем больше частота вращения вала, тем больше величина изменения давлений, и большее количество воды прокачивается через серповидные боковые каналы. Следовательно, с увеличением количества выделяемого тепла, вызванного увеличением частоты вращения вала, возрастает и эффективность работы системы охлаждения самопрокачивающегося подшипника скольжения. Отбойные полки 12 в наклонных серповидных каналах, показанные на фиг.3, увеличивают производительность наклонных боковых серповидных каналов, повышая эффективность работы системы охлаждения подшипника.
Проведенные стендовые испытания подшипника скольжения с наклонными серповидными каналами при отказе принудительной системы смазки показали, что подшипник является самопрокачивающимся, и количество прокачиваемой воды зависит, в основном, от частоты вращения вала. Стендовые испытания показали также, что при искусственном отказе системы охлаждения аварийная ситуация не возникла, что подтверждает правильность выбранного технического решения.
Таким образом, предлагаемая конструкция дейдвудного устройства обеспечивает его самопрокачивание рабочей жидкостью и повышает надежность работы его системы охлаждения и смазки.
Формула изобретения
1. Дейдвудное устройство, включающее подшипник скольжения с серповидными боковыми каналами и расположенным внутри валом, отличающееся тем, что серповидные боковые каналы выполнены наклонными к продольной оси подшипника под углом, обеспечивающим на кормовом торце подшипника рабочую нагружаемую площадь при угле не менее 90°.
2. Дейдвудное устройство по п.1, отличающееся тем, что наклонные боковые серповидные каналы могут быть выполнены с отбойными полками в верхней и нижней частях.
РИСУНКИ
|
|