|
|
(21), (22) Заявка: 2006132295/11, 04.03.2005
(24) Дата начала отсчета срока действия патента:
04.03.2005
(30) Конвенционный приоритет:
09.03.2004 JP 2004-066369 08.09.2004 JP 2004-261540
(43) Дата публикации заявки: 20.04.2008
(46) Опубликовано: 20.08.2010
(56) Список документов, цитированных в отчете о поиске:
WO 03097427 A1, 03.02.2005. JP 2065674 U, 17.05.1990. JP 9226604 A, 02.09.1997. DE 19811917 A1, 24.09.1998. SU 948736 A, 10.08.1982.
(85) Дата перевода заявки PCT на национальную фазу:
09.10.2006
(86) Заявка PCT:
JP 2005/003794 20050304
(87) Публикация PCT:
WO 2005/085039 20050915
Адрес для переписки:
127006, Москва, ул.Долгоруковская, 7, Садовая Плаза, 11 этаж, фирма “Бейкер и Макензи”, для Е.А.Ариевича
|
(72) Автор(ы):
КУБОТА Шуичи (JP), КУЗУМИ Йоширо (JP), КАИДА Хидетоши (JP)
(73) Патентообладатель(и):
ОИЛС КОРПОРЭЙШН (JP)
|
(54) НАПРАВЛЯЮЩЕЕ ПРИСПОСОБЛЕНИЕ ДЛЯ ЗУБЧАТОЙ РЕЙКИ И УСТРОЙСТВО РУЛЕВОГО УПРАВЛЕНИЯ РЕЕЧНО-ШЕСТЕРЕННОГО ТИПА, В КОТОРОМ ИСПОЛЬЗУЮТ УКАЗАННОЕ НАПРАВЛЯЮЩЕЕ ПРИСПОСОБЛЕНИЕ
(57) Реферат:
Изобретение относится к транспортному средству, такому как автомобиль, для приведения в действие рулевого управления. Устройство рулевого управления реечно-шестеренного типа включает картер (3) коробки передач, изготавливаемый из алюминия или сплава алюминия и имеющий полый участок, вал (6) рулевого управления, поддерживаемый с возможностью вращения картером коробки передач посредством роликоподшипников, шестерню (7), которая поддерживается с возможностью вращения в картере коробки передач с помощью вала рулевого управления, зубчатую рейку (9), на которой создается сцепление зубьев рейки с шестерней (7), направляющее приспособление (10) для зубчатой рейки, которое помещают в полый участок внутри картера коробки передач и которое поддерживает зубчатую рейку с возможностью скольжения относительно направления ее движения А. Изобретение позволяет снизить шум и улучшить условия регулирования. 2 н. и 25 з.п. ф-лы, 29 ил.
Область техники, к которой относится изобретение
Настоящее изобретение относится к направляющему приспособлению для зубчатой рейки, которое будет использоваться в транспортном средстве, таком как автомобиль, для приведения в действие рулевого управления путем вращения шестерни, взаимосвязанной с процессом поворота рулевого колеса, и путем возвратно-поступательного движения зубчатой рейки, зубья которой сцеплены с шестерней, а также к устройству рулевого управления реечно-шестеренного типа, имеющего направляющее приспособление для зубчатой рейки.
Предпосылки создания изобретения
Патентный документ 1: JP-A-58-19873.
Устройство рулевого управления реечно-шестеренного типа включает, в основном, картер коробки передач, шестерню, поддерживаемую, с возможностью вращения, этим картером коробки передач посредством вала шестерни, зубчатую рейку, на которой происходит сцепление зубьев рейки с этой шестерней, направляющее приспособление для зубчатой рейки, помещаемое в картер коробки передач для поддержания, с возможностью скольжения, зубчатой рейки и цилиндрическую пружину для прижимания этого направляющего приспособления для зубчатой рейки в сторону зубчатой рейки.
В таком устройстве рулевого управления реечно-шестеренного типа, на участках сцепления шестерни и зубьев зубчатой рейки, действуют силы, направленные во взаимно противоположные направления, в связи с вращением вала шестерни, так что в зубчатой рейке появляется прогиб, и зазор в направлении ряда зубьев рейки становится большим. В результате, возникают звуки детонации между зубчатыми участками зубьев рейки и шестерней. Следовательно, предусматривают направляющее приспособление для зубчатой рейки, которое имеет вогнутую поверхность, обычно полуцилиндрическую вогнутую поверхность, которая имеет незначительное сопротивление трению на стороне, противоположной шестеренному валу по отношению к зубчатой рейке. Вогнутую поверхность этого направляющего приспособления для зубчатой рейки прижимают к зубчатой рейке за счет упругой сжимающей силы цилиндрической пружины. Предусматривают такую схему монтажа, что когда сопротивление трению скольжения в случае зубчатой рейки снижается за счет приведения в положение контакта вогнутой поверхности направляющего приспособления для зубчатой рейки с зубчатой рейкой, зазор в направлении ряда зубьев рейки устраняется, снижая тем самым уровень звуков детонации на участках сцепления зубьев рейки и шестерни.
Раскрытие изобретения
Проблемы, которые будут решаться с помощью изобретения
В качестве направляющих приспособлений для зубчатых реек предложены, среди прочих, те из них, которые изготавливают, используя спеченный металл или алюминий или сплав алюминия. В любом из этих направляющих приспособлений для зубчатых реек предусматривают зазор, равный приблизительно 20 мкм или около этого, между направляющим приспособлением для зубчатой рейки и внутренней поверхностью картера коробки передач из-за необходимости сохранять двигательную функцию направляющего приспособления для зубчатой рейки в картере коробки передач. Однако даже в картере, где предусматривают такой зазор, если к направляющему приспособлению для зубчатой рейки прикладывается радиальная нагрузка, обусловленная кручением зубьев, возникающим в сцеплении между шестерней и зубьями рейки, и обусловленная воздействием круговых движений на обоих концах зубчатой рейки, направляющее приспособление для зубчатой рейки может сильно придавливаться к внутренней поверхности картера коробки передач. В этом состоянии, вместе с воздействием сжимающей силы, благодаря цилиндрической пружине два элемента направляющего приспособления для зубчатых реек и картера коробки передач находятся в состоянии так называемых “металлов аналогичного состава”, так что сопротивление трению возрастает, и, следовательно, имеет место адгезионный износ. Таким образом, возникает проблема в том, что затрудняется движение направляющего приспособления для зубчатой рейки в направлении зубчатой рейки.
Для преодоления вышеописанной проблемы было предложено направляющее приспособление для зубчатой рейки, к которому прикрепляют амортизирующий элемент, такой как O-образное кольцо. Однако, если прикрепляют амортизирующий элемент, такой как O-образное кольцо, нагрузка цилиндрической пружины становится большой благодаря сопротивлению скольжению при перемещении скольжением между амортизирующим элементом и внутренней поверхностью картера коробки передач, и в цилиндрической пружине может появляться с большой вероятностью остаточная деформация (старение материала). Если упруго сжимающая сила цилиндрической пружины становится недостаточной из-за остаточной деформации, возникает вибрация направляющего приспособления для зубчатой рейки, и направляющее приспособление для зубчатой рейки ударяется о картер коробки передач. Это также создает ненормальный шум (звуки детонации).
Кроме того, если упруго сжимающая сила, приложенная к вогнутой поверхности направляющего приспособления для зубчатой рейки, является большой, существует возможность снижения звуков детонации на участках сцепления зубьев рейки и шестерни. Однако требуется большое усилие для осуществления поворота рулевого колеса, и рулевая управляемость становится затруднительной. С другой стороны, если упруго сжимающая сила, приложенная к вогнутой поверхности направляющего приспособления для зубчатой рейки, является малой, рулевая управляемость улучшается, но становится трудным добиться снижения уровня звуков детонации, так что требуется утомительная операция для оптимального регулирования упруго сжимающей силы.
Настоящее изобретение разработано в связи с вышеописанными обстоятельствами, и его целью является представление направляющего приспособления для зубчатой рейки, которое, в результате того, что не используется цилиндрическая пружина, делает возможным исключить появление ненормального шума, обусловленного остаточной деформацией цилиндрической пружины, а также представление устройства рулевого управления реечно-шестеренного типа, где используется указанное приспособление.
Другой целью настоящего изобретения является представление устройства рулевого управления реечно-шестеренного типа, которое делает возможным легкое регулирование оптимальной упруго сжимающей силы на все время.
Способы решения проблем
В соответствии с настоящим изобретением, представляется направляющее приспособление для зубчатой рейки, предназначенное для использования в устройстве рулевого управления реечно-шестеренного типа, включающее подложку направляющего приспособления для зубчатой рейки, имеющую вогнутую поверхность, которая входит в контакт, с возможностью скольжения, с зубчатой рейкой, и имеющую воспринимающую давление поверхность, предназначенную воспринимать сжимающую силу, направленную на зубчатую рейку; упруго деформируемый элемент, расположенный со стороны воспринимающей давление поверхности подложки направляющего приспособления для зубчатой рейки; и сжимающий элемент для передачи на упруго деформируемый элемент сжимающей силы, направленной на зубчатую рейку, где упруго деформируемый элемент помещают между подложкой направляющего приспособления для зубчатой рейки и сжимающим элементом с тем, чтобы он выпячивался в направлении, перпендикулярном по отношению к направлению сжимающей силы, за счет того, что упруго деформируется сжимающей силой, направленной от сжимающего элемента к зубчатой рейке.
Согласно направляющему приспособлению для зубчатой рейки, в соответствии с настоящим изобретением, предусматривают упруго деформируемый элемент, который помещают между подложкой направляющего приспособления для зубчатой рейки и сжимающим элементом с тем, чтобы он выпячивался в направлении, перпендикулярном к направлению сжимающей силы, за счет того, что упруго деформируется сжимающей силой, направленной от сжимающего элемента к зубчатой рейке. Следовательно, упруго деформируемый элемент обладает функцией, аналогичной функции амортизирующего элемента, такого как О-образное кольцо. Также упруго деформируемый элемент способен изменять величину своей выпуклости или сопротивляемости механическим воздействиям в соответствии с величиной противодействующей силы по отношению к сжимающей силе. Кроме того, упруго сжимающую силу, направленную на зубчатую рейку, можно создавать с помощью упруго деформируемого элемента вместо цилиндрической пружины. В результате, имеется возможность с большой вероятностью избежать прямого контакта подложки зубчатой рейки с внутренней поверхностью картера коробки передач, и имеется возможность не применять цилиндрическую пружину и исключить появление ненормального шума, обязанного остаточной деформацией цилиндрической пружины.
В предпочтительном примере осуществления изобретения воспринимающая давление поверхность имеет перпендикулярную воспринимающую давление поверхность, которая перпендикулярна к направлению сжимающей силы, а упруго деформируемый элемент включает перпендикулярную сжимающую поверхность, расположенную напротив перпендикулярной воспринимающей давление поверхности и имеющую форму, соответствующую перпендикулярной воспринимающей давление поверхности, и его помещают между перпендикулярной воспринимающей давление поверхностью подложки направляющего приспособления для зубчатой рейки и сжимающим элементом. В этом случае перпендикулярная воспринимающая давление поверхность и перпендикулярная сжимающая поверхность предпочтительно контактируют друг с другом.
В другом предпочтительном примере осуществления изобретения воспринимающая давление поверхность включает пару наклонных воспринимающих давление поверхностей, которые наклонены по отношению к направлению сжимающей силы таким образом, чтобы постепенно отходить друг от друга в направлении сжимающей силы, а также пару перпендикулярных воспринимающих давление поверхностей, которые соответствующим образом прилегают к торцевым краям пары наклонных воспринимающих давление поверхностей в направлении сжимающей силы и которые являются перпендикулярными к направлению сжимающей силы. Также, упруго деформируемый элемент включает пару наклонных сжимающих поверхностей, которые располагаются напротив пары наклонных воспринимающих давление поверхностей и имеют формы, соответствующие формам пары наклонных воспринимающих давление поверхностей, а также пару перпендикулярных сжимающих поверхностей, которые располагаются напротив пары перпендикулярных воспринимающих давление поверхностей и имеют формы, соответствующие формам перпендикулярных воспринимающих давление поверхностей, и его помещают между, с одной стороны, сжимающего элемента и, с другой стороны, наклонных воспринимающих давление поверхностей и перпендикулярных воспринимающих давление поверхностей по отношению к направлению сжимающей силы. В этом случае каждый из торцевых краев пары наклонных воспринимающих давление поверхностей в направлении сжимающей силы может быть параллельным к направлению движения зубчатой рейки, и каждая из наклонных воспринимающих давление поверхностей и наклонных сжимающих поверхностей может быть неизогнутой плоской поверхностью или криволинейной поверхностью. Наклонная воспринимающая давление поверхность и наклонная сжимающая поверхность могут контактировать друг с другом, и перпендикулярная воспринимающая давление поверхность и перпендикулярная сжимающая поверхность могут контактировать друг с другом.
В настоящем изобретении пара наклонных воспринимающих давление поверхностей может прилегать друг к другу, и пара наклонных сжимающих поверхностей может прилегать друг к другу. Пара наклонных воспринимающих давление поверхностей может иметь, соответственно, другие торцевые края, которые располагаются в направлении, противоположном по отношению к направлению сжимающей силы, и которые являются параллельными направлению движения зубчатой рейки, причем интервал между другими торцевыми краями является более узким, чем внутренний интервал между парой торцевых краев в направлении сжимающей силы. Также, воспринимающая давление поверхность может иметь другую перпендикулярную воспринимающую давление поверхность, которая прилегает к каждому из других торцевых краев и является перпендикулярной к направлению сжимающей силы. Кроме того, упруго деформируемый элемент может включать другую перпендикулярную сжимающую поверхность, которая располагается напротив другой перпендикулярной воспринимающей давление поверхности и имеет форму, соответствующую форме другой перпендикулярной воспринимающей давление поверхности, и его можно помещать между другой перпендикулярной воспринимающей давление поверхностью и сжимающим элементом по отношению к направлению сжимающей силы. В этом случае другая перпендикулярная воспринимающая давление поверхность и другая перпендикулярная сжимающая поверхность могут контактировать друг с другом.
В направляющем приспособлении для зубчатой рейки в этих примерах, так как подложка направляющего приспособления для зубчатой рейки воспринимает сжимающую силу, направленную на зубчатую рейку, посредством наклонных воспринимающих давление поверхностей, в случае, когда подложка направляющего приспособления для зубчатой рейки обладает незначительной упругой деформируемостью, зубчатая рейка поддерживается с обеих диагональных сторон с помощью подложки направляющего приспособления для зубчатой рейки. В результате, зубчатая рейка поддерживается более устойчиво с возможностью скольжения.
В направляющем приспособлении для зубчатой рейки, в соответствии с настоящим изобретением, сжимающий элемент может иметь перпендикулярную сжимающую поверхность, которая перпендикулярна к направлению сжимающей силы, а упруго деформируемый элемент может иметь перпендикулярную воспринимающую давление поверхность, которая располагается напротив перпендикулярной сжимающей поверхности сжимающего элемента и имеет форму, соответствующую перпендикулярной сжимающей поверхности сжимающего элемента, и его можно помещать между подложкой направляющего приспособления для зубчатой рейки и перпендикулярной сжимающей поверхностью сжимающего элемента по отношению к направлению сжимающей силы. В этом случае перпендикулярная воспринимающая давление поверхность упруго деформируемого элемента и перпендикулярная сжимающая поверхность сжимающего элемента могут контактировать друг с другом.
В еще одном предпочтительном примере осуществления настоящего изобретения, подложка направляющего приспособления для зубчатой рейки может иметь перпендикулярный продолговатый паз, расположенный в вогнутой поверхности и протягивающийся перпендикулярно к направлению движения зубчатой рейки, и/или же продолговатый нижний паз, расположенный в нижней части вогнутой поверхности и протягивающийся параллельно относительно направления движения зубчатой рейки. Кроме того, подложка направляющего приспособления для зубчатой рейки может иметь перпендикулярный продолговатый паз, расположенный в вогнутой поверхности и протягивающийся перпендикулярно относительно направления движения зубчатой рейки, и продолговатый нижний паз, расположенный в нижней части вогнутой поверхности и протягивающийся параллельно относительно направления движения зубчатой рейки, в этом случае продолговатый нижний паз является более широким и глубоким, чем перпендикулярный продолговатый паз.
Так как направляющее приспособление для зубчатой рейки имеет, по крайней мере, один такой продолговатый нижний паз и перпендикулярный продолговатый паз, в нем может накапливаться смазочное масло, такое как консистентная смазка. Следовательно, смазочное масло можно подавать в пространство между зубчатой рейкой и вогнутой поверхностью с тем, чтобы поддерживать, с возможностью скольжения, зубчатую рейку, обеспечивая низкое сопротивление трению. Кроме того, в случае, когда подложка приспособления для зубчатой рейки имеет наклонные воспринимающие давление поверхности, вогнутая поверхность становится легко деформируемой благодаря продолговатому нижнему пазу. В результате, поддержка зубчатой рейки с обеих диагональных сторон за счет вогнутой поверхности может быть более эффективной, так что зубчатую рейку можно поддерживать, с возможностью перемещения, более устойчиво.
Каждый упруго деформируемый элемент и сжимающий элемент имеет, предпочтительно, сквозное отверстие. В этом случае подложка направляющего приспособления для зубчатой рейки может включать главный участок подложки, имеющий вогнутую поверхность и воспринимающую давление поверхность, и вспомогательный участок, который на одном своем конце создается как единое целое на главном участке подложки и пропускается через каждое из сквозных отверстий упруго деформируемого элемента и сжимающего элемента. Кроме того, подложка направляющего приспособления для зубчатой рейки может иметь на другом конце вспомогательного участка прорезь для облегчения введения вспомогательного участка в сквозные отверстия, а также выпуклый участок для предотвращения выхода вспомогательного участка из сквозного отверстия сжимающего элемента.
Согласно направляющему приспособлению для зубчатой рейки, в соответствии с вышеописанными примерами, подложка направляющего приспособления для зубчатой рейки, упруго деформируемый элемент и сжимающий элемент могут представлять собой единое целое, монтаж этих элементов в полый участок картера коробки передач можно легко осуществлять, и подложку направляющего приспособления для зубчатой рейки, и сжимающий элемент можно прочно крепить к упруго деформируемому элементу.
Подложку направляющего приспособления для зубчатой рейки или сжимающий элемент можно изготавливать из металла или синтетической смолы. В качестве металлических материалов для изготовления подложки направляющего приспособления для зубчатой рейки можно назвать, как предпочтительные примеры, спеченный металл или алюминий, или сплав алюминия. В качестве предпочтительного примера материала синтетической смолы для изготовления подложки направляющего приспособления для зубчатой рейки можно назвать полиацеталь. Кроме того, в качестве металлического материала для изготовления сжимающего элемента можно назвать спеченный металл или алюминий, или сплав алюминия, и назвать полиацеталь в качестве материала синтетической смолы.
Упруго деформируемый элемент может иметь различные формы наружных периферических поверхностей до таких пределов, пока существует возможность избежать прямого соударения подложки направляющего приспособления для зубчатой рейки с внутренней поверхностью картера коробки передач путем прямого столкновения участка ее выпячивания, являющегося следствием ее упругой деформации, с внутренней поверхностью картера коробки передач. Предпочтительно, однако, чтобы упруго деформируемый элемент имел цилиндрическую наружную поверхность.
Предпочтительно, упруго деформируемый элемент изготавливают из природного или синтетического каучука или смолы, такой как полиуретановый эластомер. Однако настоящее изобретение не ограничивается указанными материалами, и упруго деформируемый элемент можно изготавливать из другой природной или синтетической смолы, обладающей упругой деформируемостью, такой как уретановый каучук.
В направляющем приспособлении для зубчатой рейки, в соответствии с изобретением, другой элемент, такой как разделительный элемент, можно вставить, по крайней мере, в один зазор между подложкой направляющего приспособления для зубчатой рейки и упруго деформируемым элементом и в зазор между упруго деформируемым элементом и сжимающим элементом. Также упруго деформируемый элемент можно конструировать путем использования большого количества упруго деформируемых пластин, например элемент, в котором ламинированы пластины из каучука. Кроме того, наклонная воспринимающая давление поверхность не ограничивается неизогнутой плоской поверхностью (плоской поверхностью) или криволинейной поверхностью, такой как полуцилиндрическая или сферическая поверхность, и может быть полигональной поверхностью.
В соответствии с настоящим изобретением представлено устройство рулевого управления реечно-шестеренного типа, включающее картер коробки передач; шестерню, которая поддерживается, с возможностью вращения, в картере коробки передач; зубчатую рейку, на которой происходит сцепление зубьев с шестерней; и направляющее приспособление для зубчатой рейки, согласно любому из вышеописанных аспектов, предназначенное для поддержания, с возможностью скольжения, зубчатой рейки, где подложка направляющего приспособления для зубчатой рейки и сжимающий элемент помещают в картер коробки передач с зазором относительно картера коробки передач, а упруго деформируемый элемент приспосабливают таким образом, чтобы он входил в контакт с внутренней поверхностью картера коробки передач, когда упруго деформируемый элемент выпячивается за счет приложенной сжимающей силы, направленной на зубчатую рейку.
Согласно устройству рулевого управления реечно-шестеренного типа, в соответствии с изобретением, подложку направляющего приспособления для зубчатой рейки можно поддерживать за счет упруго деформируемого элемента, входящего в контакт с внутренней поверхностью картера коробки передач в соответствии с величиной противодействующей силы по отношению к сжимающей силе. Кроме того, так как упруго сжимающую силу, направленную на зубчатую рейку, можно создавать за счет упруго деформируемого элемента, существует возможность с большой вероятностью избежать прямого контакта подложки направляющего приспособления для зубчатой рейки с внутренней поверхностью картера коробки передач. Более того, существует возможность не использовать цилиндрическую пружину и избежать появления ненормального шума, обусловленного остаточной деформацией цилиндрической пружины.
Устройство рулевого управления реечно-шестеренного типа, в соответствии с настоящим изобретением, может дополнительно включать винтовой элемент, который крепится с помощью резьбы во внутренней поверхности картера коробки передач с тем, чтобы передавать на сжимающий элемент сжимающую силу, направленную на зубчатую рейку. Вместо того, чтобы предусматривать такой винтовой элемент, сжимающий элемент можно крепить с помощью резьбы к внутренней поверхности картера коробки передач со стороны периферической поверхности. Когда сжимающий элемент крепится таким образом с помощью резьбы к внутренней поверхности картера коробки передач, приближенное и удаленное положение сжимающего элемента по отношению к картеру коробки передач можно определять путем поворота сжимающего элемента. В результате, даже если винтовой элемент не предусмотрен, сжимающую силу, направленную на зубчатую рейку, можно передавать на упруго деформируемый элемент за счет самого сжимающего элемента.
В устройстве рулевого управления реечно-шестеренного типа, в соответствии с настоящим изобретением, направляющее приспособление для зубчатой рейки может включать дополнительно регулирующее устройство для регулирования сжимающей силы, которая передается от сжимающего элемента на упруго деформируемый элемент.
Согласно устройству рулевого управления реечно-шестеренного типа, в результате того, что сжимающую силу, прилагаемую к упруго деформируемому элементу, можно регулировать с помощью регулирующего устройства, величину выпячивания или сопротивляемости механическим воздействиям упруго деформируемого элемента можно регулировать для получения заранее определенной величины. Следовательно, имеется возможность легкого регулирования оптимальной упруго сжимающей силы на все время без необходимости прибегать к сложной операции.
В предпочтительном примере осуществления настоящего изобретения регулирующее устройство включает ступенчатый участок картера коробки передач; ступенчатый участок сжимающего элемента, который входит в контакт с указанным ступенчатым участком; и участок резьбового соединения для соединения посредством резьбы сжимающего элемента с внутренней поверхностью картера коробки передач. В вышеописанном устройстве рулевого управления реечно-шестеренного типа картер коробки передач включает предпочтительно полый участок малого диаметра, границы которого устанавливаются цилиндрической внутренней поверхностью малого диаметра и который предназначается для вмещения подложки направляющего приспособления для зубчатой рейки и упруго деформируемого элемента, а также полый участок большого диаметра, который является смежным с полым участком малого диаметра и границы которого устанавливаются цилиндрической внутренней поверхностью большого диаметра. Сжимающий элемент включает предпочтительно цилиндрический участок малого диаметра, расположенный в полом участке малого диаметра и имеющий наружную поверхность малого диаметра, а также цилиндрический участок большого диаметра, имеющий наружную поверхность большого диаметра, которая является смежной с цилиндрическим участком малого диаметра, и располагающийся в полом участке большого диаметра. Ступенчатый участок картера коробки передач помещают между внутренней поверхностью малого диаметра и внутренней поверхностью большого диаметра, ступенчатый участок сжимающего элемента помещают между наружной поверхностью малого диаметра и наружной поверхностью большого диаметра, а участок резьбового соединения помещают между внутренней поверхностью большого диаметра и наружной поверхностью большого диаметра.
В устройстве рулевого управления реечно-шестеренного типа, имеющего регулирующее устройство, в другом предпочтительном примере осуществления настоящего изобретения картер коробки передач имеет полый участок, границы которого устанавливаются цилиндрической внутренней поверхностью и который предназначается для вмещения подложки направляющего приспособления для зубчатой рейки и упруго деформируемого элемента, а также торцевую поверхность, в которой открывается один конец полого участка, сжимающий элемент имеет цилиндрический участок, который располагается в полом участке, а регулирующее устройство включает фланцевый участок, который создается как единое целое на цилиндрическом участке и имеет кольцеобразную боковую поверхность, входящую в контакт с торцевой поверхностью, а также участок резьбового соединения, который делает возможным резьбовое соединение сжимающего элемента с картером коробки передач. Участок резьбового соединения помещают между цилиндрической внутренней поверхностью и цилиндрической наружной поверхностью цилиндрического участка.
В еще одном предпочтительном примере осуществления настоящего изобретения картер коробки передач включает полый участок, границы которого устанавливаются цилиндрической внутренней поверхностью и который предназначается для вмещения подложки направляющего приспособления для зубчатой рейки и упруго деформируемого элемента, сжимающий элемент включает цилиндрический участок, имеющий торцевую поверхность, которая располагается в полом участке, а регулирующее устройство включает выступ, который создается как единое целое на подложке направляющего приспособления для зубчатой рейки таким образом, чтобы он был встроен в упруго деформируемый элемент и протягивался в направлении торцевой поверхности сжимающего элемента, и участок резьбового соединения, который делает возможным соединение посредством резьбы сжимающего элемента с картером коробки передач. Участок резьбового соединения помещают между цилиндрической внутренней поверхностью и цилиндрической наружной поверхностью цилиндрического участка.
Устройство рулевого управления реечно-шестеренного типа, имеющее регулирующее устройство, может включать также жесткую пластину, помещаемую между упруго деформируемым элементом и сжимающим элементом. Кроме того, каждую из указанных деталей: подложку направляющего приспособления для зубчатой рейки и сжимающий элемент, изготавливают предпочтительно из полимерной смолы.
Полезный результат осуществления изобретения
Согласно изобретению, в результате того, что можно не использовать цилиндрическую пружину, является возможным представить направляющее приспособление для зубчатой рейки, которое дает возможность исключить появление ненормального шума, обусловленного остаточной деформацией цилиндрической пружины, а также устройство рулевого управления реечно-шестеренного типа, в котором используют указанное приспособление.
Кроме того, согласно настоящему изобретению, является возможным представить устройство рулевого управления реечно-шестеренного типа, которое дает возможность легко регулировать оптимальную упруго сжимающую силу на все время.
Наилучший способ осуществления изобретения
Ниже будет дано более подробное описание способа осуществления изобретения со ссылкой на предпочтительные варианты, иллюстрируемые на чертежах. Следует отметить, что изобретение не ограничивается этими вариантами.
Краткое описание чертежей
Фиг.1 представляет собой изображение в поперечном разрезе предпочтительного варианта осуществления изобретения в соответствии с настоящим изобретением;
Фиг.2 представляет собой изображение в поперечном разрезе подложки направляющего приспособления для зубчатой рейки, показанной на Фиг.1;
Фиг.3 представляет собой изображение в плане подложки направляющего приспособления для зубчатой рейки, показанной на Фиг.1;
Фиг.4 представляет собой изображение в поперечном разрезе, выполненном по направлению стрелок вдоль линии IV-IV, показанной на Фиг.3;
Фиг.5 представляет собой перспективное изображение упруго деформируемого элемента, показанного на Фиг.1;
Фиг.6 представляет собой изображение в поперечном разрезе сжимающего элемента, показанного на Фиг.1;
Фиг.7 представляет собой изображение в поперечном разрезе другого предпочтительного варианта осуществления настоящего изобретения;
Фиг.8 представляет собой изображение в поперечном разрезе подложки направляющего приспособления для зубчатой рейки, показанной на Фиг.7;
Фиг.9 представляет собой изображение вида сбоку подложки направляющего приспособления для зубчатой рейки, показанной на Фиг.7;
Фиг.10 представляет собой перспективное изображение упруго деформируемого элемента, показанного на Фиг.7;
Фиг.11 представляет собой изображение в поперечном разрезе еще одного предпочтительного варианта осуществления настоящего изобретения;
Фиг.12 представляет собой изображение в плане подложки направляющего приспособления для зубчатой рейки, показанной на Фиг.11;
Фиг.13 представляет собой изображение в поперечном разрезе, выполненном по направлению стрелок вдоль линии XIII-XIII, показанной на Фиг.12;
Фиг.14 представляет собой перспективное изображение упруго деформируемого элемента, показанного на Фиг.11;
Фиг.15 представляет собой изображение в поперечном разрезе следующего предпочтительного варианта осуществления настоящего изобретения;
Фиг.16 представляет собой изображение в плане подложки направляющего приспособления для зубчатой рейки, показанной на Фиг.15;
Фиг.17 представляет собой изображение в поперечном разрезе, выполненном по направлению стрелок вдоль линии XVTI-XVII, показанной на Фиг.16;
Фиг.18 представляет собой перспективное изображение упруго деформируемого элемента, показанного на Фиг.15;
Фиг.19 представляет собой перспективное изображение жесткой пластины, показанной на Фиг.15;
Фиг.20 представляет собой перспективное изображение сжимающего элемента, показанного на Фиг.15;
Фиг.21 представляет собой частичное изображение в поперечном разрезе еще одного предпочтительного варианта осуществления настоящего изобретения;
Фиг.22 представляет собой перспективное изображение сжимающего элемента, показанного на Фиг.21;
Фиг.23 представляет собой частичное изображение в поперечном разрезе следующего предпочтительного варианта осуществления настоящего изобретения;
Фиг.24 представляет собой изображение в поперечном разрезе, выполненном по направлению стрелок вдоль линии XXIV-XXIV, подложки направляющего приспособления для зубчатой рейки, показанной на Фиг.23;
Фиг.25 представляет собой изображение в поперечном разрезе следующего предпочтительного варианта осуществления настоящего изобретения;
Фиг.26 представляет собой изображение в поперечном разрезе подложки направляющего приспособления для зубчатой рейки, показанной на Фиг.25;
Фиг.27 представляет собой изображение в плане подложки направляющего приспособления для зубчатой рейки, показанной на Фиг.25;
Фиг.28 представляет собой изображение в поперечном разрезе, выполненном по направлению стрелок вдоль линии XXVIII-XXVIII, показанной на Фиг.27; и
Фиг.29 представляет собой перспективное изображение упруго деформируемого элемента, показанного на Фиг.25.
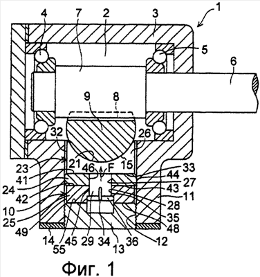
На Фигурах 1-6 устройство 1 рулевого управления реечно-шестеренного типа, в соответствии с этим вариантом осуществления изобретения, состоит из картера 3 коробки передач, изготавливаемого из алюминия или сплава алюминия и имеющего полый участок 2; вала 6 рулевого управления, поддерживаемого, с возможностью вращения, картером 3 коробки передач посредством роликоподшипников 4 и 5; шестерни 7, которую помещают в полый участок 2 и которая создается как единое целое на торцевом участке (вале шестерни) вала 6 рулевого управления и поддерживается, с возможностью вращения, в картере 3 коробки передач с помощью вала 6 рулевого управления; зубчатой рейки 9, на которой создается сцепление зубьев 8 рейки с шестерней 7; направляющего приспособления 10 для зубчатой рейки, которое помещают в полый участок 2 внутри картера 3 коробки передач и которое поддерживает зубчатую рейку 9 с возможностью скольжения относительно направления ее движения А; винтовой элемент 13, который крепят посредством резьбы во внутренней поверхности 12 цилиндрического участка 11 картера 3 коробки передач; и стопорную гайку 14, которую соединяют посредством резьбы с винтовым элементом 13 и которая упирается торцом в цилиндрический участок 11.
Зубчатая рейка, которую располагают с возможностью ее перемещения в ортогональном направлении (перемещения в направлении А) по отношению к оси вала 6 рулевого управления таким образом, чтобы она проходила сквозь картер 3 коробки передач в ортогональном направлении, имеет полуцилиндрическую наружную периферическую поверхность 15 на своей обратной стороне поверхности противоположной ее поверхности, где формируют зубья 8 рейки.
Направляющее приспособление 10 для зубчатой рейки включает подложку 23 зубчатой рейки, которая имеет полуцилиндрическую вогнутую поверхность 21, предназначенную для скользящего вхождения в контакт с полуцилиндрической наружной периферической поверхностью 15 зубчатой рейки 9, и которая имеет воспринимающую давление поверхность 22, предназначенную для восприятия сжимающей силы F, направленной на зубчатую реку 9; кольцеобразный упруго деформируемый элемент 24, расположенный со стороны воспринимающей давление поверхности 22 подложки 23 направляющего приспособления для зубчатой рейки; и кольцеобразный сжимающий элемент 25 для передачи упруго деформируемому элементу 24 сжимающей силы F, направленной в сторону зубчатой рейки 9.
Подложка 23 направляющего приспособления для зубчатой рейки, которую изготавливают из металла или синтетической смолы, включает главный участок 26 подложки, имеющий вогнутую поверхность 21 и воспринимающую давление поверхность 22; цилиндрический вспомогательный участок 29, который на одном его конце создают как единое целое на главном участке 26 подложки и пропускают через соответствующие сквозные отверстия 27 и 28 упруго деформируемого элемента 24 и сжимающего элемента 25; продолговатый нижний паз 30, расположенный в нижней части вогнутой поверхности 21 и протягивающийся параллельно направлению движения А зубчатой рейки 9; и перпендикулярный продолговатый паз 31, расположенный в вогнутой поверхности 21 и протягивающийся перпендикулярно к направлению протяжения продолговатого нижнего паза 30.
Главный участок 26 подложки имеет цилиндрическую наружную периферическую поверхность 32 в дополнение к вогнутой поверхности 21 и воспринимающей давление поверхности 22. Воспринимающая давление поверхность 22 состоит из кольцеобразной перпендикулярной воспринимающей давление поверхности 33, которая является перпендикулярной к направлению сжимающей силы F. Подложка 23 направляющего приспособления для зубчатой рейки имеет также на другом конце вспомогательного участка 29 крестовидную прорезь 34 для облегчения упругой деформации другого конца вспомогательного участка 29, чтобы тем самым облегчить введение вспомогательного участка 29 в сквозные отверстия 27 и 28, а также выпяченный участок 36, который входит в зацепление с кольцеобразным ступенчатым участком 35 сжимающего элемента 25 для предотвращения того, чтобы вспомогательный участок 29 выходил из сквозного отверстия 28 сжимающего элемента 25. Продолговатый нижний паз 30 является более широким и глубоким, чем перпендикулярный продолговатый паз 31.
Кольцеобразный упруго деформируемый элемент 24, который изготавливают из природного или синтетического каучука или смолы, такой как полиуретановый эластомер, включает кольцеобразную перпендикулярную сжимающую поверхность 41, расположенную напротив перпендикулярной воспринимающей давление поверхности 33 и имеющую форму, соответствующую перпендикулярной воспринимающей давление поверхности 33; кольцеобразную перпендикулярную воспринимающую давление поверхность 43, которая располагается напротив перпендикулярной сжимающей поверхности 42 сжимающего элемента 25 и имеет форму, соответствующую перпендикулярной сжимающей поверхности 42 сжимающего элемента 25; цилиндрическую наружную периферическую поверхность 44; сквозное отверстие 27, через которое пропускают вспомогательный участок 29; и цилиндрическую внутреннюю периферическую поверхность 46, которая, с возможностью перемещения, входит в близкий контакт с цилиндрической наружной периферической поверхностью 45 вспомогательного участка 29 и устанавливает границы сквозного отверстия 27. Кольцеобразный упруго деформируемый элемент 24 помещают между перпендикулярной воспринимающей давление поверхностью 33 подложки 23 направляющего приспособления для зубчатой рейки и перпендикулярной сжимающей поверхностью 42 сжимающего элемента 25 по отношению к направлению сжимающей силы F, в то время как его перпендикулярная сжимающая поверхность 41 контактирует с перпендикулярной воспринимающей давление поверхностью 33, а его перпендикулярная воспринимающая давление поверхность 43 контактирует с перпендикулярной сжимающей поверхностью 42 с тем, чтобы подвергнуться упругой деформации за счет сжимающей силы F, направленной от сжимающего элемента 25 в направлении зубчатой рейки 9.
Кольцеобразный сжимающий элемент 25, который изготавливают из металла или синтетической смолы, включает кольцеобразную перпендикулярную сжимающую поверхность 42, которая является перпендикулярной к направлению сжимающей силы F; сквозное отверстие 28, сквозь которое пропускают вспомогательный участок 29; сквозное отверстие 47, соединенное со сквозным отверстием 28 и имеющее больший диаметр, чем диаметр сквозного отверстия 28; кольцеобразную перпендикулярную воспринимающую давление поверхность 48, которая является перпендикулярной к направлению сжимающей силы F; цилиндрическую наружную периферическую поверхность 49; цилиндрическую внутреннюю периферическую поверхность 50, которую, с возможностью перемещения, вводят в близкий контакт с наружной периферической поверхностью 45 вспомогательного участка 29 и которая устанавливает границы сквозного отверстия 28; цилиндрическую внутреннюю периферическую поверхность 51, устанавливающую границы сквозного отверстия 47; и кольцеобразный ступенчатый участок 35, расположенный между внутренней периферической поверхностью 50 и внутренней периферической поверхностью 51.
Главный участок 26 подложки 23 направляющего приспособления для зубчатой рейки располагается в картере 3 коробки передач таким образом, что создается зазор между его наружной периферической поверхностью 32 и внутренней поверхностью 12 цилиндрического участка 11 картера 3 коробки передач. Сжимающий элемент 25 также располагается в картере 3 коробки передач таким образом, что создается зазор между его наружной периферической поверхностью 44 и внутренней поверхностью 12 цилиндрического участка 11 картера 3 коробки передач. В результате, каждая из указанных деталей: подложка 23 направляющего приспособления для зубчатой рейки и сжимающий элемент 25 является подвижной в направлении сжимающей силы F вместе с упруго деформируемым элементом 24 относительно винтового элемента 13, который крепится посредством резьбы в цилиндрическом участке 11 картера 3 коробки передач и является подвижным за счет участка зазора в направлении, перпендикулярном к направлению сжимающей силы F. Упруго деформируемый элемент 24, который располагается между подложкой 23 направляющего приспособления для зубчатой рейки и сжимающим элементом 25 с тем, чтобы выпячиваться в направлении, перпендикулярном к направлению сжимающей силы F, в результате упругой деформацию за счет воздействия сжимающей силы F, направленной от сжимающего элемента 25 в сторону зубчатой рейки 9, выпячивается в сторону цилиндрической внутренней поверхности 12 картера 3 коробки передач за счет приложенной сжимающей силы F, направленной в сторону зубчатой рейки 9. Так как упруго деформируемый элемент 24 выпячивается за счет приложенной таким образом сжимающей силы F, направленной в сторону зубчатой рейки 9, упруго деформируемый элемент 24 на своей наружной периферической поверхности 44 входит в контакт с внутренней поверхностью 12 картера 3 коробки передач.
Винтовой элемент 13 имеет кольцеобразную перпендикулярную сжимающую поверхность 55, которая располагается напротив и контактирует с перпендикулярной воспринимающей давление поверхностью 48 и имеет форму, которая соответствует перпендикулярной воспринимающей давление поверхности 48. Винтовой элемент 13 приспосабливают для передачи на сжимающий элемент 25 сжимающей силы F, направленной в сторону зубчатой рейки 9.
В вышеописанном устройстве 1 рулевого управления реечно-шестеренного типа после того как винтовой элемент 13 посредством резьбы вводят в цилиндрический участок 11 для передачи фиксированной сжимающей силы F на сжимающий элемент 25, винтовой элемент 13 фиксируют на цилиндрическом участке 11 с помощью стопорной гайки 14. Затем сжимающая сила F, приложенная к сжимающему элементу 26, упруго деформирует упруго деформируемый элемент 24 и передается на подложку 23 направляющего приспособления для зубчатой рейки. В результате, подложка 23 направляющего приспособления для зубчатой рейки на своей вогнутой поверхности 21 упруго, с возможностью скольжения, поддерживает зубчатую рейку 9 за счет упругости в направлении сжимающей силы F, обусловленной упругой деформацией упруго деформируемого элемента 24. При вращении вала 6 рулевого управления подложка 23 направляющего приспособления для зубчатой рейки обеспечивает сцепление зубьев 8 рейки с шестерней 7, снижает уровень звуков детонации на участках сцепления между зубьями 8 рейки и шестерней 7, направляет движение зубчатой рейки 9 в ортогональном направлении относительно оси вала 6 рулевого управления благодаря сцеплению. Кроме того, упруго деформируемый элемент 24 выпячивается в сторону цилиндрической внутренней поверхности 12 картера 3 коробки передач благодаря своей упругой деформации, создаваемой приложенной сжимающей силой F, направленной в сторону зубчатой рейки 9, и тем самым входит в контакт с внутренней поверхностью 12 картера 3 коробки передач на своей наружной периферической поверхности 44. Также упруго деформируемый элемент 24 способен изменять величину своего выпячивания или сопротивляемости механическим воздействиям в соответствии с величиной противодействующей силы по отношению к сжимающей силе F. В результате, имеется возможность избежать с большой вероятностью прямого контакта подложки 23 направляющего приспособления для зубчатой рейки с внутренней поверхностью 12 картера 3 коробки передач. Даже если возникает вибрация в подложке 23 направляющего приспособления для зубчатой рейки, можно избежать соударения между подложкой 23 направляющего приспособления для зубчатой рейки и внутренней поверхностью 12 картера 3 коробки передач, создавая тем самым возможность предотвращать возникновение ненормального шума из-за соударения. Кроме того, в направляющем приспособлении 10 для зубчатой рейки, так как упруго деформируемый элемент 24 зажимают между перпендикулярной воспринимающей давление поверхностью 33 подложки 23 направляющего приспособления для зубчатой рейки и перпендикулярной сжимающей поверхностью 42 сжимающего элемента 25, имеется возможность снижать остаточную деформацию упруго деформируемого элемента 24 в связи с его медленной деформацией и передавать стабильную упруго сжимающую силу F на зубчатую рейку 9.
Таким образом, согласно устройству 1 рулевого управления реечно-шестеренного типа, так как упруго сжимающую силу F, направленную на зубчатую рейку 9, можно создавать с помощью упруго деформируемого элемента 24, имеется возможность избегать прямого контакта подложки 23 направляющего приспособления для зубчатой рейки с внутренней поверхностью 12 картера 3 коробки передач. Кроме того, имеется возможность не использовать цилиндрическую пружину и исключить появление ненормального шума, обусловленного остаточной деформацией цилиндрической пружины.
Описанное выше представляет собой пример направляющего приспособления 10 для зубчатой рейки, для которого предоставляют главный участок 26 подложки, имеющий перпендикулярную воспринимающую давление поверхность 33, подобную воспринимающей давление поверхности 22. Альтернативно, как показано на Фигурах 7-9, имеется возможность использовать направляющее приспособление 10 для зубчатой рейки, для которого предоставляют главный участок 26 подложки, имеющий пару наклонных воспринимающих давление поверхностей 61 и 62, как воспринимающая давление поверхность 22. То есть воспринимающая давление поверхность 22 главного участка 26 подложки, показанная на Фигурах 7-9, включает пару наклонных воспринимающих давление поверхностей 61 и 62, которые наклонены относительно направления сжимающей силы F таким образом, что они постепенно расходятся друг от друга в направлении сжимающей силы F, и которые имеют, соответственно, пару торцевых краев 63 и 64, параллельных направлению движения А зубчатой рейки 9 и формируемых в направлении сжимающей силы F, а также пару торцевых краев 65 и 66, параллельных направлению движения А зубчатой рейки 9 и формируемых в направлении, противоположном направлению сжимающей силы F, причем интервал между ними является более узким, чем интервал между парой торцевых краев 63 и 64; пару перпендикулярных воспринимающих давление поверхностей 67 и 68, которые, соответственно, прилегают к торцевым краям 63 и 64 и которые перпендикулярны к направлению сжимающей силы F; и перпендикулярные воспринимающие давление поверхности 69 и 70, которые, соответственно, прилегают к торцевым краям 65 и 66 и которые перпендикулярны к направлению сжимающей силы F.
В случае направляющего приспособления 10 для зубчатой рейки, имеющего главный участок 26 подложки, показанный на Фигурах 7-9, как конкретно показано на Фиг.10, кольцеобразный упруго деформируемый элемент 24 включает пару наклонных сжимающих поверхностей 81 и 82, которые располагаются напротив пары наклонных воспринимающих давление поверхностей 61 и 62, образуемых неизогнутыми плоскими поверхностями, и которые имеют формы, соответствующие паре наклонных воспринимающих давление поверхностей 61 и 62; пару перпендикулярных сжимающих поверхностей 83 и 84, располагающихся напротив перпендикулярных воспринимающих давление поверхностей 67 и 68 и имеющих формы, соответствующие перпендикулярным воспринимающим давление поверхностям 67 и 68; и перпендикулярные сжимающие поверхности 85 и 86, располагающиеся напротив перпендикулярных воспринимающих давление поверхностей 69 и 70 и имеющие формы, соответствующие перпендикулярным воспринимающим давление поверхностям 69 и 70. Кольцеобразный упруго деформируемый элемент 24 помещают между, с одной стороны, перпендикулярной сжимающей поверхностью 42 сжимающего элемента 25 и, с другой стороны, парой перпендикулярных воспринимающих давление поверхностей 67 и 68, парой наклонных воспринимающих давление поверхностей 61 и 62 и перпендикулярными воспринимающими давление поверхностями 69 и 70 подложки 23 направляющего приспособления для зубчатой рейки по отношению к направлению сжимающей силы F. Каждая пара наклонных воспринимающих давление поверхностей 61 и 62 и каждая пара наклонных сжимающих поверхностей 81 и 82, состоящих из неизогнутых плоских поверхностей, находятся в контакте друг с другом; каждая пара перпендикулярных воспринимающих давление поверхностей 67 и 68 и каждая пара перпендикулярных сжимающих поверхностей 83 и 84 находятся в контакте друг с другом; перпендикулярные воспринимающие давление поверхности 69 и 70 и перпендикулярные сжимающие поверхности 85 и 86 находятся в контакте друг с другом; и перпендикулярная воспринимающая давление поверхность 43 и перпендикулярная сжимающая поверхность 42 находятся в контакте друг с другом.
Также в устройстве 1 рулевого управления реечно-шестеренного типа, имеющего направляющее приспособление 10 для зубчатой рейки, показанной на Фигурах 7-10, сжимающая сила F, приложенная к сжимающему элементу 25, упруго деформирует упруго деформируемый элемент 24 и передается на подложку 23 направляющего приспособления для зубчатой рейки. В результате, подложка 23 направляющего приспособления для зубчатой рейки на своей вогнутой поверхности 21 упруго, с возможностью скольжения, поддерживает зубчатую рейку 9 за счет упругости в направлении сжимающей силы F, обусловленной упругой деформацией упруго деформируемого элемента 24. При вращении вала 6 рулевого управления подложка 23 направляющего приспособления для зубчатой рейки обеспечивает сцепление зубьев 8 рейки с шестерней 7, снижает уровень звуков детонации на участках сцепления между зубьями 8 рейки и шестерней 7 и направляет движение зубчатой рейки 9 в ортогональном направлении по отношению к оси вала 6 рулевого управления благодаря сцеплению. Кроме того, упруго деформируемый элемент 24 выпячивается в сторону цилиндрической внутренней поверхности 12 картера 3 коробки передач благодаря своей упругой деформации, создаваемой приложенной сжимающей силой F, направленной в сторону зубчатой рейки 9, и тем самым входит в контакт с внутренней поверхностью 12 картера 3 коробки передач на своей наружной периферической поверхности 44. Далее, упруго деформируемый элемент 24 способен изменять величину своего выпячивания или сопротивляемости механическим воздействиям в соответствии с величиной противодействующей силы по отношению к сжимающей силе F. В результате, имеется возможность избежать с большой долей вероятности прямого контакта подложки 23 направляющего приспособления для зубчатой рейки с внутренней поверхностью 12 картера 3 коробки передач. Даже если произойдет вибрация в подложке 23 направляющего приспособления для зубчатой рейки, имеется возможность избежать соударения между подложкой 23 направляющего приспособления для зубчатой рейки и внутренней поверхностью 12 картера 3 коробки передач, создавая тем самым возможность предотвращать появление ненормального шума, связанного с соударением. Кроме того, в направляющем приспособлении 10 для зубчатой рейки, показанном на Фигурах 7-10, упруго деформируемый элемент 24 зажимают между, с одной стороны, перпендикулярной сжимающей поверхностью 42 сжимающего элемента 25 и, с другой стороны, парой перпендикулярных воспринимающих давление поверхностей 67 и 68, парой наклонных воспринимающих давление поверхностей 61 и 62 и перпендикулярными воспринимающими давление поверхностями 69 и 70 подложки 23 направляющего приспособления для зубчатой рейки; следовательно, имеется возможность снижения остаточной деформации упруго деформируемого элемента 24 вследствие его медленной деформации и прикладывать стабильную упруго сжимающую силу F к зубчатой рейке 9. Кроме того, так как подложка 23 направляющего приспособления для зубчатой рейки воспринимает сжимающую силу F, направленную в сторону зубчатой рейки 9, посредством наклонных воспринимающих давление поверхностей 61 и 62, в случае, когда подложка 23 направляющего приспособления для зубчатой рейки имеет незначительную упругую деформируемость, зубчатая рейка 9 поддерживается с обоих диагональных сторон посредством подложки 23 направляющего приспособления для зубчатой рейки. Следовательно, зубчатая рейка 9 поддерживается, с возможностью скольжения, более устойчиво.
В направляющем приспособлении 10 для зубчатой рейки, показанном на Фигурах 7-10, каждая пара наклонных воспринимающих давление поверхностей 61 и 62 и каждая пара наклонных сжимающих поверхностей 81 и 82 состоит из неизогнутой плоской поверхности. Альтернативно, однако, как показано на Фигурах 11-14, каждую пару наклонных воспринимающих давление поверхностей 61 и 62 и каждую пару наклонных сжимающих поверхностей 81 и 82 можно создавать из полуцилиндрической криволинейной поверхности. Воспринимающая давление поверхность 22 главного участка 26 подложки, показанная на Фигурах 11-13, включает пару наклонных воспринимающих давление поверхностей 61 и 62, соответственно, созданных из полуцилиндрических криволинейных поверхностей, которые наклонены по отношению к направлению сжимающей силы F таким образом, что они постепенно расходятся друг от друга в направлении сжимающей силы F, и которые имеют, соответственно, пару торцевых краев 63 и 64, параллельных направлению движения А зубчатой рейки 9 и формируемых в направлении сжимающей силы F, и пару перпендикулярных воспринимающих давление поверхностей 67 и 68, которые, соответственно, прилегают к торцевым краям 63 и 64 и которые перпендикулярны к направлению сжимающей силы F. Пара наклонных воспринимающих давление поверхностей 61 и 62 прилегает друг к другу на участке пары торцевых краев 65 и 66 в направлении, противоположном сжимающей силы F.
В случае направляющего приспособления 10 для зубчатой рейки, имеющего главный участок 26 подложки, показанный на Фигурах 11-13, как конкретно показано на Фиг.14, кольцеобразный упруго деформируемый элемент 24 включает, в дополнение к наружной периферической поверхности 44 и перпендикулярной воспринимающей давление поверхности 43, пару наклонных сжимающих поверхностей 81 и 82, состоящих, соответственно, из полуцилиндрических криволинейных поверхностей, которые располагаются напротив пары наклонных воспринимающих давление поверхностей 61 и 62, состоящих из полуцилиндрических криволинейных поверхностей, и которые имеют формы, соответствующие паре наклонных воспринимающих давление поверхностей 61 и 62; а также пару перпендикулярных сжимающих поверхностей 83 и 84, располагающихся напротив перпендикулярных воспринимающих давление поверхностей 67 и 68 и имеющих формы, соответствующие формам перпендикулярных воспринимающих давление поверхностей 67 и 68. Кольцеобразный упруго деформируемый элемент 24 помещают между, с одной стороны, перпендикулярной сжимающей поверхностью 42 сжимающего элемента 25 и, с другой стороны, парой наклонных воспринимающих давление поверхностей 61 и 62 и парой перпендикулярных воспринимающих давление поверхностей 67 и 68 подложки 23 направляющего приспособления для зубчатой рейки по отношению к направлению сжимающей силы F. Пара наклонных сжимающих поверхностей 81 и 82 прилегает друг к другу, каждая пара наклонных воспринимающих давление поверхностей 61 и 62 и каждая пара наклонных сжимающих поверхностей 81 и 82 находятся в контакте друг с другом; каждая пара перпендикулярных воспринимающих давление поверхностей 67 и 68 и каждая пара перпендикулярных сжимающих поверхностей 83 и 84 находятся в контакте друг с другом; и перпендикулярная воспринимающая давление поверхность 43 и перпендикулярная сжимающая поверхность 42 находятся в контакте друг с другом.
В направляющем приспособлении 10 для зубчатой рейки, показанном на Фигурах 11-14, подложка 23 направляющего приспособления для зубчатой рейки включает, в дополнение к полуцилиндрической вогнутой поверхности 21, конические поверхности 91 и 92, создаваемые на обоих торцах вогнутой поверхности 21 в направлении движения А. Подложка 23 направляющего приспособления для зубчатой рейки имеет перпендикулярный продолговатый паз 31, расположенный в вогнутой поверхности 21 и протягивающийся перпендикулярно к направлению движения А зубчатой рейки 9.
Также в устройстве 1 рулевого управления реечно-шестеренного типа, имеющего направляющее приспособление 10 для зубчатой рейки, показанное на Фигурах 11-14, имеется возможность получить полезные результаты, аналогичные полезным результатам, полученным в вышеописанном устройстве 1 рулевого управления реечно-шестеренного типа.
Хотя в вышеописанных вариантах осуществления изобретения винтовой элемент 13 вводят посредством резьбы в цилиндрический участок 11 для передачи фиксированной сжимающей силы F на сжимающий элемент 25, винтовой элемент 13 можно исключить, а сжимающий элемент 25 на своей наружной периферической поверхности 49 можно крепить посредством резьбы к внутренней поверхности 12 картера 3 коробки передач с тем, чтобы передавать фиксированную сжимающую силу F на упруго деформируемый элемент 24, когда сжимающий элемент 25 вводят посредством резьбы в цилиндрический участок 11.
Устройство 101 рулевого управления реечно-шестеренного типа, в соответствии с еще одним предпочтительным вариантом осуществления настоящего изобретения, показанным на Фигурах 15-20, состоит из картера 103 коробки передач, изготовленного из алюминия или сплава алюминия и имеющего полый участок 102; вала 6 рулевого управления, поддерживаемого, с возможностью вращения, картером 103 коробки передач посредством роликоподшипников 4 и 5; шестерни 7, которую помещают в полый участок 102 и которую формируют как единое целое на участке торца (вале шестерни) вала 6 рулевого управления и поддерживают, с возможностью вращения, в картере 103 коробки передач с помощью вала 6 рулевого управления; зубчатой рейки 9, на которой создается сцепление зубьев 8 рейки с шестерней 7; и направляющего приспособления 110 для зубчатой рейки, которое помещают в полый участок 102 внутри картера 103 коробки передач и которое поддерживает зубчатую рейку 9 с возможностью скольжения относительно направления ее перемещения А.
Картер 103 коробки передач, имеющий цилиндрический участок 120, включает внутри цилиндрического участка 120 полый участок 115 малого диаметра, границы которого устанавливаются внутренней поверхностью 114 малого диаметра и который предназначается для вмещения подложки 111 направляющего приспособления 110 для зубчатой рейки, упруго деформируемого элемента 112 и жесткой пластины 113, а также полый участок 118 большого диаметра, который является смежным с полым участком 115. Границы участка 118 устанавливаются цилиндрической внутренней поверхностью 116 большого диаметра и он предназначается для вмещения сжимающего элемента 117 направляющего приспособления 110 для зубчатой рейки.
Зубчатая рейка 9, которая располагается, с возможностью движения, в ортогональном направлении А относительно оси вала 6 рулевого управления таким образом, чтобы пройти сквозь картер 103 коробки передач в ортогональном направлении А, имеет полуцилиндрическую наружную периферическую поверхность 15 на обратной стороне своей поверхности, которая находится напротив ее поверхности, где формируют зубья 8 зубчатой рейки.
Направляющее приспособление 110 для зубчатой рейки включает подложку 111 направляющего приспособления для зубатой рейки, которая имеет полуцилиндрическую вогнутую поверхность 121 для скользящего вхождения в контакт с наружной периферической поверхностью 15 зубчатой рейки 9 и имеет воспринимающую давление поверхность 122 для восприятия сжимающей силы F, направленной в сторону зубчатой рейки 9; упруго деформируемый элемент 112, расположенный со стороны воспринимающей давление поверхности 122 подложки 111 направляющего приспособления для зубчатой рейки; сжимающий элемент 117 для передачи на упруго деформируемый элемент 112 сжимающей силы F, направленной в сторону зубчатой рейки 9; регулирующее устройство 123 для регулирования сжимающей силы F, которая будет передаваться на упруго сжимаемый элемент 112 с помощью сжимающего элемента 117; и жесткую пластину 113 в форме диска, помещаемую между упруго деформируемым элементом 112 и сжимающим элементом 117.
Подложка 111 направляющего приспособления для зубчатой рейки, которую изготавливают из металла или синтетической смолы, включает главный участок 126 подложки, имеющий вогнутую поверхность 121 и воспринимающую давление поверхность 122, а также цилиндрический вспомогательный участок 130, который на своем одном торце создается как единое целое на главном участке 126 подложки и пропускается через соответствующие сквозные отверстия 127, 128 и 129 упруго деформируемого элемента 112, сжимающего элемента 117 и жесткой пластины 113.
Главный участок 126 подложки имеет цилиндрическую наружную периферическую поверхность 131 в дополнение к вогнутой поверхности 121 и воспринимающей давление поверхности 122. Воспринимающая давление поверхность 122 имеет полуцилиндрическую криволинейную воспринимающую давление выпуклую поверхность 132, а также пару перпендикулярных воспринимающих давление поверхностей 133 и 134, прилегающих к криволинейной воспринимающей давление выпуклой поверхности 132, и перпендикулярных к направлению сжимающей силы F. Главный участок 126 подложки располагается в цилиндрическом участке 120 картера 103 коробки передач, так что создается зазор между его наружной периферической поверхностью 131 и внутренней поверхностью 114 малого диаметра.
Вспомогательный участок 130 имеет на другом своем торце крестовидную прорезь 135 для облегчения упругой деформации указанного другого торца, чтобы облегчить тем самым его введение в сквозные отверстия 127, 128 и 129, а также выпяченный участок 137, которые входят в зацепление с кольцеобразным ступенчатым участком 136 сжимающего элемента 117 для предотвращения того, чтобы вспомогательный участок 130 выходил из сквозного отверстия 129 сжимающего элемента 117.
Упруго деформируемый элемент 112, изготавливаемый из природного или синтетического каучука или смолы, такой как полиуретановый эластомер, включает криволинейную сжимающую вогнутую поверхность 141, которая располагается напротив и контактирует с криволинейной воспринимающей давление выпуклой поверхностью 132 и имеет форму, соответствующую криволинейной воспринимающей давление выпуклой поверхности 132; пару перпендикулярных сжимающих поверхностей 142 и 143, которые располагаются напротив и контактируют с плоскими перпендикулярными воспринимающими давление поверхностями 133 и 134 и имеют формы, соответствующие формам плоских перпендикулярных воспринимающих давление поверхностей 133 и 134; кольцеобразную перпендикулярную плоскую поверхность 145, которая располагается напротив и контактирует с одной кольцеобразной перпендикулярной плоской поверхностью 144 жесткой пластины 113 и имеет форму, соответствующую форме перпендикулярной плоской поверхности 144, которая перпендикулярна к направлению сжимающей силы F; цилиндрическую наружную периферическую поверхность 146; сквозное отверстие 127, сквозь которое пропускают вспомогательный участок 130; и цилиндрическую внутреннюю периферическую поверхность 148, которую приводят в состояние близкого контакта, с возможностью перемещения, с цилиндрической наружной периферической поверхностью 147 вспомогательного участка 130 и которая устанавливает границы сквозного отверстия 127. Кольцеобразный упруго деформируемый элемент 112 располагается между, с одной стороны, перпендикулярной плоской поверхностью 144 жесткой пластины 113 и, с другой стороны, криволинейной воспринимающей давление выпуклой поверхностью 132 и парой перпендикулярных воспринимающих давление поверхностей 133 и 134 подложки 111 направляющего приспособления для зубчатой рейки по отношению к направлению сжимающей силы F таким образом, чтобы подвергнуться упругой деформации за счет сжимающей силы F, направленной от сжимающего элемента 117 в сторону зубчатой рейки 9 посредством жесткой пластины 113.
Упруго деформируемый элемент 112, который помещают между главным участком 126 подложки 111 направляющего приспособления для зубчатой рейки и сжимающим элементом 117 с тем, чтобы он выпячивался в направлении, перпендикулярном к направлению сжимающей силы F, будучи подвергнут упругой деформации сжимающей силой F, направленной от сжимающего элемента 117 в сторону зубчатой рейки 9, выпячивается в сторону внутренней поверхности 114 малого диаметра цилиндрического участка 120 картера 103 коробки передач за счет приложенной сжимающей силы F, направленной в сторону зубчатой рейки 9. Так как упруго деформируемый элемент 112 выпячивается за счет приложенной таким образом сжимающей силы F, направленной в сторону зубчатой рейки 9, упруго деформируемый элемент 112 на своей наружной периферической поверхности 146 входит в контакт с внутренней поверхностью 114 малого диаметра картера 103 коробки передач.
Кольцеобразный сжимающий элемент 117, который изготавливают из металла или синтетической смолы, включает цилиндрический участок 152 малого диаметра, расположенный в полом участке 115 малого диаметра и имеющий наружную поверхность 151 малого диаметра; цилиндрический участок 154 большого диаметра, смежный с цилиндрическим участком 152 малого диаметра, расположенный в полом участке 118 большого диаметра и имеющий наружную поверхность 153 большого диаметра; сквозное отверстие 129, сквозь которое пропускают вспомогательный участок 130; и сквозное отверстие 155, соединяющееся со сквозным отверстием 129 и имеющее диаметр больший, чем диаметр сквозного отверстия 129. Цилиндрический участок 152 малого диаметра имеет кольцеобразную перпендикулярную сжимающую поверхность 157, которая является перпендикулярной к направлению сжимающей силы F и располагается напротив и контактирует с другой кольцеобразной перпендикулярной плоской поверхностью 156 жесткой пластины 113, которая имеет форму, соответствующую форме перпендикулярной плоской поверхности 156.
Регулирующее устройство 123 включает кольцеобразный ступенчатый участок 161 картера 103 коробки передач, предназначенный для вмещения подложки 111 направляющего приспособления для зубчатой рейки и упруго деформируемого элемента 112; кольцеобразный ступенчатый участок 162 сжимающего элемента 117, который входит в контакт со ступенчатым участком 161; и участок 163 резьбового соединения для соединения посредством резьбы сжимающего элемента 117 с внутренней поверхностью 116 большого диаметра, которая является внутренней поверхностью картера 103 коробки передач. Ступенчатый участок 161 помещают между внутренней поверхностью 114 малого диаметра и внутренней поверхностью 116 большого диаметра. Ступенчатый участок 162 помещают между наружной поверхностью 151 малого диаметра и наружной поверхностью 153 большого диаметра. Участок 163 резьбового соединения состоит из внутренней резьбы 164, нарезанной во внутренней поверхности 116 большого диаметра, и наружной резьбы 165, нарезанной в наружной поверхности 153 большого диаметра, и помещается между внутренней поверхностью 116 большого диаметра и наружной поверхностью 153 большого диаметра.
Кольцеобразная жесткая пластина 113, имеющая внешний диаметр, в основном, идентичный диаметру наружной поверхности 151 малого диаметра, включает перпендикулярную плоскую поверхность 144, перпендикулярную плоскую поверхность 156 и сквозное отверстие 128, и пластина помещается в полом участке 115. В этом варианте осуществления изобретения жесткую пластину 113 можно исключить, и перпендикулярную сжимающую поверхность 157 сжимающего элемента 117 можно непосредственно вводить в контакт с перпендикулярной плоской поверхностью 145 упруго деформируемого элемента 112.
В вышеописанном устройстве 101 рулевого управления реечно-шестеренного типа, когда сжимающий элемент 117 вводят посредством резьбы в цилиндрический участок 120 за счет резьбового соединения наружной резьбы 165 с внутренней резьбой 164 для того, чтобы ступенчатый участок 162 вошел в контакт со ступенчатым участком 161 и чтобы фиксированная сжимающая сила F была тем самым направлена на упруго деформируемый элемент 112 посредством жесткой пластины 113, сжимающая сила F, направленная на упруго деформируемый элемент 112, упруго деформирует упруго деформируемый элемент 112 и передается на подложку 111 направляющего приспособления для зубчатой рейки. В результате, подложка 111 для зубчатой рейки на своей вогнутой поверхности 121 упруго поддерживает, с возможностью скольжения, зубчатую рейку 9 за счет упругости в направлении сжимающей силы F, обусловленной упругой деформацией упруго деформируемого элемента 112. При повороте вала 6 рулевого управления подложка 111 направляющего приспособления для зубчатой рейки обеспечивает сцепление зубьев 8 рейки с шестерней 7, снижает уровень звуков детонации на участках сцепления между зубьями 8 зубчатой рейки и шестерней 7 и направляет движение зубчатой рейки 9 в направлении А благодаря сцеплению. Кроме того, упруго деформируемый элемент 112 выпячивается в сторону внутренней поверхности 114 малого диаметра, которая является цилиндрической внутренней поверхностью картера 103 коробки передач, благодаря его упругой деформации, вызванной приложенной сжимающей силой F, направленной в сторону зубчатой рейки 9, и тем самым входит в контакт с внутренней поверхностью 114 малого диаметра на своей наружной периферической поверхности 146. Также упруго деформируемый элемент 112 способен изменять величину своего выпячивания или сопротивляемости механическим воздействиям в соответствии с величиной противодействующей силы по отношению к сжимающей силе F. В результате, имеется возможность избежать с большой вероятностью прямого контакта подложки 111 направляющего приспособления для зубчатой рейки с внутренней поверхностью 114 малого диаметра. Даже если возникает вибрация в подложке 111 направляющего приспособления для зубчатой рейки, можно избежать соударения между подложкой 111 направляющего приспособления для зубчатой рейки с внутренней поверхностью 114 малого диаметра, тем самым делая возможным предотвращение возникновения ненормального шума из-за соударения. Кроме того, в направляющем приспособлении 110 для зубчатой рейки, так как упруго деформируемый элемент 112 зажимают между, с одной стороны, перпендикулярными воспринимающими давление поверхностями 133 и 134 подложки 111 направляющего приспособления для зубчатой рейки и, с другой стороны, перпендикулярной плоской поверхностью 144 жесткой пластины 113, существует возможность снижать остаточную деформацию упруго деформируемого элемента 112 в связи с его медленной деформацией и передавать стабильную упруго сжимающую силу F на зубчатую рейку 9. Кроме того, в результате того, что сжимающую силу F по отношению к упруго деформируемому элементу 112, создаваемую с помощью сжимающего элемента 117, можно регулировать посредством резьбового соединения на участке 163 резьбового соединения и контакта ступенчатого участка 162 со ступенчатым участком 161 в регулирующем устройстве 123, величину выпячивания или сопротивляемости механическим воздействиям упруго деформируемого элемента 112 можно регулировать для получения заранее определенной величины.
Таким образом, согласно устройству 101 рулевого управления реечно-шестеренного типа, так как упруго сжимающую силу F, направленную на зубчатую рейку 9, можно создавать с помощью упруго деформируемого элемента 112, имеется возможность избегать прямого контакта подложки 111 направляющего приспособления для зубчатой рейки с внутренней поверхностью 114 малого диаметра. Кроме того, имеется возможность не использовать цилиндрическую пружину и исключить появление ненормального шума, обусловленного остаточной деформацией цилиндрической пружины. Дополнительно к этому имеется возможность легко регулировать оптимальную упруго сжимающую силу F на все время без необходимости прибегать к сложной операции.
В настоящем изобретении вместо регулирующего устройства 123, имеющего ступенчатые участки 161 и 162, имеется возможность использовать регулирующее устройство 123, которое не имеет ступенчатых участков 161 и 162, как показано на Фигурах 21 и 22. То есть в устройстве 101 рулевого управления реечно-шестеренного типа, имеющего регулирующее устройство 123, показанное на Фигурах 21 и 22, вместо полого участка 115 и полого участка 118 различных диаметров картер 103 коробки передач, имеющий цилиндрический участок 120, имеет на своем цилиндрическом участке 120 полый участок 172 такого же диаметра, границы которого устанавливаются цилиндрической внутренней поверхностью 171 такого же диаметра, и который вмещает подложку 111 направляющего приспособления для зубчатой рейки, упруго деформируемый элемент 112 и жесткую пластину 113. Один торец полого участка 172 является открытым в кольцеобразной торцевой поверхности 173 цилиндрического участка 120, а сжимающий элемент 117 включает цилиндрический участок 176, который помещается в полом участке 172 и который имеет кольцеобразную торцевую поверхность 174, цилиндрическую наружную поверхность 175 и сквозное отверстие 129. Торцевая поверхность 174 располагается напротив и контактирует с перпендикулярной плоской поверхностью 156 жесткой пластины 113 и имеет форму, соответствующую перпендикулярной плоской поверхности 156. Регулирующее устройство 123 включает фланцевый участок 178, который создают как единое целое на цилиндрическом участке 176 и который имеет кольцеобразную боковую поверхность 177, входящую в контакт с торцевой поверхностью 173, а также участок 179 резьбового соединения, который делает возможным резьбовое соединение сжимающего элемента 117 с цилиндрическим участком 120 картера 103 коробки передач. Участок 179 резьбового соединения состоит из внутренней резьбы 164, нарезанной во внутренней поверхности 171, и наружной резьбы 165, нарезанной в наружной поверхности 175, и помещается между цилиндрической внутренней поверхностью 171 и цилиндрической наружной поверхностью 175 цилиндрического участка 176.
Также в устройстве 101 рулевого управления реечно-шестеренного типа, имеющего регулирующее устройство 123, показанное на Фигурах 21 и 22, когда сжимающий элемент 117 вводят посредством резьбы в цилиндрический участок 120, используя резьбовое соединение наружной резьбы 165 с внутренней резьбой 164 для того, чтобы боковая поверхность 177 вошла в контакт с торцевой поверхностью 173, фиксированную сжимающую силу F можно таким образом направить на упруго деформируемый элемент 112 посредством жесткой пластины 113. В результате, является возможным направить сжимающую силу F на зубчатую рейку 9. Кроме того, в результате того, что сжимающую силу F по отношению к упруго деформируемому элементу 112, создаваемую сжимающим элементом 117, можно регулировать за счет резьбового соединения на участке 179 резьбового соединения и за счет контакта боковой поверхности 177 с торцевой поверхностью 173 в регулирующем устройстве 123, величину выпячивания или сопротивляемости механическим воздействиям упруго деформируемого элемента 112 можно регулировать для получения заранее определенной величины. Следовательно, существует возможность легкого регулирования оптимальной упруго сжимающей силы F на все время без необходимости прибегать к сложной операции.
Вместо регулирующего устройства 123, имеющего ступенчатые участки 161 и 162 или фланцевый участок 178, возможно использование регулирующего устройства 123, которое не имеет ступенчатых участков 161 и 162 или фланцевого участка 178, как показано на Фигурах 23 и 24. То есть вместо ступенчатых участков 161 и 162 или фланцевого участка 178 регулирующее устройство 123, показанное на Фигурах 23 и 24, имеет большое количество колоннообразных выступов 181, которые формируют как единое целое на криволинейной воспринимающей давление выпуклой поверхности 132, воспринимающей давление плоскости 122 на главном участке 126 подложки 111 направляющего приспособления для зубчатой рейки таким образом, чтобы они вставлялись в упруго деформируемый элемент 112 и протягивались в сторону торцевой поверхности 174 сжимающего элемента 117 вплоть до непосредственной близости к перпендикулярной плоской поверхности 144 жесткой пластины 113. Также в устройстве 101 рулевого управления реечно-шестеренного типа, имеющего регулирующее устройство 123, состоящее из вышеописанных выступов 181 и участка 179 резьбового соединения, имеется возможность прикладывать фиксированную сжимающую силу F к упруго деформируемому элементу 112 посредством жесткой пластины 113, в то время, как перпендикулярная плоская поверхность 144 жесткой пластины 113 приводится в положение непосредственной близости к кончикам выступов 181, когда сжимающий элемент 117 вводят посредством резьбы в цилиндрический участок 120 за счет резьбового соединения наружной резьбы 165 с внутренней резьбой 164. Кроме того, можно прикладывать стабильную сжимающую силу F к зубчатой рейке 9 путем ограничения сжатия свыше фиксированного уровня упруго деформируемого элемента 112 за счет выступов 181. Таким образом, в результате того, что сжимающую силу F, приложенную к упруго деформируемому элементу 112 посредством сжимающего элемента 117, можно регулировать с помощью резьбового соединения на участке 179 резьбового соединения и путем ограничения сжатия свыше фиксированного уровня упруго деформируемого элемента 112 за счет выступов 181 в регулирующем устройстве 123, величину выпячивания или сопротивляемости механическим воздействиям упруго деформируемого элемента 112 можно регулировать для получения заранее определенной величины. Следовательно, существует возможность легкого регулирования оптимальной упруго сжимающей силы F на все время без необходимости прибегать к сложной операции.
Хотя в вышеописанном варианте осуществления изобретения используют подложку 111 направляющего приспособления для зубчатой рейки, которая имеет криволинейную воспринимающую давление выпуклую поверхность 132 и пару перпендикулярных воспринимающих давление поверхностей 133 и 134, альтернативно можно использовать положку 111 зубчатой рейки, такую как показанная на Фигурах 25-28. В подложке 111 зубчатой рейки, показанной на Фигурах 25-28, главный участок 126 подложки включает, вместо криволинейной воспринимающей давление выпуклой поверхности 132 и пары перпендикулярных воспринимающих давление поверхностей 133 и 134, одну кольцеобразную перпендикулярную воспринимающую давление поверхность 191, которая является перпендикулярной к направлению сжимающей силы F и которая воспринимает сжимающую силу F, направленную от упруго деформируемого элемента 112 в сторону зубчатой рейки 9; продолговатый нижний паз 192, расположенный в нижней части вогнутой поверхности 121 и протягивающийся параллельно направлению А зубчатой рейки 9; и перпендикулярный продолговатый паз 193, расположенный в вогнутой поверхности 121 и протягивающийся перпендикулярно к направлению протяжения продолговатого нижнего паза 192. Смазочное масло, такое как консистентная смазка, накапливается в продолговатом нижнем пазу 192 и перпендикулярном продолговатом пазу 193, который является более узким и менее глубоким, чем продолговатый нижний паз 192. Для подложки 111 зубчатой рейки, показанной на Фигурах 25-28, используют цилиндрический или дискообразный упруго деформируемый элемент 112, как показанный на Фиг.29, который имеет сквозное отверстие 127 и кольцеобразные плоские сжимающие поверхности 194 и 195, которые являются перпендикулярными к направлению сжимающей силы F. Одна плоская сжимающая поверхность 194 располагается напротив и контактирует с перпендикулярной воспринимающей давление поверхностью 191 и имеет форму, соответствующую перпендикулярной воспринимающей давление поверхности 191, в то время как другая плоская сжимающая поверхность 195 располагается напротив и контактирует с перпендикулярной плоской поверхностью 144 жесткой пластины 113. Также в случае вышеописанной подложки 111 зубчатой рейки, показанной на Фигурах 25-28, в результате того, что сжимающую силу F, приложенную к упруго деформируемому элементу 112 посредством сжимающего элемента 117, можно регулировать с помощью регулирующего устройства 123, величину выпячивания или сопротивляемости механическим воздействиям упруго деформируемого элемента 112 можно регулировать для получения заранее определенной величины.
Формула изобретения
1. Направляющее приспособление для зубчатой рейки, предназначенное для использования в устройстве рулевого управления, реечно-шестеренного типа, содержащее подложку направляющего приспособления для зубчатой рейки, имеющую вогнутую поверхность, которая входит в контакт с возможностью скольжения с зубчатой рейкой, и имеющую воспринимающую давление поверхность, предназначенную воспринимать сжимающую силу, направленную на зубчатую рейку; упругодеформируемый элемент, расположенный со стороны воспринимающей давление поверхности указанной подложки направляющего приспособления для зубчатой рейки; и сжимающий элемент для передачи на указанный упругодеформируемый элемент сжимающей силы, направленной на зубчатую рейку, при этом указанный упругодеформируемый элемент помещают между указанной подложкой направляющего приспособления для зубчатой рейки и указанным сжимающим элементом с тем, чтобы он выпячивался в направлении, перпендикулярном по отношению к направлению сжимающей силы за счет того, что упруго деформируется сжимающей силой, направленной от указанного сжимающего элемента к зубчатой рейке, каждый из указанных упругодеформируемого элемента и указанного сжимающего элемента имеет сквозное отверстие, указанная подложка направляющего приспособления для зубчатой рейки включает главный участок подложки, имеющий вогнутую поверхность и воспринимающую давление поверхность и вспомогательный участок, который на одном своем конце создается как единое целое на главном участке подложки и пропускается через каждое из сквозных отверстий указанного упругодеформируемого элемента и указанного сжимающего элемента, указанная подложка направляющего приспособления для зубчатой рейки имеет на другом конце вспомогательного участка прорезь для облегчения введения вспомогательного участка в сквозные отверстия, а также выпуклый участок для предотвращения выхода вспомогательного участка из сквозного отверстия указанного сжимающего элемента.
2. Направляющее приспособление для зубчатой рейки по п.1, отличающееся тем, что воспринимающая давление поверхность имеет перпендикулярную воспринимающую давление поверхность, которая является перпендикулярной к направлению сжимающей силы, а указанный упругодеформируемый элемент включает перпендикулярную сжимающую поверхность, расположенную напротив перпендикулярной воспринимающей давление поверхности и имеющую форму, соответствующую перпендикулярной воспринимающей давление поверхности, и его помещают между перпендикулярной воспринимающей давление поверхностью и указанным сжимающим элементом по отношению к направлению сжимающей силы.
3. Направляющее приспособление для зубчатой рейки по п.2, отличающееся тем, что перпендикулярная воспринимающая давление поверхность и перпендикулярная сжимающая поверхность контактируют друг с другом.
4. Направляющее приспособление для зубчатой рейки по п.1, отличающееся тем, что воспринимающая давление поверхность включает пару наклонных воспринимающих давление поверхностей, которые наклонены по отношению к направлению сжимающей силы таким образом, чтобы постепенно отходить друг от друга в направлении сжимающей силы, а также пару перпендикулярных воспринимающих давление поверхностей, которые соответствующим образом прилегают к торцевым краям пары наклонных воспринимающих давление поверхностей в направлении сжимающей силы и которые являются перпендикулярными к направлению сжимающей силы, при этом указанный упругодеформируемый элемент включает пару наклонных сжимающих поверхностей, которые располагаются напротив пары наклонных воспринимающих давление поверхностей и имеют формы, соответствующие формам пары наклонных воспринимающих давление поверхностей, а также пару перпендикулярных сжимающих поверхностей, которые располагаются напротив пары перпендикулярных воспринимающих давление поверхностей и имеют формы, соответствующие формам перпендикулярных воспринимающих давление поверхностей, и его помещают между, с одной стороны, указанного сжимающего элемента и, с другой стороны, наклонных воспринимающих давление поверхностей и перпендикулярных воспринимающих давление поверхностей по отношению к направлению сжимающей силы.
5. Направляющее приспособление для зубчатой рейки по п.4, отличающееся тем, что торцевые края пары наклонных воспринимающих давление поверхностей в направлении сжимающей силы являются параллельными к направлению движения зубчатой рейки.
6. Направляющее приспособление для зубчатой рейки по п.4 или 5, отличающееся тем, что каждая из наклонных воспринимающих давление поверхностей и наклонных сжимающих поверхностей является неизогнутой плоской поверхностью или криволинейной поверхностью.
7. Направляющее приспособление для зубчатой рейки по п.4 или 5, отличающееся тем, что наклонная воспринимающая давление поверхность и наклонная сжимающая поверхность контактируют друг с другом, и перпендикулярная воспринимающая давление поверхность и перпендикулярная сжимающая поверхность контактируют друг с другом.
8. Направляющее приспособление для зубчатой рейки по п.4 или 5, отличающееся тем, что пара наклонных воспринимающих давление поверхностей прилегает друг к другу, и пара наклонных сжимающих поверхностей прилегает друг к другу.
9. Направляющее приспособление для зубчатой рейки по п.4 или 5, отличающееся тем, что пара наклонных воспринимающих давление поверхностей имеет, соответственно, другие торцевые края, которые располагаются в направлении, противоположном по отношению к направлению сжимающей силы, и которые являются параллельными направлению движения зубчатой рейки, причем интервал между другими торцевыми краями является более узким, чем внутренний интервал между парой торцевых краев в направлении сжимающей силы, отличающееся тем, что воспринимающая давление поверхность имеет другую перпендикулярную воспринимающую давление поверхность, которая прилегает к каждому из других торцевых краев и является перпендикулярной к направлению сжимающей силы, и отличающееся тем, что указанный упругодеформируемый элемент включает другую перпендикулярную сжимающую поверхность, которая располагается напротив другой перпендикулярной воспринимающей давление поверхности и имеет форму, соответствующую форме другой перпендикулярной воспринимающей давление поверхности, и его помещают между другой перпендикулярной воспринимающей давление поверхностью и указанным сжимающим элементом по отношению к направлению сжимающей силы.
10. Направляющее приспособление для зубчатой рейки по п.9, отличающееся тем, что другая перпендикулярная воспринимающая давление поверхность и другая перпендикулярная сжимающая поверхность контактируют друг с другом.
11. Направляющее приспособление для зубчатой рейки по любому из пп.1-5, отличающееся тем, что указанный сжимающий элемент имеет перпендикулярную сжимающую поверхность, которая перпендикулярна к направлению сжимающей силы, а указанный упругодеформируемый элемент имеет перпендикулярную воспринимающую давление поверхность, которая располагается напротив перпендикулярной сжимающей поверхности указанного сжимающего элемента и имеет форму, соответствующую форме перпендикулярной воспринимающей давление поверхности указанного сжимающего элемента, и его можно помещать между указанной подложкой направляющего приспособления для зубчатой рейки и перпендикулярной сжимающей поверхностью указанного сжимающего элемента по отношению к направлению сжимающей силы.
12. Направляющее приспособление для зубчатой рейки по п.11, отличающееся тем, что перпендикулярная воспринимающая давление поверхность указанного упругодеформируемого элемента и перпендикулярная сжимающая поверхность указанного сжимающего элемента контактируют друг с другом.
13. Направляющее приспособление для зубчатой рейки по любому из пп.1-5, отличающееся тем, что указанная подложка направляющего приспособления для зубчатой рейки имеет перпендикулярный продолговатый паз, расположенный в вогнутой поверхности и протягивающийся перпендикулярно относительно направления движения зубчатой рейки.
14. Направляющее приспособление для зубчатой рейки по любому из пп.1-5, отличающееся тем, что указанная подложка направляющего приспособления для зубчатой рейки имеет продолговатый нижний паз, расположенный в нижней части вогнутой поверхности и протягивающийся параллельно относительно направления движения зубчатой рейки.
15. Направляющее приспособление для зубчатой рейки по любому из пп.1-5, отличающееся тем, что указанная подложка направляющего приспособления для зубчатой рейки имеет перпендикулярный продолговатый паз, расположенный в вогнутой поверхности и протягивающийся перпендикулярно к направлению движения зубчатой рейки, и продолговатый нижний паз, расположенный в нижней части вогнутой поверхности и протягивающийся параллельно относительно направления движения зубчатой рейки, причем продолговатый нижний паз является более широким и глубоким, чем перпендикулярный продолговатый паз.
16. Направляющее приспособление для зубчатой рейки по любому из пп.1-5, отличающееся тем, что указанную подложку направляющего приспособления для зубчатой рейки или сжимающий элемент изготавливают из металла или синтетической смолы.
17. Направляющее приспособление для зубчатой рейки по любому из пп.1-5, отличающееся тем, что указанный упругодеформируемый элемент изготавливают из природного или синтетического каучука или смолы, такой как полиуретановый эластомер.
18. Устройство рулевого управления реечно-шестеренного типа, содержащее картер коробки передач; шестерню, которая поддерживается с возможностью вращения в указанном картере коробки передач; зубчатую рейку, на которой происходит сцепление зубьев с указанной шестерней; и направляющее приспособление для зубчатой рейки, согласно любому из пп.1-5, предназначенное для поддержания, с возможностью скольжения, указанной зубчатой рейки, при этом указанная подложка направляющего приспособления для зубчатой рейки и указанный сжимающий элемент помещают в указанный картер коробки передач с зазором относительно внутренней поверхности указанного картера коробки передач, а указанный упругодеформируемый элемент приспосабливают таким образом, чтобы он входил в контакт с внутренней поверхностью указанного картера коробки передач, когда указанный упругодеформируемый элемент выпячивается за счет приложенной сжимающей силы, направленной на указанную зубчатую рейку.
19. Устройство рулевого управления реечно-шестеренного типа по п.18, дополнительно включающее винтовой элемент, который крепится с помощью резьбы во внутренней поверхности указанного картера коробки передач с тем, чтобы передавать на указанный сжимающий элемент сжимающую силу, направленную на указанную зубчатую рейку.
20. Устройство рулевого управления реечно-шестеренного типа по п.18, отличающееся тем, что указанный сжимающий элемент крепится с помощью резьбы к внутренней поверхности указанного картера коробки передач со стороны периферической поверхности.
21. Устройство рулевого управления реечно-шестеренного типа по п.18, отличающееся тем, что указанное направляющее приспособление для зубчатой рейки дополнительно включает регулирующее устройство для регулирования сжимающей силы, которая передается от указанного сжимающего элемента на указанный упругодеформируемый элемент.
22. Устройство рулевого управления реечно-шестеренного типа по п.21, отличающееся тем, что указанное регулирующее устройство включает ступенчатый участок указанного картера коробки передач; ступенчатый участок указанного сжимающего элемента, который входит в контакт с этим ступенчатым участком; и участок резьбового соединения для соединения посредством резьбы указанного сжимающего элемента с внутренней поверхностью указанного картера коробки передач.
23. Устройство рулевого управления реечно-шестеренного типа по п.22, отличающееся тем, что указанный картер коробки передач включает полый участок малого диаметра, границы которого устанавливаются цилиндрической внутренней поверхностью малого диаметра и который предназначается для вмещения указанной подложки направляющего приспособления для зубчатой рейки и указанного упругодеформируемого элемента, а также полый участок большого диаметра, который является смежным с полым участком малого диаметра и границы которого устанавливаются цилиндрической внутренней поверхностью большого диаметра, и отличающееся тем, что указанный сжимающий элемент включает цилиндрический участок малого диаметра, расположенный в полом участке малого диаметра и имеющий наружную поверхность малого диаметра, а также цилиндрический участок большого диаметра, имеющий наружную поверхность большого диаметра, которая является смежной с цилиндрическим участком малого диаметра, и располагающийся в полом участке большого диаметра, причем ступенчатый участок указанного картера коробки передач помещают между внутренней поверхностью малого диаметра и внутренней поверхностью большого диаметра, ступенчатый участок указанного сжимающего элемента помещают между наружной поверхностью малого диаметра и наружной поверхностью большого диаметра, участок резьбового соединения помещают между внутренней поверхностью большого диаметра и наружной поверхностью большого диаметра.
24. Устройство рулевого управления реечно-шестеренного типа по п.21, отличающееся тем, что указанный картер коробки передач имеет полый участок, границы которого устанавливаются цилиндрической внутренней поверхностью и который предназначается для вмещения указанной подложки направляющего приспособления для зубчатой рейки и указанного упругодеформируемого элемента, а также торцевую поверхность, в которой открывается один конец полого участка, указанный сжимающий элемент имеет цилиндрический участок, который располагается в полом участке, а указанное регулирующее устройство включает фланцевый участок, который создается как единое целое на цилиндрическом участке и имеет кольцеобразную боковую поверхность, входящую в контакт с торцевой поверхностью, а также участок резьбового соединения, который делает возможным резьбовое соединение указанного сжимающего элемента с указанным картером коробки передач, причем участок резьбового соединения помещают между цилиндрической внутренней поверхностью и цилиндрической наружной поверхностью цилиндрического участка.
25. Устройство рулевого управления реечно-шестеренного типа по п.21, отличающееся тем, что указанный картер коробки передач включает полый участок, границы которого устанавливаются цилиндрической внутренней поверхностью и который предназначается для вмещения указанной подложки направляющего приспособления для зубчатой рейки и указанного упругодеформируемого элемента, указанный сжимающий элемент включает цилиндрический участок, имеющий торцевую поверхность, которая располагается в полом участке, а указанное регулирующее устройство включает выступ, который создается как единое целое на указанной подложке направляющего приспособления для зубчатой рейки таким образом, чтобы он был встроен в указанный упругодеформируемый элемент и протягивался в направлении торцевой поверхности сжимающего элемента, и участок резьбового соединения, который делает возможным соединение посредством резьбы указанного сжимающего элемента с указанным картером коробки передач, причем участок резьбового соединения помещают между цилиндрической внутренней поверхностью и цилиндрической наружной поверхностью цилиндрического участка.
26. Устройство рулевого управления реечно-шестеренного типа по п.21, дополнительно включающее жесткую пластину, помещаемую между указанным упругодеформируемым элементом и указанным сжимающим элементом.
27. Устройство рулевого управления реечно-шестеренного типа по п.21, отличающееся тем, что каждая из указанных деталей: указанная подложка направляющего приспособления для зубчатой рейки и указанный сжимающий элемент изготовлены из полимерной смолы. Приоритеты по пунктам:
09.03.2004 по пп.1-20;
08.09.2004 по пп.21-27.
РИСУНКИ
|
|