|
|
(21), (22) Заявка: 2009114242/11, 14.04.2009
(24) Дата начала отсчета срока действия патента:
14.04.2009
(46) Опубликовано: 20.08.2010
(56) Список документов, цитированных в отчете о поиске:
SU 1782780 A1, 23.12.1992. SU 839751 A1, 23.06.1981. SU 1507602 A1, 14.12.1987. SU 1516385 A1, 23.10.1989. FR 2563336 A1, 25.10.1985.
Адрес для переписки:
399770, Липецкая обл., г. Елец, ул. Коммунаров, 28, Елецкий государственный университет им. И.А. Бунина, ректору В.П. Кузовлеву
|
(72) Автор(ы):
Сливинский Евгений Васильевич (RU), Зайцев Андрей Анатольевич (RU), Нифонтов Алексей Анатольевич (RU), Суворова Елена Александровна (RU)
(73) Патентообладатель(и):
Государственное образовательное учреждение высшего профессионального образования “Елецкий государственный университет им. И.А. Бунина” (RU)
|
(54) ТОПЛИВНЫЙ БАК ДИЗЕЛЯ
(57) Реферат:
Изобретение относится к области систем подачи топлива двигателей внутреннего сгорания (ДВС), широко используемых в конструкциях автомобилей, тракторов, строительно-дорожных машин. Топливный бак дизеля содержит корпус (1), горловину (2) с фильтрующей сеткой (4), сливную пробку (19) и поплавок (11), взаимодействующий с рычагами управления (7, 8) с зацепами (6), фиксирующими фильтрующую сетку (4) и сливную пробку (19). Поплавок (11) на своей внешней образующей поверхности по высоте снабжен тремя пазами (10, 13), расположенными относительно друг друга под углом 90°. Паз (13) выполнен параллельным относительно вертикальной оси симметрии поплавка (11), а пазы (10) – под углом к оси симметрии. В пазу (13) размещен вертикальный стержень (14), конец которого жестко закреплен на днище топливного бака. В пазах (10) подвижно размещены подпружиненные пружиной растяжения (12) относительно друг друга рычаги (7, 8). Одни концы рычагов (7, 8) снабжены зацепами (6), взаимодействующими с упором (5) фильтрующей сетки (4), а другие с помощью шарниров (9) установлены на днище топливного бака. Рычаг (8) выполнен двуплечим, и его второе плечо (15) связано с Г-образной формы стержнем (16), контактирующим со сквозным отверстием (17) тела (18) сливной пробки (19). Технический результат: упрощение конструкции и повышение надежности системы по предупреждению несанкционированного отбора топлива из топливных баков ДВС. 2 ил.
Предлагаемое изобретение относится к области систем подачи топлива двигателей внутреннего сгорания, широко используемых в конструкциях автомобилей, тракторов, строительно-дорожных машин.
Известен топливный бак дизеля, входящий в систему подачи топлива дизельного двигателя, которая описана и показана в книге Г.В.Забегалова, Э.Г.Ронинсона. Бульдозеры, скреперы, грейдеры, Издание второе перераб. и доп. М.: Высшая школа, 1991 на стр.57-59, рис.24. Такой топливный бак предназначен для хранения запаса топлива и позволяет работать дизелю при полной нагрузке 10-16 часов. Топливный бак снабжен заливной горловиной с сетчатым фильтром, указателем уровня топлива и сливной пробкой. Существенным недостатком описанного топливного бака является то, что он не снабжен устройством, исключающим несанкционированный отбор топлива, который легко можно осуществить, открутив сливную пробку или же удалив сетчатый фильтр и опустив в бак шланг, осуществить откачку топлива. Последняя операция крайне нежелательна, так как вместе со шлангом в бак попадают различные частицы грязи, пыли и т.д., что впоследствии существенно сказывается на надежной работе топливной системы, да и всего дизеля в целом.
Известен топливный бак безрельсового транспортного средства, описанный в А.С. СССР 1782780 А1. Конструкция такого бака решает вышеизложенную проблему за счет фиксации фильтрующей сетки и сливной пробки, однако за счет наличия упругих связей, направляющих блоков и т.д. она является сложной и недостаточно надежной.
Поэтому целью предлагаемого изобретения является упрощение конструкции и повышение надежности системы по предупреждению несанкционированного отбора топлива из топливного бака.
Поставленная цель достигается тем, что поплавок на своей внешней образующей поверхности по высоте снабжен по крайней мере тремя пазами, расположенными относительно друг друга под углом 90°, при этом один из них выполнен параллельным относительно вертикальной оси симметрии поплавка, а два других – под углом к последней и в них, соответственно, с одной стороны размещен вертикальный стержень, жестко закрепленный на днище топливного бака, и с другой, подпружиненные пружиной растяжения относительно друг друга рычаги, одни концы которых снабжены зацепами, взаимодействующими с фильтрующей сеткой, а другие шарнирно установлены на днище упомянутого топливного бака, причем один из рычагов выполнен двуплечим и его второе плечо связано с Г-образной формы стержнем, контактирующим со сквозным отверстием тела сливной пробки.
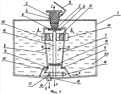
На фиг.1 показан общий вид топливного бака дизеля в разрезе продольной плоскостью, а на фиг.2 – часть его сечения по АА.
Топливный бак дизеля состоит из корпуса 1 с горловиной 2 и крышки 3. В горловине 2 размещена фильтрующая сетка 4 с упором 5, взаимодействующим с зацепами 6 правого 7 и левого 8 рычагов с помощью шарниров 9, установленных на корпусе 1. Правый 7 и левый 8 рычаги подвижно размещены в пазах 10 поплавка 11 и подпружинены между собой пружиной растяжения 12. Поплавок 11 также снабжен другим пазом 13 и в нем подвижно размещен вертикальный стержень 14, конец которого жестко закреплен на корпусе 1 топливного бака. Левый рычаг 8 имеет второе плечо 15, которое шарнирно присоединено к Г-образной формы стержню 16, контактирующему с отверстием 17 тела 18 сливной пробки 19. В корпус 1 топливного бака залито топливо 20.
Работает топливный бак дизеля следующим образом. После заправки топливом 20 топливного бака его поплавок 11 находится в верхнем положении и детали устройства расположены так, как это показано на фиг.1. При этом правый рычаг 7 и левый рычаг 8 под действием пружины растяжения 12 стремятся получить угловой поворот по стрелке В, что способствует зацепам 6, входящим в контакт с упором 5, фиксировать фильтрующую сетку 4, тем самым исключая возможность ее удаления по стрелке С из горловины 2 корпуса 1 топливного бака. Наличие же фильтрующей сетки 4 не позволит произвести отбор топлива 20 из топливного бака. В то же время слить топливо 20 из корпуса 1 путем удаления сливной пробки 19 по стрелке Е также невозможно, так как она зафиксирована Г-образным стержнем 16. По мере расхода топлива 20 дизелем уровень его понижается, и тогда поплавок 11 опускается в нижнюю часть топливного бака по стрелке F, а так как пазы 10 его выполнены наклонными и расположенными под углом к вертикальной оси, то правая 7 и левая 8 тяги получают угловое перемещение в направлении, обратном стрелкам В, растягивая при этом пружину растяжения 12. Как только уровень топлива 20 достигает какого-то минимального значения, зацепы 6 освобождают фильтрующую сетку 4, а Г-образный стержень 16, перемещаясь по стрелке К, выходит своим концом из отверстия 17 тела 18 сливной пробки 19. Такие действия приводят к тому, что оказывается возможным удаление как фильтрующей сетки по стрелке С, так и сливной пробки 19 по стрелке Е. Но такое удаление указанных деталей не позволяет осуществить несанкционированный отбор топлива 20 из корпуса 1 по той причине, что его просто там не осталось. Если вновь повторить заправку корпуса 1 топливом 20, которое подают в топливный бак в направлении, обратном стрелке С, то поплавок 11 начнет всплывать в верхнюю часть топливного бака в направлении, противоположном стрелке F, а правый 7 и левый 8 рычаги под действием усилия, создаваемого пружиной растяжения, будут получать угловой поворот, противоположный направлению стрелок В, и в конце концов, когда поплавок 11 достигнет верхнего крайнего положения, они своими зацепами 6 надежно зафиксируют сетку 4, а Г-образной формы стержень 16, перемещаясь в направлении, противоположном стрелке К, зафиксирует сливную пробку 19. Далее описанные процессы могут повторяться неоднократно.
Технико-экономическое преимущество предложенного технического решения в сравнении с известным очевидно, так как оно позволяет упростить конструкцию и повысить ее надежность в эксплуатационных уловиях.
Формула изобретения
Топливный бак дизеля, содержащий горловину с фильтрующей сеткой, сливную пробку и поплавок управления фиксирующими элементами фильтрующей сетки и сливной пробки, отличающийся тем, что поплавок на своей внешней образующей поверхности по высоте снабжен по крайней мере тремя пазами, расположенными относительно друг друга под углом 90°, при этом один из них выполнен параллельным относительно вертикальной оси симметрии поплавка, а два других – под углом к последней, и в них соответственно с одной стороны размещен вертикальный стержень, жестко закрепленный на днище топливного бака, и с другой – подпружиненные пружиной растяжения относительно друг друга рычаги, одни концы которых снабжены зацепами, взаимодействующими с фильтрующей сеткой, а другие шарнирно установлены на днище упомянутого топливного бака, причем один из рычагов выполнен двуплечим, и его второе плечо связано с Г-образной формы стержнем, контактирующим со сквозным отверстием тела сливной пробки.
РИСУНКИ
|
|