|
|
(21), (22) Заявка: 2008137835/02, 22.09.2008
(24) Дата начала отсчета срока действия патента:
22.09.2008
(30) Конвенционный приоритет:
22.10.2007 CH 01642/07
(43) Дата публикации заявки: 27.03.2010
(46) Опубликовано: 20.08.2010
(56) Список документов, цитированных в отчете о поиске:
ЕР 0827806 A1, 11.03.1998. SU 1516301 A1, 23.10.1989. RU 2031707 C1, 27.03.1995. RU 2102217 C1, 20.01.1998. RU 2104127 C1, 10.02.1998.
Адрес для переписки:
129090, Москва, ул.Б.Спасская, 25, стр.3, ООО “Юридическая фирма Городисский и Партнеры”, пат.пов. А.В.Мицу, рег. 364
|
(72) Автор(ы):
ЗАНДМАЙЕР Бруно (CH)
(73) Патентообладатель(и):
ЭРОВА АГ (CH)
|
(54) ЗАЖИМНОЕ УСТРОЙСТВО С ЗАЖИМНЫМ ПАТРОНОМ ДЛЯ РАЗЪЕМНОЙ ФИКСАЦИИ ПРИСПОСОБЛЕНИЯ ДЛЯ КРЕПЛЕНИЯ ОБРАБАТЫВАЕМОГО ИЗДЕЛИЯ
(57) Реферат:
Устройство содержит снабженный фиксирующим механизмом зажимной патрон для разъемного фиксирования приспособления для крепления обрабатываемых изделий. Фиксирующий механизм имеет группу зажимных элементов, которые в положении фиксации предназначены для воздействия на выполненную на приспособлении или связанной с ним зажимной втулке зажимную поверхность для фиксации приспособления в зажимном патроне. Для повышения надежности работы по меньшей мере один зажимной элемент снабжен сквозным отверстием, которое при его правильном фиксировании и/или расфиксировании перекрыто с одной стороны, и/или по меньшей мере один зажимной элемент снабжен управляющим элементом, снабженным сквозным отверстием, которое при правильном фиксировании и/или расфиксировании соответствующего зажимного элемента перекрыто с одной стороны, причем соответствующее сквозное отверстие выполнено с возможностью соединения посредством соединительного трубопровода с источником сжатого воздуха и предусмотрен по меньшей мере один датчик для регистрации воздушного потока в соединительном трубопроводе. 11 з.п. ф-лы, 8 ил.
Описание
Настоящее изобретение относится к зажимному устройству, выполненному в соответствии с ограничительной частью п.1 формулы изобретения.
Подобные зажимные устройства используются преимущественно для фиксации в определенном положении приспособления для крепления обрабатываемого изделия с инструментом или обрабатываемым изделием. Зажимной патрон обычно жестко фиксируется на рабочем столе обрабатывающего станка или пресса, в то время как приспособление для крепления обрабатываемого изделия, в свою очередь, в точно определенном положении может фиксироваться в зажимном патроне, а также снова освобождаться.
В частности, при полу- или полностью автоматических рабочих процессах важно, чтобы приспособление для крепления обрабатываемого изделия (заготовки) с обрабатываемым изделием правильно закреплялось в зажимном патроне и фиксировалось и соответственно полностью освобождалось и, таким образом, выводилось из фиксации. Если приспособление для крепления обрабатываемого изделия, например, неправильно закреплено в зажимном патроне, то существует опасность, что оно при механической обработке жестко закрепленного в нем изделия, например во время процесса фрезерования, ослабится, что может в результате привести к значительным повреждениям. Если приспособление для крепления обрабатываемого изделия после процесса обработки нужно высвободить из зажимного патрона, то должно быть, в свою очередь, обеспечено полное расфиксирование механизма, т.е. его полное ослабление, так, что приспособление для крепления обрабатываемого изделия можно снять без сопровождающих этот процесс повреждений зажимного патрона. Это особенно важно в случае приспособления для крепления обрабатываемых изделий с большим весом, поскольку их больше нельзя снять вручную, а, например, лишь посредством робота или крана. Понятно, что снятие приспособления для крепления обрабатываемого изделия при не полностью расфиксированных зажимных элементах может также привести к косвенным повреждениям, имеющими последствия, связанные с высокими затратами. Проблема при распознавании, полностью ли зафиксирован или расфиксирован фиксирующий механизм, состоит в том, что с помощью центрального элемента или центрального датчика нельзя распознать также, действительно ли зафиксированы или расфиксированы зажимные элементы. Кроме того, большей частью посредством вспомогательных параметров, например посредством применяемого для фиксирования или расфиксирования пневматического давления, пытаются распознать, правильно ли работает фиксирующий механизм. Это, однако, очень проблематично, так как таким образом не всегда можно определить, находятся ли зажимные элементы в разъединенном положении фиксации или в отмененном положении расфиксации. Если зажимные элементы заклинило, из-за чего не полностью расфиксированы или зафиксированы, то очень трудно, или даже совсем невозможно, распознать это путем измерения вспомогательных параметров.
Из DE-A-19636375 известен быстродействующий запор для приспособления-спутника. Зажимной патрон, служащий для приема расположенной на приспособлении зажимной втулкой типа «питающий ниппель», снабжен сквозным отверстием. Зажимная втулка снабжена выполненными в виде ножа контактными поверхностями, которые должны разделять возникающую стружку и т.п. Фиксирующий механизм зажимного патрона снабжен большим числом фиксирующих поршней, которые служат для фиксирования зажимной втулки. На своем внутреннем, радиальном конце соответствующий фиксирующий поршень имеет упор, который в расфиксированном состоянии прилегает к выступу зажимной втулки и удерживает зажимную втулку с силовым замыканием в отверстии зажимного патрона. Указанный упор выполнен одновременно в виде ножа, посредством которого также можно разделять проникающую стружку. Фиксирующие поршни имеют проходящие по оси сквозные отверстия, причем в документе нет сведений для получения вывода о смысле и цели этих отверстий. Зажимная втулка снабжена многими выпускными отверстиями для выдувания очистного воздуха.
В документе DD-A 267933 раскрыт зажимной патрон с устройством для контроля положения обрабатываемого изделия. Выполненный в виде тисков зажимной патрон снабжен двумя зажимными губками, которые снабжены соответственно сквозным отверстием. Оба сквозных отверстия с помощью гибких трубопроводов связаны со стационарной нижней частью зажимного патрона. В эту нижнюю часть входит центральное сквозное отверстие, которое через проходящее горизонтально отверстие связано с обоими гибкими трубопроводами. Проходящее горизонтально отверстие снабжено двумя дроссельными клапанами. Для контроля находящегося в трубопроводах или отверстиях давления предусмотрены манометрические устройства. При зажатии обрабатываемого изделия за счет плоского прилегания изделия внутри зажимных губок поднимается давление в ветви трубопровода соответствующей зажимной губки, что может распознаваться посредством манометрического устройства, которым она снабжена.
Изобретение имеет целью усовершенствование зажимного устройства со снабженным фиксирующим механизмом зажимным патроном для разъемного фиксирования приспособления для крепления обрабатываемого изделия таким образом, чтобы на самом зажимном патроне не нужно было располагать никаких датчиков для контроля правильного функционирования фиксирующего механизма, причем, несмотря на это, надежно и простым способом должно быть возможным распознавание, правильно ли зафиксированы или расфиксированы зажимные элементы фиксирующего механизма.
Для этого в соответствии с изобретением предлагается зажимное устройство согласно п.1 формулы изобретения.
Снабжая по меньшей мере один зажимной элемент сквозным отверстием, которое при правильном фиксировании и/или расфиксировании зажимного элемента закрыто с одной стороны, и/или снабжая по меньшей мере один зажимной элемент снабженным сквозным отверстием управляющим элементом, сквозное отверстие которого при правильном фиксировании и/или расфиксировании соответствующего зажимного элемента закрыто с одной стороны, причем сквозные отверстия зажимных элементов или управляющих элементов соединены посредством соединительного трубопровода с источником сжатого воздуха и предусмотрен по меньшей мере один датчик для регистрации воздушного потока в соединительном трубопроводе, можно простым способом распознать, правильно ли зафиксированы или расфиксированы зажимные элементы. Как только воздушный поток в соединительном трубопроводе превысит заданную величину, следует исходить из того, что одно сквозное отверстие или, при необходимости, несколько сквозных отверстий неправильно закрыто/закрыты, что указывает на то, что зажимные элементы неправильно зафиксированы или расфиксированы. Тем самым создается основная предпосылка, чтобы простым способом распознавать, правильно ли зафиксированы и/или расфиксированы зажимные элементы. Если же зажимные элементы не находятся в положении фиксации или расфиксирования, то соответствующее сквозное отверстие не закрыто, что может распознаваться посредством датчика измерения потока, так как в этом случае в соединительном трубопроводе имеется воздушный поток номинального значения.
Предпочтительные варианты выполнения и усовершенствования предмета изобретения описаны в зависимых пунктах 2-12 формулы изобретения.
Ниже предпочтительный пример выполнения зажимного устройства согласно изобретению пояснен более подробно со ссылкой на прилагаемые чертежи, где:
фиг.1 – вид в перспективе фиксирующего механизма для зажимного патрона;
фиг.1а – увеличенное изображение зажимного элемента;
фиг.2 – продольный разрез фиксирующего механизма согласно фиг.1 вместе с зажимной втулкой;
фиг.3 – продольный разрез всего зажимного патрона с активированным фиксирующим механизмом;
фиг.4 – продольный разрез зажимного патрона согласно фиг.3 с неактивированным фиксирующим механизмом;
фиг.5 – продольный разрез зажимной втулки, а также двух зажимных элементов в зафиксированном состоянии вместе с другими элементами зажимного устройства;
фиг.6 – продольный разрез зажимной втулки, а также двух зажимных элементов в разъединенном состоянии вместе с другими элементами зажимного устройства;
фиг.7 – разрез части зафиксированного зажимного патрона вместе с другими элементами зажимного устройства,
фиг.8 – разрез части полностью расфиксированного зажимного патрона вместе с другими элементами зажимного устройства.
На фиг.1 показаны в перспективе существенные части фиксирующего механизма 2 для зажимного патрона вместе с зажимной втулкой 30. Фиксирующий механизм состоит по существу из кольцеобразного управляющего поршня 3, четырех пружин 4 сжатия, четырех зажимных элементов 5, а также управляющих элементов в виде четырех фиксирующих штифтов 10 и четырех штифтов 17 раскрытия. Поршень 3 посредством пружин 4 сжатия опирается на верхнюю часть корпуса (не показана) зажимного патрона, причем пружины 4 сжатия в смонтированном состоянии стремятся прижать поршень 3 в его нижнее конечное положение, в котором фиксирующий механизм находится в зафиксированном состоянии. Как фиксирующие штифты 10, так и штифты 17 раскрытия жестко соединены с поршнем 3. Выполненные в виде толкателей зажимные элементы 5 служат для того, чтобы фиксировать зажимную втулку 30 в зажимном патроне, причем они одновременно нагружают зажимную втулку 30 в осевом направлении, т.е. по оси Z, чтобы ее вместе с приспособлением для крепления обрабатываемого изделия, в котором обычно закреплена зажимная втулка, притянуть к зажимному патрону. Фиксирующие штифты 10 снабжены наклонной поверхностью 11 прижатия, которую соответствующий зажимной элемент 5 при движении поршня 3 вниз прижимает в радиальном направлении во внутрь в его положение фиксации. Так как пружины 4 стремятся удерживать поршень 3 в его нижнем конечном положении, то зажимные элементы 5 посредством фиксирующих штифтов 10 зажимаются в своем положении фиксации, пока поршень 3 пневматически не переместится вверх в свое положение расфиксирования. При движении вверх поршня 3 зажимные элементы 5 посредством штифтов 17 раскрытия сдвигаются в радиальном направлении наружу, что ниже описывается еще более подробно. Вместо четырех фиксирующих штифтов 10 возможны, конечно, также варианты с большим или меньшим четырех количеством фиксирующих штифтов, причем должно быть предусмотрено по меньшей мере два фиксирующих штифта.
Обращенная к зажимной втулке 30 головная часть соответствующего зажимного элемента 5 снабжена соответствующей наружному контуру зажимной втулки 30 торцевой стороной, которая в положении фиксации соответствующего зажимного элемента 5 всей поверхностью прилегает к зажимной втулке 30. На фиг.1а показан в перспективе зажимной элемент 5 в увеличенном виде спереди. Головная часть зажимного элемента 5 снабжена изогнутой поверхностью 7 прижатия, из которой по центру выходит отверстие 8. Указанная поверхность 7 прижатия соответствует контуру зажимной втулки, так что зажимной элемент 5 своей изогнутой поверхностью 7 прижатия прилегает к соответствующей зажимной втулке по плоскости.
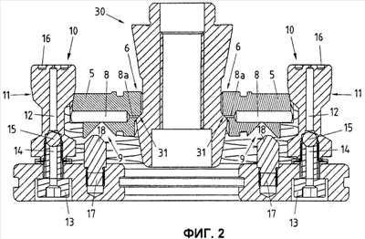
На фиг.2 показан продольный разрез фиксирующего механизма 2 согласно фиг.1 вместе с зажимной втулкой 30. На этом изображении, на котором показан поршень 3 в его нижнем конечном положении, т.е. в положении фиксирования, видно, что соответствующий фиксирующий штифт 10 своей поверхностью 11 прижатия оказывает давление на соответствующий зажимной элемент 5 в радиальном направлении наружу в его положение фиксации. В этом положении фиксации соответствующий зажимной элемент 5 своей торцевой стороной прилегает по плоскости к проходящему по периметру в виде кольца, выполненному в виде выступа 31 зажимной поверхности зажимной втулки 30. Далее, видно, что соответствующий зажимной элемент 5 снабжен сквозным отверстием 8, которое проходит от задней стороны в продольном направлении через весь зажимной элемент 5 и выходит на передней стороне из головной части 6 в виде отверстия 8а меньшего диаметра. Если соответствующий зажимной элемент 5 в положении фиксации прилегает по плоскости к выступу 31 зажимной втулки 30, то сквозное отверстие 8 на передней стороне перекрывается зажимной втулкой 30. Далее, можно видеть, что соответствующий зажимной элемент 5 на своей нижней стороне снабжен конической выемкой 9, в которую входит своей сходящейся на конус передней стороной соответствующий штифт 17 раскрытия при движении вверх таким образом, что соответствующий зажимной элемент 5 перемещается радиально наружу, и фиксация снимается. Наконец, можно видеть, что соответствующий фиксирующий штифт 10 закреплен посредством винта 13 на поршне 3. Как фиксирующий штифт 10, так и винт снабжены сквозным отверстием 12, 14. Между сквозным отверстием 14 винта 13 и отверстием фиксирующего штифта 10 расположен действующий в качестве обратного клапана шарик 15, функции которого поясняются ниже более подробно.
На фиг.3 показано поперечное сечение зажимного патрона 1, снабженного выполненным в соответствии с фиг.2 фиксирующим механизмом 2. В дополнение к этому схематично показано приспособление 33 для крепления обрабатываемого изделия, к которому прикреплена зажимная втулка 30. Выражение «приспособление для крепления обрабатываемого изделия» означает закрепляемый в зажимном патроне зажимного элемента, в котором могут фиксироваться не только обрабатываемые изделия, но также, при необходимости, инструменты или другие элементы. Фиксирующий механизм 2 показан в состоянии фиксации. Как видно, зажимной патрон 1 имеет верхнюю часть 20 корпуса и нижнюю часть 21 корпуса, между которыми расположен фиксирующий механизм 2. На этом изображении видны, кроме того, направленные в радиальном направлении в нижнюю часть 21 корпуса зажимного патрона каналы 22, 23, которые служат для подачи сжатого воздуха. Зажимной патрон 1 снабжен центральным отверстием 32 для размещения в нем зажимной втулки 30, причем зажимные элементы 5 установлены с возможностью смещения поперек продольной оси этого отверстия. Приспособление 33 для крепления обрабатываемого изделия снабжено не показанными более подробно центрирующими элементами, которые взаимодействуют с другими, расположенными в зажимном патроне центрирующими элементами таким образом, что приспособление 33 для крепления изделия при закреплении в зажимном патроне позиционируется в направлении осей X и Y.
Верхний канал 22 входит в кольцеобразную камеру 25 нагнетания, которая уплотнена в наружном направлении. Все зажимные элементы 5 вдаются своей задней стороной в эту камеру 25 нагнетания, так что проведенное через соответствующий зажимной элемент 5 сквозное отверстие 8 соединено с камерой 25 нагнетания. Благодаря этому сквозные отверстия 8 всех зажимных элементов 5 включаются параллельно в пневматическом отношении и соединены с верхним каналом 22. Для того чтобы проверить состояние фиксации зажимных элементов 5 и, при необходимости, дополнительно прижать зажимные элементы 5 радиально в направление внутрь к зажимной втулке, по верхнему каналу 22 подается сжатый воздух. Этот сжатый воздух устремляется от канала 22 в камеру 25 нагнетания, а также в проходящие через соответствующий зажимной элемент 5 отверстия 8. Когда все зажимные элементы 5 прилегают к зажимной втулке, то через короткое время воздушный поток устанавливается на значение около нуля, что можно зарегистрировать с помощью соответствующего датчика, как ниже поясняется более подробно.
Нижний канал 23 соединен с расположенной под поршнем 3, кольцеобразной камерой 24 нагнетания, причем направленные от канала 23 в камеру 24 нагнетания каналы на этом изображении не видны. Подаваемый через нижний канал 23 сжатый воздух служит для перемещения поршня 3 вверх.
Таким образом, через нижний канал 23 подается воздух, необходимый для отпирания фиксирующего механизма 2, в то время как через верхний канал 22 вводится воздух, служащий для дополнительного крепления фиксирующего механизма 2. В обоих случаях подаваемый воздух служит, однако, также для проверки состояния зажимного патрона 1, а именно правильно ли зафиксированы или расфиксированы зажимные элементы 5 фиксирующего механизма, как это будет пояснено ниже в деталях. Через нижний канал можно также подавать воздух для очистки поверхностей прилегания.
На фиг.4 показано поперечное сечение зажимного патрона 1 согласно фиг.3, причем зажимные элементы 5 фиксирующего механизма 2 находятся в расфиксированном положении. Чтобы расфиксировать зажимные элементы 5, через канал 23 подается сжатый воздух. Этот сжатый воздух попадает в кольцевую камеру 24 нагнетания, расположенную под кольцевым поршнем 3 и отжимает поршень 3 против воздействия силы пружин сжатия вверх. При этом перемещаются также вверх фиксирующие штифты 10, а также штифты 17 раскрытия. При направленном вверх движении фиксирующих штифтов 10 их наклонная поверхность прижатия удаляется от задней стороны соответствующего зажимного элемента 5 так, что он посредством соответствующего штифта 17 раскрытия может перемещаться в радиальном направлении наружу. В расфиксированном положении фиксирующего механизма 2 зажимная втулка может вводиться в центральное отверстие 32 зажимного патрона 1 или извлекаться из него.
На основе фиг.5 и 6, которые показывают продольный разрез двух зажимных элементов 5 вместе с зажимной втулкой 30, а также другие, схематично изображенные элементы, должно стать понятным, как можно проверить правильность фиксации зажимных элементов 5. Наряду с собственно зажимным патроном, зажимное устройство содержит источник 26 сжатого воздуха, датчик 27 для регистрации воздушного потока, соединительный трубопровод 28, а также электронное управляющее и расшифровывающее устройство 29. В показанном на фиг.5 зафиксированном состоянии зажимные элементы 5 своей головной частью 6 прилегают по поверхности к выступу зажимной втулки 30. Как уже упоминалось, зажимные элементы 5 посредством фиксирующих штифтов (не показано) прижимаются радиально в направлении внутрь в свое положение фиксации. Если теперь источник 26 сжатого воздуха подаст сжатый воздух, то он устремится через соединительный трубопровод 28 к зажимным элементам 5 или их соответствующему продольному отверстию 8, 8а. Так как зажимные элементы 5 своей головной частью 6 прилегают по поверхности к выступу зажимной втулки 30, то соответствующее продольное отверстие 8а закрывается со стороны конца. После того как нагруженные сжатым воздухом полые пространства зажимного патрона, а именно камера 25 нагнетания (фиг.3) нагружена/нагружены сжатым воздухом, воздушный поток в соединительном трубопроводе 28 устанавливается приблизительно на нуль, так как сжатый воздух не может вытекать через продольные отверстия 8,8а, ведущие из камеры 25 нагнетания наружу. Если, разумеется, один или несколько зажимных элементов 5 не прилегают плотно к зажимной втулке, то сжатый воздух может уходить через соответствующее продольное отверстие 8 в центральное отверстие 32. Если, таким образом, по меньшей мере одно из проходящих через зажимные элементы продольных отверстий 8,8а не перекрыто зажимной втулкой, то проходящий через соединительный трубопровод 28 воздух регистрируется датчиком 27 и соответственно распознается посредством электронного управляющего и расшифровывающего устройства 29. Так как все зажимные элементы 5 в отношении пневматики параллельно соединены друг с другом, в любом случае можно распознать, все ли зажимные элементы 5 правильно зафиксированы или по меньшей мере один из зажимных элементов 5 зафиксирован неправильно. Следует упомянуть, что соответствующий, расположенный между сквозным отверстием 14 винта и сквозным отверстием 12 фиксирующего штифта 10 обратный клапан препятствует тому, чтобы воздух мог при случае уходить из камеры нагнетания через указанные сквозные отверстия 12, 14 (фиг.2).
На фиг.6 показаны зажимные элементы 5 в расфиксированном состоянии. Из этого изображения можно увидеть, что утечка сжатого воздуха может происходить через головную часть 6 или выходящее из головной части 6 отверстие 8а не прилегающих к зажимной втулке 30 зажимных элементов 5, как это показано стрелкой. Утечка воздуха через один или несколько зажимных элементов 5 легко может быть обнаружена датчиком 27.
На фиг.7 и 8 показан вырез зажимного патрона в продольном сечении вместе с схематично показанным источником сжатого воздуха, датчиком 27 для регистрации воздушного потока, соединительным трубопроводом 28а, а также электронным управляющим и расшифровывающим устройством 29. На основе этих чертежей поясняется, как можно проверить правильность расфиксирования зажимных элементов 5. Чтобы расфиксировать зажимные элементы 5, сжатый воздух направляется в камеру 24 нагнетания. Благодаря этому поршень 3 отжимается вверх против воздействия усилий пружин сжатия. При перемещении вверх поршня 3 также фиксирующие штифты 10, а также штифты 17 раскрытия движутся вверх. При этом наклонные поверхности сжатия фиксирующих штифтов 10 удаляются от задней стороны соответствующего зажимного элемента 5, так что он посредством соответствующего штифта 17 раскрытия может перемещаться радиально наружу. Пока фиксирующие штифты не попадут в верхнее конечное положение, небольшое количество направленного в камеру 24 нагнетания сжатого воздуха через сквозное отверстие 14 винта 13, а также сквозное отверстие 12 фиксирующего штифта 10 может уходить в камеру 25 нагнетания, а оттуда через не показанный клапан – наружу, что снова может распознаваться датчиком 27. Как показано на фиг.7 стрелкой, воздух через сквозные отверстия 12, 14 и открытый обратный клапан 15 может выходить вверх из фиксирующего штифта 10 и уходить через кольцевой зазор между фиксирующим штифтом 10 и верхней частью 20 корпуса. Поскольку, однако, поршень переместился в свое конечное положение, то расположенное на стороне торца уплотнение 16 фиксирующего штифта 10 прилегает к верхней части 20 корпуса и уплотняет сквозное отверстие 12 фиксирующего штифта 10 в направлении вверх. Таким образом, останавливается утечка воздуха и тем самым протекание воздуха через датчик 27, что легко распознается датчиком и электронным управляющим и расшифровывающим устройством 29. На фиг.8 показан находящийся в своем конечном верхнем положении фиксирующий штифт 10. Так как при движении вверх поршня 3 зажимные элементы 5 принудительно сдвигаются в наружном направлении посредством соответствующего штифта 17 раскрытия, то путем измерения потока воздуха в соединительном трубопроводе 28а надежно распознается, правильно ли расфиксированы все зажимные элементы 5.
Таким образом соответственно посредством расположенного на расстоянии от зажимного патрона датчика для измерения потока контролируются функции фиксирующего механизма или зажимных элементов. Вместо описанного электронного управляющего и расшифровывающего устройства 29 может найти применение также электрическое, электромеханическое или механическое управляющее и расшифровывающее устройство.
Для того чтобы верхний канал 22 или нижний канал 23 зажимного патрона (фиг.3) соединить посредством соответствующего соединительного трубопровода 28 (фиг.5) или 28а (фиг.7) с источником сжатого воздуха, предусмотрено не показанное более подробно клапанное устройство. Хотя в чертежах представлен только источник 26 сжатого воздуха, можно предусмотреть, кроме того, два отдельных источника сжатого воздуха, причем в этом случае один источник 26 сжатого воздуха предусмотрен для питания верхнего канала 22, а другой – для питания нижнего канала 23.
Поскольку предусмотрены два отдельных источника сжатого воздуха, может иметь смысл также предусмотреть два датчика для измерения потока – по одному на источник сжатого воздуха. В данном случае можно, конечно, также предусмотреть только один датчик для измерения потока.
Хотя в данном примере все зажимные элементы снабжены соответственно одним сквозным отверстием, в зависимости от применения, вполне достаточно только один из зажимных элементов снабдить сквозным отверстием. Чтобы удостовериться, что все зажимные элементы правильно расфиксированы, все управляющие элементы в виде фиксирующих штифтов предпочтительно снабжены сквозным отверстием, причем также в этом случае вполне может быть достаточным только один из фиксирующих штифтов снабдить сквозным отверстием. Разумеется, возможны также промежуточные варианты, где некоторые из зажимных элементов или некоторые из управляющих элементов снабжены сквозным отверстием.
В случае необходимости поверхности зажимания, с которыми контактируют зажимные элементы зажимного патрона, могут быть также непосредственно приформованы к приспособлению для крепления обрабатываемых изделий. Тогда можно отказаться от зажимной втулки.
В любом случае путем измерения воздушного потока в соединительном трубопроводе можно надежно распознать, правильно ли зафиксированы или расфиксированы зажимные элементы зажимного патрона. Подразумевается, что воздушный поток также при правильно зафиксированых или расфиксированых зажимных элементах не должен составлять значение абсолютный нуль, а что можно определить предельное значение, ниже которого распознается правильное фиксирование или расфиксирование. По сравнению с традиционными, выполненными в виде шарика зажимными элементами преимущество показанных, выполненных в виде толкателя зажимных элементов состоит в том, что они могут воспринимать большие усилия, так как они приходят в контакт со сравнительно большой поверхностью зажимной втулки.
Наряду с уже упомянутыми преимуществами, дальнейшее преимущество зажимного устройства, выполненного согласно изобретению, состоит с том, что на сам зажимной патрон не нужно устанавливать никаких датчиков, а нужно лишь предусмотреть два канала подачи воздуха в качестве места разрыва между зажимным патроном и другими элементами зажимного устройства. Таким образом, также, конечно, не нужны никакие соединительные электрические провода между зажимным патроном и его периферией. С помощью описанного варианта зажимного устройства, зажимной патрон которого имеет в распоряжении лишь два, служащих, среди прочего, в качестве места разрыва канала для подачи воздуха, а также по меньшей мере один, расположенный вне зажимного патрона датчик для измерения потока, можно контролировать важные функции зажимного патрона, а также приводить его в действие. Описанное решение позволяет с помощью лишь двух каналов для подачи воздуха:
– пневматически расфиксировать зажимной патрон,
– дополнительно зажимать зажимной патрон,
– контролировать правильность расфиксирования,
– контролировать правильность фиксирования, а также
– распознавать наличие или отсутствие приспособления-спутника.
Формула изобретения
1. Зажимное устройство, содержащее снабженный фиксирующим механизмом (2) зажимной патрон (1) для разъемного фиксирования приспособления (33) для крепления обрабатываемых изделий, причем фиксирующий механизм (2) имеет группу зажимных элементов (5), которые в положении фиксации предназначены для воздействия на выполненную на приспособлении (33) для крепления обрабатываемых изделий или связанной с ним зажимной втулке (30) зажимную поверхность (31) для фиксации приспособления (33) для крепления обрабатываемых изделий в зажимном патроне (1), отличающееся тем, что по меньшей мере один зажимной элемент (5) выполнен со сквозным отверстием (8, 8а), которое при правильном фиксировании и/или расфиксировании соответствующего зажимного элемента (5) перекрыто с одной стороны, и/или по меньшей мере один зажимной элемент (5) снабжен управляющим элементом (10), выполненным со сквозным отверстием (12), которое при правильном фиксировании и/или расфиксировании соответствующего зажимного элемента (5) перекрыто с одной стороны, причем соответствующее сквозное отверстие (8,8а, 12) выполнено с возможностью соединения посредством соединительного трубопровода (28,28а) с источником (26) сжатого воздуха, и предусмотрен по меньшей мере один датчик (27) для регистрации воздушного потока в соединительном трубопроводе (28, 28а).
2. Зажимное устройство по п.1, отличающееся тем, что несколько зажимных элементов (5) снабжены перекрываемым с одной стороны сквозным отверстием (8, 8а), в частности все зажимные элементы (5) снабжены перекрываемым с одной стороны отверстием (8, 8а).
3. Зажимное устройство по п.1 или 2, отличающееся тем, что несколько зажимных элементов (5) снабжены управляющим элементом (10), снабженным сквозным отверстием (12), в частности каждый зажимной элемент (5) снабжен управляющим элементом (10), выполненным со сквозным отверстием (12).
4. Зажимное устройство по п.1, отличающееся тем, что зажимные элементы (5) выполнены в виде толкателей и имеют головную часть (6), выполненную с возможностью поверхностного прилегания к зажимной поверхности приспособления (33) для крепления обрабатываемых изделий или зажимной втулки (30).
5. Зажимное устройство по п.4, отличающееся тем, что соответствующий толкающий элемент (5) снабжен входящим в головную часть (6) сквозным отверстием (8а), выполненным с возможностью запирания при правильном фиксировании соответствующего зажимного элемента (5) зажимной поверхностью приспособления (33) для крепления обрабатываемых изделий или зажимной втулки (30).
6. Зажимное устройство по п.1, отличающееся тем, что каждый зажимной элемент (5) снабжен управляющим элементом, имеющим сквозное отверстие (12), в виде штифта (10), причем сквозное отверстие (12) открыто в зафиксированном положении соответствующего зажимного элемента (5), в то время как сквозное отверстие (12) в правильно расфиксированном положении соответствующего зажимного элемента (5) перекрыто.
7. Зажимное устройство по п.1, отличающееся тем, что фиксирующий механизм (2) содержит по меньшей мере один управляющий поршень (3), выполненный с возможностью перемещения зажимных элементов (5) в положение фиксирования и/или в положение расфиксирования.
8. Зажимное устройство по п.7, отличающееся тем, что фиксирующий механизм (2) на каждый зажимной элемент (5) имеет находящийся в активной связи с управляющим поршнем (3) фиксирующий штифт (10), причем по меньшей мере один фиксирующий штифт (10) снабжен сквозным отверстием (12), и причем соответствующее сквозное отверстие (12) открыто в зафиксированном состоянии соответствующего зажимного элемента (5), а в правильно расфиксированном состоянии соответствующего зажимного элемента (5) перекрыто.
9. Зажимное устройство по п.8, отличающееся тем, что соответствующий фиксирующий штифт (10) имеет наклонную, обращенную к соответствующему зажимному элементу (5) поверхность (11) прижатия, выполненную с возможностью перемещения соответствующего зажимного элемента (5) при перемещении поршня (3) в его положение фиксирования.
10. Зажимное устройство по п.1, отличающееся тем, что зажимной патрон (1) имеет центральное отверстие (32) для размещения в нем зажимной втулки (30), причем зажимные элементы (5) выполнены с возможностью перемещения поперек продольной оси отверстия (32).
11. Зажимное устройство по п.1, отличающееся тем, что зажимной патрон имеет по меньшей мере четыре зажимных элемента (5).
12. Зажимное устройство по п.8, отличающееся тем, что зажимной патрон (1) содержит канал (23) подачи воздуха, соединенный посредством соединительного трубопровода (28,28а) с источником (26) сжатого воздуха, а также с расположенной на задней стороне управляющего поршня (3) камерой (24) нагнетания, причем сквозное отверстие (12) соответствующего фиксирующего штифта (10) соединено с упомянутой камерой (24) нагнетания.
РИСУНКИ
|
|