| На основании пункта 1 статьи 1366 части четвертой Гражданского кодекса Российской Федерации патентообладатель обязуется заключить договор об отчуждении патента на условиях, соответствующих установившейся практике, с любым гражданином Российской Федерации или российским юридическим лицом, кто первым изъявил такое желание и уведомил об этом патентообладателя и федеральный орган исполнительной власти по интеллектуальной собственности. |
|
(21), (22) Заявка: 2009109478/13, 16.03.2009
(24) Дата начала отсчета срока действия патента:
16.03.2009
(46) Опубликовано: 20.08.2010
(56) Список документов, цитированных в отчете о поиске:
RU 2336722 С2, 27.10.2008. SU 1085583 А1, 15.04.1984. SU 1797624 A3, 23.02.1993. RU 2150213 С1, 22.03.1999.
Адрес для переписки:
390029, г.Рязань, ул. Высоковольтная, 34/13, кв.17, В.В. Утолину
|
(72) Автор(ы):
Утолин Владимир Валентинович (RU), Коньков Михаил Анатольевич (RU), Полункин Андрей Алексеевич (RU), Счастливова Наталья Владимировна (RU)
(73) Патентообладатель(и):
Утолин Владимир Валентинович (RU)
|
(54) СПОСОБ ПРИГОТОВЛЕНИЯ СЫРОГО КОРМА ИЗ ПОБОЧНЫХ ПРОДУКТОВ КРАХМАЛО-ПАТОЧНОГО ПРОИЗВОДСТВА
(57) Реферат:
Изобретение относится к сельскому хозяйству, в частности к способам приготовления кормов для животных из побочных продуктов крахмало-паточного производства. Способ предусматривает смешивание мезги и сгущенного кукурузного экстракта с предварительной нейтрализацией его кислотности гидроксидом кальция и гидроксидом натрия, при этом приготовление водного раствора гидроксидов кальция и натрия производят в присутствии сгущенного кукурузного экстракта, расположенного изолированно в общей с раствором емкости. В результате химической реакции происходит нагревание сгущенного кукурузного экстракта, после чего происходит перемешивание его с водным раствором до однородной массы, которую потом смешивают с мезгой. Использование изобретения позволяет получать сырой корм высокого качества с низкой себестоимостью. 1 ил.
Изобретение относится к способам приготовления кормов из побочных продуктов крахмало-паточного производства при переработке кукурузы для крупного рогатого скота.
Известен способ приготовления сырого корма из побочных продуктов крахмало-паточного производства, предусматривающий смешивание мезги, сырого зародыша и экстракта (Романенко В.Н., Филиппова Н.И. Комплексное использование сырья в крахмало-паточном производстве. – М.: Агропромиздат, 1985. – 152 с.). Способ позволяет из побочных продуктов крахмало-паточного производства получать сырой корм с достаточной питательной ценностью и большим содержанием белка, углеводов и клетчатки.
Недостатком сырого корма, приготовленного из побочных продуктов крахмало-паточного производства, является его низкое качество, обусловленное высокой кислотностью, из-за присутствия кукурузного экстракта с низким значением pH (pH экстракта 4.2-4.4). Использование кормов с высокой кислотностью негативно сказывается на здоровье животного, нарушаются кислотно-щелочной баланс и содержание кальция в организме, разрушается костная ткань, рождается ослабленное потомство. Кроме того, ухудшается качество получаемой продукции, например у дойных коров повышается кислотность молока. Поэтому возможно только ограниченное использование сырого корма, приготовленного по данному способу, в рационе кормления животных.
Наиболее близким к предлагаемому способу приготовления сырого корма из побочных продуктов крахмало-паточного производства является способ, предусматривающий смешивание мезги и сгущенного кукурузного экстракта, с предварительной нейтрализацией кислотности сгущенного кукурузного экстракта (Патент РФ 2336722, МПК A23K 1/00; 1/16, опубл. 2006.01).
Сгущенный кукурузный экстракт по своим физико-механическим свойствам обладает высокой вязкостью и для нейтрализации кислотности его необходимо нагревать. При нагревании вязкость сгущенного кукурузного экстракта значительно снижается. Для получения сырого корма высокого качества необходимо при нагревании проводить глубокий и равномерный прогрев всей нейтрализуемой массы сгущенного кукурузного экстракта, который можно получить путем замедленного теплообмена от источника тепловой энергии до внутренних слоев экстракта. В известном способе по патенту РФ 226722 для нагревания используют внешний источник тепла, операции подготовки водного раствора и подогрева сгущенного кукурузного экстракта до его полной нейтрализации проводят раздельно с затратами значительного количества тепла и времени. Таким образом в известном способе расточительно и нерационально используется тепловая энергия, образующаяся в процессе протекания химической реакции приготовления водного раствора гидроксида кальция и гидроксида натрия, при этом возрастают общие затраты, средств и времени в производстве и, как следствие, повышается себестоимость сырого корма.
Задача предлагаемого изобретения заключается в создании способа, позволяющего повысить качество готового сырого корма и уменьшить его себестоимость.
Технический результат изобретения от использования заключается в снижении себестоимости приготовляемого сырого корма из побочных продуктов крахмало-паточного производства. Для нагревания сгущенного кукурузного экстракта используется теплота (тепловая энергия), получаемая в процессе химической реакции взаимодействия оксида кальция и гидроксида натрия с водой, а также при приготовлении водного раствора гидроксида кальция и гидроксида натрия.
Указанный результат достигается тем, что в способе приготовления сырого корма из побочных продуктов крахмало-паточного производства, включающем смешивание мезги и сгущенного кукурузного экстракта с предварительно нейтрализованной кислотностью гидроксидами кальция и натрия, приготовление водного раствора гидроксида кальция и гидроксида натрия проводят в присутствии сгущенного кукурузного экстракта, расположенного изолированно в общей с раствором емкости, и возможностью одновременного его подогрева, а нейтрализацию осуществляют путем перемешивания разжиженного экстракта с водным раствором до однородной массы с последующей подачей его на смешивание с мезгой.
Химическая реакция нейтрализации кислотности сгущенного кукурузного экстракта проходит быстрее и равномернее при его достаточно низкой вязкости.
Известно, что при использовании реагентов CaO и NaOH для нейтрализации кислотности проходят три химические реакции с выделением большого количества теплоты:
Первая реакция: CaO+H2O=Ca(OH)2+Q
Вторая реакция: Ca(OH)2+H2O=Ca2+OH+Q
Третья реакция: NaOH+H2O=Na++ОН–+Q
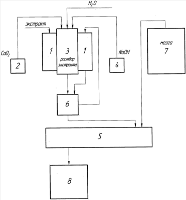
Способ приготовления сырого корма из побочных продуктов крахмало-паточного производства поясняется технологической схемой представленной на чертеже.
Технологическая линия для приготовления сырого корма из побочных продуктов крахмало-паточного производства включает следующее: реактор 1 для нейтрализации кислотности сгущенного экстракта; бункеры – дозаторы реагентов (оксида кальция и гидроксида натрия) 2, 4; емкость 3 для приготовления водных растворов реагентов; смеситель 5 непрерывного действия; насос-дозатор 6; бункер-дозатор мезги 7; бункер-накопитель 8 приготовленного сырого корма.
Способ осуществляется следующим образом. Реактор 1 заполняют сгущенным кукурузным экстрактом. В емкость 3 заливают воду, затем при постоянном перемешивании подают оксид кальция (CaO) из бункера-дозатора 2. Затем в емкость 3 добавляют гидроксид натрия (NaOH) из бункера-дозатора 4. В результате химической реакции взаимодействия оксида кальция (CaO) и гидроксида натрия (NaOH) с водой выделяется теплота (Q). За счет выделенной теплоты сгущенный кукурузный экстракт нагревается и его вязкость уменьшается. После нагревания насос-дозатор 6 забирает водный раствор гидроксида кальция и гидроксида натрия из емкости 3, сгущенный кукурузный экстракт из реактора 1 и перекачивает общую массу обратно в реактор, тем самым обеспечивая равномерное распределение реагента в сгущенном кукурузном экстракте. Водный раствор гидроксида кальция и гидроксида натрия взаимодействует с молочной кислотой, находящейся в кукурузном сгущенном экстракте, при этом происходит нейтрализация кислотности до pH 5,9 6,3. После нейтрализации в смеситель 5 насосом-дозатором 6 подается сгущенный нейтрализованный кукурузный экстракт, а из бункера-дозатора 7 мезга. После смешивания готовый сырой корм направляется в бункере 8 на временное хранение.
Пример конкретного выполнения
Исходя из известного способа приготовления сырого корма из побочных продуктов крахмало-паточного производства (патент РФ 2336722) для нейтрализации 1 тонны сгущенного кукурузного экстракта по результатам теоретических исследований необходимо 25 кг оксида кальция и 12 кг гидроксида натрия. В процессе приготовления водного раствора гидроксида кальция и гидроксида натрия происходят три химические реакции.
Первая реакция: CaO+H2O=Ca(OH)2+Q
По закону Гесса разница между теплотой образования конечных продуктов и исходных веществ находится по формуле:
Q= H(Ca(OH)2)- H(CaO)- H(H2O)
По справочным данным известно 


Подставляем в формулу и получаем

То есть при использовании 56 г CaO получаем 67,8 кДж.
Исходя из объема разового поступления сгущенного кукурузного экстракта для нейтрализации его кислотности потребуется 25 кг оксида кальция.
Получаем количество теплоты от первой реакции

Вторая реакция
Ca(OH)2+H2O=Ca2+OH+Q
Теплота растворения:

Или 74 г Ca(OH)2 при растворении дает 13 кДж теплоты. От второй реакции при растворе или 159 кг Ca(OH) получаем теплоту

Третья реакция
NaOH+H2O=Na++ОН–+Q
Теплота растворения

То есть при растворении в воде 40 г гидроксида натрия получаем 42 кДж. Получаемое количество теплоты от растворения 46 кг NaOH:

Всего теплоты от химических реакций, которые протекают во внутреннем цилиндре
Q=Q1+Q2+Q3.
Подставим значения
Q=30268+9311+12600=52179 кДж.
Рассчитаем температуру экстракта в нейтрализаторе после проведения реакции растворения CaO и NaOH в воде. Температуру нагрева найдем из выражения
Q=cm(t2-t1) кДж,
где С – теплоемкость кукурузного экстракта, ;
m – масса кукурузного экстракта, кг;
t1 – начальная температура, °T;
t2 – конечная температура, °T.
Выразим из формулы

Для экстракта: c=4200 Дж,
m=1000 кг
Т.
Сгущенный кукурузный экстракт в реакторе нагревается за счет химической реакции во внутренней емкости на 12°Т, это приводит к снижению кинематической вязкости на 90 100 МПа·с.
Формула изобретения
Способ приготовления сырого корма из побочных продуктов крахмало-паточного производства, включающий смешивание мезги и сгущенного кукурузного экстракта с предварительно нейтрализованной его кислотностью гидроксидами кальция и натрия, отличающийся тем, что приготовление водного раствора гидроксида кальция и гидроксида натрия производят в присутствии сгущенного кукурузного экстракта, расположенного изолированно в общей с раствором емкости, и возможностью одновременного его подогрева, а нейтрализацию осуществляют путем перемешивания разжиженного экстракта с водным раствором до однородной массы с последующей подачей его на смешивание с мезгой.
РИСУНКИ
|