|
|
(21), (22) Заявка: 2008133584/09, 15.06.2006
(24) Дата начала отсчета срока действия патента:
15.06.2006
(30) Конвенционный приоритет:
18.01.2006 US 60/759570
(43) Дата публикации заявки: 27.02.2010
(46) Опубликовано: 10.08.2010
(56) Список документов, цитированных в отчете о поиске:
ЕР 0736949 А1, 09.10.1996. RU 2089986 C1, 10.09.1997. RU 2002111927 A, 27.11.2003. US 3952210 A, 20.04.1976.
(85) Дата перевода заявки PCT на национальную фазу:
18.08.2008
(86) Заявка PCT:
SE 2006/000711 20060615
(87) Публикация PCT:
WO 2007/084034 20070726
Адрес для переписки:
129090, Москва, ул.Б.Спасская, 25, стр.3, ООО “Юридическая фирма Городисский и Партнеры”, пат.пов. А.В.Мицу, рег. 364
|
(72) Автор(ы):
РАДБРАНТ Ульф (SE), ЮХЛИН Ларс-Эрик (SE)
(73) Патентообладатель(и):
АББ ТЕКНОЛОДЖИ ЛТД. (CH)
|
(54) ПРЕОБРАЗОВАТЕЛЬНАЯ ПОДСТАНЦИЯ
(57) Реферат:
Использование: в области электротехники. Технический результат заключается в повышении надежности электропередачи. Преобразовательная подстанция для подключения системы переменного тока с биполярной линией передачи HVDC электроэнергии имеет установку нейтрали DC, выполненную с первыми DC выключателями, позволяющими разрывать первую токовую цепь между нейтральной шиной (111) одного проводника (104) упомянутой линии передачи электроэнергии и нейтральной шиной другого проводника (105) при биполярном режиме подстанции для изоляции неисправного сектора и переключения на однополярный режим/обратный ход. Установка нейтрали DC имеет на упомянутой первой токовой цепи, по меньшей мере, два первых DC выключателя (133, 136 и 134, 137), подключенных последовательно и выполненных с возможностью функционировать как резерв друг для друга в том случае, если некоторый из них не сможет разомкнуть первую токовую цепь для изоляции неисправного сектора за счет перехода с биполярного на однополярный режим. 12 з.п. ф-лы, 4 ил.
Область техники, к которой относится изобретение, и известный уровень техники
Настоящее изобретение относится к преобразовательным подстанциям для подключения системы переменного тока (AC) к биполярным линиям электропередач высокого напряжения на постоянном токе (HVDC), при этом подстанция включает в себя два преобразователя тока, каждый из которых имеет сторону постоянного тока (DC), подключенную с одной части соответственно к двум проводникам упомянутой линии электропередачи на высокий потенциал, а с другой – к нулевой шине, для чего проводник установки нейтрали DC, общий для преобразователей, заземлен на нулевой потенциал, и АС сторону, подключенную к упомянутой АС системе; упомянутая установка нейтрали DC имеет элемент подключения к, по меньшей мере, одной электродной линии, и устройство выполнено с первыми выключателями, дающими возможность размыкания первой токовой цепи между нейтральной шиной одного проводника и нейтральной шиной другого проводника при биполярном режиме подстанции, для переключения на однополярный режим подстанция также включает в себя управляющий прибор, выполненный с возможностью управления упомянутым переходом с биполярного на однополярный режим за счет управления упомянутым первым DC выключателем путем размыкания упомянутой токовой цепи между упомянутыми двумя нейтральными шинами и установления токовой цепи к упомянутому подключающему элементу электродной линии для отклонения тока от упомянутого проводника к другому.
Изобретение не ограничивается отдельными уровнями разности потенциалов между заземлением и любым упомянутым проводником HVDC линии электропередач, но оно главным образом соответствует такой разности потенциалов, превышающей 500 кВ, которая подразумевает, что упомянутая линия электропередач передает значительную энергию, и система передачи электроэнергии, которая включает преобразовательную подстанцию, требует высокого уровня надежности. При этом в соответствии с изобретением отсутствуют ограничения на определенные уровни электрического тока, проходящего через упомянутые проводники упомянутых линий электропередач, но упомянутые линии предпочтительно номинально рассчитаны на электрический ток силой выше 1 кА.
Обобщенная конструкция HVDC системы передачи этого типа схематично показана на Фиг.1. Она иллюстрирует преобразовательную подстанцию 1, 2, подключенную к концам HVDC линии электропередач 3, имеющую два проводника 4, 5, один из которых имеет положительную, а другой – отрицательной полярность. AC система 6, 6′ подключена к преобразовательной подстанции через трансформаторы 7, 7′ для получения соответствующего уровня напряжения упомянутой DC системы. AC система может быть генерирующей системой, входящей в состав некоторого типа электростанции с генераторами электрической энергии, системой потребления или сетью для подключения потребителей электрической энергии, таких как предприятия или жилые районы. Каждая преобразовательная подстанция имеет два преобразователя 8 и 9, каждый из которых имеет DC цепь, подключенную с одной части к упомянутым проводникам 4 и 5 соответственно, а с другой – к общей для преобразователей установки 10 нейтрали DC, подключенной к ветви низкого напряжения, замкнутой на землю, для ограничения определенного напряжения на каждом проводнике. Каждый преобразователь 8 и 9 может быть заменен комплектом, состоящим из двух или трех подключенных последовательно преобразователей, для получения высокого напряжения, которое могло бы составлять около 800 кВ на каждом проводнике. Преобразователи включают в себя определенное число диодов в любой известной конфигурации, например в 12-импульсной мостовой схеме. Преобразователи могут быть линейно коммутированы как преобразователи тока, в которых переключающие элементы, такие как тиристоры, выключаются при пересечении нулевого уровня переменного тока, упомянутой системы переменного тока в упомянутой AC системе. Преобразователи также могут быть вынужденно коммутированы как преобразователи напряжения, в которых упомянутые переключающие элементы выключаются в соответствии с методом Широко-Импульсной Модуляции (ШИМ).
Преимуществом системы передачи HVDC электроэнергии относительно системы передачи электроэнергии на переменном токе является значительное снижение потерь в линиях передач электроэнергии между двумя преобразовательными подстанциями, при этом преобразовательные подстанции главным образом более дорогостоящие в системе передачи HVDC электроэнергии, чем в системе передачи электроэнергии на переменном токе. Системы передачи HVDC электроэнергии, следовательно, в основном используются для передачи большой мощности преимущественно на уровне нескольких ГВт на большие дистанции в сотни километров. Это означает, что последствия для подключенной системы переменного тока могут быть очень серьезным, если оба провода линии электропередач оборвутся, то есть будут разъединенными, в результате нежелательного одновременного замыкания на землю. Если упомянутая система переменного тока принадлежит к главной системе, питающей электроэнергией большой город, такой биполярный обрыв может привести к большому снижению электрической мощности, подаваемой к упомянутой главной системе, что создаст неустойчивость в работе этой системы и, в свою очередь, может привести к выходу из строя других ее частей. Последствия для подключающей системы переменного тока в случае обрыва одного провода не являются в два раза меньшими по серьезности, как если бы были оборваны оба провода. Настоящее изобретение рассматривается по критерию надежности относительно описанных во вводной части преобразовательных подстанций, упомянутая установка нейтрали DC которой функционально схожа, и обычная схема такой установки нейтрали DC известной преобразовательной подстанции показана на Фиг. 2. Эта установка 10 имеет нейтральную шину 11, подключенную к цепи низкого напряжения одного преобразователя 8, и нейтральную шину 12, подключенную к цепи низкого напряжения другого преобразователя 9. Нейтральные шины подключены друг к другу через последовательное соединение двух первых DC выключателей 13, 14 и разъединителей 15, 16, связанных с каждым DC выключателем 13, 14. Средняя точка 17 этого последовательного подключения между первыми DC выключателями и разъединителями, относящимися к одной и другой нейтральным шинам, соединена через цепь 18, включающую разъединители, с элементом 19, подключенным к двум электродным линиям 20, 21, идущим от преобразовательной подстанции к электродной станции 22, функция которой будет описана ниже. Установка 10 нейтрали DC также включает заземляющий переключатель 23, подключенный через линии, включающие разъединители, к точкам 24, 24′ между первым DC выключателем и разъединителем, относящимся к каждой нейтральной шине 11, 12.
Функция преобразовательной подстанции, имеющей эту известную установку нейтрали DC, показанная на Фиг. 2, следующая. Во время работы в биполярном режиме преобразовательная подстанция функционирует как выпрямитель, электрический ток с проводника, имеющего отрицательную полярность, идет к преобразователю 9 и через нейтральную шину 12 – к нейтральной шине 11, при этом первые выключатели 13, 14 и разъединители 15, 16 замкнуты. Электрический ток далее идет через преобразователь 8 на другой проводник 4 линии HVDC электропередачи с положительной полярностью в соответствии со стрелками 25. Разъединители на линии 18, ведущей к соединительным элементам электродной цепи 19, замкнуты, тем самым устанавливая нулевой потенциал на нейтрали.
Предположим, что в проводнике 4 DC цепи произошло нежелательное замыкание на землю, Фиг. 3 иллюстрирует, как в этом случае будет функционировать преобразовательная подстанция и, в частности, установка нейтрали DC. Диоды преобразователя 8 будут затем блокироваться с шунтирующей схемой, а значит, что последовательно соединенные диоды включаются и, таким образом, AC цепь шунтируется для защиты упомянутой AC системы 6 и подключенного к ней оборудования. Эти шунтирующие схемы будут иметь низкое полное сопротивление для подключения DC проводника 4 и установки нейтрали DC. Точками показано, как электрический ток будет проходить к нежелательному замыканию на землю 26. При этом важно быстро изолировать это замыкание на землю для сохранения работоспособности другого проводника 5. Разъединители цепи 18 замкнуты для образования токовой цепи на подключающий элемент электродной линии 19 и далее через электродные линии 20, 21 к электродной станции 22. Постоянный электрический ток проводника 5 будет, таким образом, распределен между двумя токовыми цепями: через электродную линию на заземление и через проводник 4 – на нежелательное замыкание на землю. Около половины электрического тока будет идти на каждую из двух токовых цепей. Чтобы изолировать нежелательное замыкание на землю, первый DC выключатель 16 размыкается, таким образом, весь электрический ток пойдет через электродную линию на электродную станцию. Когда DC выключатель 13 разомкнут, разъединители 15, 15′ на нейтральной шине, так же как разъединитель 27 на проводнике 4, размыкаются, чтобы обеспечить изоляцию неисправного проводника 4.
Если DC выключатель 13 выходит из строя и не уменьшает значение электрического тока до нуля, то есть не коммутирует электрический ток с электродными линиями, он будет повторно замкнут. Переключатель заземления 23 затем замыкается как резерв для DC выключателя 13, тем самым формируя низкое полное сопротивление для соединения нейтральной шины 12 с заземлением. Почти весь электрический ток «здорового» проводника 5 будет затем идти в заземляющую сеть станции, а значение электрического тока на другом проводнике 4 будет таким образом уменьшаться почти до нуля, так что разъединители 15, 27 и 15′ могут затем быть разомкнуты, чтобы выполнить изоляцию. Когда проводник 4 изолирован, переключатель заземления размыкается, и весь электрический ток направляется на электродные линии. Преобразовательная подстанция и система передачи HVDC электроэнергии затем функционируют в однополярном режиме так что половина от мощности при биполярном режиме, может быть еще поставлена. Так скоро, как возможно, обычно в пределах около минуты, подключение нейтральной шины 12 к проводнику 4 осуществляется замыканием разъединителей и переключателей, отклоняющих электрический ток, в соответствии со стрелками 28, на оборотный ход, вместо замыкания на землю через электродную станцию, если существует необходимость сохранить однополярный режим системы без питания на землю через электродную станцию.
Работа различных компонентов установки нейтрали DC будет такой же, если замыкание на землю случится на другом проводнике 5, в этом случае выключатель 14 и разъединитель 16 будут разомкнуты для отклонения электрического тока на электродную станцию и так далее.
Установка нейтрали DC такой известной преобразовательной подстанции обеспечивает достаточную надежность, но в то же время имеет некоторые недостатки. Невозможно разделить две электродные линии, это означает, что в случае замыкания на землю одной из них произойдет выход из строя всего подключения к электродной станции, что приведет к биполярному отключению системы. Также невозможно проверить надлежащим образом каждую электродную линию, когда они не используются. Другой недостаток заключается в том, что переключатель заземления, описанный выше, является резервом для первых DC выключателей 13, 14, и при его замыкании повышается потенциал заземляющей сети в результате высокого значения проходящего электрического тока. Нейтральная точка трансформаторов преобразовательной подстанции подключена к этой заземляющей сети, и рост ее потенциала побуждает течение постоянного тока через трансформаторы, и таким образом возникает риск отключения другого проводника. Другой недостаток, что невозможно осуществить обслуживание первых DC выключателей при биполярном режиме преобразовательной подстанции.
Сущность изобретения
Задачей настоящего изобретения является создание преобразовательной подстанции, относящейся к типу, описанному во вводной части, в которой, по меньшей мере, один из выше перечисленных недостатков, характерных для известных преобразовательных подстанций, в значительной степени исключен.
Задача в соответствии с изобретением решается созданием такой подстанции, в которой установка нейтрали DC имеет в упомянутой первой токовой цепи, по меньшей мере, два первых DC выключателя, подключенных последовательно и приспособленных функционировать как резерв друг для друга в случае, если один из них выйдет из строя и не сможет разомкнуть упомянутую первую токовую цепь при переключении из биполярного к однополярному режиму под управлением упомянутого управляющего прибора. Такое переключение может быть сделано для изоляции неисправного сектора системы передачи электроэнергии.
Это означает, что в случае выхода из строя первого DC выключателя будет отсутствовать необходимости в замыкании какого-либо переключателя заземления, так как есть, по меньшей мере, один следующий первый DC выключатель, который может быть разомкнут, в случае, например, нежелательного замыкания на землю некоторого из упомянутых двух проводников.
В соответствии с другим вариантом конструкции изобретения упомянутая установка нейтрали DC включает в себя, по меньшей мере, две упомянутые первые токовые цепи, при этом каждая из них имеет, по меньшей мере, два упомянутых первых DC выключателя, подключенных последовательно как резерв друг для друга, и каждая первая токовая цепь спроектирована обеспечить возможность электрическому току проходить через нее при биполярном режиме подстанции независимо от состояния упомянутых первых DC выключателей в другой упомянутой первой токовой цепи. Такое решение обеспечивает большую надежность преобразовательной подстанции, так как обслуживание первых DC выключателей первой токовой цепи может проводиться без снижения мощности во время биполярного режима системы передачи HVDC электроэнергии, в которую входит преобразовательная подстанция. При этом также возможно проводить проверку DC выключателей одной упомянутой первой токовой цепи во время функционирования преобразовательной подстанции без нарушения ее режима работы. Таким образом, можно гарантировать, что первые DC выключатели будут надлежащим образом функционировать, когда они используются для размыкания, поскольку каждый упомянутый выключатель имеет другой такой выключатель как резерв, так что риск необходимости применения переключателя заземления для переключения с биполярного на однополярный режим фактически исключен.
В соответствии с другим вариантом конструкции изобретения упомянутая установка нейтрали DC выполнена с двумя упомянутыми подключающими элементами электродной линии для подключения отдельных упомянутых электродных линий и средствами для подключения каждой нейтральной шины к выбранному из упомянутых двух подключающих элементов электродных линий. Это означает, что нежелательное замыкание на землю на одной из электродных линий или связанном оборудовании может быть изолировано, так что электрический ток при этом будет выведен через другую электродную линию к электродной станции, и биполярное отключение может быть исключено при однополярном режиме преобразовательной подстанции. Разделение двух электродных линий в этом случае также включает возможность выполнять обслуживание оборудования, подключенного к такой электродной линии.
В соответствии с другим вариантом конструкции изобретения, составляющим следующее развитие вышеописанного варианта конструкции, упомянутые средства соединения включают для каждой нейтральной шины последовательное подключение трех DC выключателей, являющееся общим для нейтральной шины и соответствующих подключающих элементов электродной линии в полуторной размыкающей системе. Таким образом, выключатели расположены так же, как в распределительном устройстве переменного тока. Такой метод подключения обеспечивает высокую надежность режима работы установки нейтрали DC с ограниченным количеством DC выключателей. Кроме того, каждый DC выключатель преимущественно имеет разъединитель с каждой стороны относительно него для изоляции DC выключателя, которая осуществляется сразу, как только он будет разомкнут для отклонения электрического тока на электродную станцию или просто для осуществления обслуживания DC выключателя.
В соответствии с другим вариантом конструкции изобретения преобразовательная подстанция имеет упомянутое последовательное подключение трех выключателей, при этом упомянутая нейтральная шина подключена к последовательному подключению между двумя DC выключателями с одной стороны относительно среднего DC выключателя, и упомянутые подключающие элементы электродной линии подключены к последовательному подключению между двумя DC выключателями с другой стороны относительно упомянутого среднего DC выключателя.
В соответствии со следующим вариантом конструкции изобретения упомянутая установка нейтрали DC включает в себя проводящую шину, при этом каждая нейтральная шина подключена к ней через один упомянутый DC выключатель упомянутого последовательно подключения трех связанных DC выключателей. Это означает, что упомянутая первая токовая цепь между двумя нейтральными шинами будет сформирована одним таким DC выключателем упомянутого последовательного подключения трех DC выключателей и упомянутой первой проводящей шиной или линией, при этом эти два DC выключателя будут функционировать как резерв друг для друга, таким образом, эти два DC выключателя, подключающие нейтральной шину к упомянутой шине или линии, являются упомянутыми первыми DC выключателями, подключенными последовательно в одной упомянутой первой токовой цепи.
В соответствии с другим вариантом конструкции изобретения упомянутая установка нейтрали DC включает в себя вторую проводящую шину, при этом каждый подключающий элемент электродной линии подключен к ней через один DC выключатель упомянутого последовательного подключения трех связанных DC выключателей. Это означает, что DC выключатель, подключающий упомянутую вторую проводящую шину, может быть использован для изоляции электродной линии в случае ее нежелательного замыкания на землю или некоторого связанного с ней оборудования.
В соответствии с другим вариантом конструкции изобретения упомянутые два средних DC выключателя и два DC выключателя, подключающие электродные линии к упомянутой второй шине или линии, являются упомянутыми первыми DC выключателями, подключенными последовательно в одной упомянутой первой токовой цепи. Таким образом, эта первая токовая цепь включает четыре первых DC выключателя, подключенные последовательно и образующие резерв друг для друга.
В соответствии с другим вариантом конструкции изобретения упомянутые две проводящие шины соединены через дополнительную линию, имеющую DC выключатель и являющуюся параллельной относительно двух последовательных подключений трех DC выключателей. Наличие этой дополнительной линии далее увеличивает возможности для проведения обслуживания оборудования установки нейтрали DC без какого-либо снижения мощности.
В соответствии с другим вариантом конструкции изобретения переключатель заземления подключен к точке на упомянутой дополнительной линии для заземления этой дополнительной линии в случае неспособности упомянутых DC выключателей разомкнуть путь тока между нейтральными шинами. В действительности этот переключатель заземления будет не востребован для этой функции, так как DC выключатели будут функционировать как резерв друг для друга и могут быть подвергнуты проверке или обслуживанию так часто, как требуется, так что этот переключатель заземления главным образом функционирует как резерв для некоторых первых DC выключателей, когда обслуживанию подвержены другие первые DC выключатели, используемые как резерв для ранее упомянутых.
В соответствии с другим вариантом конструкции изобретения упомянутая первая шина или линия подключена через первый разъединитель к средней точке линии соединения упомянутых двух проводников линии передачи HVDC электроэнергии, при этом упомянутый первый разъединитель рассчитан быть разомкнутым при биполярном режиме подстанции, линия соединения упомянутых двух проводников выполнена с разъединителями с обеих сторон относительно средней точки, упомянутый управляющий прибор выполнен с возможностью управления упомянутым первым разъединителем за счет его замыкания, и разъединитель подключает один из проводников через замыкание на оборотный провод электрического тока от другого проводника при однополярном режиме подстанции после отключения упомянутого одного проводника. Оборотный провод в этом случае может быть подключен так скоро, как неисправная секция будет изолирована, поэтому исключена избыточная перезарядка заземления электронной станции.
В соответствии с другим вариантом конструкции изобретения преобразовательная подстанция приспособлена для подключения системы переменного тока к биполярной линии передачи HVDC электроэнергии, рассчитанной иметь напряжение между каждым проводником и заземлением свыше 200 кВ, преимущественно превышающее 500 кВ, предпочтительно 600-1500 кВ и наиболее предпочтительно 600-1000 кВ. Особые преимущества преобразовательной подстанции в соответствии с изобретением проявляются для высоких напряжений, поскольку это высокое напряжение соответствует передаче более высокой мощности, при этом биполярное отключение системы передачи HVDC электроэнергии несет в себе очень серьезные последствия, поэтому очень важно обеспечить высокую надежность преобразовательной подстанции.
Другие преимущества также как и выгодные характеристики изобретения будут предоставлены из следующего описания.
Краткое описание чертежей
Ниже следует частичное описание преобразовательной подстанции в соответствии с вариантом конструкции изобретения со ссылкой к прилагающимся чертежам.
Фиг. 1 – очень схематичный вид основной структуры системы передачи HVDC электроэнергии.
Фиг. 2 – принципиальная электрическая схема, отражающая структуру установки нейтрали DC, входящей в состав известной преобразовательной подстанции HVDC системы передачи электроэнергии.
Фиг. 3 – вид установки нейтрали DC в соответствии с Фиг. 2, используемой для объяснения ее функционирования при нежелательном замыкании на землю одного проводника.
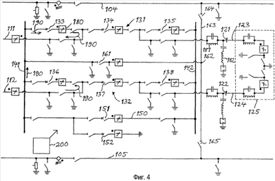
Фиг. 4 – вид, подобный Фиг. 2, установки нейтрали DC в преобразовательной подстанции, соответствующий конструкторскому исполнению настоящего изобретения.
Детальное описание варианта конструкции изобретения
Установка нейтрали преобразовательной подстанции в соответствии с вариантом конструкции настоящего изобретения с подключенной к ней электродной станцией и два проводника биполярной линии HVDC электропередач показаны на Фиг. 4. Проводники 104, 105 имеют полярность +800 кВ и -800 кВ соответственно. Упомянутая установка нейтрали DC выполнена с двумя элементами подключения электродных линий 121, 122 для подключения к отдельным электродным линиям 123, 124, каждая из которых подключена к отдельной электродной цепи электродной станции 125.
Последовательное подключение 131, 132 трех DC выключателей 133-138 выполнено для каждой нейтральной шины 111, 112, подключающей установку нейтрали DC к цепи низкого напряжения соответствующего преобразователя, и каждое такое последовательное подключение совместно используется нейтральной шиной и соответствующими упомянутыми элементами подключения электродной линии 121, 122 в полуторной размыкающей системе. Это достигнуто за счет того, что каждая нейтральная шина 111, 112 подключена к последовательному подключению между двумя DC выключателями 133, 134 и 136, 137 соответственно с одной стороны от среднего DC выключателя 134 и 137 соответственно, а элементы подключения электродных линий 121 и 122 соответственно, подключены к последовательному подключению между упомянутым средним DC выключателем и DC выключателем 135 и 138 соответственно с другой стороны относительно среднего DC выключателя. Установка нейтрали DC также включает в себя первую проводящую шину 141, которая подключена к каждой нейтральной шине 111, 112 через один DC выключатель 133 и 136 соответственно упомянутого последовательного подключения трех DC выключателей. Таким образом, первый путь тока между двумя нейтральными шинами формируется через упомянутые два DC выключателя 133, 136 и шину 141, подключающую их друг к другу.
Установка нейтрали DC также включает в себя вторую проводящую шину 142, которая подключена к каждому подключающему элементу электродной линии 121, 122 через один DC выключатель 135 и 138 соответственно последовательного подключения 131 и 132 соответственно трех DC выключателей. Две проводящие шины 141, 142 также соединены через дополнительную линию 150, имеющую DC выключатель 151 и являющуюся параллельной относительно упомянутых двух последовательных подключений 131, 132 трех DC выключателей. Переключатель заземления 152 подключен к точке на дополнительной линии 150 и при замыкании заземляет эту дополнительную линию.
Упомянутая первая проводящая шина или линия 141 через первый разъединитель 161 подключена к средней точке 162 линии 163, соединяющей два проводника 104, 105 HVDC линии электропередач. Упомянутый первый разъединитель рассчитан быть разомкнутым при биполярном режиме преобразовательной подстанции. Линия 163 соединения упомянутых двух проводников выполнена с разъединителями 164, 165 с обеих сторон относительно упомянутой средней точки 162. Эта схема используется для обратного хода.
Наконец, разъединители подключены последовательно с каждым DC выключателем с обеих сторон относительно него для обеспечения возможности изоляции DC выключателя при его обслуживании, а также для осуществления физического разъединения токовой цепи при падении до нуля значения электрического тока, проходящего через DC выключатель. Также показано расположение амперметров, например, 180 позволяющих отслеживать функционирование различных частей установки нейтрали DC. Улавливающий фильтр 181 и инжекционная схема 182 для измерения сопротивления электродной линии также показаны на чертеже.
Функция установки нейтрали DC, показанной на Фиг. 4, следующая. Все DC выключатели 133-138 и 151 обычно замкнуты при биполярном режиме подстанции, а значит, одна первая токовая цепь будет сформирована между нейтральной шиной 112 и нейтральной шиной 111 через DC выключатель 136, проводящую шину или линию 141 и DC выключатель 133, как показано стрелками 190. Другая упомянутая первая токовая цепь будет сформирована через DC выключатели 137 и 138, вторую проводящую шину или линию 142 и DC выключатели 135 и 134. Кроме того, электрический ток также может найти путь через DC выключатель 136, первую проводящую шину 141, дополнительную линию 150 с DC выключателем 151, вторую проводящую шину 142 и DC выключатели 135 и 134. Это означает, что пока система HVDC передачи электроэнергии работает в биполярном режиме, DC выключатели 133-138 и 151, входящие в состав преобразовательной подстанции, могут подвергаться обслуживанию без какого-либо снижения мощности. Если, например, обслуживанию подвергается DC выключатель 133, который разомкнут, а также разомкнуты разъединители с обеих сторон относительно него, и это значит, что электрический ток не может проходить между нейтральными шинами через первую токовую цепь, показанную стрелками 190, то он может проходить между нейтральными шинами через упомянутую другую первую токовую цепь через выключатели 137, 138 и 134, 135. Также возможно проводить обслуживание оборудования, связанного с первой электродной линией, в то же время, когда другая электродная линия со связанным оборудованием готова транспортировать электрический ток на электродную станцию при отключении одного из проводников и переключении на однополярный режим.
Предположим, что замыкание на землю произошло на проводнике 104, как описывалось со ссылкой к Фиг. 3. Управляющий прибор 200 в таком случае разомкнет DC выключатели 133 и 134 и таким образом разомкнет первую токовую цепь между нейтральной шиной 112 и нейтральной шиной 111. Разъединители, связанные с этими DC выключателями, будут завершать процесс размыкания, когда значение электрического тока уменьшится до нуля. Электрический ток из проводника 105, поступающий на нейтральную шину 112, может затем проходить через DC выключатель 137 на подключающий элемент электродной линии 122 и через DC выключатели 137, 138, вторую проводящую шину 142 и DC выключатель 135 – на подключающий элемент 121 электродной линии. Таким образом, в случае замыкания на землю одной из электродных линий или связанного оборудования они могут быть изолированы. Предположим, что такое замыкание на землю случилось в подключении электродной линии 123. DC выключатель 135 в этом случае будет разомкнут, и электрический ток с нейтральной шины 112 сможет поступать только на подключающий элемент 122 электродной линии.
В случае выхода из строя выключателя 133 и неспособности уменьшать значение электрического тока, проходящего через него, до нуля DC выключатель 136 может быть разомкнут как резерв. В случае выхода из строя DC выключателя 134 и неспособности уменьшать значение электрического тока, проходящего через него, до нуля DC выключатель 135 может быть разомкнут как резерв. Это означает, что подключающий элемент 121 электродной линии временно размыкается до того момента, пока разъединитель, подключенный к DC выключателю, может быть разомкнут.
Переключатель заземления 152 на практике используется только как резерв для некоторых DC выключателей, когда обслуживанию подвержены DC выключатели, используемые как резерв для ранее упомянутых.
Как скоро работа при однополярном режиме стабилизируется, разъединитель 161 и разъединитель 164 замыкаются, и подключение между нейтральной шиной 112 и подключающим элементом электродной линии прерывается на обеих преобразовательных подстанциях из-за обратного хода тока во избежание избыточной перезарядки заземления электродной станции и необходимости сохранить однополярный режим системы передачи HVDC электроэнергии.
В случае отключения другого проводника 150 линии электропередач функционирование преобразовательной подстанции и, в частности, установки нейтрали DC будет происходить в соответствии с вышеупомянутым описанием. Это означает, например, что DC выключатели 136 и 137 будут разомкнуты для уменьшения значения электрического тока, проходящего через них до нуля, при этом DC выключатели 133 и 138 будут являться резервом.
В других случаях изобретение, конечно, не ограничивается вариантом конструкции, описанным выше, и допускает много возможностей в модификации лицом с обычной квалификацией без отклонения от основной идеи изобретения в соответствии с пунктами в прилагающейся формуле изобретения.
Формула изобретения
1. Преобразовательная подстанция для подключения системы переменного тока (АС) к биполярной линии (3) электропередач высокого напряжения на постоянном токе (HVDC), при этом упомянутая подстанция содержит два преобразователя (8, 9), каждый из которых имеет сторону постоянного тока, подключенную с одного конца соответственно к двум проводникам (104, 105) упомянутой линии электропередач на высоком потенциале, а с другого – к нейтральным шинам (111, 112), для чего проводник установки (10) нейтрали постоянного тока (DC), общий для преобразователей, заземлен на нулевой потенциал и имеет сторону переменного тока (АС), подключенную к упомянутой АС системе (6), причем упомянутая установка нейтрали DC имеет подключающий элемент, подключенный, по меньшей мере, к одной электродной линии (123, 124), и установка выполнена с первыми DC выключателями, дающими возможность разрывать первую токовую цепь между нейтральной шиной одного проводника и нейтральной шиной другого проводника при биполярном режиме подстанции для перехода на однополярный режим, подстанция также включает в себя управляющий прибор (200), выполненный с возможностью управления упомянутым переходом от биполярного к однополярному режиму посредством управления упомянутым первым DC выключателем, для размыкания упомянутой токовой цепи между упомянутыми двумя нейтральными шинами (111, 112) и замыкания токовой цепи с упомянутым подключающим элементом электродной линии для переключения тока от упомянутого одного проводника на другой, отличающаяся тем, что упомянутая установка нейтрали DC имеет в первой токовой цепи, по меньшей мере, два первых DC выключателя (133, 136, 137, 138), подключенных последовательно и выполненных с возможностью действия в качестве резервных друг для друга в случае, если некоторые из них не смогут разорвать упомянутую первую токовую цепь под управлением упомянутого управляющего прибора для перехода с биполярного на однополярный режим.
2. Преобразовательная подстанция по п.1, отличающаяся тем, что установка нейтрали DC включает в себя, по меньшей мере, две упомянутые первые токовые цепи, причем каждая имеет, по меньшей мере, два упомянутых первых DC выключателя (133, 136, 137, 138), подключенных последовательно для резерва друг друга, и каждая первая токовая цепь предназначена для возможности прохождения тока при биполярном режиме подстанции независимо от состояния упомянутых первых выключателей постоянного тока в любой другой упомянутой первой токовой цепи.
3. Преобразовательная подстанция по п.1 или 2, отличающаяся тем, что установка нейтрали DC выполнена с двумя упомянутыми подключающими элементами (121, 122) электродных линий для подключения к каждой отдельной упомянутой электродной линии (123, 124) и средствами для подключения каждой нейтральной шины (111, 112) к выбранному из двух упомянутых подключающих элементов электродных линий.
4. Преобразовательная подстанция по п.3, отличающаяся тем, что упомянутые средства для подключения включают в себя для каждой нейтральной шины последовательное подключение (131, 132) трех DC выключателей (133-135, 136-138) общих для упомянутой нейтральной шины (111, 112) и соответствующих упомянутых подключающих элементов (121, 122) электродной линии в полуторной размыкающей системе.
5. Преобразовательная подстанция по п.4, отличающаяся тем, что в каждом упомянутом последовательном подключении (131, 132) трех DC выключателей упомянутая нейтральная шина (111, 112) подключается к последовательному подключению между двумя DC выключателями на одной стороне среднего DC выключателя (134, 137), и упомянутый подключающий элемент электродной линии (121, 122) подключается к последовательному подключению между двумя DC выключателями на другой стороне относительно упомянутого среднего DC выключателя.
6. Преобразовательная подстанция по п.4, отличающаяся тем, что установка нейтрали DC включает в себя первую проводящую шину (141), к которой каждая нейтральная шина (111, 112) подключена через один из упомянутых DC выключателей (133, 136) упомянутого последовательного подключения трех DC выключателей, соединенных между собой.
7. Преобразовательная подстанция по п.5, отличающаяся тем, что установка нейтрали DC включает в себя первую проводящую шину (141), к которой каждая нейтральная шина (111, 112) подключена через один из упомянутых DC выключателей (133, 136) упомянутого последовательного подключения трех DC выключателей, соединенных между собой, и тем, что эти два DC выключателя (133, 136), подключающие нейтральные шины к упомянутой проводящей шине (141), являются упомянутыми первыми DC выключателями, подключенными последовательно в одной упомянутой первой токовой цепи.
8. Преобразовательная подстанция по п.4, отличающаяся тем, что установка нейтрали DC включает в себя вторую проводящую шину (142), к которой каждый упомянутый подключающий элемент (121, 122) электродной линии подключен через один из упомянутых DC выключателей (135, 138) упомянутого последовательного подключения из трех DC выключателей, соединенных между собой.
9. Преобразовательная подстанция по п.5, отличающаяся тем, что установка нейтрали DC включает в себя вторую проводящую шину (142), к которой каждый упомянутый подключающий элемент (121, 122) электродной линии подключен через один из упомянутых DC выключателей (135, 138) упомянутого последовательного подключения трех DC выключателей, соединенных между собой, и тем, что упомянутые два средних DC выключателя (134, 137) и два DC выключателя (135, 138), подключающие электродные линии (123, 124) к упомянутой второй шине (142), являются упомянутыми первыми DC выключателями, подключенными последовательно в одной упомянутой первой токовой цепи.
10. Преобразовательная подстанция по п.6, отличающаяся тем, что установка нейтрали DC включает в себя вторую проводящую шину (142), к которой каждый упомянутый подключающий элемент (121, 122) электродной линии подключен через один из упомянутых DC выключателей (135, 138) упомянутого последовательного подключения трех DC выключателей, соединенных между собой, и тем, что упомянутые первая и вторая проводящие шины (141, 142) взаимоподключены через дополнительную линию (150), имеющую DC выключатель (151) и являющуюся параллельной с упомянутыми двумя последовательными подключениями (131, 132) трех DC выключателей.
11. Преобразовательная подстанция по п.10, отличающаяся тем, что переключатель заземления (152) подключен к точке упомянутой дополнительной линии (150), при этом он замыкается и заземляет эту дополнительную линию в том случае, если упомянутые первые DC выключатели не смогут разорвать ток, идущий от одной нейтральной шины к другой, управляемый чтобы сделать так.
12. Преобразовательная подстанция по п.6, отличающаяся тем, что упомянутая первая проводящая шина (141) через первый разъединитель (161) подключена к средней точке (162) линии (163), взаимоподключающей упомянутые два проводника (104, 105) HVDC линии передачи, упомянутый первый разъединитель выполнен с возможностью размыкания при биполярном режиме подстанции, при этом линия взаимоподключения двух упомянутых проводников выполнена с разъединителем (164, 165) с обеих сторон от упомянутой средней точки, и упомянутый управляющий прибор (200) выполнен с возможностью управления замыканием упомянутого первого разъединителя (161), и при этом разъединитель (164, 165) подключен к одному из проводников для размыкания для обратного хода тока от другого проводника при однополярном режиме подстанции после отключения упомянутого одного проводника.
13. Преобразовательная подстанция по п.1, отличающаяся тем, что она выполнена с возможностью подключения АС системы (6) к биполярной HVDC линии передачи (3), выполненной с возможностью иметь напряжение между каждым проводником (104, 105) и заземлением, превышающее 200 кВ, преимущественно превышающее 500 кВ, предпочтительно 600 кВ – 1500 кВ и наиболее предпочтительное 600-1000 кВ.
РИСУНКИ
|
|