|
|
(21), (22) Заявка: 2009117363/28, 06.05.2009
(24) Дата начала отсчета срока действия патента:
06.05.2009
(46) Опубликовано: 10.08.2010
(56) Список документов, цитированных в отчете о поиске:
Зверьков М.В. и др. Двойные интегральные наноструктуры для импульсных лазерных диодов, излучающих на длине волны 0,9 мкм. Квантовая электроника, т.38, 11, 2008, с.989-992. RU 2351047 C2, 27.03.2009. RU 2278455 C1, 20.06.2006. RU 2197049 C1, 20.01.2003. WO 0167567 A2, 13.09.2001. FR 2761537 A1, 02.10.1998. US 4063189 A, 13.12.1977.
Адрес для переписки:
194021, Санкт-Петербург, ул. Политехническая, 26, ФТИ им. А.Ф. Иоффе, патентно-лицензионная служба, В.И. Белову
|
(72) Автор(ы):
Тарасов Илья Сергеевич (RU), Арсентьев Иван Никитич (RU), Винокуров Дмитрий Анатольевич (RU), Пихтин Никита Александрович (RU), Симаков Владимир Александрович (RU), Коняев Вадим Павлович (RU), Мармалюк Александр Анатольевич (RU), Ладугин Максим Анатольевич (RU)
(73) Патентообладатель(и):
Учреждение Российской академии наук Физико-технический институт им. А.Ф. Иоффе РАН (RU)
|
(54) ТУННЕЛЬНО-СВЯЗАННАЯ ПОЛУПРОВОДНИКОВАЯ ГЕТЕРОСТРУКТУРА
(57) Реферат:
Изобретение относится к полупроводниковой технике, квантовой оптоэлектронике и может быть использовано для разработки мощных когерентных импульсных источников излучения на основе эпитаксиально-интегрированных гетероструктур. Сущность изобретения: туннельно-связанная полупроводниковая гетероструктура включает подложку (1) GaAs n-типа проводимости, на которую последовательно нанесены буферный слой (2) GaAs n-типа проводимости, по меньшей мере две лазерные диодные структуры (3), разделенные туннельным переходом (4), и контактный слой (5) GaAs p+-типа проводимости. Каждая лазерная диодная структура (3) содержит первый широкозонный эмиттерный слой (6) AlGaAs n-типа проводимости, широкий волновод (7) GaAs, в центре которого расположена узкозонная квантоворазмерная активная область (8) InGaAs и второй широкозонный эмиттерный слой (9) AlGaAs p-типа проводимости. Туннельный переход (4) содержит слой (10) GaAs p+-типа проводимости, нелегированный квантоворазмерный сплошной слой (11) GaAs толщиной 40-50 ангстрем и слой (12) GaAs n-типа проводимости. Использование гетероструктуры позволяет увеличить мощность изготовленного на ее основе прибора и срок его службы. 3 з.п. ф-лы, 4 ил.
Изобретение относится к полупроводниковой технике, квантовой оптоэлектронике и может быть использовано для разработки мощных когерентных импульсных источников излучения на основе эпитаксиально-интегрированных гетероструктур.
Одним из способов повышения оптической мощности импульсных источников излучения является создание лазерных источников на основе туннельно-связанных лазерных гетероструктур. Такие структуры представляют собой набор, например, из N-лазерных гетероструктур, последовательно выращенных в одном технологическом цикле. Для эффективного протекания тока через обратно смещенный p-n-переход в туннельно-связанной структуре необходимо создать условия для туннелирования носителей заряда через потенциальный барьер, что достигается введением сильно легированных p- и n-слоев в области смены типа проводимости. При создании высокоэффективных туннельных p-n-переходов в туннельно-связанных лазерных диодах происходит увеличение рабочего напряжения и дифференциальной квантовой эффективности в N-раз, в то время как рабочий ток почти не изменяется. Стоит отметить, что туннельный p-n-переход в указанных туннельно-связанных лазерных гетероструктурах является ключевым элементом, и его электрические характеристики определяют работу всего прибора в целом.
Известна туннельно-связанная полупроводниковая гетероструктура (см. заявку РСТ WO 0167567, МПК H01S 5/40, опубликована 13.09.2001), включающая подложку GaAs n-типа проводимости, на которую последовательно нанесены эмиттерный слой Ga0,49In0,51P n-типа проводимости, слой GaAs n-типа проводимости, широкозонный слой Ga0,49In0,51P, квантово-размерная активная область InGaAs, широкозонный слой Ga0,49In0,51P, туннельный переход, состоящий из слоя GaAs p+-типа проводимости и слоя GaAs n+-типа проводимости, широкозонный слой Ga0,49In0,51P, квантово-размерная активная область InGaAs, широкозонный слой Ga0,49In0,51P, туннельный переход, состоящий из слоя GaAs p+-типа проводимости и слоя GaAs n+-типа проводимости, широкозонный слой Ga0,49In0,51P, квантово-размерную активную область InGaAs, широкозонный слой Ga0,49In0,51P, слой GaAs p-типа проводимости, широкозонный слой Ga0,49In0,51P р-типа проводимости и слой GaAs р-типа проводимости. Все слои выполнены строго определенной толщины для создания биполярного каскадного антирезонансного антиотражающего оптического волновода.
Несмотря на то, что известная структура имеет слои определенной толщины для создания биполярного каскадного антирезонансного антиотражающего оптического волновода, в узкозонных слоях GaAs, тем не менее, будет происходить излучательная или безызлучательная рекомбинация инжектированных электронов и дырок, что приведет к потери полезной оптической мощности. Световая волна, распространяясь по структуре, будет поглощаться на свободных носителях узкозонных каналов в материале GaAs, что также приведет к дополнительным оптическим потерям, а следовательно, и оптической мощности. Слои GaAs n+ и p+-типа проводимости туннельного перехода являются сильнолегированными (1019-1020см-3), поэтому при больших токовых нагрузках мощного лазера будет разрушаться кристаллическая решетка, так как высокая концентрация примеси вносит множество дефектов, и у прибора уменьшится срок службы. Область распространения излучения очень узкая (L/2=0,45 мкм), что будет снижать его номинальную мощность.
Известна туннельно-связанная полупроводниковая гетероструктура биполярного каскадного лазера (см. J.Ch. Garcia, E. Rosencher et. al. – Epitaxially stacked lasers with Esaki junctions: A bipolar cascade laser. – Appl.Phys.Lett. – v.71, 26, 29.12.1997 г., р.3752-3754), включающая подложку GaAs n-типа проводимости, первый широкозонный эмиттер n-типа проводимости, волновод, в центре которого расположена узкозонная квантово-размерная активная область InGaAs, второй широкозонный эмиттер р-типа проводимости, туннельный переход, предназначенный для уменьшения контактного сопротивления, включающий слой GaAs р+-типа проводимости, узкозонный слой InGaAs n+-типа проводимости и слой GaAs n+-типа проводимости (1019-1020см-3), третий широкозонный эмиттерный слой п-типа проводимости, волновод, в центре которого расположена узкозонная квантово-размерная активная область InGaAs, четвертый широкозонный эмиттер р-типа проводимости и GaAs р-типа проводимости.
В известной структуре между слоями GaAs p+– и n+-типа проводимости туннельного перехода вставлен узкозонный напряженный слой In0,15Ga0,85As n+-типа проводимости толщиной 120 ангстрем, с целью уменьшения контактного сопротивления этой части прибора. Однако этот слой повышает дефектность на границе с окружающими слоями, так как увеличение легирующей примеси в кристаллической решетке до больших концентраций ведет к появлению дефектов. Кроме того, сильнолегированный узкозонный слой In0,15Ga0,85As n+-типа проводимости будет поглощать лазерное излучение в гетероструктуре, что приводит к потере мощности.
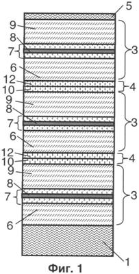
Известна туннельно-связанная полупроводниковая гетероструктура (см. М.В.Зверьков, В.Н.Коняев и др. Двойные интегральные наноструктуры для импульсных лазерных диодов, излучающих на длине волны 0,9 мкм. Квантовая электроника, т.38, 11, 2008, с.989-992), совпадающая с заявляемым решением по наибольшему числу существенных признаков и принятая за прототип. Гетероструктура-прототип включает подложку GaAs n-типа проводимости, на которую последовательно нанесены по меньшей мере две лазерные диодные структуры, разделенные туннельным переходом, и контактный слой GaAs p-типа проводимости, при этом каждая диодная структура содержит первый широкозонный эмиттер AIGaAs n-типа проводимости, широкий волновод GaAs, в центре которого расположена узкозонная квантово-размерная активная область InGaAs, и второй широкозонный эмиттер AIGaAs p-типа проводимости, а туннельный переход содержит слой GaAs p+-типа проводимости и слой GaAs n+-типа проводимости.
Недостатком туннельно-связанной полупроводниковой гетероструктуры-прототипа является то обстоятельство, что туннельный переход, содержащий два сильнолегированных (до 1019-1020 см-3) слоя GaAs n+– и p+-типа проводимости, содержит много дефектов и сильно напряжен. В результате в изготовленном на ее основе приборе со временем, при большой постоянной токовой нагрузке, дефекты будут распространяться в рабочие части структуры, что существенно отразится на мощности и уменьшит время службы прибора.
Задачей заявляемого изобретения является разработка такой конструкции туннельно-связанной полупроводниковой гетероструктуры, которая бы позволила увеличить мощность изготовленного на ее основе прибора и срок его службы.
Поставленная задача решается тем, что туннельно-связанная полупроводниковая гетероструктура включает подложку GaAs n-типа проводимости, на которую последовательно нанесены по меньшей мере две лазерные диодные структуры, разделенные туннельным переходом, и контактный слой GaAs p+-типа проводимости, при этом каждая лазерная диодная структура содержит первый широкозонный эмиттер AIGaAs n-типа проводимости, широкий волновод GaAs, в центре которого расположена узкозонная квантово-размерная активная область InGaAs, и второй широкозонный эмиттер AIGaAs p-типа проводимости, а туннельный переход содержит слой GaAs p+-типа проводимости, нелегированный квантово-размерный сплошной слой GaAs толщиной не более 30-50 ангстрем и слой GaAs n+-типа проводимости.
В отличие от структуры-прототипа в туннельном переходе между сильнолегированными слоями GaAs введен нелегированный квантово-размерный сплошной слой GaAs толщиной не более 30-50 ангстрем. При толщине этого нелегированного слоя более 50 ангстрем будет заметно увеличение толщины слоя объемного заряда, что отрицательно скажется на эффективности туннельного перехода, а при толщинах меньше 30 ангстрем есть вероятность, что слой будет несплошным и тогда он потеряет свою значимость.
Наличие разделительного нелегированного сплошного тонкого слоя GaAs в области туннельного перехода препятствует возникновению и распространению имеющихся дефектов сильнолегированных слоев GaAs в рабочие части полупроводниковой гетероструктуры, в результате повышается мощность прибора и увеличивается срок его службы.
На подложку буферный слой GaAs n-типа проводимости может быть нанесен буферный слой GaAs n-типа проводимости, который заращивает ее дефекты, повышая тем самым общее качество гетероструктуры.
Широкие слои GaAs волновода, общей толщиной 1,7-2,0 мкм, позволяют существенно снизить поглощение распространяемого излучения в легированных слоях гетероструктуры и увеличить мощность изготовленного на ее основе прибора.
Заявляемое техническое решение поясняется чертежами, где:
на фиг.1 приведено схематическое расположение слоев в туннельно-связанной полупроводниковой гетероструктуре-прототипе;
на фиг.2 показано схематическое расположение слоев в одном варианте выполнения заявляемой туннельно-связанной полупроводниковой гетероструктуры;
на фиг.3 дано схематическое расположение слоев в другом варианте выполнения заявляемой туннельно-связанной полупроводниковой гетероструктуры;
на фиг.4 приведено схематическое изображение зонной диаграммы заявляемой гетероструктуры, изображенной на фиг.2.
Заявляемая туннельно-связанная полупроводниковая гетероструктура (см. фиг.2 и 3) включает подложку 1 GaAs n-типа проводимости, на которую последовательно нанесены буферный слой 2 GaAs n-типа проводимости, две (см. фиг.2) или три (см. фиг.3) лазерные диодные структуры 3, разделенные туннельным переходом 4, и контактный слой 5 GaAs p+-типа проводимости. Каждая лазерная диодная структура 3 включает первый широкозонный эмиттерный слой 6 AIGaAs n-типа проводимости, широкий волновод 7 GaAs, в центре которого расположена узкозонная квантово-размерная активная область 8 InGaAs, и второй широкозонный эмиттерный слой 9 AIGaAs p-типа проводимости. Туннельный переход 4 содержит слой 10 GaAs p+-типа проводимости, нелегированный квантово-размерный сплошной слой 11 GaAs толщиной 30-50 ангстрем и слой 12 GaAs n+-типа проводимости.
Заявляемую туннельно-связанную полупроводниковую гетероструктуру изготавливают следующим образом. Структуры InGaAs/AIGaAs/GaAs, работающие в области длин волн 0,9 мкм, выращивались на установке МОС-гидридной эпитаксии “EMCORE GS/3100” с вертикальным реактором. Процесс роста осуществляли при пониженном давлении (65 Торр). Рост проходил на подложках n-GaAs (100). В качестве источников третьей группы использовались триэтилгаллий Gа(С2Н5)3, триметилалюминий Al(СН3)3 и триметилиндий In(СН3)3, а источником пятой группы служил высокочистый арсин А5Н3. В качестве газа-носителя использовался водород, очищенный методом диффузии через нагретый палладиевый фильтр (450°С) с точкой росы -(100-110)°С. Для обеспечения туннельного эффекта необходимо выполнение следующих требований:
– образующие p-n-переход материалы должны быть вырождены, т.е. должно выполняться условие:

где NA, ND – концентрация акцепторов и доноров соответственно;
NV, NC – эффективная плотность состояний валентной зоны и зоны проводимости соответственно.
Также необходимым условием для туннелирования носителей заряда является малая толщина потенциального барьера, которая зависит от концентрации легирующей примеси (чем выше концентрация, тем уже потенциальный барьер). Для эффективного туннелирования носителей заряда через потенциальный барьер необходима ширина перехода около 100 ангстрем. Необходимо также иметь высокую резкость p-n-перехода. В нашем случае необходимо обеспечить малое диффузионное размытие профилей для легирующих примесей.
Для выполнения данного условия необходимо использовать в качестве легирующей примеси элементы, обладающие низким коэффициентом диффузии. В качестве легирующих примесей, удовлетворяющих этому условию, были выбраны кремний (Si – донарная примесь) и углерод (С – акцепторная примесь). Источниками легирующей примеси были выбраны моносилан (SiH4) и тетрахлорид углерода (CCl4) соответственно. Для выбора оптимальных условий проведения технологического процесса эпитаксии были проведены исследования зависимости концентрации легирующей примеси Si и C в GaAs от потока SiH4 и CCl4 соответственно, а также от температуры роста в интервале 770-550°С. Атомную концентрацию примесей Si и C определяли при помощи измерений методом вторичной ионной масс-спектроскопии.
На основе туннельно-связанной полупроводниковой гетероструктуры с туннельным переходом (GaAs:Si/GaAs:C), содержащим нелегированный квантово-размерный сплошной слой GaAs толщиной 40 ангстрем, были изготовлены туннельно-связанные эпитаксиально-интегрированные диодные лазеры. В структурах вытравливались мезаполосковые контакты шириной 100 мкм и пассивные области закрывались диэлектрическим слоем SiO2. Далее гетероструктуры утончались со стороны подложки n-GaAs до толщины 100 мкм и на них наносили и затем вжигали омические контакты. Затем из структуры выкалывали образцы диодных лазеров с резонатором Фабри-перо, которые напаивали на медный теплоотвод и монтировали на измерительный стенд. На образец диодного лазера с длиной резонатора 3 мм и шириной мезаполоскового контакта W=100 мкм, изготовленного на основе заявляемой гетероструктуры с одним туннельным переходом, подавали в прямом направлении импульсный ток накачки частотой 1 кГц, длительностью 100 не и амплитудой до 100 А. При импульсном токе накачки в 100 А падение напряжение на кристалле составляло 24 В. Напряжение отсечки составило 2,8 В. Последовательно сопротивление кристалла – 240 мОм. Выходная оптическая мощность излучения при импульсном токе накачки 100 А составила 135 Вт. Пиковая длина волны генерации – 905 нм. Ширина спектра генерации на полувысоте интенсивности – 10 нм. Расходимость излучения, измеренная на полувысоте интенсивности, составила 24° и 18° соответственно в перпендикулярной и параллельной плоскостях p-n перехода.
Формула изобретения
1. Туннельно-связанная полупроводниковая гетероструктура, включающая подложку GaAs n-типа проводимости, на которую последовательно нанесены по меньшей мере две лазерные диодные структуры, разделенные туннельным переходом, и контактный слой GaAs p+-типа проводимости, при этом каждая лазерная диодная структура содержит первый широкозонный эмиттерный слой AlGaAs n-типа проводимости, широкий волновод GaAs, в центре которого расположена узкозонная квантово-размерная активная область InGaAs и второй широкозонный эмиттерный слой AlGaAs p-типа проводимости, а туннельный переход содержит слой GaAs p+-типа проводимости, нелегированный квантово-размерный сплошной слой GaAs толщиной 30-50 Å и слой GaAs n-типа проводимости.
2. Гетероструктура по п.1, отличающаяся тем, что она содержит три лазерные диодные структуры.
3. Гетероструктура по п.1, отличающаяся тем, что широкий волновод выполнен общей толщиной 1,7-2,0 мкм.
4. Гетероструктура по п.1, отличающаяся тем, что на подложку GaAs n-типа проводимости наносят буферный слой GaAs n-типа проводимости.
РИСУНКИ
|
|