|
|
(21), (22) Заявка: 2008147669/28, 02.12.2008
(24) Дата начала отсчета срока действия патента:
02.12.2008
(46) Опубликовано: 10.08.2010
(56) Список документов, цитированных в отчете о поиске:
RU 2194347 С2, 10.12.2002. RU 2109382 C1, 20.04.1998. RU 2166822 С2, 10.05.2001. RU 2166821 C2, 10.05.2001. US 5027359 A, 25.06.1991.
Адрес для переписки:
410052, г.Саратов, пр. 50 лет Октября, 101, Открытое акционерное общество “НПП “Инжект”, генеральному директору Г.Т.Микаеляну
|
(72) Автор(ы):
Микаелян Геворк Татевосович (RU), Панарин Вадим Александрович (RU), Жиздюк Татьяна Борисовна (RU), Буничев Александр Павлович (RU), Порезанов Сергей Николаевич (RU)
(73) Патентообладатель(и):
Открытое акционерное общество “Научно-производственное предприятие “ИНЖЕКТ” (RU)
|
(54) РЕШЕТКА ЛАЗЕРНЫХ ДИОДОВ И СПОСОБ ЕЕ ИЗГОТОВЛЕНИЯ
(57) Реферат:
Изобретение относится к полупроводниковым лазерам и может быть использовано для систем оптической (диодной) накачки твердотельных и газовых лазеров, инфракрасной подсветки целей, контроля и управления летательными аппаратами, беспроводной оптической связи в свободном пространстве, обработки материалов, в медицине и т.д. Техническим результатом изобретения является повышение надежности функционирования решетки лазерных диодов. Решетка лазерных диодов содержит основание из теплопроводящего материала с расположенными на основании теплопроводящим диэлектриком и линейками лазерных диодов, состоящих из лазерных диодов, токоподводящими контактными площадками и крышку пылезащитную. Решетка выполнена из отдельных линеек лазерных диодов. Каждая линейка лазерных диодов содержит отрицательный вывод и положительный вывод, свой индивидуальный теплоотвод. Отрицательный вывод каждой предыдущей линейки лазерных диодов соединен с положительным выводом последующей линейки лазерных диодов. Выводы крайних линеек лазерных диодов соединены с токоподводящими контактными площадками. Способ установки линеек лазерных диодов осуществляется приклеиванием теплоотвода линеек лазерных диодов на теплопроводящий диэлектрик, после чего осуществляют распайкой электрическое соединение отрицательного вывода каждой предыдущей линейки лазерных диодов с положительным выводом последующей линейки лазерных диодов, затем осуществляют распайкой электрическое соединение выводов крайних линеек лазерных диодов с токоподводящими контактными площадками. 2 н.п. ф-лы, 2 ил.
Изобретение относится к полупроводниковым лазерам и может быть использовано для систем оптической (диодной) накачки твердотельных и газовых лазеров, инфракрасной подсветки целей, контроля и управления летательными аппаратами, беспроводной оптической связи в свободном пространстве, обработки материалов, в медицине и т.д.
Наиболее близким аналогом – прототипом по технической сущности к предлагаемому техническому решению является решетка лазерных диодов, содержащая основание из теплопроводящего материала, например меди, с расположенными на основании теплопроводящим диэлектриком – изолятором, линейками лазерных диодов, состоящих из лазерных диодов, и токоподводящими контактными площадками и крышку пылезащитную (cм. Laser Focus World, www.optoelectronics-world.com). Диодная матрица обычно состоит из небольшого числа полосковых лазеров в одном кристалле, например 20 лазеров шириной 5 мкм с общей выходной мощностью излучения 1 Вт. Для получения более высоких мощностей боковая накачка позволяет использовать матрицы лазерных диодов большого размера вдоль стороны излучающей линейки лазерных диодов, при этом световой пучок накачки направлен перпендикулярно оси генерации.
Недостаток данного устройства заключается в том, что блок лазерных диодов выполнен монолитно, что негативно сказывается на исключении брака путем замены бракованного лазерного диода на новый элемент без брака.
Наиболее близким техническим решением по технической сущности к предлагаемому техническому решению является способ изготовления монолитной матрицы – решетки лазерных диодов (см. патент US 5284790, опубл. 02.08.1994 г., МКИ H01L 21/20, 21/203, 21/205), включающий изготовление основания из теплопроводящего материала, например меди, выполнение крепежных сквозных отверстий в основании, установку на основании теплопроводящего диэлектрика – изолятора, обработку, например, шлифованием теплопроводящего диэлектрика, установку линеек лазерных диодов, установку пылезащитной крышки. При изготовлении монолитной матрицы лазерных диодов на монолитной подложке формируют, по меньшей мере, одну канавку, имеющую вертикальные боковые стенки. Затем осаждают в канавку металлический слой и устанавливают в канавке несколько лазерных диодов таким образом, чтобы их излучающая поверхность была параллельна главной поверхности подложки.
Недостаток данных способов заключается в том, что решетка лазерных диодов выполнена в виде монолитной матрицы лазерных диодов, т.е. в виде единого блока – монолитно, что негативно сказывается на исключении брака путем замены бракованного лазерного диода на новый элемент без брака.
Сущность изобретения заключается в следующем.
Задача, на решение которой направлено заявляемое изобретение, заключается в повышении надежности функционирования и улучшении качества воспроизводимости способа решетки лазерных диодов.
Указанный технический результат при осуществлении изобретения достигается тем, что в решетке лазерных диодов, содержащей основание из теплопроводящего материала, например меди, с расположенными на основании теплопроводящим диэлектриком и линейками лазерных диодов, состоящих из лазерных диодов, токоподводящими контактными площадками, крышку пылезащитную, решетка лазерных диодов выполнена из отдельных линеек лазерных диодов, не связанных монолитно между собой, при этом каждая линейка лазерных диодов содержит отрицательный вывод, положительный вывод, индивидуальный теплоотвод, причем отрицательный вывод каждой предыдущей линейки лазерных диодов соединен с положительным выводом последующей линейки лазерных диодов, а вывода крайних линеек лазерных диодов соединены с токоподводящими контактными площадками.
Указанный технический результат при осуществлении изобретения достигается тем, что в способе изготовления решетки лазерных диодов, включающем изготовление основания из теплопроводящего материала, например меди, выполнение крепежных сквозных отверстий в основании, установку на основании теплопроводящего диэлектрика, обработку, например, шлифованием теплопроводящего диэлектрика, установку линеек лазерных диодов, установку пылезащитной крышки, установку линеек лазерных диодов осуществляют приклеиванием теплоотвода линеек лазерных диодов на теплопроводящий диэлектрик, после чего осуществляют распайкой электрическое соединение отрицательного вывода каждой предыдущей линейки лазерных диодов с положительным выводом последующей линейки лазерных диодов, затем осуществляют распайкой электрическое соединение выводов крайних линеек лазерных диодов с токоподводящими контактными площадками.
Сущность изобретения поясняется графическими материалами, примером конкретного исполнения и описанием.
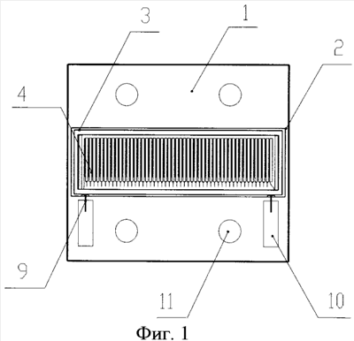
На фиг.1 показана схематично решетка лазерных диодов.
На фиг.2 изображен фрагмент решетки лазерных диодов.
На чертежах введены следующие обозначения:
1 – основание;
2 – теплопроводящий диэлектрик;
3 – пылезащитная крышка;
4 – линейка лазерных диодов;
5 – лазерные диоды;
6 – теплоотвод линейки лазерных диодов;
7 – положительный вывод линейки лазерных диодов;
8 – отрицательный вывод линейки лазерных диодов;
9 – выводы крайних линеек лазерных диодов;
10 – контактные площадки;
11 – отверстия крепежные сквозные;
12 – спай.
Решетка лазерных диодов содержит основание 1 из теплопроводящего материала, например меди, теплопроводящего диэлектрика 2, например из BeO, и линеек лазерных диодов 4, состоящих из лазерных диодов 5, теплоотвода 6 линейки лазерных диодов 4, с положительным выводом 7 линейки лазерных диодов 4 и с отрицательным выводом 8 линейки лазерных диодов 4. Линейки лазерных диодов 4 выполнены в виде отдельных элементов, не контактирующих между собой за исключением спаев 12 положительных выводов 7 линейки лазерных диодов 4 и отрицательных выводов 8 линейки лазерных диодов 4. Крайние выводы 9 соединяют линейки лазерных диодов 4 с токоподводящими контактными площадками 10.
Способ изготовления решетки лазерных диодов включает изготовление подложки – основания 1 из теплопроводящего материала, например меди, выполнение крепежных сквозных отверстий 11 в основании 1, установку путем припаивания теплопроводящего диэлектрика 2 (например из ВеО), выравнивание, например, шлифовкой поверхности теплопроводящего диэлектрика 2 и установку контактных площадок 10, изготовление, тренировку и отбор линеек лазерных диодов 4, установку линеек лазерных диодов 4 осуществляют приклеиванием теплоотвода 6 линеек лазерных диодов 4 на теплопроводящий диэлектрик 2, осуществляют спай 12 положительного вывода 7 каждой предыдущей линейки лазерных диодов 4 и отрицательного вывода 8 последующей линейки лазерных диодов 4. Затем осуществляют припаивание краевых выводов 9 крайних линеек лазерных диодов к токоподводящим контактным площадкам 10 для обеспечения электрического соединения и установку пылезащитной крышки 3.
Теплоотвод 6 линейки лазерных диодов 4 приклеивают только к теплопроводящему диэлектрику 2. Это дает возможность осуществлять замену одной линейки лазерных диодов на другой элемент линейки лазерных диодов.
Установку линейки лазерных диодов 4 осуществляют приклеиванием на теплопроводящий диэлектрик 2 теплоотводов 6 линеек лазерных диодов 4 таким образом, чтобы линейки лазерных диодов 4 не контактировали друг с другом. Это дает возможность осуществлять замену одной линейки лазерных диодов 4 на другой элемент – линейки лазерных диодов, не задевая соседнюю линейку лазерных диодов. После чего осуществляют распайку выводов 7 и 8 линеек лазерных диодов 4.
Решетка лазерных диодов работает следующим образом.
Последовательное электрическое соединение линеек лазерных диодов 4 в решетке лазерных диодов обеспечивает протекание тока через лазерные диоды 5, которые преобразуют электрическую энергию в излучение. Тепловая энергия, выделяемая лазерными диодами 5, отводится сначала с помощью теплоотводов 6 линеек лазерных диодов 4, затем через теплопроводящий диэлектрик 2 передается на основание 1, выполненного из теплопроводящего материала, например меди, прикрепленное с помощью крепежных отверстий 11 к внешнему радиатору.
Пример.
Изготовление решетки лазерных диодов, осуществляли изготовлением теплоотвода – основания, обеспечивающего отвод тепла, например водяного микроканального охладителя в случае существенного тепловыделения, или элемента Пельтье в случае необходимости обеспечения широкого диапазона рабочих температур, или простой медной пластины для передачи тепла на последующий теплоотвод, затем осуществляли установку (припаиванием) теплопроводящего диэлектрика, после чего выравнивали (шлифованием) поверхность теплопроводящего диэлектрика и устанавливали приклеиванием теплоотводов линеек лазерных диодов на теплопроводящий диэлектрик предварительно собранные, оттренированные и отобранные по параметрам линейки лазерных диодов. В итоге получался установленный набор линеек лазерных диодов, не контактирующих между собой. Затем, используя припой с более низкой температурой плавления по сравнению с припоем, использованным при сборке линеек лазерных диодов, производили распайку выводов линеек лазерных диодов и припаивание краевых выводов крайних линеек лазерных диодов к токоподводящим контактным площадкам для обеспечения электрического соединения.
Таким образом, предложенное устройство решетки лазерных диодов и способ ее изготовления решает следующие частные технические задачи:
– повышает надежность функционирования решетки лазерных диодов;
– позволяет повысить качество технологии воспроизводимости решетки лазерных диодов;
– повысить выход годных решеток лазерных диодов.
Формула изобретения
1. Решетка лазерных диодов, содержащая основание из теплопроводящего материала, например меди, с расположенными на основании теплопроводящим диэлектриком и линейками лазерных диодов, состоящих из лазерных диодов, токоподводящими контактными площадками, крышку пылезащитную, отличающаяся тем, что решетка лазерных диодов выполнена из отдельных линеек лазерных диодов, не связанных монолитно между собой, при этом каждая линейка лазерных диодов содержит отрицательный вывод, положительный вывод, свой индивидуальный теплоотвод, причем отрицательный вывод каждой предыдущей линейки лазерных диодов соединен с положительным выводом последующей линейки лазерных диодов, а выводы крайних линеек лазерных диодов соединены с токоподводящими контактными площадками.
2. Способ изготовления решетки лазерных диодов, включающий изготовление основания из теплопроводящего материала, например меди, выполнение крепежных сквозных отверстий в основании, установку на основании теплопроводящего диэлектрика, обработку, например, шлифованием теплопропроводящего диэлектрика, установку линеек лазерных диодов, установку пылезащитной крышки, отличающийся тем, что установку линеек лазерных диодов осуществляют приклеиванием теплоотвода линеек лазерных диодов на теплопроводящий диэлектрик, после чего осуществляют распайкой электрическое соединение отрицательного вывода каждой предыдущей линейки лазерных диодов с положительным выводом последующей линейки лазерных диодов, затем осуществляют распайкой электрическое соединение выводов крайних линеек лазерных диодов с токоподводящими контактными площадками.
РИСУНКИ
|
|