|
|
(21), (22) Заявка: 2009125714/09, 08.07.2009
(24) Дата начала отсчета срока действия патента:
08.07.2009
(46) Опубликовано: 10.08.2010
(56) Список документов, цитированных в отчете о поиске:
US 7095167 В2, 22.08.2006. RU 2003125635 A1, 10.03.2005. US 4020378 A, 26.04.1977. EP 0744762 A1, 27.11.1996. EP 1894228 A1, 05.03.2008. JP 2006196377 A, 27.07.2006.
Адрес для переписки:
107076, Москва, ул. Краснобогатырская, 44, стр.1б, ЗАО “ЛИТ”, пат.пов. Е.Г. Акишиной
|
(72) Автор(ы):
Кудрявцев Николай Николаевич (RU), Костюченко Сергей Владимирович (RU), Соколов Дмитрий Владимирович (RU), Васильев Александр Иванович (RU), Дриго Андрей Леонидович (RU), Дроздов Леонид Александрович (RU), Старцев Андрей Юрьевич (RU), Собур Денис Анатольевич (RU), Моисеенко Татьяна Александровна (RU)
(73) Патентообладатель(и):
Закрытое акционерное общество “Лаборатория импульсной техники” (ЗАО “ЛИТ”) (RU)
|
(54) ГАЗОРАЗРЯДНАЯ АМАЛЬГАМНАЯ ЛАМПА НИЗКОГО ДАВЛЕНИЯ
(57) Реферат:
Устройство относится к области светотехники и может быть использовано для обеззараживания водных и воздушных сред бактерицидным ультрафиолетовым излучением. Техническим результатом является достижение эффективного максимального выхода излучения в широком температурном диапазоне. Лампа содержит цилиндрическую колбу и установленные на ее концах электроды, образующие разрядный промежуток. Внутри колбы, за пределами разрядного промежутка выполнены два или более открытых кармана, содержащих амальгаму, причем хотя бы два из них имеют разную глубину относительно электрода лампы. Амальгама в карманах может иметь как одинаковый, так и различный состав. 1 з.п. ф-лы, 2 ил.
Изобретение относится к области светотехники, преимущественно к газоразрядным лампам низкого давления мощностью свыше 300 Вт, в частности к ультрафиолетовым (УФ) бактерицидным лампам, применяемым для обеззараживания различных сред.
Одной из технических проблем, возникающих при разработке мощных амальгамных газоразрядных ламп, является обеспечение максимального выхода излучения при эксплуатации лампы в различных температурных условиях. Например, температура лампы может изменяться при колебаниях температуры окружающей или обрабатываемой среды, а также при изменении величины разрядного тока лампы. Поскольку выход УФ излучения определяется давлением паров ртути в лампе, то поддержание оптимального давления паров ртути при температурных колебаниях и изменениях разрядного тока является первоочередной задачей, особенно для амальгамных ламп высокой мощности, интервал изменений температуры которых значительно шире, чем обычных ламп.
Из уровня техники, относящегося к указанной области, известны средства оптимизации давления паров ртути при различных температурах – таких как применение многокомпонентных амальгам; использование специальных устройств для активной регулировки температуры амальгамы (нагревателей или охладителей); изменение места расположения амальгамы путем вынесения амальгамы из разрядного промежутка в холодную зону за электродный узел в область цоколя.
Например, известна УФ лампа, предназначенная для дезинфекции воды в канальных системах, в колбе которой выполнен закрытый резервуар, в котором заключено ртутьсодержащее вещество. Часть резервуара окружена нагревателем, выполненным из теплопроводящего материала и снабженного терморегулятором, который соединен с электрическим разъемом лампы. В зависимости от температуры лампы резервуар с амальгамой подогревается контактирующим с ним нагревателем, что позволяет осуществлять активный температурный контроль амальгамного пятна или резервуара, регулировать давление ртути для получения оптимальной эффективности излучения вне зависимости от температуры обрабатываемой воды и параметров лампы. Недостатками указанной конструкции являются сложность ее изготовления, а также необходимость в дополнительном приспособлении для воздействия на амальгаму и специальных электрических соединениях для его функционирования. (Патент ЕР 1894228, H01J 61/52, публ. 03.05.2007 г.)
Известна также газоразрядная амальгамная лампа низкого давления с изогнутой по окружности колбой, изготовленной из увиолевого кварцевого стекла, на концах которой установлены электроды. Внутри колбы выполнены два одинаковых по глубине кармана, в которых помещена амальгама. Это позволяет поддерживать давление паров ртути в интервале от 0,1 до 0,245 Па при температуре 25°С, за счет чего достигается максимальный выход УФ излучения. Однако конструкция известной лампы позволяет только поддерживать значение давления в определенном интервале при заданной температуре, но не предусматривает регулировку этого параметра, что ограничивает ее применение только маломощными флуоресцентными лампами, работающими в ограниченном интервале давлений. (Патент ЕР 0744762, H01J 61/28, публ. 27.11.1996 г.)
Наиболее близким к заявленному техническому решению является бактерицидная газоразрядная УФ лампа низкого давления с высокой мощностью и выходом излучения, в которой амальгама расположена за пределами разрядного промежутка. Амальгама заключена в контейнер, находящийся позади электрода в «холодной точке» или в относительно холодной зоне. Контейнер выполнен открытым и сообщается с внутренним пространством ламповой колбы, что позволяет амальгаме взаимодействовать со средой лампы. Известное технического решение направлено на предохранение амальгамы от плавления при нагреве лампы, вызванном повышенной нагрузкой, и ее смещения из холодной зоны в разрядный промежуток, а также на осуществление возможности вертикального расположения лампы, что часто используется в системах обеззараживания воды УФ излучением. Однако несмотря на расширение температурного интервала работы лампы известная конструкция не дает возможности регулировать давление паров ртути при изменении температуры из-за значительных колебаний разрядного тока, которые для мощных ламп могут достигать 50% его значения. Этот недостаток прототипа обусловлен тем, что амальгама зафиксирована на строго определенном расстоянии от электрода, заданном глубиной контейнера. К другим недостаткам следует также отнести сложность изготовления лампы, заключающуюся в воспроизведении одинаковой глубины контейнера, неточность в которой может привести к нестабильности работы лампы, а также применение нестандартного цоколя. (Патент США 1095167, H01J 17/26, публ. 22.08.2006 г.)
Задачей, на решение которой направлено изобретение, является создание газоразрядной амальгамной лампы с эффективно максимальным выходом излучения в широком температурном диапазоне.
Технический результат, получаемый в результате реализации изобретения, заключается в расширении возможностей пассивной регулировки эффективного выхода излучения лампы в зависимости от изменений разрядного тока и температуры окружающей среды, повышении ее эффективности, а также в упрощении и удешевлении технологии изготовления лампы.
Указанный технический результат достигается тем, что в газоразрядной лампе, содержащей цилиндрическую колбу с установленными на ее концах электродами, образующими разрядный промежуток, за пределами которого внутри колбы выполнен открытый карман, содержащий амальгаму, согласно изобретению внутри колбы за пределами разрядного промежутка выполнен, по крайней мере, еще один карман, содержащий амальгаму, причем хотя бы два кармана имеют разную глубину относительно электрода.
Указанный результат достигается также тем, что карманы содержат амальгамы как одинакового, так и различного состава.
Выполнение вне разрядного промежутка нескольких карманов, в которых амальгама размещена на разной глубине от электрода, позволяет, не прибегая к использованию активных элементов, регулировать давление паров ртути за счет различной степени нагрева амальгам в карманах при различных значениях температуры окружающей среды или разрядного тока. За счет использования совокупности двух или более карманов, амальгама в которых имеет разную температуру, достигается лучшая управляемость давлением паров ртути. Кроме того, выполнение карманов открытыми в объем колбы лампы позволяет им сообщаться между собой, что обеспечивает миграцию атомов ртути между амальгамами и способствует плавной регулировке давления и ускоряет выход лампы на стационарный рабочий режим.
Подбор амальгам различного состава в зависимости от мощности лампы в совокупности с их расположением в карманах на разном расстоянии от электродного узла расширяет возможности регулировки давления за счет привлечения дополнительного фактора – свойств самой амальгамы.
Таким образом, предложенное изобретение в отличие от известных аналогов, которые просто используют перемещение амальгамы из разрядного промежутка (например, с золотого пятна) за электродный узел (в область цоколя), обеспечивает и расширяет возможность пассивной регулировки давления паров ртути, а также повышает ее эффективность.
Технология изготовления предложенной лампы отличается простотой и рациональностью, поскольку карманы выполняются непосредственно в ходе стандартной операции заштамповки электрода в кварцевую колбу, для чего не требуется использования каких-либо дополнительных деталей лампы для хранения амальгамы или сосуда с ртутью, а также специальных цоколей.
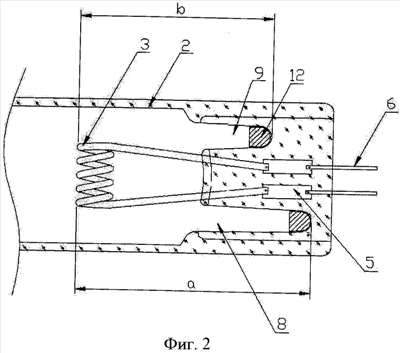
На фиг.1 показан общий вид лампы, а на фиг.2 – узел пассивного регулирования паров ртути.
Лампа 1 состоит из колбы 2, на концах которой установлены электроды 3, образующие разрядный промежуток 4 и смонтированные в электродный узел 5, герметично уплотненный фольгой и имеющий электрические контакты 6, соединенные с выводами лампы. За электродным узлом в колбе (лопатка) выполнены полости в виде карманов 8, 9, 10, 11, в которых закреплена амальгама 12. Глубина карманов 8, 9, 10, 11 определяется расстоянием от электрода 3 и обозначена а, b, с, d соответственно.
Изобретение реализуется следующим образом.
Регулировку выхода УФ излучения осуществляют для газоразрядной амальгамной лампы низкого давления, работающей на переменном токе частотой 20-70 кГц, с мощностью 800 Вт и предназначенной для обеззараживания воды или воздуха УФ излучением с длиной волны 254 нм. Лампа состоит из трубчатой колбы 2 длиной 2400 см, выполненной из безозонового кварцевого стекла, в которую заштампованы электроды 3. Герметичность соединения обеспечивается с помощью молибденовой фольги, которая служит также для обеспечения электрического контакта с выводами электродного узла 5.
При заштамповке кварцевой трубки в расколодках, которые производят штамповку, выполняют специальные полости, которые образуют в кварцевом стекле лопатки в виде двух карманов 8, 9 глубиной 8 мм и 15 мм и диаметром около 3 мм. Амальгаму 10 на основе индия в виде небольших кусочков закрепляют в карманах.
Поскольку амальгама в карманах удалена на разное расстояние от катодного пятна, то степень нагрева амальгам в разных карманах также различна. Например, в кармане глубиной 8 мм температура амальгамы достигает 120°С, в то время как в более глубоком кармане 15 мм температура амальгамы составляет 90°С.
При 100% разрядном токе лампы (около 5А) давление паров ртути поддерживается за счет работы двух амальгам, а при 50% токе (2,5А) – только амальгамы, находящейся на более близком расстоянии от электрода. Также, при повышении температуры, когда более близкая к электроду амальгама может перегреться и перестать адсорбировать ртуть в достаточном количестве, за счет «резервной» амальгамы, находящейся в более глубоком кармане и имеющей более низкую температуру, давление паров ртути продолжает поддерживаться оптимальным, обеспечивая максимальный выход полезного излучения. Для указанной лампы при регулировке величины давления паров ртути в интервале 5×10-3÷1,0×10-2 торр мощность излучения достигает 200-250 Вт. Указанная регулировка осуществляется при изменении температуры обрабатываемой среды от 0 до 40°С.
Подбор амальгам различного состава в зависимости от мощности лампы и в совокупности с их расположением в карманах расширяет возможности регулировки давления за счет привлечения дополнительного фактора – свойств самой амальгамы.
Таким образом, предложенное изобретение в отличие от известных аналогов, которые просто используют перемещение амальгамы из разрядного промежутка (например, с золотого пятна) за электродный узел (в область цоколя), расширяет возможности пассивной регулировки давления паров ртути при относительно простой технологии изготовления лампы.
Формула изобретения
1. Газоразрядная лампа, содержащая цилиндрическую колбу с установленными на ее концах электродами, образующими разрядный промежуток, за пределами которого внутри колбы выполнен открытый карман, содержащий амальгаму, отличающаяся тем, что внутри колбы за пределами разрядного промежутка выполнен, по крайней мере, еще один карман, содержащий амальгаму, причем хотя бы два кармана имеют разную глубину относительно электрода.
2. Газоразрядная лампа по п.1, отличающаяся тем, что карманы содержат амальгаму как одинакового, так и разного состава.
РИСУНКИ
|
|