|
|
(21), (22) Заявка: 2009114109/09, 13.04.2009
(24) Дата начала отсчета срока действия патента:
13.04.2009
(46) Опубликовано: 10.08.2010
(56) Список документов, цитированных в отчете о поиске:
Адрес для переписки:
607188, Нижегородская обл., г. Саров, пр. Мира, 37, ФГУП “РФЯЦ – ВНИИЭФ”, начальнику ОПИНТИ
|
(72) Автор(ы):
Борискин Александр Сергеевич (RU), Демидов Василий Александрович (RU), Казаков Сергей Аркадьевич (RU), Шаповалов Евгений Викторович (RU)
(73) Патентообладатель(и):
Российская Федерация, от имени которой выступает Государственная корпорация по атомной энергии “Росатом” (RU), Федеральное государственное унитарное предприятие “Российский федеральный ядерный центр – Всероссийский научно-исследовательский институт экспериментальной физики” (ФГУП “РФЯЦ-ВНИИЭФ”) (RU)
|
(54) ВЗРЫВНОЙ ФОРМИРОВАТЕЛЬ ИМПУЛЬСА ТОКА
(57) Реферат:
Изобретение относится к области электротехники и может быть использовано в качестве устройства для размыкания сильноточных электрических цепей и формирования импульса тока с временем нарастания меньше одной микросекунды. Сущность изобретения состоит в том, что по сравнению с известным устройством, содержащим разрушаемый проводник, расположенный между диэлектрической ребристой преградой и зарядом взрывчатого вещества с системой его инициирования, в заявляемом формирователе разрушаемый проводник выполнен в виде фрагментов, расположенных по образующей цилиндрической поверхности заряда взрывчатого вещества, и перемычек между ними, расположенных по дуге окружности, или в виде фрагментов, расположенных по дуге окружности заряда взрывчатого вещества, и перемычек, расположенных по образующей цилиндрической поверхности, а торцы крайних фрагментов соединены с источником питания и нагрузкой. Технический результат – повышение мощности импульса в нагрузке путем увеличения амплитуды импульса тока и напряжения и в сокращении длительности импульса за счет изменения в достаточно широком диапазоне конструктивных параметров взрывного формирователя импульса тока и возможности компактного расположения разрушаемого проводника в ограниченном пространстве, например, по длине или по диаметру в зависимости от поставленных задач, когда вместо единого протяженного разрушаемого проводника используется разрушаемый проводник, выполненный в виде фрагментов и перемычек. Кроме того, существенно упрощается из-за меньших габаритов технология изготовления деталей формирователя, повышается точность изготовления. 8 ил.
Изобретение относится к области электротехники и может быть использовано в качестве устройства для размыкания сильноточных электрических цепей и формирования импульса тока с временем нарастания меньше одной микросекунды.
Известен Взрывной размыкатель тока авторов А.И.Павловского, В.А.Васюкова, А.С.Русскова – А.С. 490381 СССР, МКИ H01H 39/00, заявлено 15.10.73, 1965660/24-7, БИ 39, 165, 1976 г., содержащий диэлектрическую подложку, напыленный на ее поверхность тонкий слой проводника, заряд взрывчатого вещества (ВВ) и систему инициирования заряда ВВ. Принцип действия размыкателя основан на гашении продуктами детонации (ПД) заряда взрывчатого вещества (ВВ) электрических разрядов, возникающих при взрыве тонкого слоя проводника под действием тока, протекающего в размыкателе.
Недостатком устройства является большое начальное омическое сопротивление, в результате чего значительная часть энергии источника теряется (превращается в тепло) до размыкания цепи. Для уменьшения тепловых потерь используется либо быстроходный источник энергии, что не всегда выполнимо, либо дополнительный промежуточный размыкатель тока, что также связано с потерями.
Известно устройство размыкателя, в котором массивный пустотелый проводник состоит из двух цилиндрических сегментов, с внутренней стороны которого вдоль образующих располагаются с постоянным шагом пазы (канавки), и который разрушается с помощью цилиндрического заряда ВВ, помещенного внутри проводника и инициируемого вдоль оси – Magnetocumulative generators /Larry L. Altgilbers et al., 2000, Springer-Verlag. New York.
Недостатком устройства является большое время размыкания и малая напряженность электрического поля вдоль разрушаемой поверхности из-за проводимости ПД взрывчатого вещества в большом объеме.
Известно многозазорное коммутирующее устройство, состоящее из пустотелого цилиндрического корпуса из диэлектрического материала, с внутренней стороны которого вдоль образующей располагаются канавки, токоведущего разрушаемого проводника в виде трубы с продольным сквозным разрезом, вставленной внутрь диэлектрического корпуса, цилиндрического диэлектрического элемента, заполненного внутри взрывчатым веществом, в котором по оси размещается осевая система инициирования данного заряда. В таком формирователе продукты взрыва отделены от зазоров, образующихся при размыкании, промежуточным изолирующим слоем из парафина, который дополнительно используется для гашения дуг, возникающих в зазорах на начальной стадии размыкания, – Андреев В.Р. и др. Экспериментальное исследование макетов многозазорных взрывных коммутирующих устройств /Семинар СССР-США «Индуктивные накопители энергии и коммутационная аппаратура для термоядерных установок», 1974. Реферативный журнал Физика . Выпуск 7, 1975.
Недостатком этого взрывного формирователя является то, что время размыкания происходит в течение сотен микросекунд. Обусловлено это тем, что из-за наличия изолирующей среды растяжение разрушаемого проводника в пазы происходило более плавно и дольше, чем при непосредственном его контакте с ВВ, т.к. часть энергии взрыва направлено на сжатие толстого слоя парафина. Это приводит к резкому снижению скорости разрушения проводника из-за ослабления ударной волны и выравнивания ее фронта, выходящего на внутреннюю поверхность разрушаемого проводника. Тем самым практически устраняется вихревой характер разрушения, являющийся одним из основных механизмов, влияющих на быстрое размыкание электрической цепи. Вихри возникают в неоднородностях, имеющих место в разрушаемом проводнике, в цилиндрическом корпусе из диэлектрического материала и ВВ, а также из-за наличия некоторой несимметрии в подрыве заряда ВВ, обусловленной технологией сборки и конструктивными особенностями устройства.
Взрывной формирователь импульса тока по прототипу Фиг.1 содержит разрушаемый проводник 1, расположенный между диэлектрической ребристой преградой 2 и зарядом 3 ВВ с системой его инициирования 4, состоящей обычно из цепочки радиальных электродетонаторов 5, цилиндрического заряда ВВ 6, обратного токопровода 7 (в конкретном случае труба над цилиндрическим зарядом 6) и изолятора 8. При этом все элементы формирователя расположены соосно относительно друг друга.
В этом устройстве источник энергии (взрывомагнитный генератор (ВМГ) не показан) подключался к клеммам 9, а нагрузка – к клеммам 10, размещенным на противоположных концах разрушаемого проводника 1. Разрыв разрушаемого проводника (фольги) в формирователе с ребристой преградой происходит в результате того, что при нормальном падении фронта детонационной волны скорость движения участков разрушаемого проводника под действием давления ПД в пазах РП больше скорости разрушаемого проводника, опирающегося на ребра преграды.
К недостаткам данного устройства можно отнести трудности по изготовлению протяженного (десятки сантиметров) тонкостенного (десятки-сотни микрон) цилиндрического разрушаемого проводника с сохранением его заданной толщины и диаметра по всей длине, достаточно сложный монтаж протяженного разрушаемого проводника с зарядом ВВ, а также то, что не всегда возможно разместить его компактно в ограниченном пространственном объеме с сохранением, не говоря уже об улучшении, рабочих характеристик размыкателя. Кроме того, изготовление протяженного цилиндрического взрывного формирователя тока (например, более 10 см), начиная с определенного небольшого диаметра, например меньше 30 мм, представляется невозможным из-за сложности изготовления системы инициирования, тонкостенного протяженного заряда ВВ и разрушаемого проводника.
При создании настоящего изобретения решалась задача разработки взрывного формирователя импульса тока, конструкция которого позволяла бы обеспечить стабильные (повторяемые от опыта к опыту) рабочие параметры и допускала компактное использование разрушаемого проводника в ограниченном пространственном объеме. Тем самым были бы созданы предпосылки для надежного формирования от взрывомагнитного источника энергии мощных высоковольтных импульсов для широкого класса нагрузок, применяемых в физике высоких плотностей энергии: плазмодинамических генераторах, высокоэнергетичных лайнерах, СВЧ устройствах и др., при сравнительно небольших временных затратах на монтаж всего рабочего устройства.
Технический результат при решении данной задачи заключается в повышении мощности импульса в нагрузке путем увеличения амплитуды импульса тока и напряжения и в сокращении длительности импульса за счет изменения в достаточно широком диапазоне конструктивных параметров взрывного формирователя импульса тока и возможности компактного расположения разрушаемого проводника в ограниченном пространстве, например, по длине или по диаметру в зависимости от поставленных задач, когда вместо единого протяженного разрушаемого проводника используется разрушаемый проводник, выполненный в виде фрагментов и перемычек. Кроме того, существенно упрощается из-за меньших габаритов технология изготовления деталей формирователя, повышается точность изготовления, от которой в первую очередь зависит эффективность работы устройства, а следовательно, параметры импульса в нагрузке.
Указанный технический результат достигается тем, что по сравнению с известным устройством взрывного формирователя импульса тока, который содержит разрушаемый проводник, расположенный между диэлектрической ребристой преградой и зарядом взрывчатого вещества с системой его инициирования, в заявляемом устройстве разрушаемый проводник выполнен в виде фрагментов, расположенных по образующей цилиндрической поверхности заряда ВВ, и перемычек между ними, расположенных по дуге окружности, или в виде отдельных фрагментов, расположенных по дуге окружности заряда ВВ, и перемычек, расположенных по образующей цилиндрической поверхности, а торцы крайних фрагментов соединены с источником питания и нагрузкой.
Выполнение разрушаемого проводника в виде фрагментов, расположенных по образующей цилиндрической поверхности заряда ВВ, и перемычек между ними, расположенных по дуге окружности, или в виде фрагментов, расположенным по дуге окружности заряда ВВ, и перемычек, расположенных по образующей цилиндрической поверхности, позволяет повысить точность изготовления геометрических размеров деталей, задействованных во взрывном формирователе (заряда ВВ, ребристой преграды, тонкостенного разрушаемого проводника и системы инициирования) и обеспечить более соосное расположения разрушаемого проводника между ребристой преградой и зарядом ВВ с системой инициирования.
Для создания импульса тока в нагрузке с такими же или лучшими параметрами, чем в прототипе, необходимо, чтобы разрушаемый проводник имел ту же толщину d, что в прототипе, а ширина ТФ в заявляемом устройстве должна быть равна периметру разрушаемого проводника в прототипе. Таким образом, разрушаемый проводник нужно разбить на фрагменты, ширина которых должна быть равна периметру разрушаемого проводника, а их общая длина – длине разрушаемого проводника прототипа. За счет этого при решении определенных задач можно изменить габаритные размеры устройства (уменьшить длину или увеличить его диаметр). При расположении фрагментов разрушаемого проводника по образующей цилиндрической поверхности заряда ВВ взрывной формирователь будет иметь существенно меньшую габаритную длину с сохранением на прежнем уровне или даже увеличением длины разрушаемого проводника, т.к. фрагменты, соединенные перемычками, находятся на большем диаметре чем цилиндрический разрушаемый проводник в прототипе. Тем самым все детали формирователя тока можно будет изготовить на существующем станочном оборудовании с большей точностью, что, в свою очередь, позволит при его работе получить в нагрузке импульс с большей амплитудой и с меньшей длительностью из-за более эффективной и стабильной работы формирователя в результате обеспечения более одновременного и равномерного разрушения проводника.
При расположении же фрагментов разрушаемого проводника по дуге окружности заряда ВВ и наличии клемм на открытых торцах фрагментов взрывной формирователь будет иметь уже меньший диаметр, но несколько большую длину. Обычно для эффективного использования такого взрывного формирователя при работе на высокоимпедансные нагрузки, которыми зачастую является большинство устройств, применяемых в физике высоких плотностей энергии, его разрушаемый проводник имеет достаточно небольшую ширину. Для его разрушения используются цилиндрические заряды и преграды, располагаемые вокруг отдельных фрагментов и имеющие по длине размеры, находящиеся в соответствии с шириной проводника. Если разрушается только проводник, относящийся к фрагментам, то из-за незначительных размеров зарядов с СИ и преград над фрагментами можно достаточно просто и с большей точности изготовить детали для такого взрывного формирователя. Можно использовать разрушаемый проводник, располагаемый только в определенном секторе цилиндрического заряда. Либо разрушаемый проводник имеет ступенчатую форму и располагается вдоль длины цилиндрического заряда. Это расширяет возможность более гибкого использования таких взрывных формирователей в малогабаритных устройствах, где ограничен объем и близко располагаются элементы данного устройства.
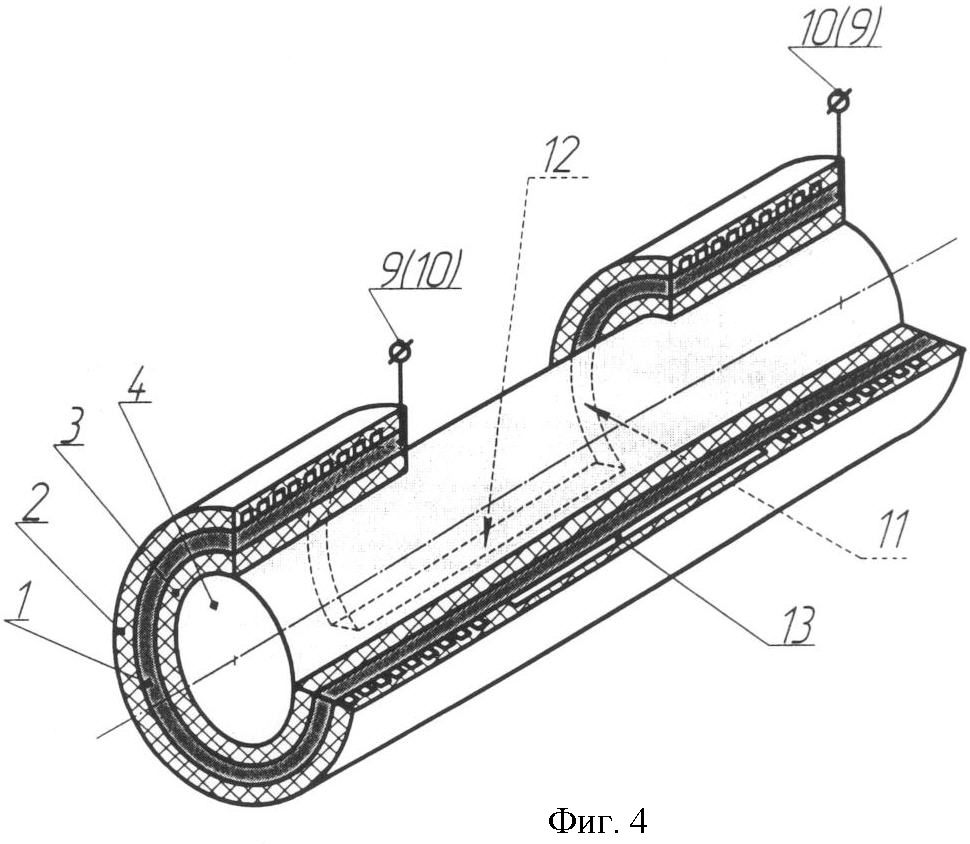
Использование во взрывном формирователе дополнительно цилиндрических зарядов с СИ под перемычками, а над перемычками, имеющими толщину и ширину, соответствующие толщине и ширине отдельного фрагмента, ребристых преград, ребра которых расположены перпендикулярно (ортогонально) к направлению размещения перемычки между отдельными фрагментами, позволяет создать проводник, разрушаемый по всей его длине. А это, в свою очередь, позволяет сформировать в нагрузке более мощный импульс энергии, чем для случая, когда перемычки не разрушаются. Ребристые преграды как над фрагментами, так и над перемычками могут быть собраны как из отдельных единиц (Фиг.3), так и выполнены единым моноблоком (Фиг.4).
На фиг.1 изображено устройство по прототипу.
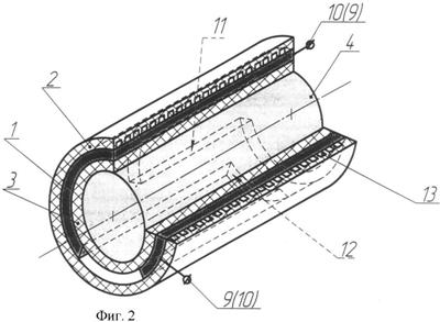
На фиг.2 изображен заявляемый взрывной формирователь импульса тока с аксиальным направлением тока во фрагментах.
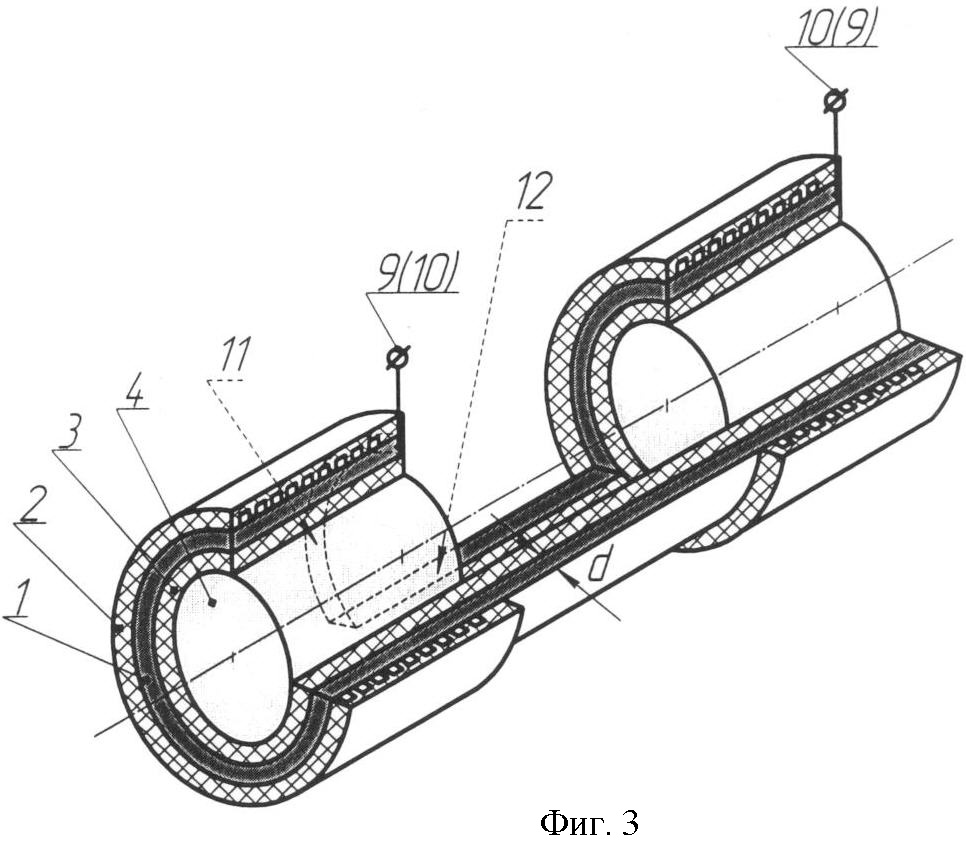
На фиг.3 изображен заявляемый взрывной формирователь тока с азимутальным направлением тока во фрагментах.
На фиг.4 изображен заявляемый взрывной формирователь тока с разрушаемым проводником с азимутальным направлением тока во фрагментах и ребристой преградой по фиг.8.
На фиг.5 изображен разрушаемый проводник заявляемого взрывного формирователя тока с аксиальным направлением тока во фрагментах.
На фиг.6 изображен разрушаемый проводник заявляемого взрывного формирователя тока с азимутальным направлением тока во фрагментах.
На фиг.7 изображена ступенчатая конфигурация разрушаемого проводника заявляемого взрывного формирователя тока с азимутальным направлением тока во фрагментах.
На фиг.8 изображена ребристая преграда, используемая для одновременного разрушения фрагментов и перемычек.
На фиг.1-8 обозначено:
1 – разрушаемый проводник;
2 – диэлектрическая ребристая преграда;
3 – заряд взрывчатого вещества (ВВ);
4 – система инициирования;
5 – электродетонатор;
6 – цилиндрический заряд ВВ;
7 – обратный токопровод;
8 – изолятор;
9 – клеммы для подключения источника питания;
10 – клеммы для подключения нагрузки;
11 – отдельный фрагмент разрушаемого проводника;
12 – перемычка;
13 – пазы ребристой преграды.
Другие обозначения на фиг.1-8:
Тф – ширина фрагмента разрушаемого проводника; Тп – ширина перемычки; d -толщина фрагмента;
—— – профиль разрушаемого проводника.
Заявленный взрывной формирователь импульса тока (Фиг.2,3) содержит разрушаемый проводник 1, расположенный между диэлектрической ребристой преградой 2 и зарядом 3 ВВ с системой его инициирования 4, которые все размещены соосно относительно друг друга. При этом разрушаемый проводник выполнен в виде фрагментов 11, расположенных по образующей цилиндрической поверхности заряда 3 ВВ, и перемычек 12 между ними, расположенных по дуге окружности (Фиг.2), или в виде фрагментов 11, расположенных по дуге окружности заряда 3 ВВ, и перемычек 12, расположенных по образующей цилиндрической поверхности (Фиг.3). При этом ребра ребристой преграды 2 всегда перпендикулярны к направлению расположения отдельных фрагментов 11. Кроме того, для случая, когда перемычки 12 имеют толщину (d) и ширину (Тп), соответствующие толщине (d) и ширине (Тф) фрагмента 11, то над ними размещается ребристая преграда 2, ребра и пазы 13 которой расположены перпендикулярно (ортогонально) к направлению размещения перемычки 12 между отдельными фрагментами 11 (Фиг.8).
В примере реализации заявляемого устройства по фиг.2 взрывной формирователь импульса тока с аксиальным растеканием тока во фрагменте запитывался от спирального взрывомагнитного генератора с внутренним диаметром спирали 60 мм. В штатном режиме работы генератора энергия, запасаемая в конечной индуктивности ~200 нГн, составляет ~6 кДж при времени нарастания токового импульса амплитудой ~300 кА по уровню 0,1-0,9 порядка 2 мкс. Толщина двух фрагментов разрушаемого медного проводника была 0,2 мм, ширина 90 мм при длине каждого фрагмента 100 мм. При этом длина перемычки была порядка 50 мм, толщина 2 мм и ширина 2 см. Толщина оболочки заряда ВВ для разрушаемого проводника была 5 мм. Система инициирования (СИ) использовалась с цепочкой электродетонаторов, установленных по оси. В эксперименте в нагрузке порядка 100 нГн был получен ток порядка 180 кА с характерным временем нарастания тока по уровню 0,1-0,9 порядка 400 нс и напряжением порядка 50 кВ. При этом мощность импульса составляла порядка 10 ГВт.
В примере реализации заявляемого устройства по фиг.3 взрывной формирователь импульса тока с азимутальным растеканием тока во фрагментах запитывался от спирального взрывомагнитного генератора с внутренним диаметром спирали 60 мм (ВМГ-60). Наружный диаметр цилиндрического заряда для СИ 90 мм. Его подрыв происходил от цепочки электродетонаторов. Два фрагмента разрушаемого медного проводника были расположены на диаметре 100 мм при их толщине 0,036 мм, ширине 15 мм и длине 157 мм. Перемычка имела длину 200 мм, ее ширина и толщина были как у фрагмента, и она также располагалась на диаметре 100 мм. Заряд ВВ для разрыва разрушаемого проводника имел толщину в три раза меньше, по сравнению с толщиной разрушаемого проводника из предыдущего примера. Диэлектрическая ребристая преграда использовалась с наружным диаметром 110 мм и изготавливалась из органического стекла.
Работа устройств, изображенных на фиг.2, 3 и 4, начинается с момента начала работы источника питания, подключенного к клеммам (9). Ток от источников питания протекает через отдельные фрагменты 11 разрушаемого медного проводника (1) и соединяющие их перемычки 12. В заданный момент времени с помощью электродетонаторов (5) происходит подрыв цилиндрического заряда (6), обеспечивающего инициирование заряда ВВ (3) через цилиндрический изолятор (7). Его подрыв приводит к разрыву разрушаемого медного проводника на диэлектрической ребристой преграде (10). В этот момент подключалась также нагрузка. В опыте с экспериментальной моделью заявленного устройства (азимутальное растекание тока во фрагментах) при токе спирального ВМГ-60 порядка 32 кА в нагрузке сопротивлением 27 Ом и индуктивностью ~500 нГн получен ток ~12 кА с характерным временем нарастания -100 нс, и сформирован импульс напряжения ~420 кВ. Таким образом, мощность устройства составила ~5·109 Вт. В опыте же с устройством, когда разрушаемый медный проводник имел толщину 0,036 мм, размещался на диаметре 200 мм и имел длину ~320 мм (разрушаемый проводник не содержал фрагментов), было получено напряжение меньше в 1,4 раза, а время формирования импульса в нагрузке составило порядка 120 нс.
Таким образом, использование заявляемого устройства при аксиальном направлении тока в соответствии с формулой изобретения позволило разрушить проводник толщиной 0,2 мм и шириной 90 мм, расположенный на заряде диаметром 100 мм, и сформировать в нагрузке импульс, что не было возможно сделать с цилиндрическим разрушаемым проводником диаметром 30 мм и длиной 200 мм. Достигнуто это было благодаря тому, что разрываемый проводник заданной ширины располагался на диаметре 100 мм. Это обеспечило возможность гарантированного выполнения размеров взрывного формирователя импульса тока, эффективность его работы, а также возможность использование СИ, которая позволяла одновременно и с хорошей точностью подорвать заряд под двумя фрагментами разрушаемого проводником.
Использование заявляемого устройства при азимутальном растекании тока позволило разорвать разрушаемый проводник толщиной 0,036 мм, состоящий из двух фрагментов и перемычки, и сформировать в нагрузке импульс мощностью в 1,8 раз больше, чем в устройстве, где использовался единый проводник толщиной 0,036 мм, расположенный на большем в два раза диаметре. При этом ток в нагрузке увеличен в 1,3 раза, а напряжение увеличено более чем в 1,4 раза.
Формула изобретения
Взрывной формирователь импульса тока, содержащий разрушаемый проводник, расположенный между диэлектрической ребристой преградой и зарядом взрывчатого вещества с системой его инициирования, отличающийся тем, что разрушаемый проводник выполнен в виде фрагментов, расположенных по образующей цилиндрической поверхности заряда взрывчатого вещества, и перемычек между ними, расположенных по дуге окружности, или в виде фрагментов, расположенных по дуге окружности заряда взрывчатого вещества, и перемычек, расположенных по образующей цилиндрической поверхности, а торцы крайних фрагментов соединены с источником питания и нагрузкой.
РИСУНКИ
|
|