|
|
(21), (22) Заявка: 2008100602/09, 12.06.2006
(24) Дата начала отсчета срока действия патента:
12.06.2006
(30) Конвенционный приоритет:
16.06.2005 EP PCT/EP2005/006472
(43) Дата публикации заявки: 27.07.2009
(46) Опубликовано: 10.08.2010
(56) Список документов, цитированных в отчете о поиске:
US 2625627 A, 13.01.1953. RU 2251755 C2, 10.05.2005. DE 1073576 В, 21.01.1960. DE 2515596 А, 18.07.1950.
(85) Дата перевода заявки PCT на национальную фазу:
16.01.2008
(86) Заявка PCT:
IB 2006/001551 20060612
(87) Публикация PCT:
WO 2006/134452 20061221
Адрес для переписки:
127055, Москва, а/я 11, пат.пов. Н.К.Попеленскому, рег. 31
|
(72) Автор(ы):
ДЮФФУР Анри (FR), КИССЛИНГ Рафаэль (CH), МАРТЕН Серж (CH), ФИШЕР Бьорн (CH)
(73) Патентообладатель(и):
Сешерон СА (CH)
|
(54) ЭЛЕКТРОМЕХАНИЧЕСКИЙ РАЗМЫКАТЕЛЬ ЦЕПИ И СПОСОБ РАЗМЫКАНИЯ ТОКА
(57) Реферат:
Электромеханический размыкатель цепи предназначен для замыкания и размыкания тока в цепи питания (3, 4). Он включает в себя неподвижный (5) и подвижный (6) контактные элементы, которые в положении контактирования друг с другом обеспечивают отвод тока от цепи (3, 4) питания, и дугогаситель (2) с катушкой намагничивания (8). Дугогаситель (2) включает в себя узел электродов (12), соединенный с катушкой (8) намагничивания. Магнитное поле, используемое для отвода дуги, создается самой дугой. Электроды (12) соединены с контактными элементами (5, 6) таким образом, что электрическая дуга, получающаяся при размыкании контактных элементов, по крайней мере, разделяется на первую дугу (13а), расположенную между одним контактным элементом (5) и электродами (12), и вторую дугу (13b), расположенную между электродами (12) и другим контактным элементом (6). Первая или вторая дуга (13а, 13b) установлены параллельно с катушкой (8) намагничивания, соединенной с одной стороны с электродами (12), а с другой стороны – с одним из контактных элементов (5, 6). Технический результат – повышение эффективности размыкания и возможность размыкания при меньших значениях тока. 2 н. и 16 з.п. ф-лы, 12 ил.
Область техники, к которой относится изобретение
Данное изобретение относится главным образом к электромеханическим размыкателям цепи, но также предназначено для защиты установок постоянного тока, таких как системы транспортировки, включающие в себя рельсовые транспортные средства. Номинальное напряжение в подобных цепях обычно составляет от 750 до 3000 В. Размыкатель цепи, к примеру, используется для прерывания тока высокого напряжения в случае короткого замыкания в установке. Размыкатель цепи также находит обширное использование в промышленности.
Уровень техники
Электромеханический размыкатель цепи предназначен для замыкания и размыкания тока в цепи питания. Он включает в себя неподвижный и подвижный контактные элементы, которые, находясь в первом положении, контактируют друг с другом, что обеспечивает прохождение тока в цепи питания. Вышеупомянутый подвижный контактный элемент изображен во втором положении, в котором он разъединен с неподвижным контактным элементом, в данном положении цепь питания отключена от источника питания. Размыкатель цепи оснащен дугогасителем, включающим в себя катушку намагничивания, по которой проходит ток намагничивания, создающий магнитное поле, предназначенное для гашения электрической дуги, создающейся при размыкании двух контактов. Дугогаситель включает в себя узел электродов, соединенный с катушкой намагничивания и предназначенный для взаимодействия с данной электрической дугой таким образом, что она создает вышеупомянутый ток намагничивания в катушке намагничивания.
Сегодня размыкатели цепи в основном используются на станциях электроснабжения и рельсовых транспортных средствах в системах транспортировки. Такие электромеханические размыкатели цепи содержат неподвижный контактный элемент, взаимодействующий с подвижным контактным элементом. При нормальных условиях эти контактные элементы контактируют друг с другом, и по ним проходит ток цепи питания. При размыкании тока расстояние между контактными элементами увеличивается благодаря электромеханическому приводу, создающему электрическую дугу между контактными элементами.
Для эффективного размыкания тока эта электрическая дуга должна быть погашена. Обычно это достигается установкой дугогасительной камеры на известном пути, по которому двигается дуга под действием силы, связанной с магнитным полем, созданным в цепи питания. В дугогасительной камере дуга разбивается на большое число более мелких дуг, что в итоге ведет к полному размыканию контакта между контактными элементами.
Электромагнитная сила, движущая дугу в дугогасительную камеру в размыкателе цепи постоянного тока, является функцией от квадрата силы тока. При низком значении силы тока возникает специфичная проблема. В этом случае силы будет недостаточно для отвода дуги в дугогасительную камеру.
Для таких случаев размыкатели цепи подобного типа оснащены так называемым дугогасителем, работающим по электромагнитному принципу, это означает, что электромагнитная сила используется для отвода в устройство для гашения дуги, например в дугогасительную камеру.
Например, в патенте США 4302644 предлагается решение, в соответствии с которым электрическая обмотка последовательно соединена с контактами и таким образом принимает на себя весь ток, текущий в размыкателе. Для сохранения размеров устройства в заданных пределах может использоваться лишь малое число витков, что ограничивает быстродействие при размыкании слабых токов.
Из соответствующей литературы известно, что при некоторых условиях эффективность размыкания слабых токов гораздо важнее, чем эффективность размыкания сильных токов.
Раскрытие изобретения
Одной из задач данного изобретения является улучшение конструкции дугогасителя в электромеханическом размыкателе цепи, что устраняет недостатки данных устройств.
Согласно изобретению такой результат достигается благодаря использованию дугогасителя по пункту 1 формулы изобретения, который отличается тем, что вышеупомянутые электроды расположены по отношению к контактным элементам таким образом, что электрическая дуга, созданная при размыкании контактных элементов, по меньшей мере, разделяется на первую дугу, расположенную между одним контактным элементом и электродами, и вторую дугу, расположенную между электродами и вторым контактным элементом. Первая или вторая дуга расположены параллельно с катушкой намагничивания, соединенной с одной стороны с электродами и с другой стороны с одним из контактных элементов.
Эти признаки позволяют создать размыкатель цепи, обладающий высоким быстродействием размыкания даже при слабых токах. Кроме того, достигаются высокая прочность и долговечность, а также понижается стоимость производства размыкателя цепи.
Дугогаситель предпочтительнее разместить таким образом, чтобы ток, протекающий в катушке намагничивания, был меньше, чем ток в первой или второй электрической дуге, расположив его параллельно с катушкой намагничивания между электродами и одним из вышеупомянутых контактных элементов.
Таким образом, можно использовать катушку намагничивания с большим количеством витков, что позволяет увеличить производительность и эффективность размыкателя цепи даже при слабых токах.
В предпочтительном варианте подвижный контактный элемент содержит поверхность, которая при заданном положении подвижного контактного элемента находится на одном уровне с плоскостью, проходящей через электрод(ы), находящиеся по обеим сторонам от линии движения подвижного контактного элемента таким образом, что часть электрической дуги может перескочить через электрод(ы), создав при этом вышеупомянутую первую дугу, и с электрода (электродов) на подвижный контактный элемент, создав при этом вышеупомянутую вторую дугу.
Такое расположение элементов позволяет достичь точной и безопасной работы размыкателя цепи.
Предпочтительно оснастить дугогаситель магнитной цепью, включающей в себя по меньшей мере два участка, оканчивающиеся по меньшей мере одним полюсным наконечником; магнитное поле, движущее электрическую дугу, хотя бы частично образуется между полюсными наконечниками.
Данные особенности позволяют создавать магнитное поле, отлично движущее электрическую дугу в дугогасительную камеру. Таким образом, достигается высокое быстродействие и безопасность размыкания.
Кроме того, изобретение также относится к способу размыкания тока в электромеханическом размыкателе тока, предназначенном для размыкания тока и содержащем неподвижный и подвижный контактные элементы. Контактные элементы, находясь в первом положении, контактируют друг с другом, что обеспечивает прохождение тока в цепи. Вышеупомянутый подвижный контактный элемент может быть установлен во второе положение, в котором он разъединен с неподвижным контактным элементом. В данном положении цепь отключена от источника питания. Размыкатель цепи снабжен дугогасителем, включающим в себя катушку намагничивания, по которой проходит ток намагничивания, создающий магнитное поле, предназначенное для гашения электрической дуги, образующейся при размыкании двух данных контактов. Дугогаситель включает в себя узел электродов, соединенный с катушкой намагничивания и предназначенный для взаимодействия сданной электрической дугой таким образом, что она создает вышеупомянутый ток намагничивания в катушке намагничивания. Магнитное поле, используемое для отвода дуги, создается самой дугой. Вышеупомянутые электроды соединены с контактными элементами таким образом, что электрическая дуга, образующаяся при размыкании контактных элементов, по крайней мере, разделяется на первую дугу между одним контактным элементом и электродами и вторую дугу между электродами и другим контактным элементом. Первая или вторая дуга расположены параллельно с катушкой намагничивания, соединенной с одной стороны с электродами, а с другой стороны с одним из контактных элементов.
Краткое описание чертежей
Другие признаки, объекты, способы использования и преимущества данного изобретения раскрываются в зависимых пунктах формулы изобретения, а также в описании со ссылками на прилагаемые чертежи, где на:
Фиг.1 показан размыкатель цепи в соответствии с изобретением с дугогасителем и соответствующей дугогасительной камерой.
Фиг.2 показана установка размыкателя цепи в другом виде в соответствии с фиг.1.
Фиг.3 показана конструкция электродов в размыкателе цепи в соответствии с изобретением.
Фиг.4 показан пример устройства магнитной цепи в вышеупомянутом дугогасителе.
Фиг.5 детально показана магнитная цепь в вышеупомянутом дугогасителе.
Фиг.6 – элементы, изображенные на фиг.5, вид сбоку.
Фиг.7 – детальное изображение некоторых элементов, изображенных на фиг.5.
Фиг.8 показан вариант размыкателя цепи, содержащего постоянный магнит в дугогасителе.
Фиг.9, 10, 11 и 12 схематически представлен процесс образования электрической дуги в размыкателе цепи в соответствии с изобретением.
Осуществление изобретения
На фиг.1 представлен схематичный общий вид размыкателя цепи в соответствии с изобретением с установленным дугогасителем 2 и соответствующей дугогасительной камерой 1. Дугогасительная камера имеет стандартную конструкцию и в связи с этим она не будет описана ниже. Ток в сети проходит через контактную шину 3 к неподвижному механическому контактному элементу 5 по соединенными с ним подвижному контактному элементу 6 и контактной шине 4. В нормальных условиях контактные элементы контактируют друг с другом, по ним проходит ток сети. В момент срабатывания размыкателя цепи ток в контактных элементах может течь в обоих направлениях.
Движение подвижного контактного элемента 6 контролируется сверхбыстрым приводом 7, создающим необходимый момент для размыкания контактов, например, раздвигая контактные элементы, увеличивая расстояние между ними.
Обычно размыкатель цепи включается в том случае, когда в цепи, в которой он установлен, случается короткое замыкание.
Короткое замыкание приводит к резкому увеличению силы тока за пределы нормальных значений, что может повредить компоненты цепи и оборудование в главной цепи.
Для понижения риска повреждений от короткого замыкания при резком повышении силы тока размыкатель цепи должен сработать настолько быстро, насколько это возможно.
Также размыкатель цепи должен размыкать и более слабые токи, однако это может вызвать большие конструктивные проблемы.
Датчик увеличения силы тока (не показан) может быть размещен в главной цепи и настроен на определение условий, при которых следует размыкать цепь. Подобные условия могут заключаться в увеличении силы тока, что может являться результатом короткого замыкания. Вспомогательное средство управления (не показано) посылает сигнал приводу 7 размыкателя цепи, который размыкает контакты. Также размыкателем цепи можно управлять вручную или с помощью обычных управляющих сигналов, посылаемых на привод 7, необязательно при критических условиях.
На фиг.2 изображено устройство размыкателя цепи в другом виде в соответствии с фиг.1, дугогаситель не изображен. Привод 7 и контактные шины 3, 4 изображены вместе с двумя полюсными наконечниками 9, детально описанными ниже. Верхняя, как правило плоская, поверхность 15 является опорной поверхностью для соответствующей дугогасительной камеры.
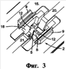
На фиг.3 изображено механическое устройство электродов в дугогасителе 2. В отверстие 16 в центральной части опорной поверхности 15 входят два полюсных наконечника 9, направленные в сторону дугогасительной камеры 1, не показанной на данном чертеже. Через данное отверстие 16 также можно рассмотреть два электрода 12, размещенных по обеим сторонам от подвижного контактного элемента 6. Как описано ниже, данные электроды являются существенной частью изобретения.
Кроме того, дугогаситель 2 содержит первый направляющий рычаг 20, установленный сверху подвижного контактного элемента 6 и электрически соединенный с последним, а также второй направляющий рычаг 21, установленный сверху неподвижного контактного элемента 5 и электрически соединенный с последним.
На фиг.4 изображен пример устройства магнитной цепи 25 в вышеупомянутом дугогасителе 2. Катушка 8 намагничивания создает магнитное поле в вышеупомянутой магнитной цепи, включающей в себя магнитопровод 8а и два участка 11, разделенные полюсными наконечниками 9. В магнитную цепь также входят два полюсных наконечника 10, являющиеся частью дугогасительной камеры 1, которая может быть установлена на опорную поверхность 15.
Данные полюсные наконечники 10 не соединены с полюсными наконечниками 9, однако они будут находиться вблизи последних в том случае, когда дугогасительная камера 1 установлена на дугогасителе 2. Магнитопровод, участки цепи и полюсные наконечники в магнитной цепи изготовлены из железа. На фиг.5 также представлено схематическое расположение данных элементов.
На фиг.5 изображен детальный вид магнитной цепи 25 в дугогасителе 2. Следует отметить, что фиг.5 схематична и предназначена для иллюстрации процесса образования магнитного поля 26 в зазоре между подвижным и неподвижным контактными элементами 5, 6 и в дугогасительной камере. Будучи активированной током I(B) катушка 8 намагничивания создает магнитный поток, протекающий через участки 11 магнитной цепи и в зазоре между полюсными наконечниками 9, 10. Конструкция и расположение полюсных наконечников 9 таково, что в зоне дугогасительной камеры электромагнитная индукция выше, а в зоне 28 между подвижным и неподвижным контактными элементами 5, 6 электромагнитная индукция слабее или значительно слабее.
На фиг.5 изображены два электрода 12, образующие узел электродов, расположенный таким образом, что он окружает подвижный контактный элемент 6. Каждый электрод 12 в верхней своей части имеет выступ 30, который направлен в сторону соседнего электрода. Оба электрода 12 соединены проводом 31. Они также соединены проводом 32 с катушкой 8 намагничивания, от последней к подвижному контактному элементу 6 идет провод 33.
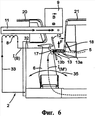
На фиг.6 изображено расположение электродов 12 в дугогасителе 2, вид сбоку. Здесь схематично показано, как в процессе размыкания образуется ток активации I(B) для катушки 8 намагничивания в соответствии с написанным ранее без воздействия на размыкатель цепи внешних энергетических источников. На виде сбоку изображены подвижный и неподвижный контактные элементы 5, 6. Вспомогательная электрическая цепь содержит подвижный контактный элемент 6, катушку 8 намагничивания и пару электродов 12, расположенных по обеим сторонам от подвижного контактного элемента 6. Расположение данных электродов также приводится на фиг.7.
При нормальных условиях подвижный и неподвижный контактный элементы контактируют друг с другом, по ним проходит полный ток цепи I(M’). В описываемом исполнении, особенно на фиг.1 и 6, подвижный контактный элемент 6 может поворачиваться на определенный угол 35. Это означает, что при нормальных условиях поверхности 17, 18 на контактных элементах 6 и 5 соответственно контактируют друг с другом.
Тем не менее, ток в главной цепи I(M’) мгновенно упадет до нуля вследствие того, что между подвижным и неподвижным контактными элементами 6 и 5 соответственно образовалась электрическая дуга 13. Задача размыкателя цепи – максимально быстро погасить электрическую дугу, предотвратив таким образом возможные повреждения в главной цепи от короткого замыкания.
Как было описано выше, в данном типе размыкателей цепи используется дугогасительная камера 1, в которой электрическая дуга 13 распадается и в итоге гасится. На фиг.1 и 6 дугогасительная камера расположена в верхней части фигуры. Движущая сила F, отводящая электрическую дугу в дугогасительную камеру, создается взаимодействием между электрической дугой и магнитным полем 26 в зазоре между контактными элементами 5, 6. На фиг.6 движущая сила F должна быть направлена вверх.
Результирующая сила на электрическую дугу 13 в размыкателе цепи в соответствии с данным вариантом состоит из трех основных компонентов, как будет описано далее. В соответствии с фиг.8 будет добавлен дополнительный компонент.
Как только в зазоре между контактными элементами 5, 6 появляется электрическая дуга 13, она встречается с остаточной намагниченностью стальных частей вокруг места образования электрической дуги. Вдобавок к этому электрическая дуга 13 создает магнитное поле, огибающее дугу. Когда расстояние между контактными элементами 5, 6 возрастает, электрическая дуга 13 исчезает и подвижный контактный элемент 6 переходит в положение, при котором поверхность 17 подвижного контактного элемента 6 находится на одном уровне с плоскостью, проходящей через электроды 12, расположенные по обеим сторонам от траектории перемещения подвижного контактного элемента 6, как изображено на фиг.6 и 7. В действительности электрическая дуга находится в состоянии плазмы, поэтому невозможно точно определить точку или область ее соприкосновения с поверхностями 17 и 18.
Когда сила тока I(B) равна нулю (т.е. в текущий момент), потенциал на электродах 12 равен потенциалу на поверхности 17. Электрическая дуга или ее часть может скачкообразно перейти на один из электродов 12 со стороны контактного элемента 6, что создаст электрическую дугу 13а между неподвижным контактным элементом 5 и электродом 12 и вторую дугу 13b между электродом 12 и поверхностью 17. Теперь разность потенциалов на дуге между электродом 12 и поверхностью 17 станет причиной возникновения тока, протекающего в катушке 8 намагничивания. Данное явление в соответствии с изобретением используется для создания магнитного поля в зазоре между контактными элементами 5, 6 и полюсными наконечниками 9, 10, которые гарантируют переход электрической дуги в дугогасительную камеру 1. Как показано ранее, данное расположение элементов дает очень хорошие результаты при низких значениях силы тока в главной цепи. Стоит отметить, что такая схема работает в обоих направлениях.
Оказавшись в дугогасительной камере, электрическая дуга покидает электроды 12. Сила, движущая дугу впоследствии, создается остаточной индукцией магнитной цепи. Чем выше степень магнитной индукции, тем быстрее электрическая дуга будет погашена в дугогасительной камере.
Как было сказано в описании фиг.5 в связи с особенностями конструкции, магнитный поток гораздо сильнее между полюсными наконенчиками 9 и 10 и в дугогасительной камере 1, чем вблизи контактных элементов 5, 6, что является преимуществом.
На фиг.7 детально изображен пример расположения электродов 12 в дугогасителе 2. Электроды 12 расположены по обе стороны от подвижного контактного элемента 6 для облегчения скачкообразного перехода электрической дуги, или хотя бы ее части. Сверху элемента 6 электроды 12 снабжены выступами 30, каждый выступ направлен в сторону соседнего. Эти выступы эффективно останавливают электрическую дугу от движения между электродами, не касаясь ее.
На фиг.8 изображен вариант предыдущей конструкции, содержащий дополнительный постоянный магнит 14 в дугогасителе, в соответствии с конструкцией, изображенной на фиг.6. Постоянный магнит 14 создает дополнительный магнитный поток 14а в зоне образования дуги, в зазоре между контактными элементами 5, 6. Этот поток создает силу Fp, действующую на дугу с самого начала, что не способствует отводу дуги в дугогасительную камеру. Эта сила направлена перпендикулярно плоскости чертежа, поэтому на ранней стадии она отводит дугу в сторону одного из электродов 12.
На фиг.9, 10, 11 и 12 схематично в четырех положениях изображен процесс образования электрической дуги при размыкании тока I(M’), текущего между подвижным и неподвижным контактными элементами 5, 6.
На фиг.9 электрическая дуга 13 появляется между контактными элементами 5, 6. По дуге проходит ток I(M’).
На фиг.10 показано, как электрическая дуга 13 удлиняется и движется в сторону электродов 12.
На фиг.11 показано, как подвижный контактный элемент 6, содержащийся в плоскости 36, проходит между электродами 12. Электрическая дуга 13 или ее часть скачкообразно переходит через него на один из электродов 12.
В итоге, на фиг.12 изображено, как электрическая дуга разбивается на первую дугу 13а между неподвижным контактным элементом 5 и одним из электродов 12 и вторую дугу 13b между электродом 12 и подвижным контактным элементом 6.
Часть тока I(M’) образуется между электродом 12 и подвижным контактным элементом 6 по каналу второй дуги 13b. Другая часть тока I(B) проходит от электрода 12 к подвижному контактному элементу 6 под действием катушки 8, создавая при этом магнитное поле 26.
Ток I(B), проходящий по катушке 8, имеет гораздо более низкое значение, чем ток I(M’), проходящий по дуге 13b. Обычно I(B) имеет значения от 1 до 50 А, а ток I(M’) принимает значения от 1000 до 200000 А. Поэтому желательно, чтобы I(B) был как минимум в три раза слабее I(M’).
Сопротивление дуги 13b намного ниже, чем сопротивление катушки 8. Катушка 8 соединена параллельно с дугой 13b.
Вследствие подобного расположения электродов 12 и подвижного и неподвижного контактных элементов параллельное соединение электрической дуги или ее части и катушки 8 дает преимущества. Благодаря этому можно создать дугогаситель с катушкой 8, обладающей необходимым числом витков, что позволяет создавать усиленное магнитное поле 26. Вследствие этого повышается эффективность дугогасителя по сравнению с дугогасителями, в которых ток течет напрямую через катушку. В подобных устройствах катушка может иметь лишь ограниченное число витков, поэтому в данных устройствах не удается добиться высокой эффективности работы.
Кроме того, в данном изобретении катушка не подвергается действию сильных токов, следовательно, устройство гораздо более долговечно, а также снижается стоимость устройства по сравнению с подобными устройствами.
Как показано на фиг.5-12, электроды 12 соединены таким образом, что электрическая дуга, получающаяся при размыкании контактных элементов, по крайней мере, разделяется на первую дугу 13а между одним контактным элементом 5 и электродами 12 и вторую дугу 13b между электродами 12 и другим контактным элементом 6. Первая или вторая дуги находятся в параллельном соединении с катушкой 8 намагничивания, соединенной с одной стороны с электродами 12, а с другой стороны с одним из контактных элементов 5, 6, в данном случае – подвижным контактным элементом 6. В частности, данные признаки позволяют получить все вышеперечисленные преимущества.
Конечно, описанный выше вариант не является ограничивающим, а может быть модифицирован в рамках заявленной формулы изобретения.
Катушка 8 может быть соединена с электродами 12 и неподвижным контактным элементом 5, как показано пунктирной линией на фиг.12.
Электроды 12 могут быть различной формы. Лишь один электрод может быть оснащен электродным узлом. Один электрод может быть установлен вокруг подвижного контактного элемента 6.
Размыкатель цепи может содержать больше одного подвижных и неподвижных контактных элементов.
Схемы магнитной цепи 25, участков 11 цепи и полюсных наконечников 9 и 10 могут быть выбраны различным образом.
Дугогаситель 2 может содержать больше одной катушки, параллельно соединенной с электрической дугой или ее частью.
Формула изобретения
1. Электромеханический размыкатель цепи (3, 4), содержащий неподвижный контактный элемент (5) и подвижный контактный элемент (6), установленные с возможностью размещения в первом положении контакта друг с другом с обеспечением прохождения тока в цепи (3, 4) питания, и дугогаситель (2), содержащий катушку намагничивания, по которой проходит ток намагничивания, создающий магнитное поле (26) гашения электрической дуги, образующейся при размыкании двух упомянутых контактных элементов (5, 6), и узел электродов (12) с по меньшей мере одним электродом, соединенными с катушкой (8) намагничивания с возможностью взаимодействия с упомянутой электрической дугой, создающей ток намагничивания в катушке (8) намагничивания и магнитное поле отвода дуги, при этом вышеупомянутый подвижный контактный элемент (6) установлен с возможностью размещения его во втором положении размыкания с неподвижным контактным элементом (5) с отключением цепи питания от источника питания, отличающийся тем, что упомянутый узел электродов (12) соединен с контактными элементами (5, 6) с возможностью разделения электрической дуги, образующейся при размыкании контактных элементов, на по меньшей мере первую дугу (13а) между одним контактным элементом (5) и узлом электродов (12) и вторую дугу (13b) между узлом электродов (12) и другим контактным элементом (6), причем первая или вторая дуга (13а, 13b) параллельно соединена с катушкой (8) намагничивания, соединенной с одной стороны с узлом электродов (12), а с другой стороны – с одним из контактных элементов (5, 6).
2. Размыкатель по п.1, отличающийся тем, что дугогаситель установлен с возможностью прохождения в катушке (8) намагничивания тока (i(b)), который слабее тока (i(m’)), проходящего в первой или второй электрической дуге (13а, 13b), параллельно соединенной с катушкой (8) намагничивания, между узлом электродов (12) и одним из упомянутых контактных элементов (5, 6).
3. Размыкатель по п.2, отличающийся тем, что по меньшей мере один из электродов (12) узла электродов размещен по обеим сторонам от подвижного контактного элемента (6) с его окружением.
4. Размыкатель по п.3, отличающийся тем, что подвижный контактный элемент (6) имеет поверхность (17), которая при заданном положении подвижного контактного элемента (6) расположена на одном уровне с плоскостью, проходящей через по меньшей мере один электрод (12), расположенный по обеим сторонам от траектории перемещения подвижного контактного элемента (6), и установлена с возможностью скачкообразного перехода части электрической дуги (13) через по меньшей мере один из электродов (12) с образованием упомянутой первой дуги (13а) и с по меньшей мере одного из электродов (12) на подвижный контактный элемент (6) с образованием упомянутой второй дуги (13b).
5. Размыкатель по п.3, отличающийся тем, что он содержит два электрода (12), размещенных по обеим сторонам от подвижного контактного элемента (6), причем каждый электрод (12) в верхней части имеет выступ 30 удержания электрической дуги, направленный в сторону соседнего электрода.
6. Размыкатель по п.1, отличающийся тем, что дугогаситель (2) содержит магнитную цепь (25), содержащую по меньшей мере два участка (11), оканчивающихся по меньшей мере одним полюсным наконечником (9), по меньшей мере частично создающим упомянутое магнитное поле (26) отвода электрической дуги.
7. Размыкатель по п.6, отличающийся тем, что он содержит дугогасительную камеру (1), установленную на дугогасителе (2) и снабженную двумя вспомогательными полюсными наконечниками (10), расположенными на ее стороне рядом с дугогасителем (2), причем упомянутые вспомогательные полюсные наконечники (10) расположены вблизи полюсных наконечников (9) или в контакте с ними.
8. Размыкатель по п.6 или 7, отличающийся тем, что полюсные наконечники (9, 10) установлены с возможностью создания индукции в зоне дугогасительной камеры, которая выше индукции в зазоре между подвижным и неподвижным контактными элементами (5, 6).
9. Размыкатель по п.1, отличающийся тем, что дугогаситель (2) снабжен по меньшей мере одним постоянным магнитом (14), установленным с возможностью создания силы, действующей на электрическую дугу, обеспечивающей ее отвод и контактирование с по меньшей мере одним электродом (12).
10. Размыкатель по п.1, отличающийся тем, что он снабжен датчиком увеличения силы тока до заданного значения размыкания цепи, соединенным с приводом (7), установленным с возможностью изменения положения подвижного контактного элемента (6) и размыкания главной цепи.
11. Способ прерывания тока в электромеханическом размыкателе цепи (3, 4), содержащем неподвижный контактный элемент (5) и подвижный контактный элемент (6), дугогаситель (2), снабженный катушкой (8) намагничивания, по которой проходит ток намагничивания, создающий магнитное поле (26) отвода электрической дуги, образующейся при размыкании упомянутых контактных элементов, причем упомянутые контактные элементы (5, 6) установлены с возможностью размещения в первом положении контакта друг с другом с обеспечением прохождения тока в цепи (3, 4), а упомянутый подвижный контактный элемент (6) установлен с возможностью размещения его во втором положении размыкания с неподвижным контактным элементом (5) с отключением цепи от источника питания, при этом создают магнитное поле, движущее электрическую дугу в дугогасительную камеру (1) посредством взаимодействия упомянутой электрической дуги с по меньшей мере одним электродом (12), соединенным с катушкой (8) намагничивания, отличающийся тем, что дугу, образующуюся при разъединении контактных элементов (5, 6), по меньшей мере частично разделяют на первую дугу (13а) между одним контактным элементом (5) и электродами (12) и вторую дугу (13b) между электродами (12) и другим контактным элементом (6), при этом первую или вторую дугу (13а, 13b) параллельно соединяют с катушкой (8) намагничивания, соединенной с одной стороны с электродами (12), а с другой стороны – с одним из контактных элементов (5, 6).
12. Способ по п.11, отличающийся тем, что производят ток (i(b)), протекающий в катушке (8) намагничивания, слабее тока (i(m’)), протекающего в первой или второй дуге (13а, 13b), параллельно соединенной с катушкой (8) намагничивания между электродным узлом (12) и одним из упомянутых контактных элементов (5, 6).
13. Способ по п.12, отличающийся тем, что по меньшей мере один из электродов (12) располагают вокруг подвижного контактного элемента (6) с обеих его сторон.
14. Способ по п.13, отличающийся тем, что перемещают подвижный контактный элемент (6) и устанавливают его на одном уровне с плоскостью, проходящей через по меньшей мере один электрод (12), расположенный по обеим сторонам от траектории перемещения подвижного контактного элемента (6), при этом обеспечивают скачкообразный переход по меньшей мере части электрической дуги (13) через по меньшей мере электрод (12), посредством чего образуют упомянутую первую дугу (13а), и с по меньшей мере одного электрода (12) на подвижный контактный элемент (6), посредством чего образуют упомянутую вторую дугу (13b).
15. Способ по п.13, отличающийся тем, что по обеим сторонам от подвижного контактного элемента (6) устанавливают два электрода (12), причем каждый электрод (12) в верхней части имеет выступ (30) удержания электрической дуги, который направлен в сторону соседнего электрода.
16. Способ по любому из пп.11-15, отличающийся тем, что магнитное поле, созданное в катушке намагничивания, пропускают по меньшей мере по двум участкам магнитной цепи, содержащей по меньшей мере два участка (11), оканчивающихся по меньшей мере одним полюсным наконечником (9), расположенной в определенном положении, причем упомянутые участки (11) установлены с возможностью отвода электрической дуги в дугогасительную камеру.
17. Способ по п.16, отличающийся тем, что полюсные наконечники устанавливают с возможностью создания индукции в зоне дугогасительной камеры (2) более высокой, чем индукция в зазоре между подвижным и неподвижным контактными элементами (5, 6).
18. Способ по п.11, отличающейся тем, что в дугогасителе устанавливают по меньшей мере один постоянный магнит, посредством которого создают силу, действующую на электрическую дугу, тем самым отводят ее и обеспечивают ее контактирование с по меньшей мере одним электродом (12).
РИСУНКИ
|
|