|
|
(21), (22) Заявка: 2008103800/28, 26.06.2006
(24) Дата начала отсчета срока действия патента:
26.06.2006
(30) Конвенционный приоритет:
01.07.2005 US 60/696,066 22.06.2006 US 11/472,334
(43) Дата публикации заявки: 10.08.2009
(46) Опубликовано: 10.08.2010
(56) Список документов, цитированных в отчете о поиске:
US 4773735 А, 27.09.1988. ЕР 0915360 A2, 12.05.1999. JP 60262139 А, 25.12.1985. RU 2127442 C1, 10.03.1999.
(85) Дата перевода заявки PCT на национальную фазу:
01.02.2008
(86) Заявка PCT:
US 2006/024800 20060626
(87) Публикация PCT:
WO 2007/011499 20070125
Адрес для переписки:
103735, Москва, ул.Ильинка, 5/2, ООО “Союзпатент”, пат.пов. Ю.Б.Перегудовой, рег. 1103
|
(72) Автор(ы):
О’ШОНЕССИ Деннис Дж. (US)
(73) Патентообладатель(и):
ППГ ИНДАСТРИЗ ОГАЙО, ИНК. (US)
|
(54) ПРОЗРАЧНЫЙ ЭЛЕКТРОД ДЛЯ ПЕРЕКЛЮЧАЕМОГО ЭЛЕКТРОХРОМНОГО ЭЛЕМЕНТА (ВАРИАНТЫ)
(57) Реферат:
Изобретение относится к измерительной технике. Электрохромный переключаемый компонент остекления, например окно и/или зеркало, содержит электрохромную среду, расположенную между парой электродных узлов. По меньшей мере, один электродный узел прозрачен для видимого света и содержит электрод, расположенный на поверхности. В одном варианте осуществления изобретения соединительный слой содержит связующий слой с большим электрическим сопротивлением. В другом варианте осуществления изобретения соединительный слой содержит электропроводный слой. В другом варианте осуществления изобретения электропроводные слои являются серебряными пленками, предназначенными для уменьшения пропускания инфракрасного излучения через первый электродный узел. Технический результат – создание электрода с нагреваемым слоем, предназначенным для нагревания поверхности электрода. 3 н. и 42 з.п. ф-лы, 9 ил.
Область техники, к которой относится изобретение
Настоящее изобретение относится к прозрачному электроду для электрохромного переключаемого компонента электрической схемы и, в частности, к прозрачному электроду с набором покрытий, который содержит пару электропроводных слоев, отделенных друг от друга электропроводным слоем или слоем с большим сопротивлением, таким как диэлектрический слой.
Рассмотрение технологии
Электрохромные переключаемые прозрачные компоненты часто используются в тех случаях, когда нужно изменять пропускание видимого света через прозрачный компонент или остекление. Например, не ограничивая рассмотрение, переключаемые прозрачные компоненты используются в качестве лобовых и/или боковых стекол воздушных судов, чтобы пилот и/или пассажиры воздушного судна имели возможность увеличивать или уменьшать пропускание видимого света прозрачного компонента.
Один тип электрохромного прозрачного компонента или электрохромной системы содержит анодные соединения и катодные соединения, которые вместе находятся в растворе между парой пространственно разнесенных электродов. Система другого типа содержит полимер, включающий в себя катодный окрашивающий полимер электроизоляционный, но ионопроводящий полимер и анодный окрашивающий полимер, которые расположены между парой пространственно разнесенных электродов. Еще одна система содержит неорганический ионопроводящий, но электроизоляционный слой между парой пространственно разнесенных электродов. Более подробное описание упомянутых выше электрохромных систем содержится в патентах US 5202787, US 5805330, US 6643050 и US 6747779. Специалистам в рассматриваемой области ясно, что в электрохромном зеркале, по меньшей мере, один из электродов прозрачный, а в электрохромном прозрачном компоненте предпочтительно оба электрода прозрачные.
В одной конструкции электродный узел включает в себя электрод, установленный на поверхности листа стекла. Пара электродных узлов узла установлена на расстоянии друг от друга, при этом электроды обращены друг к другу и находятся в электрическом контакте с электрохромной средой, расположенной между электродами. Электроды соединены с электрической цепью, так что при подаче электропитания на электроды к электрохромной среде прикладывается потенциал, что приводит к изменению цвета этой среды. Например, не ограничивая рассмотрение, при подаче электропитания на электрохромную среду она затемняется и начинает поглощать свет, уменьшая процент видимого света, пропускаемого через электрохромную среду, а когда подача электропитания прекращается, среда светлеет, увеличивая процент видимого света, пропускаемого через электрохромную среду. Процент уменьшения видимого света, пропускаемого через среду, зависит от величины напряжения, приложенного к среде, например, при повышении напряжения процент видимого света, прошедшего через среду, уменьшается. Более подробное рассмотрение работы электрохромного переключаемого прозрачного компонента содержится в упомянутых выше патентах US 5202787, US 5805330, US 6471360 и US 6643050.
Скорость переключения электрохромной переключаемой среды от максимального до минимального пропускания видимого света в диапазоне пропускания видимого света электрохромной среды является функцией нескольких параметров, рассмотренных в упомянутых выше патентах. Например, не ограничивая рассмотрение, одним из параметров является электропроводность электродов, например поверхностное сопротивление электродов, контактирующих с электрохромной переключаемой средой. Поверхностное сопротивление – это сопротивление в Ом на кв. метр электрода, измеренное между двумя точками на поверхности электрода, предназначенного для контакта с электрохромной средой. Процедура определения поверхностного сопротивления электродов хорошо известна в технике, и дальнейшее рассмотрение этого вопроса вряд ли необходимо.
Специалистам в рассматриваемой области ясно, что для заданного приложенного напряжения при уменьшении поверхностного сопротивления электрода уменьшается время переключения от максимального пропускания видимого света до минимального пропускания видимого света и наоборот. Уменьшение времени переключения является следствием увеличения тока, протекающего через электроды и электрохромную переключаемую среду. В общем, для получения равномерного распределения тока между электродами желательно, чтобы поверхностное сопротивление электродов было мало, например меньше 1 Ом/м2.
Считается также, что изменение температуры оказывает влияние на время переключение, например, при уменьшении температуры увеличивается время переключения и наоборот.
Рассмотрение существующей технологии
В патенте US 5805330 описаны материалы, из которых могут быть изготовлены электроды электрооптических устройств с фотоэлектрическим питанием. Эти материалы включают в себя оксид олова, легированный фтором, оксид индия, легированный оловом (далее называемый “ОИО”), тонкие металлические слои, ОИО/металл/ОИО (далее называемый “ИМИ”) и дополнительные слои металла и ОИО, например ИМИМИ. В патенте US 6747779 описаны электроды ОИО/серебро/ОИО, серебро/ОИО и диэлектрик/серебро/ОИО, где при желании на границе ОИО и серебра могут быть расположены тонкие слои частично окисленного металла.
В патенте US 6661460 описано предотвращающее запотевание окна электрохромное оконное устройство, содержащее первую подложку с проводящим покрытием на первой внешней поверхности и второе проводящее покрытие на второй внутренней поверхности, а также содержащее вторую подложку, расположенную на расстоянии от первой подложки, при этом на первую внешнюю поверхность второй подложки нанесено третье электропроводящее покрытие. Вторая внутренняя поверхность первой подложки и первая внешняя поверхность второй подложки обращены друг к другу и расположены на расстоянии друг от друга, при этом между ними образуется камера с электрохромной средой. Электрический ток прикладывают к первому проводящему покрытию с целью нагревания первого проводящего покрытия, что предотвращает запотевание оконного устройства, ко второму и третьему проводящим покрытиям прикладывают электрический потенциал с целью изменения пропускания электрохромной среды.
Хотя предотвращающее запотевание электрохромное оконное устройство из патента US 6661460 выполняет свою функцию, имеется ряд ограничений. В частности, лист, обе поверхности которого содержат покрытия, требует аккуратного обращения, чтобы не допустить повреждения одной или обеих поверхностей с покрытием.
Следует понимать, что целесообразно предложить электроды, которые обеспечивают равномерное распределение тока по электрохромной среде, которые обеспечивают средства для нагревания одной или нескольких внешних поверхностей электрохромного переключаемого компонента остекления и/или которые улучшают защиту электрохромной среды от солнца, и которые не имеют ограничений существующих в настоящее время прозрачных электродов, предназначенных для электрохромных компонентов остеклений.
Раскрытие изобретения
Изобретение относится изделию, содержащему первый электродный узел, расположенный на расстоянии от второго электродного узла, и среду между первым и вторым электродными узлами. Среда в ответ на электрическое воздействие изменяет процент видимого света, пропускаемого через среду, например, среда является электрохромной переключаемой средой, выбранной из группы, содержащей жидкость, твердое тело, гель и их комбинацию. В одном, не ограничивающем изобретение варианте осуществления изобретения изделие является электрохромным переключаемым компонентом остекления, содержащим, по меньшей мере, один электродный узел, например первый электродный узел, прозрачный для электромагнитного излучения с длиной волны от 400 до 700 нм.
В одном, не ограничивающем изобретение варианте осуществления изобретения первый электродный узел содержит электрод, определяемый как первый электрод; второй электродный узел, содержащий электрод, определяемый как второй электрод, при этом первый и второй электроды обращены друг к другу, и между ними расположена среда. Первый электродный узел содержит первую основную поверхность, например первую поверхность листа стекла, которая обращена к среде, при этом первый электрод находится между первой основной поверхностью и средой. Дополнительно первый электрод содержит: первый электропроводный слой, расположенный между средой и первой основной поверхностью; второй электропроводный слой, находящийся на расстоянии от первого электропроводного слоя и между первым электропроводным слоем и средой; первый и второй элементы электрического контакта, например шины, которые расположены на расстоянии друг от друга и контактируют с первым электропроводным слоем, где первый и второй элементы электрического контакта и первый электропроводный слой образуют первый электропроводящий путь; и третий элемент электрического контакта, который контактирует со вторым электропроводным слоем. Четвертый элемент электрического контакта контактирует со вторым электродом, при этом третий и четвертый элементы электрического контакта, второй электропроводный слой, среда и второй электрод образуют второй электропроводящий путь.
Другие не ограничивающие изобретение варианты осуществления изобретения включают в себя: лист стекла, который имеет противоположную вторую поверхность, при этом, по меньшей мере, одна из поверхностей листа стекла содержит покрытие, выбранное из группы, состоящей из водоотталкивающего покрытия, гидрофильного покрытия, солнцезащитного покрытия и их комбинаций; замкнутую разделительную рамку, расположенную между электродными узлами и соединенную с ними для получения герметичной камеры между электродными узлами, предназначенной для среды; изделие выбрано из группы, состоящей из: (А) остекление транспортного средства, тип которого выбран из группы, состоящей из: (а) наземных транспортных средств, таких как автомобили, грузовики, легковые автомобили, мотоциклы, поезда и их комбинации; (б) воздушных транспортных средств; (в) космических транспортных средств; (г) надводных транспортных средств; (д) подводных транспортных средств и (е) их комбинаций; (Б) окон для конструкций, выбранных из группы, состоящей из (а) жилых домов; (б) промышленных зданий, (в) дверок печей; (г) дверок микроволновых печей, (д) дверей холодильников и (е) их комбинаций; (В) зеркал; (Г) зеркал заднего вида транспортных средств; (Д) боковых зеркал транспортных средств; (Е) остекление транспортного средства, выбранного из группы, состоящей из лобового стекла, бокового стекла, стекла крыши и заднего стекла и их комбинаций и лобового стекла воздушного судна и (Ж) их комбинаций.
В дополнительном не ограничивающем изобретение варианте осуществления электрическое воздействие измеряется в вольтах, приложенных между электродными узлами, в ответ на электрическое воздействие среда изменяет процент видимого света, пропускаемого через среду, одним из следующих способов: если напряжение между электродными узлами увеличивается, то процент светопропускания через среду уменьшается; если напряжение между электродными узлами уменьшается, то процент светопропускания через среду увеличивается; если напряжение между электродными узлами увеличивается, то процент светопропускания через среду увеличивается; если напряжение между электродными узлами уменьшается, то процент светопропускания через среду уменьшается; и их комбинации.
В еще одном, не ограничивающем изобретение варианте осуществления при приложении напряжения между первым и вторым электропроводящими элементами первый электропроводный слой и поверхность нагреваются электрическим путем.
В дополнительном, не ограничивающем изобретение варианте осуществления между первым и вторым электропроводными слоями расположен связующий слой с высоким электрическим сопротивлением, связующий слой имеет заданное сопротивлением электрическому току, протекающему по первому электропроводному слою, так что менее 50% тока, протекающего по первому электропроводящему пути, проходит по связующему слою во второй электропроводный слой. Изобретение предусматривает вариант, когда связующий слой с высоким электрическим сопротивлением представляет собой электроизоляционный или диэлектрический слой.
В еще одном дополнительном, не ограничивающем изобретение варианте осуществления между первым и вторым электропроводными слоями расположен электропроводный связующий слой, который имеет заданное сопротивление электрическому току, протекающему по первому электропроводному слою, так что более 50% тока, протекающего по первому электропроводящему пути, проходит через электропроводный связующий слой во второй электропроводный слой. Изобретение предусматривает вариант, когда электропроводный связующий слой представляет собой электропроводный слой оксида металла.
В еще одном, не ограничивающем изобретение варианте осуществления второй электродный узел содержит основную поверхность, определяемую как вторая основная поверхность, обращенную к среде, при этом второй электрод расположен между второй основной поверхностью и средой, второй электрод содержит электропроводный слой, определяемый как третий электропроводный слой и расположенный между средой и второй основной поверхностью; электропроводный слой, определяемый как четвертый электропроводный слой и расположенный на расстоянии от третьего электропроводного слоя, между третьим электропроводным слоем и средой. Четвертый элемент электрического контакта контактирует с четвертым электропроводным слоем, а пятый и шестой элементы электрического контакта, расположенные на расстоянии друг от друга, контактируют с третьим электропроводным слоем, при этом пятый и шестой элементы электрического контакта и третий электропроводный слой образуют третий электропроводящий путь.
Дополнительные другие, не ограничивающие изобретение варианты осуществления содержат: (1) диэлектрический слой, расположенный между первым электропроводным слоем и поверхностью подложки, причем диэлектрический слой, расположенный между поверхностью подложки и первым электропроводным слоем, содержит опорный слой, например пленку станната цинка, и контактирующий с металлом слой, например слой оксида цинка, предназначенный для улучшения электропроводности металлического слоя, например серебряного слоя; (2) связующий слой с высоким электрическим сопротивлением, который расположен между первым и вторым электропроводными слоями и предназначен для нагревания первой поверхности при прохождении тока через среду по второму пути; (3) электропроводный слой, который расположен между первым и вторым электропроводными слоями и предназначен для улучшения прохождения тока по второму пути; (4) первый электропроводный слой и/или связующий слой содержат опорный слой, например слой станната цинка, и (5) каждый электропроводный слой содержит металлический слой и защитный слой на металлическом слое, при желании защитный слой является обедненной кислородом напыленной керамической пленкой, например пленкой оксида индия и олова, и дополнительно содержит электропроводящую напыленную керамическую пленку, например пленку из оксида индия и олова, содержание кислорода в которой больше, чем в обедненной по кислороду напыленной керамической пленке, и которая расположена на обедненной по кислороду напыленной керамической пленке.
Другой, не ограничивающий изобретение вариант осуществления содержит первый и третий элементы электрического контакта, соединенные с положительной или отрицательной клеммой источника постоянного тока, и второй и четвертый элементы электрического контакта, соединенные с отрицательной или положительной клеммой источника электропитания соответственно, или третий и второй элементы электрического контакта соединены с первым источником постоянного тока, а третий и четвертый элементы электрического контакта соединены со вторым источником постоянного тока.
Кроме того, изобретение относится к улучшенному изделию, содержащему первый электродный узел, расположенный на расстоянии от второго электродного узла, и среду между первым и вторым электродными узлами, среда в ответ на электрическое воздействие изменяет процент видимого света, пропускаемого через среду, усовершенствование заключается в том, что, по меньшей мере, один электродный узел содержит поверхность; первый слой станната цинка на этой поверхности; первый слой оксида цинка на первом слое станната цинка, и металлический слой на первом слое оксида цинка, например серебряная пленка на слое оксида цинка, защитная пленка расположена поверх или на серебряной пленке, и пленка оксида индий-олово расположена поверх или на защитном слое.
Кроме того, изобретение относится к способу работы электрохромного переключаемого элемента, содержащего первый электродный узел, расположенный на расстоянии от второго электродного узла, и электрохромную переключаемую среду между первым и вторым электродными узлами, указанный способ включает в себя следующие этапы: обеспечивают первый электродный узел с первым электропроводным слоем, расположенным на расстоянии от основной поверхности и находящимся в электрическом контакте с электрохромной переключаемой средой, и второй электропроводный слой, расположенный между первым электропроводным слоем и основной поверхностью, на расстоянии от первого электропроводного слоя и электрохромной переключаемой среды и в выбранные моменты времени пропускают ток через первый и/или второй электропроводные слои.
Краткое описание чертежей
Фиг.1 – вид сбоку в поперечном разрезе варианта осуществления электрохромного переключаемого прозрачного компонента, соответствующего изобретению.
Фиг.2 – вид, аналогичный фиг.1, при этом электрохромный переключаемый прозрачный компонент, показанный на фиг.1, повернут на 90 градусов.
Фиг.3 – вид сбоку варианта осуществления электродного узла, соответствующего изобретению.
Фиг.4 – вид, аналогичный фиг.3, более подробно показывающий другой не ограничивающий изобретение вариант осуществления электродного узла, соответствующего изобретению.
Фиг.5 – вид, аналогичный фиг.1, подробно показывающий другой вариант осуществления электрохромного переключаемого прозрачного компонента, соответствующего изобретению.
Фиг.5 содержит фиг.5А и 5В, которые являются видами, более подробно изображающими вариант осуществления соединений шин с электродами, в соответствии с изобретением.
Фиг.6 – схематический вид варианта осуществления электрической цепи, которая может быть использована при реализации изобретения, для подачи электропитания на электроды электрохромного переключаемого прозрачного компонента, показанного на фиг.5.
Фиг.7 – вид, аналогичный фиг.1, показывающий другой вариант осуществления электрохромного переключаемого прозрачного компонента, соответствующего изобретению.
Фиг.7А и 7В – схематические виды вариантов осуществления электрических цепей согласно изобретению, которые соединены с электродами с фиг.7 с целью подачи электропитания на электроды в соответствии с изобретением.
Фиг.8 – вид сбоку в поперечном разрезе прозрачного компонента воздушного судна с электрохромным переключаемым прозрачным компонентом, соответствующим изобретению.
Фиг.9 – вид сбоку в поперечном разрезе электрохромного переключаемого зеркала, содержащего электроды, соответствующие изобретению.
Подробное описание изобретения
Используемые здесь термины, обозначающие пространственное расположение или направление, например “внутренний”, “внешний”, “правый”, “левый”, “вверх”, “вниз”, “горизонтальный”, “вертикальный” и подобные, относятся к изобретению, как оно показано на чертежах. Тем не менее, надо понимать, что альтернативные направления и, соответственно, такие термины не надо рассматривать как ограничение изобретения. Кроме того, ко всем числам, выражающим размеры, физические характеристики и так далее, которые используются в описании и формуле изобретения, можно во всех случаях приставить термин «примерно». Соответственно, если не сказано обратное, числовые значения, установленные в последующем описании и формуле изобретения, являются приблизительными величинами и могут изменяться в зависимости от требуемых свойств, которых нужно добиться с помощью настоящего изобретения. Как минимум, не пытаясь ограничить применение принципа эквивалентности к объему изобретения, каждый числовой параметр должен, по меньшей мере, истолковываться в свете числа значащих цифр, а при округлении должна применяться стандартная процедура округления. Более того, все диапазоны, описанные здесь необходимо понимать как диапазоны, содержащие любые свои поддиапазоны. Например, установленный диапазон «от 1 до 10» надо рассматривать как диапазон, содержащий все поддиапазоны между (и включая) минимальным значением 1 и максимальным значением 10, то есть все поддиапазоны, начинающиеся с минимального значения 1 или большего значения и заканчивающиеся максимальным значением 10 или меньшим значением, например, от 1 до 6,7, от 3,2 до 8,1, от 5, 5 до 10. Здесь под терминами “расположен на”, “нанесен на” или “предусмотрена на” означают расположенный, нанесенный или предусмотренный на чем-то, но не обязательно находящийся с ним в контакте. Например, если материал “расположен на” подложке, то это не исключает наличия одного или нескольких других материалов такого же или другого состава, которые расположены между нанесенным материалом и листом или подложкой.
До рассмотрения вариантов осуществления электродов, электрохромных элементов или остеклений, соответствующих изобретению, надо понимать, что изобретение не ограничивается деталями конкретных вариантов осуществления, которые здесь показаны и рассмотрены, так как существуют другие варианты осуществления изобретения. Далее, терминология, используемая здесь для рассмотрения изобретения, применяется для описания изобретения, а не его ограничения. Кроме того, если не оговорено противное, далее одинаковые ссылочные позиции обозначают одинаковые элементы.
Далее в описании изобретения рассматривается электрохромное переключаемое остекление транспортного средства с одной камерой. Следует понимать, что изобретение не ограничивается этим, и остекление, включающее признаки изобретения, может иметь более одной камеры, например, остекление может иметь 2, 3, 4 или больше камер и может использоваться в качестве компонента остекления для любого транспортного средства, в том числе, помимо прочего, наземных транспортных средств, таких как автомобили, грузовики, легковые автомобили, мотоциклы и/или поезда; воздушных и космических транспортных средств и/или надводных и/или подводных транспортных средств. Далее, остекление, включающее признаки изобретения, может быть использовано в качестве любого типа компонента остекления транспортного средства, такого как, помимо прочего, лобовое стекло, боковое стекло, стекло крыши и заднее стекло. Кроме того, остекление, включающее признаки изобретения, может быть использовано в качестве окон и/или компонентов окон для жилых домов, промышленных зданий, дверок печей, микроволновых печей и дверей холодильников. В других, не ограничивающих изобретение вариантах осуществления электроды и/или электродные узлы, соответствующие изобретению, могут быть использованы совместно или быть компонентом электрохромных остеклений, которые содержат только одну прозрачную сторону, например, помимо прочего, зеркалами, например, помимо прочего, внутренними зеркалами транспортных средства и внешними боковыми зеркалами, и могут быть использованы в качестве компонента любого типа электрохромного устройства.
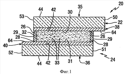
На фиг.1 и 2 показан вариант осуществления электрохромного переключаемого элемента или остекления 20, соответствующего изобретению. Остекление 20 содержит пару электродных узлов 22 и 24, внутренние боковые кромки 26 и 28 соответственно которых соединены вместе разделительным элементом 29, чтобы пространственно разнести внутренние поверхности 30 и 31 электродных узлов 22 и 24, соответственно, друг от друга с целью образования герметичной камеры 32, содержащей электрохромную переключаемую среду 33. В варианте осуществления изобретения внутренние поверхности 30 и 31 электродных узлов 22 и 24, соответственно, расположены на расстоянии друг от друга и, по существу, параллельно друг другу и обращены друг к другу. Такое расположение предпочтительно достигается с помощью разделительного элемента 29. Разделительный элемент 29 может быть расположен между боковыми кромками 26 и 28 электродных узлов 22 и 24, соответственно, любым образом, чтобы поддерживать надлежащее расстояние между внутренними поверхностями 30 и 31 электродных узлов 22 и 24, соответственно. Например, разделительный элемент 29 выполнен в виде рамки для ограничения внешних пределов или границы герметичной камеры 32. Разделительный элемент 29 может быть выполнен из любого материала и в одном варианте осуществления изобретения материал является полимерным материалом, например, отверждаемым органическим полимерным материалом, таким как термопластичная, термореактивная или отверждаемая при воздействии ультрафиолета смола. В частности, в качестве разделительного элемента 29 полезно использовать органические уплотнительные материалы на основе эпоксидной смолы, и заранее сформированные разделительные элементы могут быть приклеены к боковым кромкам 26 и 28 электродных узлов 22 и 24, соответственно, любым обычным образом, например с помощью бутилового влагостойкого клеевого герметика (не показан).
В одном варианте осуществления изобретения камера 32, содержащая среду 33, выполнена следующим образом. Слой электроизоляционного клеевого герметика (не показан) расположен между внутренними боковыми кромками 26 внутренней поверхности 30 электродного узла 22 и поверхностью полимерного предварительно сформированного разделительного элемента 29 в виде рамки, а слой электроизоляционного клеевого материала (не показан) расположен между боковыми кромками 28 внутренней поверхности 31 электродного узла 24 и противоположной поверхностью разделительного элемента 29 в виде рамки. После отверждения клеевых слоев электрохромную среду 33 перемещают любым обычным образом в камеру 32, например, через отверстие 34 (показано только на фиг.2) в разделительном элементе 29, а затем отверстие 34 герметизируют любым подходящим образом, например с помощью бутилового влагостойкого клеевого герметика (не показан), что делается для герметизации электрохромной переключаемой среды 33 в камере 34. Предпочтительно толщина разделительного элемента 29 равна толщине электрохромной среды 33, расположенной в разделительном элементе 29, так чтобы поверхности 30 и 31 электродных узлов 22 и 24, соответственно, контактировали с электрохромной средой.
Каждый из электродных узлов 22 и 24 содержит лист или подложку 35 и 36 и электрод 38 и 40, соответственно. Каждый лист 35 и 36 содержит внутреннюю поверхность 42 и внешнюю поверхность 44, при этом электрод 38 опирается на внутреннюю поверхность листа 35 и предпочтительно надежно прикреплен к указанной поверхности, а электрод 40 опирается на внутреннюю поверхность 42 листа 36 и предпочтительно надежно прикреплен к указанной поверхности. В последующем рассмотрении внутренняя поверхность 30 электродного узла 22 также называется внешней поверхностью 30 электрода 38, а внутренняя поверхность 31 электродного узла 24 узла также называется внешней поверхностью 31 электрода 40.
В одном варианте осуществления изобретения сторона 50 электродного узла 22 выступает за сторону 51 электродного узла 22, а сторона 52 электродного узла 24 выступает за сторону 53 электродного узла 22, как показано на фиг.1, что сделано для обеспечения электрических соединений электродов 38 и 40 любым обычным образом. Не ограничивающие изобретение варианты осуществления электрических соединений с электродами будут описаны ниже. Стороны 54 и 55 листа 35 электродного узла 22 или электродного узла 22 в целом выровнены со сторонами 56 и 57 листа 36 электродного узла 22 или электродного узла 25, соответственно, как показано на фиг.2. Другие, не ограничивающие варианты осуществления изобретения включают в себя стороны 50 и 53-55 листа 35 или электродного узла 22, которые выровнены со сторонами 51, 52, 56 и 57 листа 36 или электродного узла 24, соответственно, а стороны 50, 53-55 электродного узла 22 смещены относительно сторон 51, 52, 56 и 57 электродного узла 24, соответственно.
В изобретении предполагается, что один или оба электродных узла 22 и 24 прозрачны для видимого света, и/или один или оба листа 35 и 36 прозрачны для видимого света, и/или один или оба электрода 38 и 40 прозрачны для видимого света, когда электрохромный элемент 20 в состоянии «включен», «не окрашен» или «бесцветен», что будет подробно рассмотрено позже. Следует понимать, что когда электрохромный элемент используется в качестве окна или прозрачной перегородки, предпочтительно, чтобы оба электродных узла были прозрачны для видимого света, а когда электрохромный элемент используется для прохода видимого света только через один электродный узел, например, когда электрохромное остекление используется в качестве зеркала или перегородки с одной прозрачной стороной, то предпочтительно, чтобы прозрачным был только один из электродных узлов.
В настоящем изобретении, когда говорим «прозрачный для видимого света» или «прозрачный», то это означает общее количество видимого света, прошедшего через объект, например, не ограничивая изобретение, через один электродный узел, или через один электродный узел и электрохромную среду, или через два электродных узла и электрохромную среду между этими двумя электродными узлами. Под термином «видимый свет» понимается электромагнитное излучение, длина волны которого находится в пределах от 400 нм до 700 нм электромагнитного спектра. Изобретение не ограничивает процент видимого света, пропускаемого через один электродный узел или через один электродный узел и электромагнитную среду, или через два электродных узла и электрохромную среду, расположенную между двумя электродными узлами электрохромного переключаемого остекления, когда остекление находится в состоянии «включено», «не окрашено» или «бесцветно». В одном, не ограничивающем изобретение варианте осуществления пропускание видимого света превышает 0%, например, превышает 30% или превышает 45%, или превышает 60%. Пропускание видимого света измеряется для стандартного источника света А Международной комиссии по освещению.
Изобретение не ограничивает материал листов 35 и 36 электродных узлов 22 и 24, соответственно, и листы могут быть выполнены из любого материала, в том числе, помимо прочего, полимерных материалов, керамических материалов, стеклокерамических материалов и стеклянных материалов. Когда пропускание видимого света одного или обоих листов 35 и 36 должно быть больше 0%, то лист (листы) могут быть выполнены из материала, прозрачного для видимого света, например, прозрачных полимерных материалов, прозрачного натриево-кальциево-силикатного стекла, прозрачного боросиликатного стекла или прозрачного преломляющего стекла любого типа и их комбинаций. Когда пропускание видимого света одного или обоих листов 35 и 36 должно быть равно 0%, то лист (листы) может быть выполнен из непрозрачного материала, например непрозрачных полимерных материалов, и/или листы 35 и 36 могут быть выполнены из подложки, пропускание видимого света которой превышает 0%, и содержат покрытие или пленку на одной или обеих поверхностях подложки, пропускание видимого света которых равно 0%, например, на поверхностях 42 и/или 44 листов 35 или 36. Один или оба листа 35 и/или 36 могут быть монолитными листами, или один или оба листа могут представлять собой листы из двух или нескольких слоев, или листы из двух или нескольких слоев, разделенных разделительной рамкой, например многослойный изоляционный блок или их комбинация.
Изобретение не ограничивает контур периферии, форму и/или толщину листов 35 и 36 электродных узлов 22 и 24, соответственно. Листы 35 и 36 могут содержать три или более сторон, и стороны могут быть как прямолинейными, так и криволинейными. Хотя при реализации изобретения внутренние поверхности 42 листов 35 и 36 предпочтительно везде находятся на одном расстоянии друг от друга с тем, чтобы переключаемая среда 33 в камере 32 затемнялась равномерно, а поверхности 42 и 44 листов, по существу, параллельны с целью минимизации искажения видимого объекта. В изобретении предусматриваются варианты, когда один или несколько листов 35 и 36 имеют плоские поверхности 42 и/или 44 параллельные или непараллельные друг относительно друга; имеют поверхности 42 и/или 44, форма которых в поперечном сечении не плоская, например вогнутая, выпуклая или клиновидная форма. Стекло клиновидной формы рассмотрено, помимо прочего, в патенте US 5812332, который включен в настоящую заявку посредством ссылки. Кроме того, в изобретении предусматривается вариант, когда расстояние между внутренними поверхностями 42 листов 35 и 36 изменяется от одной стороны камеры 32 до другой стороны этой камеры.
Специалистам в рассматриваемой области ясно, что изобретение не ограничивает состав листов 35 и 36 стекла, например, листы стекла могут быть чистым стеклом или стеклом с оттенком, например стеклом, тип которого описан в патентах US 5030592, US 5240886, US 5593929 и US 5792559, которые включены в настоящую заявку посредством ссылки. Листы стекла могут быть выполнены из отожженного стекла, химически или термически закаленного стекла или закаленного стекла. В одном варианте осуществления изобретения стекло является химически закаленным стеклом, выпускаемом компанией PPG Industries, Inc., Питтсбург, Пенсильвания, под торговой маркой Herculite® II. Это стекло характеризуется чрезвычайно высоким отношением прочности к весу, что позволяет получать более тонкие и легкие листы стекла по сравнению с термически закаленным стеклом, не жертвуя при этом прочностью или оптическими свойствами. Листы 35 и 36 стекла могут быть одинаковыми по составу и/или по свойствам, или состав и/или свойства листов могут отличаться, например, один лист может иметь оттенок, а другой лист – чистое стекло. В одном варианте осуществления изобретения листы 35 и 36 являются листами прозрачного чистого натриево-кальциево-силикатного стекла.
Далее, один или оба листа 35 и/или 36 могут содержать функциональное покрытие на внешней поверхности 44. Функциональные покрытия включают в себя, помимо прочего, покрытия защиты от воздействий окружающей среды, водоотталкивающие покрытия и/или покрытия для удаления влажности или поверхностного загрязнения, такие как фотокаталитически активируемые самоочищающиеся покрытия, описанные в заявке на патент США 08/899257, озаглавленной «Photocatalytically-Activated Self-Cleaning Article and Method of Making Same», поданной 23 июля 1997 г., автор Greenberg и другие, или фотоэлектролитически сохнущие покрытия, описанные в заявке на патент США 08/927130, озаглавленной «Photocatalytically-Desiccating Multiple-Glazed Window Units», поданной 2 сентября 1997 г., автор James P. Thlel, обе упомянутые заявки включены в настоящий документ посредством ссылки.
Как показано на фиг.1 и 2, внутренние поверхности 30 и 31 электродов 38 и 40 соответственно направлены друг к другу и электрически контактируют с электрохромной переключаемой средой 33, расположенной в камере 32. Как показано на фиг.3, следующее описание касается электродного узла 24 и электрода 40, входящего в состав электродного узла 24, при этом ясно, что это описание применимо к электродному узлу 22 и электроду 38, входящему в состав электродного узла 22, если не оговорено противное. Электрод 40 содержит основной слой 60, расположенный на внутренней поверхности 42 листа 36, и активирующий слой 62, расположенный на основном слое 60. Здесь под термином “слой” понимается один или несколько слоев или одна или несколько пленок. Поверхность 31 активирующего слоя 62 контактирует со средой 33. Слои 60 и 62 электродов 38 и 40 нанесены на внутреннюю поверхность 42 листов 35 и 36 любым обычным образом, например с помощью химического восстановления, путем нанесения покрытия с использованием электричества, пиролитическим нанесения или магнетронного вакуумного распыления (далее называемого “МВР”). В предпочтительном варианте реализации изобретения слои 60 и 62 электродов 38 и 40 нанесены способом МВР.
Поверхность 31 активирующего слоя 62 (см. фиг.3) характеризуется малым поверхностным сопротивлением, например, не превышающим 2 Ом/м2, и активирующий слой 62 служит для того, чтобы, помимо прочего, образовать электропроводящий путь от места вне камеры 32, через активирующий слой 62 электрода, например электрода 40, через электрохромную среду 33 к другому электроду, например электроду 38, и через активирующий слой электрода 38 наружу камеры 32. Основной слой 60 электродов 38 и 40 служит в качестве солнцезащитного слоя, нагреваемого слоя и/или электроусиливающего слоя для активирующего слоя 62, что будет описано ниже.
Как показано на фиг.4, в одном, не ограничивающем изобретение варианте осуществления основной слой 60 содержит первый слой или контактирующий с подложкой слой 66, расположенный поверх и предпочтительно непосредственно на внутренней поверхности 42 листа 36, металлический слой 68 (далее называемый “первым металлическим слоем 68”), расположенный поверх и предпочтительно на первом слое 66, и соединительный слой 70, расположенный поверх и предпочтительно на металлическом слое 68. Металлический слой 68 может быть выполнен из любого материала, подходящего для образования электропроводящего пути и, при желании, для образования поверхности, отражающей инфракрасное излучение (излучение электромагнитного спектра с длинами волн больше 700 нм). Материалы, которые могут быть использованы при реализации изобретения, включают в себя, помимо прочего, серебро, золото, медь, алюминий, платину и их сплавы, например сплав серебра с другим металлов, таким как никель или титан, золото, медь, платина, алюминий, серебро или их комбинации. Необходимо заметить, что некоторые металлические пленки, например серебряная пленка, имеют два уровня удельного электрического сопротивления и коэффициента отражения инфракрасного излучения. В частности, когда удельное сопротивление находится на нижнем уровне, коэффициент отражения инфракрасного излучения находится на верхнем уровне и наоборот. При реализации изобретения, когда слой, отражающий инфракрасное излучение (далее называемое “ИК”), является серебряной пленкой, предпочтительно, чтобы удельное сопротивление серебряной пленки находилось на нижнем уровне, а коэффициент отражения инфракрасного излучения находился на верхнем уровне, причины этого будут раскрыты позже.
В одном, не ограничивающем изобретение варианте осуществления изобретения нижний уровень удельного сопротивления и верхний уровень коэффициента отражения инфракрасного излучения для металлического слоя 68 достигаются благодаря определенным особым характеристикам первого слоя 66. В одном варианте осуществления изобретения эти характеристики включают в себя атомную структуру, способствующую осаждению металлического слоя 68 с малым сопротивлением и высокой отражающей способностью, и химическую стойкость, и термостойкость. Обычно одна пленка не имеет все определенные особые характеристики, упомянутые выше, поэтому в одном варианте осуществления изобретения первый слой 66 содержит две или несколько пленок, например первый слой 66 такого типа, который описан в патенте US 5821001, включенном в настоящий документ посредством ссылки, для обеспечения малого сопротивления и высокой отражающей способности металлического слоя 68. В частности, первый слой 66 содержит контактирующий с металлом слой 72, который контактирует с металлическим слоем 68, и опорный слой 74, расположенный между контактирующим с металлом слоем 72 и листом 35 электродного узла 22 и между контактирующим с металлом слоем 72 и листом 36 электродного узла 24. Материал контактирующего с металлом слоя 72 имеет кристаллические свойства, чтобы атомы, образующие металлический слой 68, «осаждались» на более низком из двух уровней удельного электрического сопротивления и на верхнем из двух уровней коэффициента отражения инфракрасного излучения. Контактирующий с металлом слой 72 первого слоя 66 основного слоя 60 выбирается с учетом способности вызывать осаждение атомов металлического слоя 68 в виде, характеризующемся низким уровнем удельного сопротивления и высоким уровнем коэффициента отражения инфракрасного излучения. Металлический слой 68 и контактирующий с металлом слой 72 взаимодействуют друг с другом, что означает низкий уровень удельного сопротивления и высокий уровень коэффициента отражения инфракрасного излучения для металлического слоя 68, связаны с конкретной структурной особенностью контактирующего с металлом слоя 72 первого слоя 66. Кристаллическая структура металлического слоя 68 может, например, проявлять взаимосвязь в ориентации с контактирующим с металлом слоем 72, что, в свою очередь, может приводить к большим зернам или, говоря по-другому, меньшей области границ зерен или меньшему рассеянию электронов на дефектах в пределах металлического слоя 68.
В целом, выбор материала для контактирующего с металлом слоя 72 будет зависеть от конкретного металлического слоя. В одном, не ограничивающем изобретение варианте осуществления металлический слой 68 представляет собой серебряную пленку 68. Серебряная пленка является предпочтительным вариантом с экономической точки зрения, с точки зрения ее способности отражать инфракрасное излучение и благодаря легкости ее нанесения способом МВР. В случае, когда металлический слой 68 является серебряной пленкой, примером подходящего материала для контактирующего с металлом слоя 72 первого слоя 66 основного слоя 60 является пленка оксида цинка. При нанесении пленки оксида цинка надо аккуратно выбирать параметры процесса, чтобы пленка оксида цинка имела подходящую кристаллическую структуру или предпочтительное направление роста кристаллов, что благоприятно влияет на осаждение атомов серебра и улучшает свойства серебряной пленки, касающиеся низкого удельного сопротивления и высокого коэффициента отражения инфракрасного излучения. Один путь добиться указанного состоит в том, чтобы при распылении металлической мишени из цинка кислород преобладал по сравнению с аргоном. Другими подходящими материалами для контактирующего с металлом слоя 72 первого слоя 66 являются, помимо прочего, оксид цинка и алюминия, распыленный из керамической плитки соответствующего состава, и оксид индия и олова.
Опорный слой 74 поддерживает контактирующий с металлом слой 72 и может содержать одну или несколько пленок. В одном, не ограничивающем изобретение варианте осуществления изобретения опорный слой 74 содержит, по меньшей мере, одну стойкую к химическому воздействию и термостойкую пленку. Подходящими материалами для опорного слоя являются, помимо прочего, аморфный, полученный распылением оксид цинка и олова (также называемый “станнатом цинка”) и аморфный оксид олова или висмута. В областях применения, когда нужна высокая пропускная способность и низкая излучательная способность, пленка (пленки) опорного слоя 74 предпочтительно не поглощают видимую и инфракрасную части спектра электромагнитного излучения. В одном не ограничивающем изобретение варианте осуществления опорный слой 74 является пленкой станната цинка, что объясняется его более сильным сцеплением с внутренней поверхностью 42 листов 35 и 36 стекла и его большей химической стойкостью (станнат цинка плохо взаимодействует с кислотными и щелочными растворами) и его термостойкостью (станнат цинка можно без ухудшения свойств нагревать до температур, равных 650°С). Более подробно свойства станната цинка описаны в патенте US 4610771, который включен в настоящий документ посредством ссылки.
Изобретение не ограничивает массовый процент олова и цинка в пленке станната цинка, в частности, пленка станната цинка может содержать цинка 10-90 мас.%; олова и 90-10 мас.% цинка; 10-40 мас.% олова и 60-90 мас.% цинка; 34 мас.% олова и 66 мас.% цинка; 53 мас.% олова; 47 мас.% цинка или 48 мас.% олова 52 мас.% цинка.
Так как только атомы, расположенные вблизи поверхности контактирующего с металлом слоя 72, влияют на осаждение атомов металлического слоя 68, толщина контактирующего с металлом слоя должна быть, как правило, минимизирована до величины, необходимой для получения требуемого уменьшения электрического сопротивления и увеличения коэффициента отражения инфракрасного излучения металлическим слоем 68, например серебряной пленкой 68, как описано выше, так чтобы максимизировать толщину опорного слоя 74, который более химически стоек и термостоек. Диапазоны для толщин пленок первого слоя 66 будут рассматриваться ниже.
Следует понимать, что изобретение не ограничивает число пленок, содержащихся в первом слое 66, и первый слой 66 может содержать больше и меньше двух пленок, например только одну пленку оксида цинка или только одну пленку станната цинка между металлическим слоем 68 и листом 35 и/или 36. Кроме того, изобретение не ограничивает состав пленки (пленок) первого слоя 66, и первый слой может содержать любую пленку, например диэлектрические пленки, используемые в технике между металлической пленкой и подложкой, например листом стекла или пластика.
Специалистам в рассматриваемой области ясно, что в тех примерах, когда поверхность первого слоя 66, контактирующая с поверхностью 42 соответствующего одного из листов 35 и 36, не образует хорошего сцепления с поверхностью 42, для крепления первого слоя 66 электрода 38 и/или 40 к поверхности 42 соответствующего листа 35 или 36 может быть использован слой грунтовки (не показан). Например, слои грунтовки, описанные в заявке US 2007/0002421, озаглавленной “A Vision Panel Having а Multi-layer Primer” могут быть использованы в случае, когда листы 35 и/или 36 выполнены из пластика, например, для крепления первого слоя 66 электрода 38 и/или 40 к поверхности 42 соответствующего пластикового листа 35 или 36.
В не ограничивающих изобретение вариантах осуществления изобретения предусматривается случай, когда последовательность частей первого слоя 66 основного слоя 60 на листе включает в себя, помимо прочего: лист 35 или 36 / первый слой 66 / металлический слой 68; лист / опорный для металла слой 74 / контактирующий с металлом слой 72 / металлический слой 68; лист стекла / диэлектрический слой / металлический слой; лист стекла / первая диэлектрическая пленка /вторая диэлектрическая пленка / металлическая пленка и лист стекла / пленка станната цинка / пленка оксида цинка / пленка серебра.
Соединительный слой 70 основного слоя 60 нанесен на первый металлический слой 68 основного слоя 60. Соединительный слой 70 имеет различные функции, в зависимости от требуемой конфигурации и работы электродов 38 и/или 40. Для полного понимания функции соединительного слоя 70 сначала будет рассмотрен активирующий слой 62, а затем рассмотрен соединительный слой 70.
Активирующий слой 62 нанесен на соединительный слой 70 основного слоя 60. Активирующий слой 62 для одного электрода, например электрода 38, пропускает электрический ток к электрохромной среде 33, а для другого электрода, например электрода 40, принимает электрический ток из электрохромной среды. Поверхность 32 электродов 38 и 40, контактирующая со средой 33, предпочтительно совместима с этой средой, например, воздействие среды не вызывает коррозию или не вызывает быструю коррозию поверхности 32 электродов 38 и 40, и поверхность электродов не загрязняет среду.
Специалистам в рассматриваемой области ясно, что металлы являются отличными проводниками электрического тока, тем не менее не все металлы, например серебро и сплавы металлов, совместимы с электрохромной средой, используемой в электрохромных переключаемых элементах. Далее, специалистам в рассматриваемой области ясно, что большинство оксидов металлов более совместимы с электрохромной средой, используемой в электрохромных переключаемых элементах, чем металлы, тем не менее большинство оксидов металлов не являются такими же хорошими проводниками электрического тока, как металлы. С учетом изложенного выше, в одном, не ограничивающем изобретение варианте (см. фиг.4) активирующий слой 62 содержит электропроводный слой 80 оксида металла, расположенный на металлическом слое 78 (далее называемом «вторым металлическим слоем 78»). Для предотвращения окисления второго металлического слоя 78 при напылении проводящего слоя 80 оксида металла, на второй металлический слой 78 нанесен защитный слой 82 или временный слой, что известно в технике и делается до напыления слоя 80 оксида металла на второй металлический слой 78.
Материалы для второго металлического слоя 78, которые могут быть использованы при реализации изобретения, включают в себя материалы, упомянутые выше, которые могут быть использованы для первого металлического слоя 68. Изобретение не ограничивает материал слоя 80 оксида металла, тем не менее выбранный материал должен быть электропроводящим и совместимым с электрохромной средой 33, например не должен ухудшать свойства переключения среды. Слой 80 оксида металла для прозрачных электродов должен быть прозрачным и в одном варианте осуществления изобретения, должен быть просветляющим. Материалы для слоя 80 оксида металла, которые могут быть использованы при реализации изобретения, включают в себя, помимо прочего, материалы, выбираемые из группы проводящих оксидов металлов, сплавов металлов, проводящих оксинитридов и проводящих нитридов. В другом варианте осуществления изобретения слой 80 является оксидом металла, сделанный проводящим благодаря легированию, в том числе, помимо прочего, легированным оксидом олова, в частности оксидом олова, легированным галогеном, например фтором (SnO2:F) или сурьмой (SnO2:Sb), или оксидом цинка, легированным, например, алюминием (ZnO: Al) или оловом (ZnO:Sn), или фтором (ZnO:F), или индием (ZnO:In); оксидом индия, легированным оловом (ОИО); электропроводящим станнатом цинка; станнатом кадмия; оксидом олова, легированным индием и их комбинациями. В еще одном варианте осуществления изобретения проводящий слой 80 оксида металла является слоем оксида индия и олова или слоем оксида цинка и алюминия. В предпочтительном варианте реализации изобретения, не ограничивающем изобретение, проводящий слой 80 оксида металла является слоем оксида индия и олова.
Материалы для защитного слоя 82, которые могут быть использованы при реализации изобретения, включают в себя металлы, такие как цирконий, титан, медь, оксиды меди и металла и нитриды металлов, такие как нестехиометрический оксид индия и олова и нитрид титана. В частности, пленка нестехиометрического оксида индия и олова получается распылением катода из оксида индия и олова в инертной атмосфере, такой как 100% аргон. С другой стороны, стехиометрический оксид индия и олова получается распылением катода из оксида индия и олова в реакционной атмосфере, такой как 5% кислорода и 95% аргона. В одном, не ограничивающем изобретение варианте реализации защитный слой 82 наносится на второй металлический слой 78 путем распыления мишени-катода из материала в нереакционной атмосфере, например, распыления медной мишени в аргоновой атмосфере и нанесения второго слоя 80 оксида металла на защитный слой 82 путем распыления мишени-катода из другого материала в реакционной атмосфере, например, распыления мишени из оксида индия и олова в реакционной атмосфере. В другом, не ограничивающем изобретение варианте реализации защитный слой нанесен на второй металлический слой 78 путем распыления керамической мишени-катода в нереакционной атмосфере, например, распыления мишени-катода из оксида индия и олова в аргоновой атмосфере с целью нанесения защитного слоя 82 и последующего распыления мишени-катода из индия в реакционной атмосфере с целью нанесения слоя 80 оксида металла. Следует понимать, что изобретение не ограничивается распылением мишени-катода из оксида индия и олова в инертной атмосфере с последующим распылением мишени в реакционной атмосфере с целью создания защитного слоя 82 и проводящего слоя 80 оксида металла, и при реализации изобретения могут быть использованы другие керамические материалы, такие как, помимо прочего, керамические материалы, описанные в патенте US 6398925 и включающие в себя, помимо прочего, электропроводящий станнат цинка, оксид олова, легированный сурьмой, станнат кадмия, оксид олова, легированный фтором, оксид олова, легированный индием, оксид индия, легированный оловом, оксид цинка, легированный индием, и их комбинации.
Не ограничивающие изобретение варианты активизирующего слоя 62 включают в себя, помимо прочего, металлический слой (78) / защитный слой (82) / электропроводный слой (80) оксида металла; металлический слой / защитный слой, нанесенный в виде металлического слоя / электропроводный слой оксида металла; серебряная пленка / медная пленка, нанесенная в инертной атмосфере / пленка оксида индия и олова; и серебряная пленка / пленка оксида индия и олова, нанесенная в инертной атмосфере / пленка оксида индия и олова, нанесенная в реакционной атмосфере.
Далее будет рассмотрен соединительный слой 70 основного слоя 60 электродов 38 и 40, показанных на фиг.4 (на фиг.4 показан только электрод 40). Как было упомянуто выше, все, что относится к электроду 40 так же может быть отнесено к электроду 38, если не оговорено противное. Соединительный слой 70 содержит защитный или временный слой 88, расположенный на первом металлическом слое 68, и связующий слой 90, расположенный между активирующим слоем 62 и защитным слоем 88. Сказанное выше относительно защитного слоя 82 активирующего слоя 62 применимо к защитному слою 88 соединительного слоя 70, если не оговорено противное.
Связующий слой 90 соединительного слоя 70 физически отделяет первый металлический слой 68 основного слоя 60 и второй металлический слой 78 активирующего слоя 62 с целью обеспечения электрода 40 двумя электропроводными слоями и, при желании, двумя слоями, отражающими инфракрасное излучение. Два слоя, отражающие инфракрасное излучение, например первый и второй металлические слои 68 и 78 соответственно, уменьшают процент пропускания инфракрасного излучения, например излучения электромагнитного спектра с длиной волны, превышающей 700 нм, через электродные узлы 22 и/или 24. Это уменьшение пропускания инфракрасного излучения может уменьшить неблагоприятное воздействие инфракрасного излучения на электрохромную среду 33 и может уменьшить потери тепла в электрохромном остеклении 20, например тепла, проходящего через электрохромный элемент из внутреннего пространства транспортного средства во внешнюю холодную окружающую среду, и тепла, проходящего через этот элемент от нагретой окружающей среды в охлажденное внутреннее пространство транспортного средства. В одном, не ограничивающем изобретение варианте осуществления связующий слой 90 соединительного элемента 70 основного слоя 60 является электропроводным связующим слоем 90А, предназначенным для образования в электроде электропроводящего пути, включающего в себя первый металлический слой 68 основного слоя 60; электропроводный связующий слой 90А основного слоя 60 и активирующий слой 62. Под термином «электропроводный связующий слой» понимается следующее: электрическое сопротивление связующего слоя 90А таково, что, по меньшей мере, 50%, например 75-100% или 90-100% тока, приложенного к первому металлическому слою 68 основного слоя 60, проходит через связующий слой 90А ко второму металлическому слою 78 активирующего слоя 62, чтобы увеличить, то есть улучшить, уровень электрического тока, протекающего по второму металлическому слою 78. Например, если к первому металлическому слою 68 слоя 60 прикладывается ток в 2А, и 60% тока, приложенного к первому металлическому слою 68, проходит через связующий слой 90А ко второму металлическому слою 78 активирующего слоя 62, то второй слой 78 получит 60% приложенного тока или 1,2 А, и первый металлический слой 68 будет иметь 40% от приложенного тока или 0,8 А. Объединение металлических слоев 68 и 78 в сущности увеличивает толщину проводящего пути электрода, что уменьшает время переключения электрохромной среды от высокого пропускания видимого света до малого пропускания видимого света, что рассмотрено ранее.
В одном, не ограничивающем изобретение варианте осуществления электропроводный связующий слой 90А представляет собой один или несколько электропроводных слоев оксидов металлов, упомянутых ранее. В другом, не ограничивающем изобретение варианте осуществления электропроводный связующий слой 90А является пленкой оксида индия и олова или электропроводящей пленкой станната цинка. В еще одном не ограничивающем изобретение варианте осуществления металлический слой 78 активирующего слоя 62 является серебряной пленкой, расположенной на связующем слое 90А, и электропроводный связующий слой 90А содержит опорную пленку 94А электропроводного слоя станната цинка, расположенного на защитном слое 88, и контактирующую с металлом пленку 72, расположенную на слое 94А. Специалистам в рассматриваемой области ясно, что несмотря на то, что защитные слои 82 и 88 и опорный для металла слой 72 связующего слоя 90А являются не электропроводными, их вклад в сопротивление электрическому току считается минимальным, так как их предполагаемая толщина мала, например, в одном, не ограничивающем изобретение варианте осуществления защитные слои 82 и 88 являются медными пленками, толщина которых меньше 25 ангстрем, а опорный для металла слой 72 связующего слоя 90А является пленкой оксида цинка, толщина которой составляет от 50 до 80 ангстрем.
В другом, не ограничивающем изобретение варианте осуществления связующий слой 90 является связующим слоем 90В с большим электрическим сопротивлением, предназначенным для ограничения протекания электрического тока из первого металлического слоя 68 основного слоя 60 во второй металлический слой 78 активирующего слоя 62. Под термином «связующий слой с большим электрическим сопротивлением» понимается следующее: электрическое сопротивление связующего слоя 90В больше электрического сопротивления между активирующим слоем 62 одного электрода, например электрода 40, и активирующим слоем 62 активации другого электрода, например электрода 38, так что менее 50%, например 0-25% или 0-10% тока, приложенного к первому металлическому слою 68 основного слоя 60 электродов, проходит через связующий слой 90В во второй металлический слой 78 активирующего слоя 62. В одном, не ограничивающем изобретение варианте осуществления связующий слой 90В является диэлектрическим слоем, который используется в области стекол с напыленным покрытием с малой излучательной способностью. В другом, не ограничивающем изобретение варианте осуществления связующий слой 90В является диэлектрическим слоем 94В, например пленкой силиката алюминия. В еще одном, не ограничивающем изобретение варианте осуществления второй металлический слой 78 является серебряной пленкой, расположенной на связующем слое 90В, а связующий слой 90В содержит диэлектрический слой 94В, например, диэлектрическую пленку станната цинка на защитном слое 88, и контактирующую с металлом пленку 72, например пленку оксида цинка на диэлектрическом слое 94В.
В примере, когда внешняя поверхность 44 листов 35 и 36 должна нагреваться с целью удаления запотевания с внешних поверхностей и/или должна нагревать электрохромную среду 33 с целью более быстрого переключения в холодную погоду, через первые металлические слои 68 основных слоев 60 каждого из электродов 38 и 40 пропускают ток для нагревания листов 35 и 36 и/или электрохромной среды. Например, когда пропускание видимого света электрохромной переключаемой средой 33 надо изменить, ток проходит по активирующему слою 62 одного электрода, например электрода 40, по электрохромной среде 33 к активирующему слою 62 активации другого электрода, например электрода 38. Следует понимать, что связующий слой 90В с большим электрическим сопротивлением предотвращает или ограничивает протекание тока через первый металлический слой 68 основного слоя 60 из или в металлический слой 78 активирующего слоя 62. Следует понимать, что изобретение не ограничивается использованием покрывающих пленок в качестве связующих слоев 90В с большим электрическим сопротивлением, и изобретение предусматривает наличие электроизоляционного листа, например, не ограничивая изобретение, пластикового листа, например, и не ограничивая изобретение, межслойного пластикового листа, который используется при изготовлении многослойных автомобильных лобовых стекол и который присоединен к первому металлическому слою 68 или защитному слою 88, и активирующий слой 62 нанесен на межслойный лист полиэфирной пленки такого типа, который продается компанией Е.I. Du Pont de Nemours and Company, шт.Делавэр, под торговой маркой MYLAR, при этом на одну поверхность нанесен активирующий слой 62, а противоположная поверхность приклеена к первому металлическому слою 68 или защитному слою 88, или отвержденной жидкой пленки из пластика, например отвержденной акриловой жидкой пленки, нанесенной на металлический слой 68 или защитный слой 88, а активирующий слой 62 нанесен на отвержденную акриловую пленку (см. фиг.4). При использовании описанных выше процедур листы 35 и 36 стекла и/или среда 33 могут нагреваться, когда изменяется пропускание видимого света электрохромной средой. Шины могут быть соединены с электродами, и один или несколько источников электроэнергии могут быть соединены с шинами любым подходящим образом, например, как описано ниже, и такими шинами, источниками энергии и электрическими соединениями изобретение не ограничено.
Не ограничивающие изобретение варианты осуществления соединительного слоя 70, расположенного на первом металлическом слое 68 основного слоя 60 электродов 38 и/или 40 и содержащего электропроводный связующий слой 90А, включают в себя, помимо прочего, первый металлический слой 68 / проводящий слой оксида металла; первый металлический слой 68 / защитный слой 88 / оксид индия и олова; первый металлический слой 68 / защитный слой из оксида индия и олова / оксид индия и олова; и первый металлический серебряный слой 68 / медная пленка, нанесенная на серебряный слой / пленка оксида индия и олова, нанесенная на медную пленку. Не ограничивающие изобретение варианты осуществления соединительного слоя 70, расположенного на первом металлическом слое 68 основного слоя 60 электродов 38 и/или 40 и содержащего связующий слой 90В с большим электрическим сопротивлением, включают в себя, помимо прочего, первый металлический слой 68 / лист изоляционного материала, например листа пластика; первый металлический слой 68 / диэлектрический слой; первый металлический слой 68 / защитный слой 88 / толстая пленка оксида цинка, например, по меньшей мере, 100 ангстрем; первый металлический слой 68 / защитный слой / диэлектрический слой станната цинка и первый металлический серебряный слой 68 / медная пленка, нанесенная на серебряный слой / диэлектрический слой станната цинка, нанесенный на медную пленку, и пленка оксида цинка, нанесенная на пленку станната цинка.
На фиг.5 показан не ограничивающий изобретение вариант осуществления электрохромного переключаемого остекления 100, который соответствует изобретению и который может быть использован для пропускания тока через электроды 38 и 40 и электрохромную среду 33 с целью затемнения среды 33 и/или пропускания тока через электроды 38 и 40 с целью нагревания внешней поверхности 44 листов 35 и 36 и электрохромной среды 33. Электрохромное переключаемое остекление 100 аналогично электрохромному переключаемому остеклению 20, показанному на фиг.1 и 2, отличия будут рассмотрены ниже. Стороны 50 и 53-55 листа 35 выровнены с соответствующими сторонами 51, 52, 56, 57 листа 36 (см. фиг.2 и 5). Разделительный элемент 29 выровнен со сторонами 54 и 55 листа 35 и со сторонами 56 и 57 листа 36, как показано на фиг.2. Разделительный элемент 29 расположен внутри относительно сторон 50 и 51 листов 35 и 36 соответственно, как показано на фиг.5, благодаря чему образуются первая наружная часть 102 электрода 38 и первая наружная часть 104 электрода 40, а разделительный элемент 29 расположен внутри относительно сторон 53 и 52 листов 35 и 36 соответственно, благодаря чему образуются вторая наружная часть 106 электрода 38 и вторая наружная часть 108 электрода 40. Первая наружная часть 102 электрода 38 (см. фиг.5 и 5А) и вторая наружная часть 108 электрода 40 (см. фиг.5) содержат шины 110 и 112 соответственно, которые контактируют с первым металлическим слоем 68 основного слоя 60 электрода 38 и 40 соответственно, как показано на фиг.5А для шины 110. Вторая наружная часть 106 электрода 38 (см. фиг.5 и 5В) и первая наружная часть 104 электрода 40 (см. фиг.5) содержат шины 114 и 116 соответственно, которые контактируют с первым металлическим слоем 68 основного слоя 60 и активирующим слоем 62 электродов 38 и 40 соответственно, как показано на фиг.5В для шины 114.
Активирующие слои 62 электродов 38 и 40 могут быть исключены из первой наружной части 102 электрода 38 (см. фиг.5А) и второй наружной части 108 электрода 40 (см. фиг.5), и соединительный слой 70 может быть удален из наружных частей 102, 104, 106 и 108 электродов 38 и 40 (см. фиг.5, 5А и 5В) любым обычным способом, например, не ограничивая изобретение, с использованием маски в процессе напыления, или путем удаления любых ненужных слоев с помощью абразивного материала.
Как показано на фиг.6, в одном, не ограничивающем изобретение варианте осуществления шины 116 и ПО соединены с положительной клеммой источника 120 постоянного тока проводами 122 и 123 соответственно, а шины 112 и 114 соединены с отрицательной клеммой источника тока проводами 124 и 125 соответственно. Переключатели 127 и 128 расположены между шинами ПО и 116 соответственно и положительной клеммой источника 120 электроэнергии, а переключатели 129 и 130 расположены между шинами 112 и 114 соответственно и отрицательной клеммой источника 120 электроэнергии, что сделано для соединения соответствующих шин с источником 120 электроэнергии и их отсоединения от указанного источника. В частности, когда переключатели 127 и 129 находятся в разомкнутом состоянии, а переключатели 128 и 130 находятся в замкнутом состоянии, ток течет между шинами 116 и 114, активирующими слоями 62 электродов 38 и 40 и через электрохромную среду 33 с целью изменения пропускания видимого света для электрохромной среды. Когда переключатели 127 и 130 находятся в разомкнутом состоянии, а переключатели 128 и 129 находятся в замкнутом состоянии, ток течет между шинами 116 и 112 и через металлический слой 68 электрода 40 с целью нагревания листа 36 и электрохромной среды 33. Когда переключатели 128 и 129 находятся в разомкнутом состоянии, а переключатели 127 и 130 находятся в замкнутом состоянии, ток течет между шинами ПО и 114 и через металлический слой 68 электрода 40 с целью нагревания листа 35 и электрохромной среды 33. Когда переключатели 127-130 находятся в замкнутом состоянии, ток течет между шинами 110, 112, 114 и 116, через металлический слой 68 электродов 38 и 40 с целью нагревания листов 35 и 36 и электрохромной среды, и ток течет через активирующие слои 62 электродов 38 и 40 и электрохромную среду 33 с целью изменения пропускания видимого света электрохромной среды. В одном не ограничивающем изобретение варианте осуществления между шинами 110 и 116 и положительной клеммой расположен переменный резистор 132, а между шинами 112 и 114 и отрицательной клеммой источника 120 электроэнергии расположен переменный резистор 132, что сделано для регулирования электрического тока через металлические слои 68 и активирующие слои 62 электродов 38 и 40, так что через среду 33 протекает электрический ток, достаточный для получения нужной степени изменения пропускания видимого света средой 33. Так как электрическая цепь, рассмотренная ранее, сравнительно проста для специалистов в рассматриваемой области, то дальнейшее ее рассмотрение вряд ли необходимо.
На фиг.7 показан другой, не ограничивающий изобретение вариант осуществления, содержащий электрохромное переключаемое остекление 140, в котором к первым металлическим слоям 68 приложено другое напряжение, например большее, чем к активирующим слоям 62 активации электродов 38 и 40. Остекление 140 содержит шину 142, соединенную с одной стороной первого металлического слоя 68 электрода 38, и шину 144, соединенную с противоположной стороной первого металлического слоя 68 электрода 38; шину 146, соединенную с одной стороной первого металлического слоя 68 электрода 40, и шину 148, соединенную с противоположной стороной первого металлического слоя 68 электрода 40; шину 150, соединенную с одной или несколькими сторонами активирующего слоя 62 электрода 38, и шину 152, соединенную с одной или несколькими сторонами активирующего слоя 62 электрода 40. Как показано на фиг.7А, шины 144 и 148 соединены проводами 154 и 155 соответственно с положительной клеммой, а шины 142 и 146 соединены проводами 156 и 157 соответственно с отрицательной клеммой источника 160 постоянного тока. При желании между шиной 144 и между шиной 148 и положительной клеммой источника 160 постоянного тока расположены переключатели 162 и 163 соответственно, что сделано для того, чтобы по выбору ток проходил через соответствующий один из первых металлических слоев 68 электродов 38 и 40 и нагревал листы 35 и 36 соответственно и электрохромную среду 33.
Как показано на фиг.7А, шина 150 соединена с положительной клеммой источника 164 постоянного электрического тока проводом 165, а шина 152 соединена с отрицательной клеммой источника 164 постоянного электрического тока проводом 166. При желании между шиной 150 и источником 164 электроэнергии расположен переключатель 168, который по выбору направляет ток через активирующий слой 62 с целью изменения пропускания видимого света средой 33. Напряжение источников 120 (фиг.6) и 160 и 164 (фиг.7А) электроэнергии не ограничивается. Напряжение, приложенное к среде 33, должно быть достаточно большим для изменения пропускания видимого света средой, но не таким большим, чтобы причинять вред среде 33. В частности, общепризнано, что напряжение, превышающее 1,5 В приводит к электролизу любой воды и/или влаги, присутствующей в переключаемой среде 33, что может постоянно вредить переключаемой среде и среда 33 не будет переключаться. Хотя, не ограничивая изобретение, в целом к электродам 38 и 40 прикладывается напряжение не больше 5 В, например не больше 2 В или не больше 1,5 В, или не больше 1,2 В, например, не ограничивая изобретение, к активирующим слоям 62 активации электродов 38 и 40 и среде 33.
Предпочтительно, чтобы напряжение на первых металлических слоях 68 электродов 38 и 40 с целью нагревания листов 35 и 36 и среды 33 было такое же, как напряжение, приложенное к покрытиям нагреваемых лобовых стекол, например, как описано в патенте US 6 561 460, который включен в настоящий документ посредством ссылки. Не ограничивающие изобретение варианты осуществления изобретения включают в себя источник 160 электроэнергии, выходное напряжение которого равно 40 В, 20 В, 14 В или 12 В.
При реализации не ограничивающего изобретение варианта осуществления, показанного на фиг.7 и 7А при переключателях 163 и 168 в разомкнутом состоянии и при переключателе 162 в замкнутом положении, ток проходит по металлическому слою 68 электрода 38 с целью нагревания листа 36 и электрохромной среды 33; при переключателях 162 и 168 в разомкнутом состоянии и при переключателе 163 в замкнутом положении ток проходит по металлическому слою 68 электрода 40 с целью нагревания листа 36 и электрохромной среды 33, а при переключателях 162 и 163 в разомкнутом состоянии и при переключателе 168 в замкнутом положении ток проходит по активирующим слоям 62 электродов 38 и 40 с целью изменения пропускания видимого света электрохромной среды 33. Изобретение предусматривает различные комбинации перечисленного выше.
На фиг.7 и 7В показан другой не ограничивающий изобретение вариант осуществления, в котором шины 142, 146 и 152 соединены с отрицательной клеммой источника 160 электроэнергии проводами 156, 157 и 166 соответственно, а шины 144, 148 и 150 соединены с положительной клеммой источника электроэнергии проводами 154,155 и 165 соответственно. Переключатели 162, 163 и 168 расположены между шинами 144, 148 и 150 соответственно и положительной клеммой источника 160 электроэнергии. Схема 170 регулируемого выходного напряжения, которая используется в технике для понижения напряжения, расположена между шиной 150 и положительной клеммой источника 160 электроэнергии с целью понижения напряжения между шинами 150 и 152 для предотвращения причинения вреда среде 33.
Следует понимать, что изобретение не ограничено какой-либо конкретной структурой электрической цепи, предназначенной для питания электропроводных слоев электродов, и при реализации изобретения может быть использована любая цепь, известная в технике и применяемая для пропускания тока через электроды электрохромного остекления или элемента.
Специалистам в рассматриваемой области ясно, что основной слой 60 и/или активирующий слой 62 каждого электрода 38 и 40 могут содержать одинаковые слои и/или пленки или различные слои и/или пленки. Например, в одном, не ограничивающем изобретение варианте осуществления внешняя поверхность 44 одного из листов одного из электродных узлов, например листа 35, обращена во внутреннее пространство автомобиля (не показан), и электрод содержит основной слой 60, включающий в себя слой 90В с высоким электрическим сопротивлением и активирующий слой 62, а внешняя поверхность 44 листа другого электродного узла, например листа 36, обращена во внешнее для автомобиля пространство, и электрод содержит основной слой 60, включающий в себя электропроводный связующий слой 90А, например пленку оксида индия и олова. Таким образом, электродный узел, обращенный во внутреннее пространство автомобиля, содержит металлический слой 68, действующий в качестве нагреваемого слоя, а электродный узел, обращенный во внешнее для автомобиля пространство, содержит металлический слой 68, который способствует прохождению тока от металлического слоя 68 к расположенному выше металлическому слою 78 активирующего слоя 62, как было описано выше. В другом не ограничивающем изобретение варианте осуществления электроды 38 и/или 40 могут содержать только основной слой 60 с электропроводным связующим слоем 90А. Например, не ограничивая изобретение, электродный узел будет содержать, помимо прочего, лист / первый диэлектрический слой 66 (например, пленка станната цинка и пленка оксида цинка) / металлический слой 68 (например, серебряная пленка) / защитный слой 88 / электропроводный связующий слой 90А (например, пленка оксида индия и олова). Кроме того, слои 60 и 62 электродов 38 и 40 могут быть выполнены из одного или различных материалов. Далее, толщина электродов может быть одинаковой или различной.
В варианте осуществления изобретения, который содержит электрод с двумя металлическими слоями, одним для нагревания и другим для работы электрохромного элемента, при установке толщины слоя, который расположен между указанными металлическими слоями, необходимо учитывать разность электрических потенциалов, установленную между двумя металлическими слоями. Более конкретно, считается, что если разность электрических потенциалов между металлическими слоями станет слишком большой, то диэлектрический слой между двумя металлическими слоями может разрушиться, что приведет к потере изоляционных свойств между металлическими слоями. В результате при выборе материала и/или толщины диэлектрического слоя между металлическими слоями надо принимать во внимание величину тока в каждом металлическом слое и разность электрических потенциалов, установленную между ними. Следует понимать, что эта взаимосвязь очень важна в случае использования тонких пленок в качестве диэлектрического слоя.
Изобретение не ограничивает толщину слоев электродов, и толщина слоев должна быть выбрана так, чтобы получить электрохромный элемент, содержащий, по меньшей мере, один прозрачный электродный узел 22 и/или 24. Далее, следует понимать, что изобретение не ограничивает материалы слоев и пленок, упомянутые выше, и при реализации не ограничивающих изобретение вариантов осуществления изобретения слои 66, 80 90 могут быть выполнены в виде любых известных в технике пленочных покрытий, например, не ограничивая изобретение, из оксида индия и олова, станната цинка, оксида цинка, оксида олова, оксида кремния, нитрида кремния и оксинитрида кремния и их смесей и комбинаций.
Толщина слоев основного слоя 60 и активирующего слоя 62 электродов не ограничивается изобретением и предпочтительно так выбирается, чтобы пропускание видимого света электрохромным переключаемым остеклением было больше 0% и в одном, не ограничивающем изобретение варианте осуществления – больше 50%, когда к активирующим слоям 62 не подано электропитание, а поверхностное сопротивление поверхностей электродов, например поверхностей 30 и 31 электродов 38 и 40 (см. фиг.1 и 2), контактирующих с электрохромной переключаемой средой 33, составляло менее 2,2 Ом/м2, например, не ограничивая изобретение, поверхностное сопротивление составляет менее 1,1 Ом/м2, например менее 0,5 Ом/м2 или не больше 0,4 Ом/м2. В еще одном, не ограничивающем изобретение варианте осуществления толщина и показатель преломления слоев основного слоя 60 и активирующего слоя 62 электродов так выбраны, чтобы остекление или элемент 20 имели нейтральный цвет и/или чтобы остекление или элемент имел другой цвет при подаче электроэнергии на электроды.
Как показано на фиг.4, в отношении основного слоя 60, когда первый слой 66 является диэлектрическим слоем, толщина первого слоя составляет от 100 до 800 ангстрем, например от 200 до 400 ангстрем или от 250 до 350 ангстрем. Когда опорный слой 74 первого слоя 66 является пленкой станната цинка, и контактирующая с металлом пленка 72 является пленкой оксида цинка, толщина пленки станната цинка составляет от 50 до 320 ангстрем, например от 120 до 320 ангстрем или от 150 до 250 ангстрем, а толщина пленки оксида цинка составляет от 50 до 300 ангстрем, например от 80 до 200 ангстрем или от 100 до 200 ангстрем. Толщина первого металлического слоя 68 составляет от 80 до 300 ангстрем, например от 120 до 250 ангстрем или от 130 до 250 ангстрем. Когда первый металлический слой 68 является серебряной пленкой, толщина серебряной пленки составляет от 80 до 300 ангстрем, например от 90 до 200 ангстрем или от 90 до 150 ангстрем. Когда связующий слой 90 представляет собой связующий слой 90В с высоким электрическим сопротивлением, толщина этого слоя составляет от 150 до 1000 ангстрем, например от 400 до 800 ангстрем или от 450 до 700 ангстрем. Когда связующий слой 90В содержит диэлектрическую пленку станната цинка и пленку оксида цинка, толщина диэлектрической пленки станната цинка составляет от 200 до 700 ангстрем, например от 220 до 500 ангстрем или от 250 до 350 ангстрем, а толщина пленки оксида цинка составляет от 50 до 300 ангстрем, например от 80 до 200 ангстрем или от 100 до 200 ангстрем. Когда связующий слой 90 представляет собой электропроводный связующий слой 90А, толщина этого слоя составляет от 50 до 750 ангстрем, например от 80 до 600 ангстрем или от 100 до 400 ангстрем. Когда связующий слой 90А является пленкой оксида индия и олова, толщина этой пленки составляет от 50 до 600 ангстрем, например от 100 до 500 ангстрем или от 250 до 400 ангстрем.
Что касается активирующего слоя 62, толщина второго металлического слоя 78 составляет от 80 до 300 ангстрем, например от 120 до 250 ангстрем или от 130 до 250 ангстрем. Когда металлический слой 78 является серебряной пленкой, толщина серебряной пленки составляет от 80 до 300 ангстрем, например от 120 до 250 ангстрем или от 130 до 250 ангстрем. Толщина проводящего слоя 80 оксида металла составляет от 50 до 750 ангстрем, например, от 80 до 600 ангстрем или от 100 до 400 ангстрем. Когда проводящий слой 80 является пленкой оксида индия и олова, толщина этой пленки составляет от 50 до 600 ангстрем, например от 100 до 500 ангстрем или от 250 до 400 ангстрем.
Оптимальная толщина защитных слоев 82 и 88 активирующего слоя 62 и основного слоя 62 соответственно изменяется в зависимости от того, подвергаются ли электродные узлы 22 и 24 при изготовлении термической обработке. Так как основная функция защитных слоев 82 и 88 состоит в защите металлических слоев, например серебряных пленок 78 и 68 соответственно, от окисления при нанесении проводящего слоя 80 и связующего слоя 90 соответственно на соответствующий металлический слой, то защитные слои могут быть тонкими в случае, когда при изготовлении электродных узлов упомянутые электродные узлы не подвергаются термической обработке. Здесь под «тонкой» пленкой понимается любая защитная пленка, толщина которой составляет порядка 8-12 ангстрем. Так как при термической обработке обычно происходит сильный окислительный процесс, то толщина защитных слоев увеличивается, например, до толщины 20 ангстрем для защиты расположенных ниже металлических слоев при нагревании электродных узлов.
Не ограничивая изобретение, толщина электродов 38 и 40 составляет от 500 до 3000 ангстрем, например от 950 до 3000 ангстрем или от 950 до 2000 ангстрем. Кроме того, в одном, не ограничивающем изобретение варианте осуществления общая толщина электродов так выбирается, чтобы обеспечивать подходящий просветляющий эффект с точки зрения окончательного внешнего вида, например цвета, как описано в патентах US 4610771, US 5821001, US 6833194 и US 6899953 в отношении прозрачного электрохромного элемента и/или электродных узлов. Эти патенты включены в настоящее изобретение посредством ссылки. Так как выбор толщины и коэффициента преломления слоев, нанесенных напылением диэлектрических оксидов металлов, слоев проводящих оксидов металлов и/или металлических слоев с целью получения нужного цвета и выбор процента пропускания хорошо известны в технике, то дальнейшее рассмотрение этих вопросов вряд ли необходимо.
Как рассмотрено выше, серебряная пленка отражает инфракрасное излучение (далее также называемое «ИК») из камеры 34 с целью предотвращения ухудшения свойств переключаемой среды 33 под воздействием ИК излучения. В другом, не ограничивающем изобретение варианте осуществления листы могут быть снабжены оксидом церия и/или оксидом титана, как описано в патентах US 5240886 и US 5593929, которые включены в настоящий документ посредством ссылки, с целью поглощения ультрафиолетового излучения, например излучения электромагнитного спектра с длиной волны, равной менее 400 ангстрем (далее называемого «УФ»), что сделано для предотвращения ухудшения свойств среды 33 из-за воздействия УФ излучения. В другом, не ограничивающем изобретение варианте осуществления композиции стекла могут содержать добавки для поглощения ИК излучения, и листы могут быть содержать покрытия, отражающие УФ излучение, что известно в технике.
Размер и форма электрохромных компонентов остекления или элементов 20 (фиг.1 и 2), 100 (фиг.5) и/или 140 (фиг.7) могут быть произвольными, и размер, и форма могут быть выбраны в соответствии с предполагаемым вариантом использованием компонента 20 остекления. Например, не ограничивая изобретение, электрохромный компонент 20 остекления может иметь симметричную геометрию, в частности, форма компонента 20 остекления может быть квадратной или прямоугольной. Такие компоненты остекления симметричной формы особенно полезны при остеклении зданий, как, например, помимо прочего, в качестве окон или оконных конструкций. Далее, изобретение предусматривает, что элемент 20 может иметь несимметричную форму, в частности, листы 35 и 36 компонента остекления могут иметь криволинейные стороны и/или внешние поверхности 44, и/или внутренние поверхности 42 листов 35 и 36 могут быть изогнуты. Такие компоненты остекления несимметричной формы особенно полезны в качестве, помимо прочего, компонентов остекления транспортных средств, например, помимо прочего, лобовых стекол, боковых стекол, задних стекол и люков в крышах.
В не ограничивающем изобретение варианте осуществления пропускание видимого света электрохромной средой 33, расположенной в камере 34, уменьшается при приложении электрического потенциала к электродам, например электродам 38 и 40, показанным на фиг.7, с помощью шин 150 и 152, и листы 35 и 36 нагреваются при приложении электрического потенциала к электродам с помощью шин 142 и 144, и 144 и 148, как рассмотрено выше. Тем не менее изобретение не ограничивает конструкцию шин, и при реализации изобретения могут быть использованы шины любой конструкции, которая позволяет соединять шины с металлическими слоями электродов. Например, не ограничивая изобретение, шины и конструкция шин, которые описаны в патентах US 6064509 и US 6471360 и заявке US 2007/0002420, озаглавленной «An Electrochromic Vision Panel Having a Plurality of Connectors», поданной одновременной с настоящей заявкой, могут быть использованы при реализации изобретения. Далее, не ограничивая изобретение, шины могут представлять собой проводящую керамическую пасту, которая используется в автомобильной технике и которая наносится на внутреннюю поверхность 42 листов 35 и 36, а поверх керамических шин могут быть расположены электроды. Далее, следует понимать, что размер и форма шин не ограничиваются согласно изобретению и могут быть подогнаны под геометрию электрохромного компонента остекления.
Изобретение не ограничивает уровень напряжения, приложенного к переключаемой среде 33, тем не менее специалистам в рассматриваемой области ясно, что приложение слишком большого напряжения может привести к повреждению среды 33. В частности, считается, что напряжение, превышающее 10 В, приводит к электролизу любой воды и/или влаги, присутствующей в переключаемой среде 33, что может нанести вред переключаемой среде, и среда 33 не будет переключаться. В общем к среде 33 прикладывается напряжение не больше 5 В, например, не больше 2 В или не больше 1,5 В, или не больше 1,2 В. Следует понимать, что в тех случаях, когда среда 33 не содержит воды и влаги, могут быть использованы более высокие напряжения.
Изобретение не ограничивает тип электрохромной переключаемой среды 33, расположенной между электродами и находящейся в электрическом контакте с ними, при реализации изобретения может быть использована среда любого типа, известного в технике, например электрохромные растворы, электрохромные гели, электрохромные полутвердые и твердые материалы и подобные. Электрохромная переключаемая среда 33 может быть электрохромной средой в растворе, где материал, содержащийся в растворе в ионопроводящем электролите, остается в растворе в электролите при электрохимическом восстановлении или окислении (включая гель). В качестве альтернативы электрохромная среда 33 может быть электрохромной средой, ограниченной поверхностью, где материал, непосредственно прикрепленный к электропроводящему электроду или ограниченный вблизи него, остается прикрепленным или ограниченным при электрохимическом восстановлении или окислении. В качестве альтернативы электрохромная среда 33 может быть электроосажденной электрохромной средой, где материал, содержащийся в растворе в ионопроводящем электролите, образует при электрохимическом восстановлении или окислении слой на электропроводящем электроде.
Не ограничивая изобретение, в одном варианте осуществления изобретения электрохромная среда 33 содержит, по меньшей мере, два соединения, в том числе, по меньшей мере, одно анодное электрохромное соединение и, по меньшей мере, одно катодное электрохромное соединение, при этом анодное соединение представляет собой окисляемый материал, а катодный состав представляет собой восстанавливаемый материал. При приложении электрического потенциала к электрохромной среде 33 анодное электрохромное соединение окисляется, а катодное электрохромное соединение одновременно восстанавливается. Такое одновременное окисление и восстановление при электрохимической активации приводит к изменению коэффициента поглощения излучения видимого спектра, по меньшей мере, на одной длине волны. Сочетание таких анодного и катодного электрохромных соединений в электрохромной среде 33 определяет связанный с ними цвет при приложении электрического потенциала к электродам 38 и 40. Такие катодные электрохромные соединения обычно называются красителями-виологенами, а такие анодные электрохромные соединения обычно называются красителями феназинами.
Также электрохромная среда 33 содержит другие материалы, такие как растворители, светопоглотители, светостабилизаторы, термостабилизаторы, антиоксиданты, загустители, модификаторы вязкости и аналогичные материалы. Далее, электрохромная среда 40 может содержать краситель, определяющий цвет. Такие материалы хорошо известны в технике, и они последовательно изменяют цвет на более темный или затемненный при приложении больших напряжений. В одном, не ограничивающем изобретение варианте осуществления, когда напряжение приложено к электродам, среда 33 окрашивается, уменьшая процент видимого света, пропускаемого через электрохромную среду 33, а когда напряжение снимается, среда 33 обесцвечивается, увеличивая процент видимого света, пропускаемого через среду.
В другом, не ограничивающем изобретение варианте осуществления электрохромная переключаемая среда 33 способна изменять пропускание света при приложении к ней электрического потенциала. Приложение электрического потенциала может быть выборочным, так что электрохромная среда 33 может быть активирована выборочно с целью изменения ее цвета для изменения пропускания света электрохромной средой. Таким образом, среда 33 может быть переключаемой с одного уровня светопропускания, когда не приложен электрический потенциал, на второй уровень светопропускания, когда приложен электрический потенциал. Такое окрашивание среды в состояниях, когда подается электропитание и когда оно не подается, предпочтительно автоматически стирается, так что среда переключается из электрохимически активированного состояния, когда электрохромная среда окрашена при приложении электрического потенциала, в электрохимически не активированное состояние, когда электрохромная среда автоматически возвращается (или стирается) в бесцветное состояние при снятии электрического потенциала. В одном, не ограничивающем изобретение варианте осуществления этот признак наиболее легко осуществляется переключателем 168 (см. фиг.7А) или схемой 170 регулируемого выходного напряжения (см. фиг.7В).
В другом, не ограничивающем изобретение варианте осуществления цвет переключаемой среды 33 может иметь постоянную темноту при приложении электрического потенциала, или степень темноты или затенения может зависеть от величины электрического потенциала, например конкретная окраска или затенение окраски может изменяться при изменении напряжения и удельной мощности. При введении малой удельной мощности в среду 33 среда 33 может начать окрашиваться. Увеличение напряжения может привести к потемнению цвета до более темного оттенка или интенсивности. Таким образом, среда 33 может изменять степень пропускания света при изменении электрического потенциала и, следовательно, может быть отрегулирована до нужного уровня темноты или затенения на основе величины приложенного электрического потенциала. Этого можно достичь, если использовать регулируемый трансформатор для переключателя между шиной и источником электропитания, например, не ограничивая изобретение, для переключателя 168 (см. фиг.7А) или схемы 170 регулируемого выходного напряжения (см. фиг.7В). В одном, не ограничивающем изобретение варианте осуществления электрохромная среда 33 может переключаться так, что пропускание видимого света изменяется от 1% до 80%. По существу, электрохромный компонент остекления, соответствующий изобретению, может эффективно функционировать как непрозрачная штора для окна.
В еще одном, не ограничивающем изобретение варианте осуществления среда электрохромного компонента остекления или элемента переключается и не стирается автоматически, так что приложение электрического потенциала приводит к окрашиванию электрохромной среды 33, и электрохромная среда остается в цветном состоянии до тех пор, пока электрический потенциал не изменится или не уменьшится.
Электрохромные переключаемые среды хорошо известны в технике, например, не ограничивая изобретение, электрохромные среды, которые могут быть использованы с электродами настоящего изобретения, дополнительно рассмотрены в патентах US 5202787, US 5806330, US 6747779, US 6828062 и US 6667825.
В одном, не ограничивающем изобретение варианте осуществления электрохромный переключаемый элемент или компонент остекления, соответствующий изобретению, может быть выполнен следующим образом. Электрод 38 напылен на внутреннюю поверхность 42 листа 35 стекла, а электрод 40 напылен на внутреннюю поверхность 42 листа 36 стекла, при этом используют способ МВР. Каждый из листов 35 и 36 представляет собой лист стекла площадью 4 кв. дюйма (10,16 см), и каждый из электродов содержит нанесенную на внутреннюю поверхность 42 листов 35 и 36 стекла первую диэлектрическую пленку 74 станната цинка, содержащую 52 мас.% цинка и 48 мас.% олова, толщиной 336 ангстрем; на первую пленку 74 станната цинка нанесена первая пленка 72 оксида цинка толщиной 85 ангстрем; на первую пленку 72 оксида цинка нанесена первая серебряная пленка 68 толщиной 220 ангстрем; на серебряную пленку 68 нанесена первая медная защитная пленка 88 толщиной 8 ангстрем. В качестве электропроводного слоя 94А на первую медную защитную пленку 88 нанесена пленка оксида индия и олова толщиной 700 ангстрем, а в качестве слоя 94В с высоким электрическим сопротивлением на первую медную защитную пленку 88 нанесена вторая пленка 74, содержащая 52 мас.% цинка и 48 мас.% олова, толщиной 700 ангстрем. На слой 94А или 94В нанесена вторая пленка 72 оксида цинка толщиной 85 ангстрем; на вторую пленку 72 оксида цинка нанесена вторая серебряная пленка 78 толщиной 220 ангстрем; на вторую серебряную пленку 78 нанесена вторая медная защитная пленка 82 толщиной 10 ангстрем, а на вторую медную защитную пленку 82 нанесена пленка 80 оксида индия и олова толщиной 373 ангстрема. Предполагается, что светопропускание каждого листа стекла с напыленными электродами составляет более 55%, а поверхностное сопротивление поверхности оксида индия и олова, находящейся в контакте со средой 33, составляет 0,3 Ом/м2.
Заранее сформированный полимерный разделительный элемент 29, содержащий клеящий слой на верхней и нижней поверхностях, расположен на внутренней поверхности 30 электродного узла 22. Внутренняя поверхность 32 электродного узла 24 расположена над клеящим слоем другой стороны разделительного элемента, и электродные узлы 22 и 24 прижаты друг к другу, а клеящий слой отвержден для герметизации камеры 34.
Электрохромная среда 33 в растворе, которая используется в технике и пропускание видимого света которой более 70%, наливается через отверстие 46 в разделительном элементе 29 для заполнения камеры 34. После того, как камера 34 заполнена, отверстие герметизируют клеящим веществом. Далее, для компонента остекления со слоем 94В с большим электрическим сопротивлением к электродам 38 и 40 присоединяют шины 142, 144, 146, 148, 150 и 152, как показано на фиг.7, а для компонента остекления с электропроводным слоем 94А к электродам 38 и 40 присоединяют шины 114 и 116, как показано на фиг.5. Шины соединены с источником электропитания, как описано выше.
В одном, не ограничивающем изобретение варианте осуществления, когда к шинам компонента остекления не подают электропитание, и ток не проходит по среде, как описано выше, предполагается, что пропускание видимого света видимой областью электрохромного компонента остекления составляет от 60 до 75%. По существу, электрохромный компонент остекления находится в светлом состоянии. Когда на шины компонента остекления подают электропитание, и ток проходит по среде, компонент остекления затемняется, и предполагается, что пропускание видимого света видимой областью компонента остекления составляет примерно 0-1%. Отсоединение электропитания от электродов приводит к автоматическому «стиранию» электрохромной среды 33, таким образом, компонент остекления возвращается в первоначальное светлое состояние.
Когда электропитание приложено к шинам 142 и 144 компонента остекления со слоем 94В, лист 35 нагревается, а когда электропитание приложено к шинам 146 и 148, нагревается лист 36 (см. фиг.7 и 7А), как описано выше.
На фиг.8 показан не ограничивающий изобретение вариант осуществления компонента остекления 180 воздушного судна, содержащего электрохромный переключаемый компонент остекления, соответствующий изобретению, например компонент 20, 100 или 140 остекления. Внешнее направление движения воздушного судна относительно компонента 180 остекления воздушного судна показано стрелкой 182, а внутреннее направление движения воздушного судна относительно компонента 180 остекления воздушного судна показано стрелкой 184. Внешний оконный узел 181 компонента 180 остекления воздушного судна, который содержит электрохромный переключаемый компонент остекления, соответствующий изобретению, удерживается на расстоянии от необязательно присутствующего поглощающего звук/ гасящего вибрацию оконного узла 186, параллельно ему и в состоянии, когда компонент 180 остекления направлен к указанному узлу, разделительным узлом 188 в виде рамки. Разделительный узел 188 в виде рамки содержит алюминиевую рамку 192, которая окружает резиновый слой 194, удерживающий наружный оконный узел 181 на расстоянии от поглощающего звук/гасящего вибрацию оконного узла 186. Когда воздушное пространство 190 загерметизировано, оно может быть полностью или частично наполнено изоляционным газом, таким как воздух, аргон, криптон или их смесь. Защитный внутренний слой (не показан на фиг.8) обычно расположен на внутренней стороне разделительного узла 188 в виде рамки и предназначен для предотвращения физического контакта с оконным узлом 186. Подробное рассмотрение разделительного узла 188 в виде рамки и поглощающего звук/гасящего вибрацию оконного узла 186 содержится в патенте US 5965853, который включен в настоящий документ посредством ссылки. Наружный оконный узел 181 содержит электрохромный переключаемый компонент остекления, соответствующий изобретению, и дополнительные листы из пластика и стекла, предназначенные для того, чтобы наружный оконный узел отвечал всем требованиям безопасности остекления воздушных судов. Например, не ограничивая изобретение, наружный оконный узел 181 содержит электрохромный переключаемый компонент остекления, соответствующий изобретению, и при желании может содержать два или несколько листов стекла или пластика, которые дополнительно могут содержать один или несколько промежуточных слоев, расположенных между указанными листами, или ламинат может содержать комбинацию одного листа и одного или нескольких промежуточных слоев, расположенных на указанном ламинате для формирования наружного оконного узла 181. Листы стекла могут быть химически или термически закалены. Подходящие пластиковые листы включают в себя отформованные акриловые смолы, растянутые акриловые смолы и поликарбонаты. Подходящие материалы для промежуточных слоев включают в себя поливинилбутираль, уретаны, кремнийорганические материалы и их комбинации. В качестве альтернативы, электрохромный элемент может быть независимым от наружного оконного узла 181. Более конкретно, узел 181 может содержать один или несколько пластиковых и/или стеклянных слоев, и электрохромный компонент остекления, тип которого описан выше, может быть расположен в воздушном пространстве 190 на расстоянии от узла 181. Специалистам в рассматриваемой области ясно, что электрохромный переключаемый компонент остекления, соответствующий настоящему изобретению, также может входить в состав поглощающего звук/гасящего вибрацию оконного узла 186, или он может не зависеть от наружного оконного узла 181 и поглощающего звук/гасящего вибрацию оконного узла 186 остекления 180 воздушного судна.
Следует понимать, что изобретение не ограничено изделием, в котором могут быть использованы электроды, соответствующие изобретению. В частности, на фиг.9 показан другой, не ограничивающий изобретение вариант осуществления, в котором электроды, соответствующие изобретению, использованы для зеркала 210, например, не ограничивая изобретение, внутреннего зеркала ближнего вида, или внешнего зеркала заднего вида автомобиля, или зеркала ванной. Зеркало 210 содержит лист 35 и электродный узел 24, при этом на внутренней поверхности 42 листа 35 расположено отражающее покрытие 212, а электрод 220 расположен над отражающим слоем 212. В одном, не ограничивающем изобретение варианте осуществления электрод 220 содержит активирующий слой 62, расположенный на диэлектрическом слое 66 основного слоя 60, и шину 150, соединенную с активирующим слоем 62.
Следует понимать, что, так как на внутренней поверхности 42 листа расположено отражающее покрытие 212, то лист 35 может быть прозрачным или непрозрачным и может быть выполнен из любого материала, например, не ограничивая изобретение, дерева, стекла, металла, пластика или их комбинации. При желании отражающее покрытие 212 может быть расположено на внешней поверхности 44 листа 35. В этом случае лист будет прозрачным, например, его пропускание видимого света будет более 60%. Нанесение отражающих покрытий на подложки с целью обеспечения отражающей или зеркальной поверхности хорошо известно в технике и дополнительное рассмотрение отражающего покрытия 212 вряд ли необходимо.
Следует понимать, что изобретение предусматривает вариант, когда вместо электрода 220 используется электрод 38. В этом случае электрод 38 содержит связующий слой 90А с электропроводным слоем 94А (показан на фиг.4) и шиной 114 (изначально показана на фиг.5В), которая электрически соединена с активирующим слоем 62 и первым металлическим слоем 68 основного слоя 60 (см. также фиг.4).
Электродный узел 24 содержит лист 36 стекла с электродом 40 на внутренней поверхности 42 прозрачного листа 36. Электрод 40, входящий в состав электродного узла 24, содержит связующий слой 90В со слоем 94В с высоким электрическим сопротивлением (показан на фиг.4) и содержит шину 152, соединенную с активирующим слоем 62 электрода 40, и шины 146 и 148, соединенные с первым металлическим слоем 68, как показано на фиг.7 и рассмотрено выше. Шины 146 и 148 соединены с источником 160 электропитания, а шины 150 и 152 соединены с источником 164 электропитания, как показано на фиг.7А.
Как показано на фиг.7А и 9, в одном, не ограничивающем изобретение варианте осуществления, с целью уменьшения ослепления от света, идущего сзади транспортного средства, переключатель 168 замкнут, и ток, проходящий в шины 152 и 150, изменяется с помощью схемы с регулируемым выходным напряжением, например, схемы 170 с регулируемым выходным напряжением, показанной на фиг.7В, что делается для уменьшения пропускания видимого света средой 33. Влага, например снег, туман, конденсат или лед, накопившаяся на внешней поверхности 44 листа 36 зеркала 210, удаляется благодаря замыканию переключателя 163 с целью протекания электрического тока через металлический слой 68 для нагревания среды 33 и листа 36, как рассмотрено выше.
Электрод 220 был изготовлен с использованием лабораторного устройства ILS для нанесения покрытия методом МВР. Электрод был нанесен на лист стекла и содержит диэлектрическую пленку 74 станната цинка, которая содержит 52 мас.% цинка и 48 мас.% олова, толщиной 336 ангстрем, указанная пленка нанесена на внутреннюю поверхность 42 листа стекла; на пленку 74 станната цинка нанесена пленка 72 оксида цинка толщиной 85 ангстрем; на пленку 72 оксида цинка нанесена серебряная пленка 78 толщиной 220 ангстрем; на серебряную пленку 78 нанесена медная защитная пленка 82 толщиной 8 ангстрем; на защитную пленку 82 нанесена пленка 80 оксида индия и олова толщиной 373 ангстрем. Слой оксида индия и олова был изготовлен с помощью распыления керамической мишени из оксида индия и олова в атмосфере из 5% кислорода и 95% аргона. Удельное поверхностное сопротивление слоя оксида индия и олова электрода 220 составляет от 0,26 до 0,37 Ом/м2. Электродный узел, изготовленный описанным выше способом, не содержит отражающий слой 212, и светопропускание электрода на листе чистого стекла составляет более 55%.
Электродный узел не включал отражающую пленку 212, однако были изготовлены электродные узлы, содержащие электрод 220 на стекле. Изготовленные электродные узлы использовались для получения работоспособных электрохромных переключаемых компонентов остекления.
Не ограничивающие изобретение варианты осуществления электрода 220 включают в себя: первый слой 66, расположенный на отражающем слое 212 или внутренней поверхности 42 листа 35, металлический слой 78, расположенный на первом слое, защитный слой 62, расположенный на металлическом слое 78, и проводящий слой 80 оксида металла, расположенный на защитном слое. Следует понимать, что расположенный на отражающем слое 212 электрод 220 зеркала 210 может быть заменен электродом 38. В этом случае используется шина 114 (см. фиг.5В), а шина 110 (см. фиг.5) опущена.
Далее, следует понимать, что изобретение не ограничивает число металлических слоев, например металлических слоев 68 и 78, расположенных в электроде, и электроды, соответствующие изобретению, могут содержать активирующий слой 62 (см. фиг.4) с двумя или более металлическими слоями 78, которые используются с электропроводным слоем 80 оксида металла для увеличения скорости протекания электрического тока через среду 33, и/или содержать основной слой 60 с двумя или более металлическими слоями 68 для увеличения электрического тока через основной слой 60 с целью увеличения температуры нагрева основного слоя 60.
На основе описания вариантов осуществления изобретения следует понимать, что это изобретение не ограничено конкретными описанными вариантами осуществления изобретения, но подразумевает модификации, не выходящие за пределы объема и сущности изобретения, которые определены приложенной формулой изобретения.
Формула изобретения
1. Электрод для электрохромного переключаемого элемента, содержащий: первый электродный узел, содержащий электрод, определяемый как первый электрод; второй электродный узел, содержащий электрод, определяемый как второй электрод, при этом первый и второй электроды обращены друг к другу; среду, расположенную между первым и вторым электродами, причем среда в ответ на электрическое воздействие изменяет процент видимого света, пропускаемого через среду; первый электродный узел содержит первую основную поверхность, обращенную к среде, при этом первый электрод находится между первой основной поверхностью и средой, первый электрод содержит: первый электропроводный слой между средой и первой основной поверхностью; второй электропроводный слой, отстоящий от первого электропроводного слоя и расположенный между первым электропроводным слоем и средой; первый и второй элементы электрического контакта, расположенные на расстоянии друг от друга и контактирующие с первым электропроводным слоем, причем первый и второй элементы электрического контакта и первый электропроводный слой образуют первый электропроводный путь, и третий элемент электрического контакта, контактирующий со вторым электропроводным слоем; и четвертый элемент электрического контакта, контактирующий со вторым электродом, при этом третий и четвертый элементы электрического контакта, второй электропроводный слой, среда и второй электрод образуют второй электропроводящий путь.
2. Электрод по п.1, в котором среда является электрохромной переключаемой средой и, по меньшей мере, один электродный узел прозрачен для электромагнитного излучения в диапазоне длин волн от 400 до 700 нм.
3. Электрод по п.1, в котором электрический ток, протекающий по первому электропроводному слою, нагревает первую основную поверхность первого электродного узла.
4. Электрод по п.1, в котором и первый и третий элементы электрического контакта соединены с положительной или отрицательной клеммой источника питания постоянного тока, а второй и четвертый элементы электрического контакта соединены с отрицательной или положительной клеммой источника питания соответственно.
5. Электрод по п.1, в котором первый и второй элементы электрического контакта соединены с первым источником питания постоянного тока, а третий и четвертый элементы электрического контакта соединены со вторым источником питания постоянного тока.
6. Электрод по п.1, в котором второй электродный узел содержит основную поверхность, определяемую как вторая основная поверхность, обращенную к среде, со вторым электродом, расположенным между второй основной поверхностью и средой, при этом второй электрод содержит; электропроводный слой, определяемый как третий электропроводный слой, расположенный между средой и второй основной поверхностью; электропроводный слой, определяемый как четвертый электропроводный слой, отстоящий от третьего электропроводного слоя и расположенный между третьим электропроводным слоем и средой; четвертый элемент электрического контакта, контактирующий с четвертым электропроводным слоем, и пятый и шестой элементы электрического контакта, расположенные на расстоянии друг от друга и контактирующие с третьим электропроводным слоем, при этом пятый и шестой элементы электрического контакта и третий электропроводный слой образуют третий электропроводный путь.
7. Электрод по п.6, в котором среда является электрохромной переключаемой средой, первый и второй элементы электрического контакта содержат первую и вторую шины, соединенные с первым электропроводным слоем, третий элемент электрического контакта содержит третью шину, соединенную со вторым электропроводным слоем, четвертый элемент электрического контакта содержит четвертую шину, соединенную с четвертым электропроводным слоем и пятый и шестой элементы электрического контакта содержат пятую и шестую шины, соединенные с третьим электропроводным слоем.
8. Электрод по п.1, в котором среда является электрохромной переключаемой средой и первый электродный узел пропускает электромагнитное излучение с длинами волн в диапазоне от 400 до 700 нм.
9. Электрод по п.8, дополнительно содержащий связующий слой с большим электрическим сопротивлением, расположенный между первым и вторым электропроводными слоями и связывающий их, при этом связующий слой имеет заданное сопротивление электрическому току, протекающему по первому электропроводному слою, так что менее 50% тока, протекающего по первому электропроводному слою, проходит через связующий слой ко второму электропроводному слою.
10. Электрод по п.9, в котором связующий слой с большим электрическим сопротивлением представляет собой электроизоляционный слой.
11. Электрод по п.9, в котором первый элемент электрического контакта и третий элемент электрического контакта представляют собой шины, которые одновременно обеспечивают электрическое соединение для первого и второго электропроводных слоев.
12. Электрод по п.9, в котором первый элемент электрического контакта представляет собой первую шину, второй элемент электрического контакта представляет собой вторую шину, а третий элемент электрического контакта представляет собой третью шину.
13. Электрод по п.8, дополнительно содержащий связующий электропроводный слой, расположенный между первым и вторым электропроводными слоями и связывающий их, при этом связующий слой имеет заданное сопротивление электрическому току, протекающему по первому электропроводному слою, так что, по меньшей мере, 50% тока, протекающего по первому электропроводному слою, проходит через связующий слой ко второму электропроводному слою.
14. Электрод по п.13, в котором первый элемент электрического контакта и третий элемент электрического контакта представляют собой шину, которая одновременно обеспечивает электрическое соединение для первого и второго электропроводных слоев.
15. Электрод по п.13, в котором первый элемент электрического контакта содержит первую шину, второй элемент электрического контакта содержит вторую шину, а третий элемент электрического контакта содержит третью шину.
16. Электрод по п.1, в котором среда является электрохромной переключаемой средой; первый электродный узел пропускает электромагнитное излучение с длинами волн в диапазоне от 400 до 700 нм; первая основная поверхность является первой основной поверхностью прозрачной подложки; первый электропроводный слой содержит первый металлический слой; а второй электропроводный слой содержит первую электропроводную металлическую пленку и вторую электропроводную пленку, находящуюся в электрическом контакте со средой, и дополнительно содержащее: контактирующий с подложкой слой, расположенный между первым металлическим слоем и первой основной поверхностью подложки; и связующий слой, выбранный из электропроводного связующего слоя и связующего слоя с большим электрическим сопротивлением, расположенный между первым металлическим слоем первого электропроводного слоя и первой металлической пленкой второго электропроводного слоя.
17. Электрод по п.16, в котором подложка представляет собой лист стекла, дополнительно содержащая противоположную вторую основную поверхность, и дополнительно содержащая, по меньшей мере, на одной из основных поверхностей листа стекла покрытие, выбранное из группы, состоящей из водоотталкивающего покрытия, гидрофильного покрытия, солнцезащитного покрытия и их комбинаций.
18. Электрод по п.16, содержащий замкнутую рамку, расположенную между электродными узлами и соединенную с ними, для обеспечения герметичной камеры между электродными узлами, а среда содержит электрохромную переключаемую среду.
19. Электрод по п.16, характеризующийся тем, что выбран из: (A) компонентов остекления транспортного средства, тип которого выбран из группы, состоящей из: (а) наземных транспортных средств, таких как автомобили, грузовики, легковые автомобили, мотоциклы, поезда и их комбинации; (б) воздушных транспортных средств; (в) космических транспортных средств; (г) надводных транспортных средств; (д) подводных транспортных средств и (е) их комбинаций; (Б) окон для конструкций, выбранных из группы, состоящей из (а) жилых домов; (б) промышленных зданий, (в) дверок печей; (г) дверок микроволновых печей, (д) дверей холодильников и (е) их комбинаций; (B) зеркал; (Г) зеркал заднего вида транспортных средств; (Д) боковых зеркал транспортных средств; (Е) их комбинаций.
20. Электрод по п.16, в котором контактирующий с подложкой слой содержит опорный слой и контактирующий с металлом слой.
21. Электрод по п.20, в котором опорный слой контактирующего с подложкой слоя содержит пленку станната цинка; контактирующий с металлом слой контактирующего с подложкой слоя содержит пленку оксида цинка, а первый металлический слой первого электропроводного слоя содержит серебряную пленку, определяемую как первая серебряная пленка.
22. Электрод по п.21, в котором пленка станната цинка расположена на первой основной поверхности подложки, пленка оксида цинка расположена на пленке станната цинка, а первая серебряная пленка расположена на слое оксида цинка.
23. Электрод по п.22, в котором связующий слой является связующим слоем с большим электрическим сопротивлением, предназначенным для изоляции первой серебряной пленки первого электропроводного слоя от первой металлической пленки второго электропроводного слоя.
24. Электрод по п.23, в котором связующий слой с большим электрическим сопротивлением содержит диэлектрический опорный слой и контактирующий с металлом слой.
25. Электрод по п.24, в котором диэлектрический опорный слой связующего слоя с большим электрическим сопротивлением содержит диэлектрическую пленку станната цинка; контактирующий с металлом слой связующего слоя с большим электрическим сопротивлением содержит слой оксида цинка, а металлическая пленка второго электропроводного слоя является серебряной пленкой, определяемой как вторая серебряная пленка.
26. Электрод по п.25, в котором диэлектрическая пленка станната цинка связующего слоя с большим электрическим сопротивлением расположена поверх первой серебряной пленки, пленка оксида цинка связующего слоя с большим электрическим сопротивлением расположена на диэлектрической пленке станната цинка связующего слоя с большим электрическим сопротивлением, а вторая серебряная пленка расположена на пленке оксида цинка связующего слоя с большим электрическим сопротивлением.
27. Электрод п.22, в котором связующий слой представляет собой электропроводный связующий слой, предназначенный для электрического соединения первой серебряной пленки первого электропроводного слоя с первой металлической пленкой второго электропроводного слоя.
28. Электрод по п.27, в котором электропроводный связующий слой представляет собой токопроводящий слой, предназначенный для пропускания, по меньшей мере, 50% тока, приложенного к первой серебряной пленке первого электропроводного слоя, в первую металлическую пленку второго электропроводного слоя.
29. Электрод по п.28, в котором электропроводный связующий слой содержит опорный слой и контактирующий с металлом слой.
30. Электрод по п.29, в котором опорный слой электропроводного связующего слоя представляет собой пленку станната цинка; контактирующий с металлом слой электропроводного связующего слоя представляет собой слой оксида цинка, а первая металлическая пленка второго электропроводного слоя представляет собой серебряную пленку, определяемую как вторая серебряная пленка.
31. Электрод по п.30, в котором вторая пленка второго электропроводного слоя является проводящей пленкой оксида металла, а пленка станната цинка электропроводного связующего слоя расположена поверх первой серебряной пленки, пленка оксида цинка электропроводного связующего слоя расположена на пленке станната цинка электропроводного связующего слоя, вторая серебряная пленка расположена на пленке оксида цинка электропроводного связующего слоя, а вторая пленка второго электропроводного слоя расположена поверх второй серебряной пленки.
32. Электрод по п.27, в котором электропроводный связующий слой содержит защитную пленку, распложенную поверх первого металлического слоя первого электропроводного слоя, и электропроводную керамическую пленку, расположенную поверх защитной пленки.
33. Электрод по п.32, в котором защитный слой является обедненной по кислороду напыленной керамической пленкой, расположенной на первом металлическом слое, а электропроводящая керамическая пленка является напыленной керамической пленкой, содержание кислорода в которой больше, чем в обедненной по кислороду напыленной керамической пленке, и которая расположена на обедненной по кислороду напыленной керамической пленке.
34. Электрод по п.16, дополнительно содержащий защитный слой на первом металлическом слое первого электропроводного слоя и на первой металлической пленке второго электропроводного слоя.
35. Электрод по п.34, в котором защитный слой, расположенный на первом металлическом слое первого электропроводного слоя и/или на первой металлической пленке второго электропроводного слоя является обедненной по кислороду напыленной керамической пленкой.
36. Электрод по п.34, в котором защитный слой, расположенный на первом металлическом слое первого электропроводного слоя и/или на первой металлической пленке второго электропроводного слоя выбран из циркония, титана, меди, оксидов металлов, нитридов металлов, нестехиометрической керамики, нитрида титана и их комбинаций.
37. Электрод для электрохромного переключаемого элемента, содержащий первый электродный узел, расположенный на расстоянии от второго электродного узла, и среду между первым и вторым электродными узлами, причем среда в ответ на электрическое воздействие изменяет процент видимого света, пропускаемого через среду, при этом по меньшей мере, один электродный узел содержит: поверхность; первый слой станната цинка указанной поверхности; первый слой оксида цинка, расположенный поверх первого слоя станната цинка, и первый металлический слой, расположенный на первом слое оксида цинка.
38. Электрод по п.37, причем указанное изделие является электрохромным переключаемым компонентом и дополнительно содержит электропроводный слой, расположенный поверх первого металлического слоя и в контакте со средой.
39. Электрод по п.38, дополнительно содержащий защитный слой, расположенный между первым металлическим слоем и указанным электропроводным слоем.
40. Электрод по п.39, в котором защитный слой является обедненной по кислороду напыленной керамической пленкой, а электропроводный слой является напыленной керамической пленкой, содержание кислорода в которой больше, чем в обедненной по кислороду напыленной керамической пленке.
41. Электрод по п.37, характеризующийся тем, что является электрохромным переключаемым компонентом и дополнительно содержит: второй слой станната цинка, расположенный поверх первого металлического слоя; второй слой оксида цинка, расположенный поверх второго слоя станната цинка, второй металлический слой, расположенный на втором слое оксида цинка; и электропроводный слой, расположенный поверх второй металлической пленки.
42. Электрод по п.41, характеризующийся тем, что дополнительно содержит защитные слои, расположенные на первом и втором металлических слоях.
43. Электрод по п.42, в котором защитный слой выбран из циркония, титана, меди, оксидов металлов, нитридов металлов, нестехиометрической керамики, нитрида титана и их комбинаций.
44. Способ функционирования электрода для электрохромного переключаемого элемента по п.1, содержащего первый прозрачный электродный узел на основной поверхности, причем первый электродный узел расположен на расстоянии от второго электродного узла, а между первым и вторым электродными узлами расположена электрохромная переключаемая среда, указанный способ включает в себя этапы, на которых: обеспечивают первый электродный узел со вторым электропроводным слоем, расположенным на расстоянии от первой основной поверхности и находящимся в электрическом контакте с электрохромной переключаемой средой, и с первым электропроводным слоем, расположенным между вторым электропроводным слоем и первой основной поверхностью, на расстоянии от второго электропроводного слоя, и электрохромную переключаемую среду, и в выбранные моменты времени пропускают ток через первый и/или второй электропроводные слои.
45. Способ по п.44, в котором первый электропроводный слой является первым металлическим слоем, а второй электропроводный слой является вторым металлическим слоем, причем этап обеспечения, по меньшей мере, одним электродным узлом включает в себя стадии, на которых: первый диэлектрический слой наносят поверх первой основной поверхности; первый металлический слой наносят поверх первого диэлектрического слоя; соединительный слой наносят поверх первого металлического слоя; второй металлический слой наносят поверх соединительного слоя; и электропроводный слой оксида металла наносят поверх второго металлического слоя; причем в выбранные моменты времени пропускают ток через первый металлический слой для нагрева основной поверхности, и пропускают ток через второй металлический слой для прохождения тока через электрохромную среду ко второму электродному узлу, для изменения коэффициента пропускания видимого света среды.
РИСУНКИ
|
|