|
|
(21), (22) Заявка: 2007118543/28, 01.12.2005
(24) Дата начала отсчета срока действия патента:
01.12.2005
(30) Конвенционный приоритет:
02.12.2004 DK PA200401883
(43) Дата публикации заявки: 10.01.2009
(46) Опубликовано: 10.08.2010
(56) Список документов, цитированных в отчете о поиске:
US 5371020 А, 06.12.1994. US 5602647 А, 11.02.1997. US 5750998 А, 12.05.1998. SU 894493 А, 30.01.1981. US 5453619 А, 26.09.1995. US 5258620 А, 02.11.1993.
(85) Дата перевода заявки PCT на национальную фазу:
02.07.2007
(86) Заявка PCT:
EP 2005/012820 20051201
(87) Публикация PCT:
WO 2006/058741 20060608
Адрес для переписки:
125009, Москва, а/я 332, ЗАО “Инэврика”, С.О.Шолоховой
|
(72) Автор(ы):
ЮЛ Хенрик Вилструп (DK)
(73) Патентообладатель(и):
ФОСС АНАЛИТИКАЛ А/С (DK)
|
(54) СПЕКТРОФОТОМЕТР
(57) Реферат:
Изобретение относится к количественному и/или качественному анализу веществ, в частности растворов. Спектрофотометр включает источник (6) излучения нескольких длин волн в направлении образца, расположенного в держателе (4), и устройство (8) для обнаружения излучения после взаимодействия с образцом. Указанный держатель (4) образца обеспечивает получение нескольких различных длин путей для излучаемого через образец потока. Вычислительное устройство (10) принимает зависящий от интенсивности выходной сигнал от устройства (8) обнаружения и используется для сохранения значения интенсивности определенного потока излучения, указывающего на длину волны для двух или более длин пути нескольких различных длин пути, и для вычисления значения, зависимого от соотношения индексированных значений интенсивности для каждого из двух длин пути, по которому может быть получено указание на наличие искомого вещества в составе исследуемого вещества. Изобретение позволяет повысить точность измерений. 2 с. и 5 з.п. ф-лы, 2 ил.
Настоящее изобретение имеет отношение к спектрофотометру.
Хорошо известно использование спектрофотометра для количественного и/или качественного анализа исследуемых веществ при исследовании образца материала, в частности раствора. Такой спектрофотометр обнаруживает электромагнитную энергию, обычно световую энергию, на одной длине волны или более, после взаимодействия с исследуемым образцом, помещенным в держатель образца, такой как ячейка или кювета. Данный спектрофотометр может быть настроен для работы в одном или нескольких хорошо известных режимах: пропускания, отражения или пропускания и отражения, и может, например, содержать монохроматор с диспергирующим элементом или может, например, быть сконфигурирован в виде интерферометра, такого как интерферометр Фурье-спектрометра.
Также известен, например, из патента US 5,602,647, содержание которого включено в настоящий документ посредством ссылки, оптический спектрофотометр, в котором держатель образца имеет переменную внутреннюю длину оптического пути. В данном спектрофотометре длина пути изменяется с целью оптимизации интенсивности определяемой отдельной длины волны. Спектрофотометр настроен на выполнение количественного и/или качественного определения на основании интенсивности пропускаемого оптического излучения, а также величин длины оптического пути в позициях пиковой интенсивности.
В известном спектрофотометре является проблемой произвольное отклонение интенсивности во времени. Это может быть обусловлено, например, изменчивыми условиями работы, такими как изменения температуры образца или прибора; изменениями относительной влажности окружающей среды или изменениями чувствительности детектора. Решением данной проблемы является, как известно, обеспечение так называемой «установки на нуль» спектрофотометра через равные рабочие интервалы. При установке на нуль исследуемый образец заменяют калибровочным образцом, например образцом воды. Интенсивность светового излучения, достигающего детектора после взаимодействия с калибровочным образцом (Iw ), контролируется на участке искомого спектра. Затем данная интенсивность используется для обеспечения зависимого от длины волны нулевого уровня на данном участке спектра. Затем интенсивность светового излучения, полученного после взаимодействия с исследуемым образцом (Is ), делится на интенсивность светового излучения калибровочного образца (Iw ) при той же длине волны ( ). Таким же образом может быть получен коэффициент пропускания, зависимый от интенсивности потока излучения (Т ), в котором будут исключены все влияния системы, эти влияния считаются в целом одинаковыми как для калибровочного, так и для исследуемого образца. Данная операция может быть представлена следующим уравнением, которое решается вычислительным устройством, связанным со спектрофотометром:
T =Is /Iw
Необходимо принимать во внимание то, что величина T может рассматриваться в качестве меры расхождения между интенсивностью света, излучаемого исследуемым образцом, и интенсивностью света, излучаемого калибровочным образцом.
Это представляет проблему, заключающуюся в том, что в случае, если искомое вещество в составе исследуемого образца имеет диапазон поглощения в областях, где калибровочный образец является сильно поглощающим, точность любого определения данного вещества будет подвергаться отрицательному влиянию.
Другой проблемой является то, что при необходимости проведения более точного определения длина пути для излучения должна быть одинаковой, в пределах нескольких десятков микрометров, как для калибровочного, так и исследуемого образца. Этого трудно достичь, особенно там, где кювета или ячейка, в которой находятся образцы, сконструирована так, что ее можно открывать для очистки в промежутках между исследованиями образцов или там, где используются разные держатели для калибровочного и исследуемого образцов.
В дополнение к этому, установка на нуль действительна только в течение периода, когда отклонение интенсивности пренебрежимо мало. Таким образом, либо калибровка с установкой на нуль должна производиться часто, что требует значительных затрат времени, либо должны быть предусмотрены элементы стабилизации условий окружающей среды с целью контроля внутри спектрофотометра одного или обоих параметров – температуры и влажности, что требует больших затрат.
Целью настоящего изобретения является уменьшение влияния, как минимум, нескольких из упомянутых выше проблем и недостатков.
Соответственно, в первом аспекте настоящего изобретения предоставляется спектрофотометр, описанный и охарактеризованный в представленном пункте 1 формулы изобретения. Нестабильности, имеющие отношение к интенсивности, устраняются посредством разделения интенсивностей обнаруженного светового излучения с одинаковой длиной волны после прохождения ими двух различных путей через один и тот же образец. Таким образом можно просто и эффективно избежать операцию установки на нуль с использованием калибровочного образца.
Преимущественно, поскольку исследуемый образец и калибровочный образец не должны заменяться с целью устранения таких нестабильностей, вычислительное устройство может быть настроено на выполнение таких расчетов соотношения с большей периодичностью, предпочтительно для каждого исследуемого образца, чем было бы приемлемо для пользователя. Таким образом, время между эффективными установками на нуль будет намного меньшим, чем временные постоянные, обычно связанные с возможными изменениями условий окружающей среды, а дорогостоящие элементы стабилизации могут быть удалены из спектрометрического прибора.
Более того, каждый раз после введения нового образца в держатель образца любые незапланированные изменения длины оптического пути через образец, которые могут возникнуть при открывании и закрывании кюветы при замене образца или быть обусловлены грязью или прочими остатками, прилипшими к внутренней поверхности держателя, могут быть урегулированы путем настройки вычислительного устройства для выполнения указанных расчетов соотношений.
В соответствии со вторым аспектом настоящего изобретения предоставляется способ определения посредством спектрофотометра в соответствии с первым аспектом настоящего изобретения количественного и/или качественного показателей искомого вещества в составе исследуемого образца. Преимущества, связанные с указанным спектрофотометром, таким образом, присущи данному способу.
Примеры осуществления настоящего изобретения будут описаны со ссылкой на сопроводительные чертежи, на которых:
на фиг.1 схематически показан первый пример осуществления спектрофотометра в соответствии с настоящим изобретением; и
на фиг.2 схематически показан второй пример осуществления спектрофотометра в соответствии с настоящим изобретением.
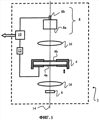
Рассмотрим первый предпочтительный пример осуществления спектрофотометра 2, показанного на фиг.1. Спектрофотометр 2 включает держатель 4 образца, источник 6 полихроматического светового излучения, устройство 8 обнаружения, вычислительное устройство 10 и привод 12. В настоящем примере источник 6, ячейка 4 и устройство 8 обнаружения расположены так, что при их использовании световое излучение от источника 6 проходит вдоль оптической оси 14 для пропускания через противолежащие поверхности 4а, 4b ячейки 4 перед его обнаружением устройством 8 обнаружения. Для формирования пучка света требуемой формы, испускаемого источником 6, пропускаемого через держатель 4 образца и поступающего на устройство 8 обнаружения, может быть предоставлена и использоваться известным способом фокусирующая оптика 16, показанная здесь в виде пары линз.
Держатель 4 образца в данном примере осуществления сконфигурирован в направлении вдоль оптической оси 14 с противолежащими поверхностями 4а, 4b, целиком или частично состоящими из светопропускающего материала и способными перемещаться одна относительно другой. Привод 12 в рабочем состоянии соединен с одной или двумя противоположными поверхностями 4а, 4b с целью приложения к ним усилия для изменения расстояния между ними (показано на фигуре двойной стрелкой), следовательно, и длины оптического пути через ячейку 4 образца.
Источник 6 полихроматического светового излучения сконфигурирован в данном примере для генерирования и излучения одновременно для всех представляющих интерес отдельных длин волн. В дополнение к этому, устройство 8 обнаружения в данном случае включает спектрометр 8а и связанный с ним фотодетектор 8b. Эти элементы 8а, 8b взаимно сконфигурированы известным способом так, что они могут генерировать зависимый от длины волны спектр пропускания для материала образца, помещенного в ячейку 4 образца.
Вычислительное устройство 10 в рабочем состоянии соединено с выходом фотодетектора 8b и в данном примере также с приводом 12. Вычислительное устройство 10 сконфигурировано для приема и предпочтительно для хранения таким образом сгенерированного спектра пропускания на нескольких, предпочтительно, по меньшей мере, на двух, различных расстояниях двух поверхностей 4а, 4b. Устройство 10 может быть сконфигурировано для хранения как спектров, так и соответствующего расстояния согласно показаниям выходного сигнала привода 12, это устройство может содержать несколько отдельных, но взаимосвязанных блоков, а не один функциональный блок 10, как это показано в настоящем примере осуществления.
В настоящем примере осуществления вычислительное устройство 10 во время работы регистрирует спектральные данные, поступающие из устройства 8 обнаружения, соответствующие первому расстоянию между стенками 4а, 4b ячейки. Привод 12 затем приводится в действие для изменения расстояния между стенками 4а, 4b ячейки, а вычислительное устройство 10 регистрирует спектральные данные, поступающие из устройства 8 обнаружения, соответствующие второму отличающемуся расстоянию между стенками 4а, 4b ячейки. Таким образом, значения интенсивности светового излучения от источника 6 полихроматического света, который пропускается через материал образца, индексированные по их длинам волн, поступают в вычислительное устройство 10, по меньшей мере, для двух различных световых потоков, проходящих через материал образца. Вычислительное устройство 10 сконфигурировано для выполнения количественного или качественного определения наличия искомого вещества в составе материала образца на основе расчетов соотношения полученных таким образом значений интенсивности потока излучения при одинаковых длинах волн для каждой из двух различных длин пути. Далее устройство 10 сконфигурировано к тому же для вывода указаний выполненного таким образом определения. Это может быть, например, в форме количественной меры искомого вещества или может быть, например, качественным указанием наличия искомого вещества в составе образца.
Более конкретно, вычислительное устройство 10 сконфигурировано для использования методики, выраженной последующими уравнениями, при выполнении определений.
Интенсивность излучения при длине волны (I1 ), принимаемая детектором 8b, после прохождения длины пути b1 через образец, имеющий коэффициент поглощения а (включает коэффициенты поглощения образца и держателя) и содержащий искомое вещество в концентрации С, может быть выражено в соответствии с известным уравнением:

где I0 – интенсивность светового излучения при длине волны , падающего на наружную поверхность 4а держателя 4.
Аналогично, для более короткой длины пути b2 принятая детектором 8b интенсивность при той же длине волны может быть выражена следующим образом:

Имея в виду уравнение (1), установка на нуль образца (теперь эффективно относительно воздуха) может быть выражена следующим образом:

Или зависимый от длины волны коэффициент поглощения А может быть выражен следующим образом:

Таким образом, в наиболее простой конфигурации вычислительное устройство 10 может быть сконфигурировано для определения концентрации С по уравнению (5) и из знания двух длин пути b1 и b2 (как минимум, их разности); соответствующих обнаруженных интенсивностей I1 и I2 , а также значения искомого коэффициента поглощения а при длине волны (волн) .
Однако чаще всего при решении данной проблемы может быть применена общеизвестным способом хемометрия, в соответствии с чем используется многомерный статистический анализ для создания алгоритма калибровки, устанавливающего соотношение поглощающей способности А и концентрации С искомого вещества. Хорошо известно, что это вызывает использование набора “подготовительных” или калибровочных образцов, которые предпочтительно выбраны так, чтобы перекрыть весь диапазон концентраций и веществ, которые вероятнее всего вызывают интерес. Новым для настоящего изобретения является то, что определены спектры для каждого калибровочного образца в последовательности, где вероятные разности оптического пути (b1-b2) тоже охватываются. Данные спектры используются для создания уравнения или алгоритма калибровки, определяющего связи зависимых от длины оптического пути спектроскопических данных посредством длин волн, а также количественное наличие искомого вещества (искомых веществ). Необходимо принять во внимание, что, таким образом, нет необходимости в знании реального оптического пути или разности путей для любого исследуемого образца, чтобы вычислительное устройство 10 могло произвести предварительную оценку определенного искомого вещества или нескольких искомых веществ.
На фиг.2 представлен второй пример осуществления спектрофотометра 18 в соответствии с настоящим изобретением. Здесь источник 20 полихроматического света настроен известным способом на периодическое излучение света с определенной представляющей интерес длиной волны вдоль оптической оси 14 и в направлении держателя 22 образца. Источник 20 светового излучения может, например, включать известный лазерный диод, настраиваемый на генерирование известной длины волны, или может включать диспергирующий элемент (такой как в монохроматоре с дифракционной решеткой) или фильтрующий элемент, который настраивается на выбор излучения известной длины волны из падающего полихроматического пучка света.
Устройство 24 обнаружения расположено для улавливания светового излучения от источника 20 после его пропускания через материал образца, находящийся в держателе 22 образца. Устройство 24 обнаружения сконфигурировано для обеспечения выходного сигнала на вычислительном устройстве 10, показывающее интенсивность уловленного светового излучения.
В дополнение к этому или в качестве альтернативы, выходной сигнал может быть выдан на передатчик 26 для дальнейшей передачи, например, через Интернет или другую сеть связи на вычислительное устройство 10b, расположенное вне спектрофотометра 18, например на удаленной центральной установке, и которое способно обрабатывать информацию, поступающую от нескольких подсоединенных аналогичных спектрофотометров. Предпочтительно вычислительное устройство 10b может просто являться компонентом стандартного персонального компьютера, расположенного в непосредственной близости от спектрофотометра 18, и передачу можно осуществлять по проводной линии связи.
Держатель 22 образца в данном примере включает прозрачную ячейку, которая представляет в поперечном сечении прямоугольный треугольник и расположена таким образом, чтобы обеспечить множество различных оптических путей в зависимости от позиции, в которой световой поток, исходящий из источника 20, падает на первую поверхность 22а ячейки 22. Оптическая система 28 в настоящем примере осуществления изобретения предназначена для генерирования направленного пучка света на первой поверхности 22а ячейки 22, имеющей намного большую площадь поперечного сечения, чем у луча, генерируемого источником 20.
Устройство 24 обнаружения включает воспринимающую поверхность 30, расположенную параллельно второй поверхности 22b, являющейся гипотенузой, ячейки 22, через которую пропускается световой поток после его взаимодействия с материалом образца, находящегося в ячейке 22. С данным устройством оптический путь, который проходит свет за пределами ячейки 22, является одинаковым, независимо от того, где он обнаружен на воспринимающей поверхности 30. В настоящем примере осуществления изобретения воспринимающая поверхность 30 применяется для генерирования дифференцируемых позиционно чувствительных сигналов интенсивности и может, например, содержать линейную матрицу из двух или более детекторных элементов 24а, 24b. В данной конфигурации выходной сигнал от устройства 24 обнаружения может успешно предоставлять вычислительному устройству 10 (и, возможно, 10b) значения интенсивности светового излучения от нескольких (в данном случае двух) длин оптического пути одновременно и в дифференцированном виде.
Вычислительное устройство 10 (и, возможно, устройство 10 b) принимает выходной сигнал от устройства 24 обнаружения, а в настоящем примере осуществления выходной сигнал от источника 20, указывающий излучаемую длину волны ( ), и таким образом, обеспечивает доступ к индексированным по длинам волны значениям интенсивности, по меньшей мере, для двух различных длин пути одновременно. Данные значения могут быть сохранены для последующей обработки или могут быть обработаны в реальном масштабе времени описанным выше способом относительно работы вычислительного устройства 10 фиг.1, с целью обеспечения в соответствии с вышеприведенным уравнением выходного сигнала, указывающего на наличие искомого вещества в образце, находящемся в ячейке 22.
Далее, в примерах осуществления, в которых представлены более двух детекторных элементов 24а, b, , вычислительное устройство 10, 10b может быть сконфигурировано преимущественно для извлечения ряда значений, указывающих на искомое вещество в этом же образце, из значений интенсивности, полученных для различных пар длин пути (соответствующих различным парам детекторных элементов 24а, b ), при использовании указанного выше уравнения (5). Полученный таким образом этот ряд значений может быть просто объединен для предоставления среднего значения, количественно указывающего на наличие искомого вещества, или объединен, например, путем соответствующей оценки каждого значения с целью предоставления такого рода количественного указания.
Предпочтительно примеры осуществления изобретения в соответствии с фиг.1 могут быть сконфигурированы для предоставления таких многочисленных указаний путем простой конфигурации привода 12 на работу, обеспечивающую три или более различных расстояний между двумя поверхностями 4а, 4b, при которых спектры должны быть записаны и сохранены вычислительным устройством 10.
При альтернативной конфигурации спектрофотометра 18 фиг.2 ячейка 22 образца установлена на опору 32 для перемещения в плоскости, перпендикулярной направлению хода падающего луча света (то есть направлению оптической оси 14). Данное перемещение показано на фигуре двойной стрелкой. Привод 34 (показан пунктирной линией), такой как винтовой исполнительный механизм, функционально соединен с ячейкой 22 для ее перемещения. При такой конфигурации перемещение ячейки 22 относительно пучка, излучаемого источником 20 света, приводит различные длины оптических путей через ячейку 22 к периодическому нахождению в одной и той же точке падающего пучка света. Коллиматор 28 может быть исключен из схемы, а устройству 24 обнаружения не требуется конструкция, обеспечивающая формирование дифференцируемых позиционно чувствительных сигналов интенсивности потока излучения. Конечно, аналогичный эффект может быть достигнут соответствующим перемещением источника 20 света или устройства обнаружения 24, либо обоих указанных устройств, либо совместно с перемещением ячейки 22, либо в качестве альтернативного решения указанному перемещению ячейки 22.
Специалистам в данной области будет понятным, что держатель 4; 22 образца может быть включен в другие схемы спектрофотометров, например в оптический путь на участке известной схемы инфракрасного спектрофотометра с Фурье-преобразованием (FTIR), без изменения изобретения, раскрытого в формуле изобретения.
Необходимо также принимать во внимание то, что может быть использовано излучение в областях длин волн, отличающихся от областей длин оптических волн (от ультрафиолетового до инфракрасного) при обеспечении во всех случаях того, что взаимодействие с исследуемым образцом может быть выражено при помощи указанных выше уравнений с (1) по (5).
Формула изобретения
1. Спектрофотометр (2, 18), включающий держатель образца (4, 22), приспособленный для представления изнутри множества различных длин пути при излучении множества длин волн, исходящих из источника; устройство (8, 24) обнаружения для обнаружения зависимой от длины волны интенсивности испускаемого излучения после прохождения им одной из множества длин пути и для обеспечения выходного сигнала, указывающего на это; и вычислительное устройство (10, 10b), функционально включенное для приема выходного сигнала и формирования из него количественного и/или качественного указаний наличия искомого вещества в составе образца, отличающийся тем, что вычислительное устройство (10, 10b) приспособлено для вычисления значения, зависимого от соотношения принятых выходных сигналов на двух длинах пути из множества различных длин пути для одной и той же длины волны из множества излучаемых длин волн, и для формирования количественного и/или качественного указаний с помощью многомерного статистического анализа вычисленного значения для каждой из множества длин волн.
2. Спектрофотометр (2) по п.1, отличающийся тем, что держатель (4) образца включает ячейку, имеющую две противолежащие поверхности (4а, 4b), расположенные с возможностью перемещения одна относительно другой для обеспечения нескольких длин пути, а также тем, что дополнительно снабжен приводом (12), взаимодействующим с ячейкой (4) для передачи на нее усилия для осуществления перемещения двух противолежащих поверхностей (4а, 4b) одна относительно другой.
3. Спектрофотометр (18) по п.1, отличающийся тем, что держатель образца (22) имеет две противолежащие поверхности (22а, 22b), по меньшей мере, одна из которых образует косой угол относительно оси (14), которая параллельна направлению хода испускаемого излучения.
4. Спектрофотометр (18) по п.3, отличающийся тем, что дополнительно снабжен приводом (34), функционально связанным с держателем (22) образца, для осуществления перемещения держателя образца в направлении, перпендикулярном оси (14).
5. Спектрофотометр (2, 18) по любому из предыдущих пунктов, отличающийся тем, что держатель (4, 22) образца и устройство (8, 24) обнаружения совместно скомпонованы в передающий спектрофотометрический прибор.
6. Способ определения с помощью спектрофотометра (2, 18) по п.1 количественного и/или качественного указаний искомого вещества в составе исследуемого образца, содержащий следующие шаги: a) осуществление записи на каждой из множества длин волн ( 1, 2) и с использованием спектрофотометра величины интенсивности (I1 ) излучения, прошедшего первую длину пути (b1) в пределах образца; и b) повторение, по меньшей мере, один раз шага а) для излучения на каждой из множества длин волн ( 1, 2), прошедших дальнейшую другую длину пути (b2) в пределах образца; отличающийся тем, что способ дополнительно содержит следующие шаги: c) получение в вычислительном устройстве (10, 10b) значения (T , А ), зависящего от соотношения значений интенсивности (I1 , I2 ), записанных на каждой из двух длин пути (b1, b2) для одной и той же длины волны из множества длин волн ( 1, 2); и d) определение в вычислительном устройстве (10, 10b) указания (С) упомянутого вещества на основе использования параметров калибровки, установленных с помощью многомерного анализа значений, полученных на шаге с).
7. Способ по п.6, отличающийся тем, что шаг b) повторяется несколько раз, каждый раз на другой дальнейшей длине пути в пределах образца; а также тем, что шаг с) повторяется несколько раз, при этом каждый раз значение вычисляется с использованием разных двух из нескольких длин пути, используемых на шаге b).
РИСУНКИ
|
|