|
|
(21), (22) Заявка: 2009111304/28, 27.03.2009
(24) Дата начала отсчета срока действия патента:
27.03.2009
(46) Опубликовано: 10.08.2010
(56) Список документов, цитированных в отчете о поиске:
RU 3820 U1, 16.03.1997. RU 2002121532 A, 20.03.2004. US 3803912 A, 16.04.1974. DE 3442632 A1, 22.05.1986. Messen, Steuem, Regein, 1991, 34, 5, c.222-226.
Адрес для переписки:
117997, Москва, В-342, ГСП-7, ул. Профсоюзная, 65, ИПУ, патентный отдел
|
(72) Автор(ы):
Касимов Асим Мустафаевич (RU), Попов Александр Иванович (RU)
(73) Патентообладатель(и):
Учреждение Российской академии наук Институт проблем управления им. В.А. Трапезникова РАН (RU)
|
(54) РАСХОДОМЕР ГАЗА
(57) Реферат:
Изобретение предназначено для измерения количества газа в ЖКХ и производственных процессах, а также в узлах учета энергоресурсов для коммерческого расчета. Расходомер содержит частотный датчик расхода в виде струйного генератора (22) с соплом (2), преобразователь колебаний давления (7) в струйном генераторе в частоту, подключенный к вычислителю (14), байпас (17) с устройством для создания перепада давления, электромагнитный клапан (15). Устройство для создания перепада давления выполнено в виде сотового набора ячеек-струйных сопел (18), каждое из которых представляет собой геометрически подобное сопло струйного генератора (22). Конечные положения затвора электромагнитного клапана фиксируются постоянными магнитами (23). В процессе измерения вычислитель управляет затвором электромагнитного клапана, для включения в положение «открыто-закрыто», по пороговым сигналам, заданным значениями частот, соответствующих выбранным значениям перепадов давления на струйном частотном датчике расхода. Изобретение повышает точность в режиме парциального измерения расхода, расширяет диапазон измерения. 1 з.п. ф-лы, 3 ил.
Изобретение относится к измерительным устройствам и может быть использовано в технологических трубопроводах для измерения количества газа или жидкости, в ЖКХ и производственных процессах, а также в узлах учета энергоресурсов для коммерческого расчета.
Известны расходомеры газа и жидкости [1 – С.Л. Трескунов и др. Струйные автогенераторные расходомеры – новый тип измерителей расходов. Ж.П и СУ, 11, 1990 г.; 2 – Х. Ясуда и др. Разработка малогабаритного газового расходомера. Межд. Конференция по исследованию газа, 1989], содержащие основной и байпасный каналы, причем в основном канале расположен генератор на струйных элементах. Основным недостатком таких устройств является недостаточный диапазон измеряемого расхода, сравнительно большой нижний уровень расхода, с которого начинается измерение и выработка сигнала на включение канала байпаса с помощью датчика перепада.
Частичное устранение недостатков сделано в известном устройстве [3 – Н. Gelaar.Volumenzahlermit mit Fluidik – Elementen. Messen, steuern, regeln. 1991, 34. 5, 222-226], принятом за прототип, в части расширения диапазона и уменьшении нижнего уровня измеряемого расхода. Это устройство содержит двухэлементный датчик расхода, т.е. имеются два датчика расхода на разные диапазоны измерения, которые включались в работу с помощью переключающего клапана. В байпасном канале расположен термоанемометрический датчик расхода для измерения малых расходов (4% всего диапазона расхода). В основном канале расположен струйный частотный датчик расхода (струйный генератор), измеряющий остальную большую часть расхода (96%), выход которого соединен с преобразователем и вычислителем. Недостаток такого метода измерения – это ограничения по измеряемому диапазону, особенно в верхней части диапазона. Объясняется это тем, что при больших величинах расхода в струйном генераторе возникают большие потери давления, поскольку сам струйный генератор расположен в канале, через который проходит весь измеряемый расход. Эти потери давления ограничены по величине, например, различными техническими условиями в технологических производствах, при перекачке газа, при применении счетчиков в бытовом секторе в домовых сетях (200 Па). Для соблюдения этих условий приходится увеличивать размеры всего устройства. Следующий недостаток – это отсутствие унификации устройств измерения – датчиков расхода разных диапазонов.
Различные способы измерения в известном устройстве [3] на разных диапазонах расхода, в данном случае аналоговый на термисторах и частотный на струйном генераторе, создает дополнительные трудности согласования выходного сигнала от каждого датчика своего диапазона в вычислителе, при выполнении различных принципов построения преобразователей для передачи сигнала вычислителю. Также дополнительные вопросы приходится решать при обеспечении электропитания преобразователей.
Основной недостаток струйных расходомеров, содержащих байпас, состоит в трудности подбора и согласования и обычном несовпадении характеристик течения внутри первичного измерительного устройства (струйного генератора) и технических устройств, расположенных в байпасе, служащем при необходимости пропускать расходы, больше расходов, протекающих через струйный генератор. При этом возникает требование ограничения по создаваемому перепаду давления, который необходимо выдерживать в различных технологических процессах. Стандартные сужающие устройства имеют ограничения по диапазону расхода. Кроме того, стандартные сужающие устройства имеют достоверные показания, когда имеются спрямляющие участки разной длины до и после них.
Кроме того, характеристики аналогового датчика перепада давления как индикатора включения байпаса отражают недостаточную точность по расходу, отсутствует достаточная чувствительность приборов переключения.
Это приводит к не использованию части расхода, расположенного на аналоговой характеристике по давлению близкой к границам переключения при измерении в обе стороны – увеличения расхода или его уменьшения. В этом случае требования минимизации общего гидравлического сопротивления измерителей расхода независимо от диапазона расхода газа приводят к недоиспользованию диапазона расхода.
Целью предложенного устройства является расширение диапазона измерения, снижение начального уровня измерения расхода, в режиме парциального измерения расхода приближение проточных характеристик датчика расхода (первичного измерителя) и байпаса к максимально возможному совпадению, в частности коэффициентов расхода струйного расходомера и байпаса, а также повышение точности определения границы по расходу для включения другого диапазона измерения.
Предложен расходомер газа, содержащий в основной трубе струйный частотный датчик расхода, подключенный к преобразователю и вычислителю, и байпас с устройством для перепада давления, отличающийся тем, что устройство для перепада давления выполнено в виде сотового набора струйных сопел и последовательно с ним расположен дискретный электромагнитный клапан, положение «открыто-закрыто» которого задается пороговой частотой измеряемого расхода.
Предложен также расходомер газа, отличающийся тем, что датчик расхода выполнен в виде трехкаскадного генератора с передачей импульсов по кольцу.
Предложен также расходомер газа, отличающийся тем, что конечные положения затвора электромагнитного клапана фиксируются постоянными магнитами.
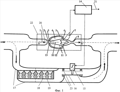
Расходомер газа представлен на фиг.1, где обозначено: 1 – поток газа; 2 – сопло струйного генератора-расходомера; 3 и 13 – управляющие каналы; 4 и 11 – стенки камеры; 5 и 12 – канал обратной связи; 6 и 9 – выходные каналы из камеры; 7 – преобразователь электрических сигналов, например пьезоэлемент; 8 – выходной канал струйного генератора; 10 – камера струйного генератора; 14 – вычислитель вместе с вторичной электронной аппаратурой, которая усиливает и формирует сигналы в стандартные формы; 15 – дискретный электромагнитный клапан; 16 – затвор, открывающий проток газа через байпас (пунктиром показано другое положение затвора); 17 – байпас; 18 – ячейка струйного сопла для байпаса; 19 – сотовый набор ячеек струйных сопел; 20 – ячейка струйного генератора; 21 – выход вычислителя расходомера; 22 – струйный генератор; 23 – постоянные магниты конечного положения затвора клапана.
На фиг.2а и 2б представлены варианты набора сопел для измерения расхода в других диапазонах. Ячейка 18 представляет собой геометрически подобное струйное сопло струйного генератора, выраженное в виде ячейки 20 струйного генератора (фиг.1), для достижения подобных характеристик расхода, например по коэффициенту расхода сопла. Возможно и более упрощенное выполнение ячейки 18 (фиг.2б), которое несколько увеличивает погрешность измерения расхода.
Уменьшение размера и увеличение количества струйных сопел в наборе позволяет значительно упростить конструктивное выполнение методического требования обязательного наличия спрямляющих участков при измерении расхода с помощью сужающих устройств.
Наборное поле 19 из струйных сопел 18 байпаса 17 при наличии одного струйного частотного датчика расхода (струйного генератора) 22, одного электропреобразователя 7 и одного дискретного электромагнитного клапана 15 позволяет унифицировать датчики расхода разных диапазонов. Включение байпаса 17 разного диапазона (при заранее подобранного наборного поля сопел) в параллельную работу происходит по мере нарастания статического давления и расхода в струйном генераторе 22 по пороговым значениям его выходной частоты.
По принципу действия струйного датчика расхода его выходная частота сигналов колебаний давления пропорциональна расходу, который увеличивается с ростом давления на его входе. В качестве пороговых сигналов для включения или выключения электромагнитного клапана 15 заданы значения частот колебаний сигналов давления, соответствующих выбранным значениям перепадов давления на струйном датчике расхода. Частоты колебаний сигналов давления преобразуются в частоты электрических сигналов на электропреобразователе 7.
На фиг.3 представлена типовая диаграмма измерения расхода на различных диапазонах расхода. Измеряемый расход на различных диапазонах определяется соответствующим коэффициентами, которые включаются вычислителем при изменении диапазона измерения.
Предложенное устройство позволит унифицировать сопла и ячейки наборных сопел, которые могут отличаться числом ячеек, а сами ячейки диаметром сопла.
В эксплуатации выгодно иметь однотипные нагрузочные сопла и один частотный датчик расхода (струйный генератор). Подключение байпаса расширяет динамический диапазон расходомера и позволяет сократить номенклатурный состав элементов.
Общий измеряемый расход разделен на диапазоны, доступные для измерения частотным датчиком расхода (струйным генератором) совместно с байпасом. Малый расход измеряется датчиком 22, представляющим непосредственно струйный генератор, частота импульсов которого линейно связана с расходом. Остальные диапазоны расхода измеряются струйным генератором совместно с нагрузкой в байпасе в виде набора струйных сопел 19.
Расходомер работает следующим образом. Начальное состояние расходомера соответствует закрытому затвору 16 клапана 15. Если появляется расход на входе 1, то весь поток поступает через сопло 2, проходит через камеру 10 и далее через каналы 6 или 9 и выходной канал струйного генератора 8 на выход в транспортный трубопровод.
Струйный генератор 22 работает следующим образом. При наличии начального расхода происходит возбуждение колебаний струи. Струя истекает через сопло 2 в камеру 10 и благодаря эффекту Коанда прижимается к одной из стенок 4 или 11, допустим, к стенке 11. Тогда струя поступает на выходной канал 9, далее большая ее часть направляется к выходному каналу 8, меньшая – к каналу обратной связи 12. Меньшая часть поступает на управляющий канал 13, в котором через некоторое время давление возрастает до значения, достаточного для переключения струи от стенки 11 к стенке 4. Далее процесс повторяется. Колебания сигналов давления в каналах 6 и 9 преобразуются в электрические сигналы преобразователем 7, который может быть выполнен, например, в виде пьезоэлемента. Вторичная электронная аппаратура усиливает и формирует сигналы в удобные для регистрации стандартные формы.
Струйный генератор 22 выполнен трехкаскадной схемой с передачей импульсов по кольцу, т.е. выходной последний каскад подключен к входам первого каскада, замыкая всю цепь передачи импульсов. Такая схема позволяет значительно снизить начальный уровень измеряемого расхода по сравнению, например с однокаскадной схемой. На фиг.1 для упрощения представлен один струйный каскад.
Частота сигналов давления от датчика 22 через электропреобразователь 7 поступает в вычислитель 14. Эта частота соответствует объемному расходу газа (жидкости), а сумма импульсов – объемному количеству. К вычислителю подключается регистрирующее устройство (не показано на фиг.1), отображающее расход и количество прошедшего текучего продукта.
Импульсный единичный объем, т.е. объем измеряемого газа, приходящийся на один импульс, определяется формулой q0=Q0/f, Q0 – расход через струйный генератор 22, f – текущая частота импульсов датчика 7.
На фиг.3 показана типовая диаграмма работы расходомера, на которой показан по оси абсцисс измеряемый диапазон расхода Q, по оси ординат – частота f импульсов датчика 7. Частота f изменяется от некоторого начального значения f0 (точка В0) до конечного fmax (точка А0). Весь измеряемый диапазон расхода разбит на меньшие по величине диапазоны, обозначенные цифрами 0 и 1. С увеличением расхода Q увеличивается частота f пневматических и электрических импульсов на выходе датчика 7. Когда перепад давления достигнет максимально допустимого предела, чему соответствует максимальное значение частоты импульсов fmax (точка А0), по команде, следуемой от вычислителя 14, открывается затвор 16 клапана 15 и удерживается в открытом положении. Для уменьшения потребления энергии он может фиксироваться в конечных положениях (открыто-закрыто) с помощью постоянных магнитов 23. В открытом положении затвора (на фиг.1 затвор 16 показан пунктиром) подключается байпас 17 с набором нагрузочных дросселей в виде струйных сопел 18, создающих требуемый перепад давления на струйном генераторе 22.
На фиг.3 момент достижения частоты fmax и открытия затвора клапана 15 отмечен точкой А0. При этом единичный объем q меняется на больший – от q0 на q1. Измеряемый объем газа в этом случае будет равен q1=(Q0+Q1)/f, где Q1 – расход через байпас 17. Далее при увеличении общего расхода единичный объем q1 достигает своего максимума, который фиксируется частотой fmax в точке A1. В этой точке возможно подключение дополнительного байпаса с соответствующим набором сопел, другого клапана и коррекции программы вычислителя.
Одновременно вместе с изменением величины единичного объема q по диапазонам изменяется крутизна К характеристики расхода от частоты (коэффициент счета) – для нулевого диапазона К0=fmax/Q0 max, далее K1=fmax/(Q0+Q1)max. Динамический диапазон расходомера увеличивается, перепад давления не будет превышать заданный при fmax.
С уменьшением расхода Q – процесс будет обратный. При снижении перепада давления и частоты импульсов датчика 7 от f до f0 происходит закрытие затвора 16 клапана и переход на измерение расхода струйным генератором 22 с меньшим единичным объемом q. На фиг.3 момент достижения частоты f0 и закрытия затвора 16 отмечен точкой B1.
Частотным датчиком расхода в каждом диапазоне служит струйный генератор, коэффициент счета которого включается в работу по команде вычислителя, следящего за текущей частотой f и включении и выключении клапана дискретного действия и байпаса в работу. Вычислитель определяет количество импульсов, исходящих от датчика 7, пропорциональных расходу газа. Каждый импульс соответствует некоторой определенной постоянной расхода газа («ковшовости»).
При закрытом клапане эта постоянная меньше постоянной при открытом клапане, т.е. «единичный» расход на каждый импульс различный при разных положениях клапана, при этом частота следования импульсов может быть одинаковая.
Число импульсов, умноженное на постоянную расхода, представляет собой текущий расход.
Вычислитель управляет положением затвора 16 клапана 15 по частоте импульсов, исходящих от электропреобразователя 7. Когда число импульсов достигает максимального значения при закрытом клапане (первый диапазон расхода), вычислитель вырабатывает сигнал для перевода клапана в положение «открыто». Частота f при этом уменьшается до минимальной частоты перехода fn, но постоянная расхода (ковшовость) увеличивается и одновременно изменяется коэффициент счета К, который в этот момент соответствует второму диапазону расхода (фиг.3).
Предложенный расходомер газа имеет следующие преимущества:
– расширение диапазона измерения расхода за счет включения байпаса с устройством для перепада давления, выполненного сотовым набором струйных сопел с геометрическим подобием проточной части первичного измерителя расхода (струйного датчика расхода);
– «включение – выключение» электромагнитного клапана байпаса сигналом пороговой частоты струйного генератора;
– уменьшение погрешности по расходу при переключении диапазонов частотным сигналом;
– одинаковые коэффициенты расхода струйного датчика и байпаса;
– повышение точности определения границы по расходу для включения другого диапазона измерения;
– снижение начального уровня измерения расхода трехкаскадным расходомером;
– снижение конструктивных требований к выполнению величины спрямляющих участков.
Формула изобретения
1. Расходомер газа, содержащий струйный частотный датчик расхода в основной трубе, выполненный в виде струйного генератора с соплом, преобразователь колебаний давления в струйном генераторе в частоту, подключенный к вычислителю, байпас, включающий в себя устройство для создания перепада давления, и электромагнитный клапан, отличающийся тем, что устройство для перепада давления выполнено в виде сотового набора ячеек-струйных сопел, каждое из которых представляет собой геометрически подобное сопло струйного генератора, а вычислитель выполнен с возможностью подачи управляющей команды затвору указанного электромагнитного клапана, расположенного последовательно с набором сопел, для включения в положение «открыто-закрыто», по пороговым сигналам, заданным значениями частот, соответствующих выбранным значениям перепадов давления на струйном частотном датчике расхода.
2. Расходомер по п.1, отличающийся тем, что конечные положения затвора электромагнитного клапана фиксируются постоянными магнитами.
РИСУНКИ
|
|