|
|
(21), (22) Заявка: 2009103702/02, 04.02.2009
(24) Дата начала отсчета срока действия патента:
04.02.2009
(46) Опубликовано: 10.08.2010
(56) Список документов, цитированных в отчете о поиске:
RU 2141093 C1, 10.11.1999. RU 2253822 C1, 10.06.2005. RU 2234656 C1, 20.08.2004. RU 2218538 C1, 10.12.2003. RU 2213923 C1, 10.10.2003.
Адрес для переписки:
410000, Саратовская обл., г.Саратов, Главпочтамт, а/я 62, О.И.Куприяновой
|
(72) Автор(ы):
Свердлов Михаил Ильич (RU), Миряха Андрей Николаевич (RU)
(73) Патентообладатель(и):
Закрытое акционерное общество “Кантегир” (RU)
|
(54) ЛАЗЕРНЫЙ ЦЕЛЕУКАЗАТЕЛЬ
(57) Реферат:
Изобретение относится к стрелковому оружию, в частности к лазерным целеуказателям. Лазерный целеуказатель включает блоки излучателя и питания, элемент крепления корпуса к оружию, элемент включения питания и механизм фиксации излучателя в корпусе. Механизм выполнен с возможностью регулировки положения оси излучателя относительно корпуса. Со стороны излучателя корпус снабжен крышкой с выходным окном и выполнен из двух отсеков, один из которых предназначен для размещения излучателя, а другой – для блока питания. Блок питания снабжен крышкой, расположенной с передней стороны корпуса. Задняя часть корпуса выполнена в виде хвостовика с возможностью закрепления на скобе спускового крюка стрелкового оружия. Отсеки в корпусе могут быть расположены один над другим. Внутренняя поверхность отсека, предназначенного для излучателя, может быть выполнена цилиндрической и снабжена резьбой. Часть внешней поверхности излучателя может иметь сферическую форму, а часть – цилиндрическую. Обеспечивается регулировка и закрепление излучателя в корпусе целеуказателя, а самого целеуказателя – на скобе спускового крюка. 9 з.п. ф-лы. 2 ил.
Изобретение относится к оптико-электронному приборостроению, в частности к малогабаритным лазерным источникам света, и может быть использовано в оптических приборах, предназначенных, например, для наведения охотничьего и спортивного оружия на цель.
Известен лазерный целеуказатель, содержащий полый цилиндрический корпус и размещенные в нем излучатель, включающий корпус, лазерный диод и коллимирующий объектив, втулку, выполненную с возможностью взаимодействия своей наружной поверхностью с внутренней поверхностью цилиндрического корпуса, а внутренней сферической поверхностью – с ответной поверхностью корпуса излучателя, электронный блок, блок батарей, выключатель и механизм юстировки излучателя. Заявляемое устройство содержит также опорное кольцо, закрепленное в передней части цилиндрического корпуса, и пружину, установленную между втулкой и опорным кольцом с возможностью взаимодействия с торцами последних. Втулка установлена в корпусе с возможностью перемещения вдоль своей оси, а излучатель снабжен хвостовиком, закрепленным в задней части корпуса и выполненным в виде усеченной трехгранной пирамиды, грани которой являются опорными поверхностями для взаимодействия с опорным и котировочными винтами. Механизм юстировки содержит, по меньшей мере, один опорный и два котировочных винта, установленных в цилиндрическом корпусе с возможностью взаимодействия с опорными поверхностями на излучателе (Патент РФ на изобретение 2100744, МПК: F41G 1/34).
Однако в данном устройстве отсутствует узел, обеспечивающий закрепление целеуказателя на оружии. Кроме того, устройство характеризуется сложной конструкцией механизма юстировки и фиксации корпуса излучателя в корпусе целеуказателя из-за наличия большого количества элементов и подвижных соединений. Вследствие этого устройство имеет низкую надежность по удержанию выставленного после выверки угла прицеливания.
Известен также лазерный целеуказатель, содержащий полый цилиндрический корпус, в котором расположены излучатель, включающий корпус, оптическую систему (коллимирующий объектив), лазерный источник света (лазерный диод), электронную схему, блок батарей. Часть внешней поверхности корпуса излучателя имеет сферическую форму, а часть – цилиндрическую. На внешней поверхности корпуса целеуказателя подвижно закреплены два кольца, внутренние поверхности которых расположены эксцентрично относительно оси корпуса излучателя. Устройство содержит также вставку, выполненную из закаленной стали, которая своей внешней поверхностью контактирует с внутренней поверхностью корпуса целеуказателя, а ее внутренняя поверхность имеет сферическую форму и контактирует со сферической частью поверхности корпуса излучателя. Положение корпуса излучателя относительно корпуса целеуказателя регулируется стержнями, находящимися в двух взаимно перпендикулярных направлениях между внешней поверхностью корпуса излучателя и внутренней поверхностью колец, с которой они контактируют через отверстия в корпусе целеуказателя. При этом стержни расположены таким образом, что два из них упираются в переднюю цилиндрическую часть поверхности корпуса излучателя, а два других – в заднюю цилиндрическую часть корпуса излучателя. Вращением колец регулируется положение оси корпуса излучателя относительно оси корпуса целеуказателя. Корпус излучателя удерживается в отрегулированном положении теми же стержнями (Патент США 4926438, МПК H01S 003/00).
Основным недостатком указанного устройства является низкая надежность механизма фиксации корпуса излучателя в корпусе целеуказателя вследствие большого количества подвижных соединений и элементов конструкции, что, в свою очередь, обуславливает низкую надежность устройства в целом и, особенно в части сохранения выставленного после выверки угла прицеливания при последующем произведении выстрелов. Кроме того, данное устройство также не приспособлено для использования на малогабаритном короткоствольном оружии.
Известен лазерный целеуказатель, включающий полый корпус, в котором расположены излучатель, часть поверхности корпуса которого имеет сферическую форму, а часть – цилиндрическую, механизм фиксации излучателя в корпусе целеуказателя, устройство юстировки, блок батарей. Внутренняя поверхность корпуса целеуказателя имеет опорный участок сферической формы, с которым контактирует задняя часть сферической поверхности корпуса излучателя, а механизм фиксации выполнен в виде шайбы с прижимной гайкой, при этом внутренняя поверхность шайбы выполнена сферической формы для контактирования с передней частью сферической поверхности корпуса излучателя. Целеуказатель может крепиться на ствол оружия с помощью кронштейна (Патент РФ 2253822, МПК F41G 1/32).
Данный целеуказатель характеризуется наличием шарнирного узла, обеспечивающего надежность регулировки и закрепления излучателя в корпусе целеуказателя, а также технологичность способа выверки целеуказателя. Однако данный целеуказатель также не обеспечивает возможности его надежного закрепления на малогабаритном короткоствольном оружии.
Наиболее близким из известных устройств, в которых предлагается решение проблемы закрепления целеуказателя на короткоствольном оружии, является оружие с лазерным целеуказателем, содержащим лазерный модуль, элемент питания, переключатель, ползун, на котором выполнены две лунки, одна – для размещения в ней переключателя при невзведенном курке, а другая – для размещения переключателя при взведенном курке, и толкатель, который одним концом соединен с ползуном, а другим – со спусковым крючком или тягой спуска. Способ выверки лазерного целеуказателя заключается в совмещении точки прицеливания со световым пятном целеуказателя. Сначала производят выверку положения мушки и целика. Затем в размещенном на оружии корпусе лазерного целеуказателя выполняют отверстие под лазерный блок, принимая при этом за базу выверенное положение мушки и целика (Патент РФ 2141093, МПК F41G 1/34).
Недостатком данного технического решения является сложность закрепления целеуказателя на оружии, заключающаяся в необходимости разборки оружия и переделки некоторых его деталей с применением для этого механической обработки, а также сложность осуществления выверки целеуказателя, связанной с необходимостью выполнения отверстия с высокой точностью в закрепленном на оружии корпусе целеуказателя для размещения лазерного модуля.
Задача изобретения заключается в создании компактного лазерного целеуказателя с простым и надежным способом закрепления на оружии без вмешательства в конструкцию оружия, технологичным способом выверки.
Техническим результатом является оригинальная конструкция шарнирного узла, обеспечивающего регулировку и закрепление излучателя в корпусе целеуказателя, взаимное расположение элементов конструкции в корпусе, а также исполнение непосредственно корпуса устройства, обеспечивающего закрепление целеуказателя на скобе спускового крюка оружия.
Поставленная задача решается тем, что лазерный целеуказатель для стрелкового оружия, включающий корпус, в котором расположены электрически соединенные излучатель и блок питания, элемент крепления корпуса к оружию, элемент включения питания, при этом со стороны излучателя корпус снабжен крышкой с выходным окном, согласно изобретению содержит механизм фиксации излучателя в корпусе, выполненный с возможностью регулировки положения оси излучателя относительно корпуса, при этом корпус выполнен из двух отсеков, один из которых предназначен для размещения излучателя, а другой – для блока питания, который снабжен крышкой, расположенной с передней стороны корпуса, задняя часть корпуса выполнена в виде хвостовика с возможностью закрепления на скобе спускового крюка стрелкового оружия. Отсеки в корпусе могут быть расположены один над другим, в частности, отсек для излучателя может быть расположен над отсеком для блока питания. Возможен вариант исполнения лазерного целеуказателя, в котором внутренняя поверхность отсека, предназначенного для излучателя, выполнена цилиндрической и снабжена резьбой, при этом часть внешней поверхности излучателя имеет сферическую форму, часть – цилиндрическую, механизм фиксации излучателя в корпусе включает две шайбы и прижимную гайку, внешние поверхности одной из шайб и прижимной гайки снабжены резьбой, а внутренние поверхности шайб выполнены с возможностью сопряжения со сферической частью внешней поверхности излучателя. Элемент крепления корпуса к оружию может быть выполнен в виде хомута с прижимным винтом, элемент включения питания – в виде кнопки, электрически соединенной с излучателем и блоком питания, закрепленной на рукоятке оружия. Хвостовик со стороны крепления к скобе имеет канавку, форма которой совпадает с формой поверхности скобы, а с внешней стороны снабжен пазом под прижимной винт для обеспечения неподвижного положения хомута в процессе его закрепления. Корпус и хвостовик могут быть выполнены в виде единой детали. Крышки отсеков для излучателя и блока питания имеют резьбовое соединение с корпусом. Блок питания состоит из набора батарей.
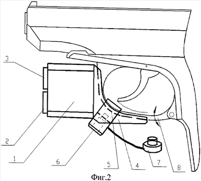
Предлагаемое устройство поясняется чертежами, где на Фиг.1 представлена общая схема лазерного целеуказателя (вид сбоку), на Фиг.2 представлена схема закрепления целеуказателя на стрелковом оружии.
Позициями на чертежах обозначены:
1 – корпус целеуказателя,
2, 3 – крышки,
4 – хвостовик корпуса,
5 – хомут,
6 – прижимной винт,
7 – кнопка включения,
8 – скоба,
9 – излучатель,
10 – выходное окно,
11 – шайба с резьбовой внешней поверхностью,
12 – шайба,
13 – гайка,
14 – блок питания,
15 – провода,
16 – паз.
Лазерный целеуказатель представляет прибор (см. фиг.1, 2), в корпусе 1 которого размещены электрически соединенные излучатель 9 и блок питания 14. Корпус 1 представляет собой деталь в виде параллелепипеда, снабженного хвостовиком 4, предназначенным для закрепления на скобе спускового крюка стрелкового оружия. Корпус 1 и хвостовик 4 могут быть выполнены в виде единой детали (например, из дюралюминия). Корпус 1 состоит из двух отсеков (полостей, отверстий), внутренние поверхности которых имеют цилиндрическую форму. Отсеки расположены один над другим, при этом один из отсеков, например верхний, предназначен для размещения излучателя, другой – нижний – для блока питания, состоящего из набора батарей. Корпус снабжен двумя крышками 2 и 3, закрывающими отсеки, одна из которых, предназначенная для отсека с излучателем, снабжена выходным прозрачным окном 10. Излучатель 9 содержит полупроводниковый лазерный диод, схему управления лазерным диодом и оптическую коллимирующую систему. В частности, возможен вариант изготовления излучателя в соответствии с техническим решением, представленным в материалах описания к патенту на изобретение РФ 2253822, МПК: F41G 1/32.
В корпусе 1 излучатель 9 закреплен посредством механизма фиксации. Механизм фиксации, включающий две шайбы 11, 12 и прижимную гайку 13, выполнен с возможностью регулировки положения оси излучателя относительно корпуса (например, оси симметрии корпуса целеуказателя) за счет наличия шарнирного соединения корпуса излучателя 9 с корпусом 1 целеуказателя. Шарнирное соединение обеспечивается за счет сферической формы части внешней поверхности корпуса излучателя 9 и части внутренней поверхности шайбы 11, с одной стороны, и наличием шайбы 12 с прижимной гайкой 13, – с другой стороны. Шайба 11 имеет резьбу на внешней поверхности, вворачивается в верхнее отверстие корпуса 1 и является опорным участком для задней части сферической поверхности корпуса излучателя. При этом шайба 12 также имеет внутреннюю сферическую поверхность, которая контактирует с передней частью сферической поверхности корпуса излучателя, и может свободно перемещаться внутри верхнего отверстия корпуса 1. Фиксирование положения излучателя 9 в корпусе целеуказателя осуществляется путем затягивания прижимной гайки 13, в результате чего сферическая часть корпуса излучателя оказывается прочно зажатой между шайбами 11 и 12. Во втором отсеке, нижнем, размещен блок батарей 14, один из контактов которого имеет электрическое соединение с излучателем посредством гибкого провода 15 через кнопку включения 7, помещенную в герметичный кожух из мягкой резины. Отсек с излучателем закрыт крышкой 3, которая защищает излучатель от механических повреждений и загрязнения и в которой находится выходное прозрачное окно 10. Отсек с блоком батарей закрыт крышкой 2, которая поджимает блок батарей 14 к электрическому контакту с проводом. В обеих крышках предусмотрены канавки для резиновых уплотнителей, обеспечивающих надежную защиту внутренних частей корпуса целеуказателя от загрязнения и попадания влаги. Хвостовик 4 имеет специальную форму и профиль (снабжен канавкой) для сопряжения с курковой скобой 8 стрелкового оружия. Целеуказатель закреплен на курковой скобе с помощью хомута 5, имеющего резьбовое отверстие с прижимным винтом 6, который прижимает целеуказатель к курковой скобе и закрепляет его. Хвостовик 4 снабжен пазом 16 под прижимной винт для обеспечения неподвижного положения хомута в процессе закрепления.
Устройство работает следующим образом.
Излучатель 9, размещенный в верхнем отсеке (отверстии) корпуса 1 целеуказателя, генерирует узкий видимый лазерный луч. Питание излучателя осуществляется от блока питания 14 в виде малогабаритных батарей или аккумуляторов, размещенных в нижнем отсеке (отверстии) корпуса 1 целеуказателя. Электрический контакт одного из полюсов блока батарей со схемой управления в излучателе осуществляется через корпус целеуказателя. Другой полюс блока батарей соединен со схемой управления в излучателе через кнопку включения 7, соединенную с целеуказателем гибкими проводами 15, длина которых позволяет закрепить кнопку, находящуюся в герметичном резиновом кожухе с помощью липкой прокладки, например, на рукоятке стрелкового оружия в месте, удобном для положения пальцев руки, охватывающей рукоятку. Нажатие кнопки 7 приводит к включению целеуказателя. Целеуказатель закреплен на курковой скобе. Хвостовик целеуказателя 4 имеет форму, идеально сопрягающуюся со скобой 8 и, кроме этого, при присоединении хвостовика к скобе, последняя оказывается «вложенной» в канавку, выполненную в хвостовике. Окончательное закрепление целеуказателя на скобе осуществляется с помощью хомута 5, прижимной винт 6 которого, упираясь в паз 16 на хвостовике 4, прочно прижимает хвостовик целеуказателя к курковой скобе 8. Выверка целеуказателя позволяет устранить любые неточности положения уже закрепленного на оружии целеуказателя и производится при снятой крышке 3 с выходным окном следующим образом. Сначала ослабляют с помощью специального ключа прижимную гайку 13. Затем, не вынимая ключа, на переднюю цилиндрическую часть излучателя надевают поводок в виде короткой трубки, с помощью которого лазерный луч при включенном питании выставляют по линии прицеливания. После чего прижимную гайку затягивают, фиксируя, таким образом, положение излучателя, и закрывают отверстие с излучателем крышкой 3 с выходным окном. В момент выстрела корпус оружия получает ускорение в направлении, противоположном направлению выстрела. Жесткое закрепление элементов заявляемого устройства обеспечивает надежность конструкции в целом. Кроме того, заявляемое устройство компактно, имеет малый вес и габариты.
Лазерный луч целеуказателя формирует на цели яркое световое пятно – метку, что существенно ускоряет и облегчает процесс прицеливания и тем самым повышает точность стрельбы.
Пример.
В соответствии с изобретением был изготовлен образец лазерного целеуказателя. Корпус 1 целеуказателя с хвостовиком 4, как единая деталь, крышки 2 и 3 и хомут 5 были выполнены из дюралюминия с последующим анодированием поверхности. Выходное окно 10 было изготовлено из оптического стекла К-8, имеющего с обеих сторон просветляющие покрытия. Излучатель был изготовлен в соответствии с Патентом РФ на изобретение 2253822. В качестве блока питания использовался набор из трех аккумуляторов типа SR44W, с напряжением 1,5 B каждый. В качестве кнопки включателя использовалась кнопка типа ПКН-125, которая помещалась в герметичный резиновый кожух, изготовленный методом литья. Целеуказатель крепился на пневматическом пистолете типа МР-654К к курковой скобе 8 с помощью хомута 5 с прижимным винтом 6. Кнопка в кожухе крепилась на рукоятку пистолета с помощью двусторонней липкой ленты.
После проведения выверки целеуказателя по методу, описанному выше, были измерены технические параметры целеуказателя. Длина волны излучения составляла 650 нм, мощность излучения – 2 мВт, расходимость излучения – не более 1 мрад, что обеспечивало размер световой метки на мишени не более 1 см на расстоянии 10 м и не более 5 см на расстоянии 50 м.
Формула изобретения
1. Лазерный целеуказатель для стрелкового оружия, включающий корпус, в котором расположены электрически соединенные излучатель и блок питания, элемент крепления корпуса к оружию, элемент включения питания, при этом со стороны излучателя корпус снабжен крышкой с выходным окном, отличающийся тем, что он содержит механизм фиксации излучателя в корпусе, выполненный с возможностью регулировки положения оси излучателя относительно корпуса, при этом корпус выполнен из двух отсеков, один из которых предназначен для размещения излучателя, а другой – для блока питания, который снабжен крышкой, расположенной с передней стороны корпуса, задняя часть корпуса выполнена в виде хвостовика с возможностью закрепления на скобе спускового крюка стрелкового оружия.
2. Лазерный целеуказатель по п.1, отличающийся тем, что отсеки в корпусе расположены один над другим.
3. Лазерный целеуказатель по п.1, отличающийся тем, что внутренняя поверхность отсека, предназначенного для излучателя, выполнена цилиндрической и снабжена резьбой, при этом часть внешней поверхности излучателя имеет сферическую форму, часть – цилиндрическую, механизм фиксации излучателя в корпусе включает две шайбы и прижимную гайку, внешние поверхности одной из шайб и прижимной гайки снабжены резьбой, а внутренние поверхности шайб выполнены с возможностью сопряжения со сферической частью внешней поверхности излучателя.
4. Лазерный целеуказатель по п.1, отличающийся тем, что элемент крепления корпуса к оружию выполнен в виде хомута с прижимным винтом, элемент включения питания выполнен в виде кнопки, электрически соединенной с излучателем и блоком питания, закрепленной на рукоятке оружия.
5. Лазерный целеуказатель по п.1, отличающийся тем, что хвостовик со стороны крепления к скобе имеет канавку, форма которой совпадает с формой поверхности скобы.
6. Лазерный целеуказатель по п.1, отличающийся тем, что крышки отсеков для излучателя и блока питания имеют резьбовое соединение с корпусом.
7. Лазерный целеуказатель по п.2, отличающийся тем, что отсек для излучателя расположен над отсеком для блока питания.
8. Лазерный целеуказатель по п.4, отличающийся тем, что хвостовик снабжен пазом под прижимной винт для обеспечения неподвижного положения хомута в процессе закрепления.
9. Лазерный целеуказатель по п.1, отличающийся тем, что блок питания состоит из набора батарей.
10. Лазерный целеуказатель по п.1, отличающийся тем, что корпус и хвостовик выполнены в виде единой детали.
РИСУНКИ
|
|