|
|
(21), (22) Заявка: 2008139371/02, 06.10.2008
(24) Дата начала отсчета срока действия патента:
06.10.2008
(43) Дата публикации заявки: 20.04.2010
(46) Опубликовано: 10.08.2010
(56) Список документов, цитированных в отчете о поиске:
В.И.МУРАХОВСКИЙ, С.Л.ФЕДОСЕЕВ, Оружие пехоты. – М., 1992, с.37. RU 2333445 С1, 10.09.2008. RU 2305822 С2, 10.09.2007. RU 2202088 С2, 10.04.2003. US 3651736 A, 28.03.1972.
Адрес для переписки:
04050, Украина, г. Киев, ул. Герцена, 17-25, оф.1, АПП “Веполь”
|
(72) Автор(ы):
Шевченко Виктор Леонидович (UA)
(73) Патентообладатель(и):
Шевченко Виктор Леонидович (UA)
|
(54) ПИСТОЛЕТ (ВАРИАНТЫ)
(57) Реферат:
Изобретение относится к огнестрельному оружию, используемому в армии, правоохранительных органах, стрелковом спорте. В корпусе магазина выполнен загиб для удержания очередного патрона на оси ствола или на близком к ней расстоянии и вывода стреляной гильзы из оружия, а в задней части корпуса магазина выполнен отражатель для взаимодействия с гильзой при ее движении назад в момент выброса, причем затвор имеет вырез для размещения загиба магазина. В других вариантах исполнения ствол или рамка имеют выступ или деталь, соединенную со стволом или рамкой, соответственно, для фиксации очередного патрона, удержания его на оси ствола или на близком к ней расстоянии и вывода стреляной гильзы из оружия. В задней части упомянутых выступа или детали выполнен отражатель для взаимодействия с ним гильзы при ее движении назад в момент выброса, при этом магазин имеет фиксирующий выступ для автоматического освобождения верхнего патрона при вставленном в рамку магазине. Исключается возможность задержек при стрельбе и увеличивается точность и кучность стрельбы. 3 н. и 2 з.п. ф-лы, 7 ил.
Изобретение относится к технике оружия и может быть использовано в армии, правоохранительных органах, стрелковом спорте.
Известен пистолет, содержащий магазин, в котором верхняя часть корпуса имеет загибы, удерживающие верхний патрон в магазине. Загибы выполнены симметрично. В передней части магазина выполнен вырез для подачи патрона вперед и вверх. В задней части выполнен вырез для прохода нижней части затвора. Пистолет содержит наклонную поверхность рамки, расположенную перед патронником ствола, отражатель гильзы, расположенный на рамке, выбрасыватель, установленный на затворе [В.И.Мураховский, С.Л.Федосеев. Оружие пехоты. – М. – 1992, с.37].
Недостатком такого механизма является то, что устанавливаемый в магазин очередной патрон расположен ниже оси ствола. При досылке патрона в патронник затвором он ударяется пулей о наклонную поверхность рамки, перекашивается между наклонной поверхностью рамки и загибами магазина, а при следующем движении вперед ударяется пулей в верхнюю часть патронника и при освобождении донышка гильзы от загибов магазина под действием пружины магазина и подавателя выравнивается вдоль оси ствола и досылается в ствол. При таком заряжании неминуемы деформации пули, что приводит к ухудшению точности и кучности стрельбы, а также к «перекосам» и «утыканиям» патрона, что в свою очередь приводит к отказам при стрельбе, уменьшая тем самым надежность оружия. Такой механизм заряжания и выбрасывания допускает наличие отдельной детали на рамке – отражателя, который взаимодействует с гильзой в момент выбрасывания стреляной гильзы из оружия. Наклонная поверхность рамки удлиняет затвор и укорачивает ствол.
В основу изобретения поставлена задача усовершенствования как конструкции пистолета в целом, так и отдельных его частей путем новых технических решений, позволяющих за счет комплексного их использования, а также благодаря конструктивным особенностям каждой детали улучшить эксплуатационные характеристики – исключить возможность задержек при стрельбе и увеличить точность и кучность стрельбы.
Поставленная задача решается тем, что в пистолете, содержащем ствол, магазин, подаватель магазина, пружину подавателя, рамку, отражатель, выбрасыватель, установленный в затворе, согласно изобретению, в корпусе магазина выполнен загиб для удержания очередного патрона на оси ствола или на близком к ней расстоянии и вывода стреляной гильзы из оружия, а в задней части корпуса магазина выполнен отражатель для взаимодействия с гильзой при ее движении назад в момент выброса, причем затвор имеет вырез для размещения загиба магазина.
Поставленная задача решается также тем, что в пистолете, содержащем ствол, магазин, подаватель магазина, пружину подавателя, рамку, отражатель, выбрасыватель, установленный в затворе, согласно изобретению, ствол имеет выступ или деталь, соединенную со стволом, для фиксации очередного патрона, удержания его на оси ствола или на близком к ней расстоянии и вывода стреляной гильзы из оружия, в задней части выступа ствола или детали, соединенной со стволом, выполнен отражатель для взаимодействия с ним гильзы при ее движении назад в момент выброса, а магазин имеет фиксирующий выступ для автоматического освобождения верхнего патрона при вставленном в рамку магазине, причем верхний патрон в магазине может быть расположен ниже оси ствола.
Верхний патрон в магазине расположен ниже оси ствола.
Поставленная задача решается еще тем, что в пистолете, содержащем ствол, магазин, подаватель магазина, пружину подавателя, рамку, отражатель, выбрасыватель, установленный в затворе, согласно изобретению, рамка имеет выступ или деталь, соединенную с рамкой для фиксации очередного патрона, удержания его на оси ствола или на близком к ней расстоянии и вывода стреляной гильзы из оружия, в задней части выступа рамки или детали, соединенной с рамкой, выполнен отражатель для взаимодействия с ним гильзы при ее движении назад в момент выброса, а магазин имеет фиксирующий выступ для автоматического освобождения верхнего патрона при вставленном в рамку магазине, причем верхний патрон в магазине может быть расположен ниже оси ствола.
Верхний патрон в магазине расположен ниже оси ствола.
Усовершенствование как конструкции пистолета в целом, так и отдельных его частей путем новых технических решений позволяют за счет комплексного их использования, а также благодаря конструктивным особенностям каждой детали улучшить эксплуатационные характеристики – исключить возможность задержек при стрельбе и увеличить точность и кучность стрельбы.
Изобретение поясняется чертежами.
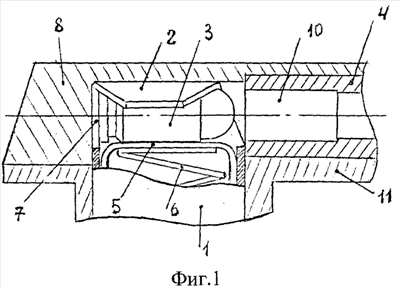
На Фиг.1 изображен магазин с загибом и очередным патроном, установленным на оси ствола, вид сбоку;
на Фиг.2 – магазин с патроном, вид сзади;
на Фиг.3 – затвор с вырезом для размещения загиба магазина, вид спереди;
на Фиг.4 – фиксирующий выступ ствола и магазин с верхним патроном, установленным ниже оси ствола;
на Фиг.5 – фиксирующий выступ ствола и магазин, вид сзади;
на Фиг.6 – фиксирующий выступ рамки и магазин с верхним патроном, установленным ниже оси ствола;
на Фиг.7 – фиксирующий выступ рамки и магазин, вид сзади.
Пистолет содержит магазин 1 (Фиг.1, Фиг.2), имеющий загиб 2, взаимодействующий с очередным патроном 3, расположенным в магазине 1 на высоте оси ствола 4 или близком к оси расстоянии. Загиб 2 охватывает патрон 3 сверху на глубину L (Фиг.2), тем самым удерживая его от выпадения. Снизу патрон 3 взаимодействует с подавателем 5 с пружиной 6 или нижним патроном 3 в магазине 1. Патрон 3 имеет возможность возвратно-поступательного движения относительно магазина 1 и ствола 4. Магазин 1 в задней части имеет отражатель 7, взаимодействующий с донышком стреляной гильзы при движении гильзы и затвора 8 назад. Со стороны загиба 2 магазин 1 имеет вырез Н (Фиг.2), через который выводится стреляная гильза и размещается досылающий выступ 9 затвора 8. Ствол 4 имеет патронник 10. Магазин 1 расположен в рамке 11 непосредственно перед стволом 4 (Фиг.1). Затвор 8 имеет вырез 12 (Фиг.3), в котором расположен загиб 2 магазина 1 при переднем расположении затвора 8.
Во втором варианте выполнения пистолет содержит выступ 13 ствола 4 (Фиг.4, Фиг.5) в качестве элемента, взаимодействующего с очередным патроном 3 при его верхнем расположении на высоте оси ствола 4 или близком к оси расстоянии. Выступ 13 имеет загиб 14, охватывающий сверху патрон 3 на глубину L (Фиг.5), тем самым удерживая его от выпадения. Патрон 3 имеет возможность возвратно-поступательного движения относительно выступа 13 ствола 4. Выступ 13 ствола 4 в задней части имеет отражатель 7, взаимодействующий с донышком стреляной гильзы при движении гильзы и затвора 8 назад. Со стороны загиба 14 выступ 13 ствола 4 имеет вырез Н (Фиг.5), через который выводится стреляная гильза и размещается досылающий выступ 9 затвора 8. Внутренняя часть выступа 13 является продолжением патронника 10. Магазин 1 расположен под досылающим выступом 9 затвора 8. Магазин 1 в верхней части имеет фиксирующий выступ 15, взаимодействующий с верхним патроном 3 в магазине 1. Фиксирующий выступ 15 в верхней части имеет наклонную поверхность 16, которая взаимодействует с соответствующей наклонной поверхностью 17 выступа 13 ствола 4 при магазине 1, вставленном в рамку 11. Фиксирующий выступ 15 магазина 1 подпружинен и имеет возможность ограниченного поперечного движения.
В третьем варианте выполнения пистолет содержит выступ 18 рамки 11 (Фиг.6, Фиг.7) в качестве элемента, взаимодействующего с очередным патроном 3 при его верхнем расположении на высоте оси ствола 4 или близком к оси расстоянии. Выступ 18 имеет загиб 19, охватывающий сверху патрон 3 на глубину L (Фиг.7), тем самым удерживая его от выпедания. Патрон 3 имеет возможность возвратно-поступательного движения относительно выступа 18 рамки 11. Выступ 18 рамки 11 в задней части имеет отражатель 7, взаимодействующий с донышком стреляной гильзы при движении гильзы и затвора 8 назад. Со стороны загиба 19 выступ 18 рамки 11 имеет вырез Н (Фиг.7), через который выводится стреляная гильза и размещается досылающий выступ 9 затвора 8. Магазин 1 расположен под досылающим выступом 9 затвора 8. Магазин 1 в верхней части имеет фиксирующий выступ 15, взаимодействующий с верхним патроном 3 в магазине 1. Фиксирующий выступ 15 в верхней части имеет наклонную поверхность 16, взаимодействующую с соответствующей наклонной поверхностью 17 выступа 18 рамки 11 при магазине 1, вставленном в рамку 11. Фиксирующий выступ 15 магазина 1 подпружинен и имеет возможность ограниченного поперечного движения.
Механизм работает следующим образом.
Для заряжания оружия нужно отвести затвор 8 в заднее положение и вставить магазин 1 в рамку 11 оружия. При этом очередной патрон 3 (Фиг.1, Фиг.2) располагается на высоте оси ствола 4 или близком от оси расстоянии. Очередной патрон 3 фиксируется загибом 2 магазина 1, охватывающим его сверху на глубину L (Фиг.2), удерживая от выпадения. При движении затвора 8 вперед он досылает выступом 9 очередной патрон 3 в патронник 10 ствола 4. В этом случае патрон 3 входит в патронник 9 по оси ствола 4 без каких-либо перекосов и взаимодействий с рамкой 11 оружия. При движении затвора 8 вперед загиб 2 магазина 1 проходит вдоль выреза 12 затвора 8. После выстрела затвор 8 двигается назад, вытаскивая из патронника 10 стреляную гильзу с помощью выбрасывателя (не показано). При достижении отражателя 7 магазина 1 донышко гильзы упирается в него своим краем и последняя выбрасывается из оружия.
В случае расположения загиба 13 на стволе 4 (Фиг.4) или загиба 19 на рамке 11 (Фиг.6) отводить затвор 8 назад для того, чтобы вставить магазин 1 в рамку 11, не требуется. В этом случае при досылке магазина 1 вверх наклонная поверхность 16 подпружиненного фиксирующего выступа 15 патрона 3 магазина 1 взаимодействует с соответствующей наклонной поверхностью 17 (Фиг.4, Фиг.5) выступа 13 ствола 4 или наклонной поверхностью 17 (Фиг.6, Фиг.7) выступа 18 рамки 11. При следующем движении вверх магазина 1 наклонные поверхности 16, 17 отклоняют фиксированный выступ 15, освобождая верхний патрон 3, в результате чего при отводе затвора 8 назад под действием подпружиненного подавателя 5 патрон 3 поднимается вверх на линию досылания – ось канала ствола 4.
Формула изобретения
1. Пистолет, содержащий ствол, магазин, подаватель магазина, пружину подавателя, рамку, отражатель, выбрасыватель, установленный в затворе, отличающийся тем, что в корпусе магазина выполнен загиб для удержания очередного патрона на оси ствола или на близком к ней расстоянии и вывода стреляной гильзы, а отражатель выполнен в задней части корпуса магазина для взаимодействия с гильзой при ее движении назад в момент выброса, при этом затвор имеет вырез для размещения загиба магазина.
2. Пистолет, содержащий ствол, магазин, подаватель магазина, пружину подавателя, рамку, отражатель, выбрасыватель, установленный в затворе, отличающийся тем, что ствол имеет выступ или деталь, соединенную со стволом, для фиксации очередного патрона, удержания его на оси ствола или на близком к ней расстоянии и вывода стреляной гильзы, отражатель выполнен в задней части выступа ствола или детали, соединенной со стволом, для взаимодействия с ним гильзы при ее движении назад в момент выброса, а магазин имеет фиксирующий выступ для автоматического освобождения верхнего патрона при вставленном в рамку магазине.
3. Пистолет по п.2, отличающийся тем, что верхний патрон в магазине расположен ниже оси ствола.
4. Пистолет, содержащий ствол, магазин, подаватель магазина, пружину подавателя, рамку, отражатель, выбрасыватель, установленный в затворе, отличающийся тем, что рамка имеет выступ или деталь, соединенную с рамкой для фиксации очередного патрона, удержания его на оси ствола или на близком к ней расстоянии и вывода стреляной гильзы, отражатель выполнен в задней части выступа рамки или детали, соединенной с рамкой для взаимодействия с ним гильзы при ее движении назад в момент выброса, а магазин имеет фиксирующий выступ для автоматического освобождения верхнего патрона при вставленном в рамку магазине.
5. Пистолет по п.4, отличающийся тем, что верхний патрон в магазине расположен ниже оси ствола.
РИСУНКИ
|
|