|
|
(21), (22) Заявка: 2009116570/02, 29.04.2009
(24) Дата начала отсчета срока действия патента:
29.04.2009
(46) Опубликовано: 10.08.2010
(56) Список документов, цитированных в отчете о поиске:
RU 2205341 С2, 27.05.2003. RU 2112193 С1, 27.05.1998. WO 2007031611 A1, 22.03.2007. US 2003154851 A1, 21.08.2003.
Адрес для переписки:
300001, г.Тула, Щегловская засека, 59, Государственное унитарное предприятие “Конструкторское бюро приборостроения”
|
(72) Автор(ы):
Слугин Валерий Георгиевич (RU), Кисляк Владимир Александрович (RU), Машкин Анатолий Семенович (RU), Бурлаков Борис Валентинович (RU), Карасев Владимир Павлович (RU), Воронин Михаил Федорович (RU)
(73) Патентообладатель(и):
Государственное унитарное предприятие “Конструкторское бюро приборостроения” (RU)
|
(54) АВТОМАТИЧЕСКОЕ ОРУЖИЕ
(57) Реферат:
Изобретение относится к военной технике, конкретнее к автоматическому оружию зенитных самоходных установок. Автоматическое оружие содержит агрегат стволов и люльку, закрепленную в поворотной цапфе, установленной на башне боевой машины. Оружие выполнено в виде высокотемпного зенитного автомата, ствольная коробка которого снабжена осью с закрепленным на ней корпусом амортизатора, в котором установлены шток с набором внешних и внутренних колец, упорные кольца и компенсатор, являющийся упором зенитного автомата при откате и взаимодействующий торцевыми поверхностями с упорным кольцом и со ствольной коробкой. Шток снабжен буртиком, размещенным в пазу, выполненном в силовой перемычке люльки, и зафиксирован подпружиненным плунжером. Изобретение обеспечивает повышение надежности работы автоматического оружия. 2 ил.
Изобретение относится к военной технике, к высокотемпному оружию зенитных самоходных установок.
Известны курсовые пулеметы, установленные в передней части корпуса бронетранспортера у правого и левого бортов (Бронетранспортер БТР-Д, техническое описание. Москва, военное издательство, 1988 г, стр.51). Курсовые пулеметы установлены в амбразурах и крепятся на рамах, соединенных с корпусом через шаровые опоры. С обеих сторон рамы имеются направляющие, в которые входят ползуны. Ползуны соединяются с пулеметом с помощью проушины и чеки. В отверстие переднего ползуна установлен амортизатор, включающий переднюю и заднюю пружины, болт и гайку с контргайкой. Амортизатор смягчает удары при отдаче пулемета во время стрельбы и возвращает его в исходное положение после выстрела.
Известен блок оружия, установленный в боевой машине пехоты ((Боевая машина пехоты БМП-2, техническое описание и инструкция по эксплуатации, часть 1, Москва, военное издательство, 1987 г, стр.68). Блок оружия предназначен для поражения наземных (легкобронированные средства, живая сила противника и т.д.) и воздушных целей.
Блок оружия состоит из следующих основных частей: автоматической пушки, установленной в маске, шарнирно закрепленной в башне боевой машины. Автоматическая пушка состоит из ствольной коробки, агрегата ствола, затворной рамы, возвратной пружины, затыльника, электроспуска. Агрегат ствола крепится на ствольной коробке с возможностью возвратно-поступательного движения. Роль амортизатора агрегата ствола выполняет цилиндрическая витая возвратная пружина, которая уменьшает усилие отдачи оружия на установку.
Известна стрелково-пушечная установка (Патент 2205341 от 18.07.2001 г., RU МПК8 F41A 23/28), выбранная в качестве прототипа.
Стрелково-пушечная установка содержит автоматическое оружие, размещенное в направляющих люльки и подпружиненное относительно люльки амортизатором. Люлька выполнена в виде балки, жестко закрепленной на цапфе, шарнирно установленной в корпусе носителя с возможностью вертикального наведения оружия. Направляющие люльки выполнены в виде цилиндрических вкладышей, шарнирно закрепленных в проушинах люльки. Оси шарниров расположены параллельно оси цапфы. На торцевых поверхностях вкладышей выполнены пазы, в которых установлено с возможностью продольного перемещения автоматическое оружие.
Недостатком указанных конструкций оружия является низкая надежность работы амортизаторов при высоком темпе стрельбы. Цилиндрические витые пружины надежно работают при скоростях движения подвижных частей не более 10 м/сек. Зенитное автоматическое оружие обладает большим темпом стрельбы, в результате чего пружины амортизатора с витыми пружинами работают с соударением витков, что приводит к их поломке.
Задачей предполагаемого изобретения является повышение надежности работы автоматического оружия зенитного самоходного комплекса.
Поставленная задача решается автоматическим оружием, содержащим агрегат стволов и люльку, закрепленную в поворотной цапфе, установленной на башне боевой машины. Новым является то, что автоматическое оружие выполнено в виде высокотемпного зенитного автомата, ствольная коробка которого снабжена осью с закрепленным на ней корпусом амортизатора. В корпусе амортизатора установлен шток с набором внешних и внутренних колец, упорные кольца и компенсатор, являющийся упором зенитного автомата при откате и взаимодействующий торцевыми поверхностями с упорным кольцом и со ствольной коробкой. Шток снабжен буртиком, размещенным в пазу, выполненном в силовой перемычке люльки, и зафиксирован подпружиненным плунжером.
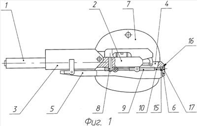
Предложенное техническое решение поясняется графическими материалами, где на фиг.1 изображен общий вид автоматического оружия, на фиг.2 – конструкция амортизатора.
Автоматическое оружие выполнено в виде высокотемпного двуствольного зенитного автомата 1. Зенитный автомат 1 состоит из ствольной коробки 2 и агрегата стволов 3. Зенитный автомат 1 установлен в качающейся части 4, размещенной на боковой поверхности башни боевой машины. Качающаяся часть 4 состоит из люльки 5 с силовой перемычкой 6. Люлька 5 закреплена на поворотной цапфе 7. Ствольная коробка 2 снабжена осью 8 с закрепленным на ней корпусом амортизатора 9. В корпусе амортизатора 9 установлены: шток 10 с набором внешних 11 и внутренних 12 колец, упорные кольца 13 и компенсатор 14. Компенсатор 14 одной торцевой поверхностью взаимодействует с упорным кольцом 13, а другим – со ствольной коробкой 2. Шток 10 снабжен буртиком 15, размещенным в пазу 16 силовой перемычки 6, и зафиксирован подпружиненным плунжером 17.
Автоматическое оружие работает следующим образом. При выстреле зенитный автомат 1 откатывается назад и ствольной коробкой 2 упирается в компенсатор 14, который в свою очередь воздействует на упорное кольцо 13, внешнее кольцо 11 и внутреннее кольцо 12. При этом часть энергии отката поглащается за счет трения и деформации внешних и внутренних колец. При последующем движении вперед (выкат) корпус амортизатора 9 своим буртиком 18 воздействует на упорное кольцо 13, внешнее кольцо 11, внутреннее кольцо 12 и на шток 10.
Таким образом, предложенное техническое решение позволило повысить надежность работы зенитного автоматического оружия за счет обеспечения надежной работы амортизатора при скоростях – в 1.5 раза больших по сравнению с прототипом.
Формула изобретения
Автоматическое оружие, содержащее агрегат стволов и люльку, закрепленную в поворотной цапфе, установленной на башне боевой машины, отличающееся тем, что оно выполнено в виде высокотемпного зенитного автомата, ствольная коробка которого снабжена осью с закрепленным на ней корпусом амортизатора, в котором установлен шток с набором внешних и внутренних колец, упорные кольца и компенсатор, являющийся упором зенитного автомата при откате и взаимодействующий торцевыми поверхностями с упорным кольцом и со ствольной коробкой, при этом шток снабжен буртиком, размещенным в пазу, выполненном в силовой перемычке люльки, и зафиксирован подпружиненным плунжером.
РИСУНКИ
|
|