|
|
(21), (22) Заявка: 2008118253/13, 07.05.2008
(24) Дата начала отсчета срока действия патента:
07.05.2008
(43) Дата публикации заявки: 20.11.2009
(46) Опубликовано: 10.08.2010
(56) Список документов, цитированных в отчете о поиске:
SU 580419 А2, 15.11.1977. RU 2311598 C1, 27.11.2007. SU 254395 A1, 01.01.1969. SU1692644 A1, 23.11.1991.
Адрес для переписки:
420140, г.Казань, ул.Чишмяле, 13, кв.1 М.М.Хасанову
|
(72) Автор(ы):
Хасанов Мониб Монирович (RU)
(73) Патентообладатель(и):
Хасанов Мониб Монирович (RU)
|
(54) АВТОМАТИЧЕСКАЯ ЭНЕРГОСБЕРЕГАЮЩАЯ ЗЕРНОСУШИЛКА
(57) Реферат:
Изобретение относится к устройствам тепловой обработки термочувствительных материалов, например зерна. Автоматическая энергосберегающая зерносушилка содержит теплоизолированную шахту с двумя теплообменниками, автоматическую систему регулирования изотермического режима сушки и автоматическую систему загрузки и выгрузки зерна при помощи информационно-измерительной системы на базе микроконтроллера. Один из теплообменников расположен в верхней части шахты и состоит из квадратных труб, установленных наклонно и сообщенных со сборником воды для удаления без контакта с сушащимся зерном образующегося в трубах конденсата при прохождении сушильного агента, который в дальнейшем участвует в сушильном процессе. Второй теплообменник расположен в нижней части шахты и связан с вентилятором, служащим для подачи холодного воздуха, и заслонкой для возврата тепла, отобранного из теплообменника, в сушильную зону. Изобретение направлено на повышение интенсивности, экономичности и качества сушки зерна. 2 ил.
Изобретение относится к устройствам тепловой обработки термочувствительных материалов, например зерна.
Известна зерносушилка (см. патент SU 1692644 А1), содержащая загрузочное устройство, бункер, вытяжные короба, через которые отводится влага, бункер сооружен с перфорированным дном, через которое подается под напором теплоноситель.
Известно сушильное устройство (см. А.С. СССР 580419), где зерно подают сверху, а нагретый воздух поступает навстречу зерну под напором от вентилятора по воздухоподающему каналу. В сушильной камере в шахматном порядке размещены короба, открытые снизу – туда подается сушильный агент (нагретый воздух). Зерно перемещается между коробами вниз под действием собственного веса. Теплоноситель, проходя сквозь зерно, насыщается влагой и выводится наружу по выводному каналу.
Недостатком данных устройств является то, что процесс сушки зерна замедляется ввиду того, что сушащий агент перенасыщается влагой и у холодных стенок зерносушильных шахт, а также в сырых верхних слоях зерна происходит конденсация влаги. Эта влага (вода) орошает заново всю массу сушащегося зерна. Кроме того, для охлаждения зерна после прохода сушильных шахт применяются охладительные колонки, где зерно охлаждается путем продувки атмосферного воздуха. Происходит повышенное потребление тепловой энергии.
Задачей изобретения является интенсификация, повышение экономичности и качества процесса сушки зерна.
Задача достигается тем, что теплообменники размещены в шахте зерносушилки, причем один из них расположен в верхней части шахты и состоит из квадратных труб, установленных наклонно и сообщенных со сборником воды для удаления без контакта с сушащимся зерном образующегося в трубах конденсата при прохождении сушильного агента, который в дальнейшем участвует в сушильном процессе, при этом второй теплообменник расположен в нижней части шахты и связан с вентилятором, служащим для подачи холодного воздуха, и заслонкой для возврата тепла, отобранного из теплообменника, в сушильную зону.
Технический результат заключается в том, что благодаря такому решению расход тепловой энергии значительно уменьшается. Температура зерна при сушке не поднимается до критического, благодаря перепуску подогретого, недосушенного зерна повторно в надсушильный бункер зерносушилки, где оно участвует в процессе сушки – происходит съем влаги конвективно-сорбционным способом. Зерно не теряет своих высоких качеств, в том числе и всхожесть.
При достижении требуемой влажности высушенное зерно охлаждается в охлаждаемой зоне на выходе из зерносушилки (в трубном охладителе) наружным холодным воздухом. Отобранное таким образом тепло отводится обратно в сушильную шахту. Охлажденное зерно выгружается в бункер сухого зерна.
Работает зерносушилка непрерывно (не требует перерывов на загрузку, выгрузку и охлаждения зерна).
Существенным преимуществом теплоизолированной зерносушилки является подача чистого без продуктов сгорания сушильного агента.
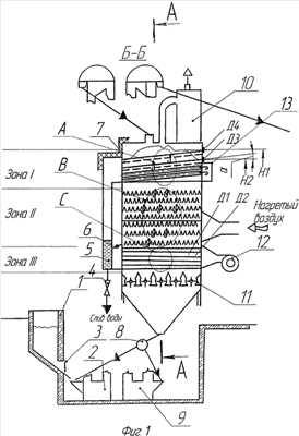
Предлагаемое изобретение поясняется чертежами, где показана принципиальная схема автоматической энергосберегающей зерносушилки (топка – теплогенератор зерносушилки на чертеже не показана).
Зерносушилка состоит из надсушильного бункера (зона I), куда подается самотеком из загрузочной нории 2 сырое зерно, двух параллельно расположенных сушильных шахт (зона II) и охладительной зоны (зоны III).
Теплоизолированная (например, минватой) зерносушилка 7 содержит приемный бункер (завальная яма), загрузочную норию 2 и рециркуляционную норию 9, систему подводящих треугольных коробов В, открытых снизу для подвода и отвода нагретого воздуха (сушильного агента) в сушильные шахты, вводной (входной) канал шахты для ввода подогретого сушильного агента, наклонный трубный охладитель А для конденсации влаги сушильного агента, трубный охладитель зерна С с вентилятором 12, приводную заслонку-шибер 3, приводной инвентор-рассекатель зерна 8, приводное выгружное устройство 11, приводную заслонку 6, сборник воды 5, бункер сухого зерна 14 и циклон 10.
Работа зерносушилки осуществляется следующим образом.
С автомашин влажное зерно пересыпается в приемный бункер 1 (завальная яма), оттуда норией 2 подается в зерносушилку 7 до уровня H1 (датчик уровня Д4) в надсушильный бункер (зона I), далее сушащий нагретый воздух из топки подается вентилятором (на схеме не показан) во входной (вводной) канал сушильной шахты. Нагретый сушильный агент (воздух) протекает через зерно снизу вверх при помощи систем подводящих коробов В, открытых снизу. В зерносушилке под действием силы тяжести зерно движется сверху вниз со скоростью, определяемой работой выпускного механизма 11. Насыщенный в процессе сушки влагой воздух проходит в наклонный верхний трубный охладитель А по воздушным коробам 13. Происходит конденсация влаги, которая удаляется наружу в сборник воды 5. Периодически ее сливают краном 4. Сырой и охлажденный сушильный агент выводится через циклон 10 в атмосферу.
Датчики влажности и температуры зерна (Д1 и Д2) расположены в нижней части зерносушилки (зона III). Если температура зерна в зерносушилке повышается выше базисной, а влажность его высока, то при помощи выгрузного устройства 11, инвентора-рассекателя 8 и нории 9 это зерно отбирается и подается в верхнюю часть шахты. Происходит рециркуляция зерна в зерносушилке. Нагретое зерно перемешивается с влажным холодным зерном и участвует в процессе сушки. Зерносушилка начинает работать в режиме досушивания влажного зерна.
В какой-то момент зерно высушивается в нижней части зерносушилки до определенного значения (например, до 14% относительной влажности) и срабатывает выгрузное устройство 11 совместно с устройством охлаждения 12 и инвентором-рассекателем 8. Тепло от зерна отбирается охлаждающим атмосферным воздухом в нижнем трубном охладителе С и подается через заслонку 6 обратно в сушильную камеру через воздушный короб 15 в зону сушки II. Нория 9 выгружает сухое и охлажденное зерно в бункер сухого зерна 14.
При падении уровня зерна в шахте до Н2 (датчик Д3) включается нория 2 и открывается шибер 3 в приемном бункере – идет дозагрузка сырого зерна до уровня H1. Если в это время влажность сушащегося зерна в нижней части шахты стала выше базисной или повысилась температура зерна, то срабатывает инвентор-рассекатель 8, нория 9 и нория 2 подают в зерносушилку совместно с сырым зерном и недосушенное подогретое зерно. При достижении уровня зерна в сушильной шахте до отметки H1 шибер 3 закрывается. Нория 9 останавливается. Нория 2 работает в режиме досушивания зерна в зерносушилке. Процесс сушки в зерносушилке контролирует командно-контроллер на базе микроконтроллера.
Автоматическая энергосберегающая зерносушилка позволяет производить в изотермическом режиме сушку любых видов зерна с экономией теплоэнергии.
Формула изобретения
Автоматическая энергосберегающая зерносушилка, содержащая теплоизолированную шахту, два теплообменника, автоматическую систему регулирования изотермического режима сушки и автоматическую систему загрузки и выгрузки зерна при помощи информационно-измерительной системы на базе микроконтроллера, отличающаяся тем, что теплообменники размещены в шахте зерносушилки, причем один из них расположен в верхней части шахты и состоит из квадратных труб, установленных наклонно и сообщенных со сборником воды для удаления без контакта с сушащимся зерном образующегося в трубах конденсата при прохождении сушильного агента, который в дальнейшем участвует в сушильном процессе, при этом второй теплообменник расположен в нижней части шахты и связан с вентилятором, служащим для подачи холодного воздуха, и заслонкой для возврата тепла, отобранного из теплообменника, в сушильную зону.
РИСУНКИ
|
|