|
|
(21), (22) Заявка: 2009107571/06, 04.03.2009
(24) Дата начала отсчета срока действия патента:
04.03.2009
(30) Конвенционный приоритет:
08.03.2008 DE 102008013277.2
(46) Опубликовано: 10.08.2010
(56) Список документов, цитированных в отчете о поиске:
ЕР 1243887 A1, 25.09.2002. DE 29502860 U1, 06.04.1995. ЕР 1729073 A1, 06.12.2006. RU 23666 U1, 27.06.2002.
Адрес для переписки:
191002, Санкт-Петербург, а/я 5, ООО “Ляпунов и партнеры”, пат.пов. Е.Г.Ильмер, рег. 1144
|
(72) Автор(ы):
СОРЕНСЕН Сорен Хольм (DK)
(73) Патентообладатель(и):
ДАНФОСС А/С (DK)
|
(54) СЕКЦИОННЫЙ РАДИАТОР
(57) Реферат:
Изобретение относится к области теплотехники, а именно к секционным радиаторам. Секционный радиатор (1), оснащенный несколькими секциями (2, 3), каждая из которых содержит соединительные напорные трубы (6-9) и, по меньшей мере, один теплообменник (4, 5), присоединена к другой секции указанными соединительными напорными трубами (6-9) и изолирована от окружающей среды в зоне этих соединений, при этом первая секция (2) содержит вставной клапанный узел (15), который размещен в первой соединительной напорной трубе (6), проходящей в противоположную от второй секции (3) сторону, и заходит во вторую соединительную напорную трубу (7), проходящую в сторону второй секции (3), причем между вставным клапанным узлом (15) и второй соединительной напорной трубой (7) предусмотрено уплотнение (27), при этом уплотнение снабжено несколькими периферическими пластинами (29), обеспечивающими соответствующее число зон уплотнения. Технический результат изобретения заключается в обеспечении возможности управления теплоносителем посредством только вставного клапанного узла. 8 з.п. ф-лы, 2 ил.
Изобретение относится к секционному радиатору, оснащенному несколькими секциями, каждая из которых содержит соединительные напорные трубы и по меньшей мере один теплообменник, присоединена к другой секции указанными соединительными напорными трубами и изолирована от окружающей среды в зоне этих соединений, при этом первая из секций содержит вставной клапанный узел, который размещен в первой соединительной напорной трубе, проходящей в противоположную от второй секции сторону, и заходит во вторую соединительную напорную трубу, проходящую в сторону второй секции.
Подобный секционный радиатор описан в итальянском патенте 01300587. Согласно данному патенту, теплообменник первой секции используется в качестве подводящей трубы, через которую поступает теплоноситель. Протекание теплоносителя через секционный радиатор регулируется вставным клапаном. Трубка вставного клапанного узла проходит внутрь соединительной муфты, предусмотренной между первой и второй секциями. Зона между этой трубой и соединительной муфтой герметизирована уплотнением.
В такой конструкции существует вероятность протечки, в частности внутренней протечки, вследствие чего невозможно обеспечить управление потоком теплоносителя только лишь посредством вставного клапана.
Таким образом, задача данного изобретения заключается в обеспечении возможности управления теплоносителем посредством только вставного клапана.
Поставленная задача решена путем создания секционного радиатора, оснащенного несколькими секциями, каждая из которых содержит соединительные напорные трубы и по меньшей мере один теплообменник, присоединена к другой секции указанными соединительными напорными трубами и изолирована от окружающей среды в зоне этих соединений, при этом первая из секций содержит вставной клапанный узел, который размещен в первой соединительной напорной трубе, проходящей в противоположную от второй секции сторону, и заходит во вторую соединительную напорную трубу, проходящую в сторону второй секции, причем между вставным клапанным узлом и второй соединительной напорной трубой предусмотрено уплотнение. Предложенный радиатор характеризуется тем, что уплотнение снабжено несколькими периферическими пластинами, обеспечивающими соответствующее число зон уплотнения.
В результате, теплоноситель (например горячая вода), поступающий через теплообменник первой секции, может проходить только во вставной клапанный узел. Дальнейшее прохождение теплоносителя возможно только через клапан вставного клапанного узла. Уплотнение блокирует путь в обход клапана между первой секцией и второй секцией. При таком соединении уплотнение установлено, например, упирающимся во внутреннюю поверхность второй соединительной напорной трубы и во внешнюю поверхность вставного клапанного узла. В предпочтительном случае уплотнение имеет кольцевую форму, вследствие чего протекание теплоносителя в обход клапана надежно блокируется по всей окружности вставного клапанного узла. При этом нет необходимости использовать дополнительное уплотнение, например, между соединительной муфтой, соединяющей две указанные секции, и соединительной напорной трубой.
Как указано выше, уплотнение снабжено несколькими периферическими пластинами. Если используется большое число пластин, например две, три, четыре или пять, то имеется соответствующее большое число зон уплотнения. В этом случае, даже если теплоноситель сможет пройти мимо первой пластины, сопротивление потоку, оказываемое второй и последующими пластинами, будет настолько высоким, что через все уплотнение теплоноситель фактически не пройдет.
В предпочтительном случае внешний диаметр по меньшей мере одной пластины превышает внутренний диаметр второй соединительной напорной трубы в зоне уплотнения. В результате этого, указанная по меньшей мере одна пластина упирается во внутреннюю поверхность соединительной напорной трубы с некоторым усилием. Чем больше это усилие, тем лучше герметизация. Уплотнение выполнено из упругого материала. Поскольку внешний диаметр пластин превышает внутренний диаметр второй соединительной напорной трубы, уплотнение деформируется. Восстанавливающие силы, обусловленные упругостью, обеспечивают прижим уплотнения ко второй соединительной напорной трубе.
В предпочтительном случае пластина расположена с наклоном наружу в направлении первой соединительной напорной трубы. Преимущество такого расположения заключается в улучшении эффекта герметизации, которое происходит благодаря тому, что теплоноситель действует на уплотнение с некоторым давлением. Давление теплоносителя прижимает пластину еще сильнее ко второй соединительной напорной трубе. Как упомянуто выше, более сильный прижим улучшает герметизацию. Без воздействия теплоносителя уплотнение прижимается ко второй соединительной напорной трубе с меньшей силой. Такое положение вещей упрощает установку, поскольку во время установки на уплотнение еще не действует высокое давление. Указанное наклонное положение пластины обеспечивают достаточно просто путем сдвигания уплотнения от первой соединительной напорной трубы ко второй соединительной напорной трубе. Возникающее при этом трение между второй соединительной напорной трубой и пластиной обуславливает желаемый наклон пластины.
В предпочтительном случае уплотнение снабжено средством предотвращения смещения по вставному клапанному узлу. Это средство упрощает установку. Уплотнение можно заблаговременно разместить на вставном клапанном узле, пока тот находится вне секционного радиатора, и только после этого вставить клапанный узел в радиатор. По мере того как вставной клапанный узел фиксируют в первой соединительной напорной трубе, уплотнение автоматически прижимается к внутренней поверхности второй соединительной напорной трубы.
В предпочтительном случае средство предотвращения смещения включает в себя паз, выполненный в одном элементе из указанных вставного клапанного узла и уплотнения, и выступ, входящий в зацепление с этим пазом и предусмотренный на другом из указанных двух элементов. Например, во вставном клапанном узле выполнен круговой паз, а уплотнение имеет проходящий радиально внутрь выступ. Глубина зацепления выступа с пазом не должна быть чрезмерно большой. Следует лишь подобрать надлежащую силу трения, действующую на уплотнение при установке вставного клапанного узла. При относительно неглубоком пазе уплотнение достаточно легко устанавливать на вставной клапанный узел. Необходимо только немного расширить уплотнение в радиальном направлении. Такое соединение выступа с пазом также улучшает герметизацию между уплотнением и вставным клапанным узлом.
В предпочтительном случае, вторая соединительная напорная труба имеет внутреннюю резьбу, в которую ввинчена соединительная муфта, соединяющая первую и вторую секции, при этом указанное уплотнение предусмотрено вне пределов этой внутренней резьбы. Вне пределов указанной резьбы внутренняя поверхность второй соединительной напорной трубы может быть выполнена относительно гладкой. В этом случае герметизация между уплотнением и второй соединительной напорной трубой обеспечивается достаточно просто. Кроме того, такой вариант выполнения фактически исключает возможность повреждения уплотнения внутренней резьбой во время его установки во вторую соединительную напорную трубу.
В предпочтительном случае вставной клапанный узел оснащен трубкой в виде патрубка, проходящей до указанной зоны соединения, причем указанное уплотнение предусмотрено на данной трубке. Такая конструкция упрощает установку. Трубка, которая может быть выполнена в виде средства отклонения потока, может быть изготовлена из материала, отличного от материала остальной части корпуса вставного клапана. Поскольку трубка проходит во вторую соединительную напорную трубу, то устанавливать уплотнение относительно несложно.
В предпочтительном случае трубка прикреплена к соединительной муфте, вставляемой, предпочтительно ввинчиваемой, в первую соединительную напорную трубу. Такая конструкция упрощает установку вставного клапанного узла. Трубку можно соединить с соединительной муфтой, пока вставной клапанный узел находится вне секционного радиатора. Когда соединительную муфту со вставным клапаном и трубкой ввинчивают или иным способом вставляют в секционный радиатор, уплотнение занимает правильное положение автоматическим образом.
В предпочтительном случае трубка выполнена за одно целое с соединительной муфтой. Это позволяет исключить проведение дополнительных этапов соединения соединительной муфты с трубкой.
Далее изобретение описано более подробно на примере предпочтительных вариантов его выполнения, раскрытых со ссылкой на приложенные чертежи, на которых:
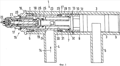
фиг.1 изображает сечение секционного радиатора, соответствующего первому варианту изобретения,
и фиг.2 изображает сечение секционного радиатора, соответствующего второму варианту изобретения.
Секционный радиатор 1 содержит первую секцию 2 и вторую секцию 3. Каждая секция 2, 3 оснащена теплообменником 4, 5 и двумя соединительными напорными трубами 6-9. Обе секции 2, 3 соединены соединительной муфтой 10, которая, точнее сказать, соединяет первую соединительную напорную трубу 8 второй секции 3 со второй соединительной напорной трубой 7 первой секции 2. Для этого соединительная муфта 10 может иметь две встречно направленные резьбы 11, 12, за счет которых секции 2, 3 будут стягиваться друг к другу соединительной муфтой 10 при осуществлении свинчивания. Между двумя секциями 2, 3 предусмотрено уплотнение 13, изолирующее секционный радиатор 1 от внешней среды. Ко второй секции 3 можно известным способом присоединять дополнительные секции.
В качестве подводящей трубы используется теплообменник 4 первой секции 2, через который в направлении стрелки 14 поступает теплоноситель, например горячая вода.
Для управления потоком теплоносителя предусмотрен вставной клапанный узел 15. Вставной клапанный узел 15 имеет соединительную муфту 16, ввинчиваемую в первую соединительную напорную трубу 6 первой секции 2. В соединительную муфту 16 ввинчен вставной клапан, имеющий корпус 17, клапанный элемент 18 и седло 19. Клапанный элемент 18 закреплен на толкателе 20, отжимаемом от седла 19 открывающей пружиной 21. Толкатель 20 приводится в действие активирующим штифтом 22, обычно приводимым в действие верхней частью термостатического клапана (детально не показана). В результате, толкатель отжимает клапанный элемент в направлении седла 19. Параметры объемного потока теплоносителя, протекающего через секционный радиатор 1, определяются расстоянием между клапанным элементом 18 и седлом 19 клапана, а также перепадом давлений на вставном клапане.
Вставной клапанный узел 15 снабжен трубкой 23, выполненной в виде средства отклонения потока. Это средство отклонения потока используется для направления теплоносителя, протекающего из теплообменника 4 к клапанному элементу 18 через седло 19, а также для отделения теплоносителя, находящегося до вставного клапанного узла 15, от теплоносителя, находящегося после вставного клапанного узла 15. Трубка 23 прикреплена к соединительной муфте посредством свинчивания. В трубке 23 предусмотрено боковое впускное отверстие 24, через которое втекающий через теплообменник 4 теплоноситель поступает во впускной канал 25, проходящий в направлении седла 19 клапана. Теплоноситель, протекающий между клапанным элементом 18 и седлом 19 клапана, достигает распределительной камеры 26 и отсюда может течь во внутреннее пространство соединительной муфты 10 и затем во вторую секцию 3.
С внешней стороны трубки 23 предусмотрено уплотнение 27, упирающееся во внутреннюю поверхность второй соединительной напорной трубы 7. Как указано выше, вторая соединительная напорная труба 7 имеет внутреннюю резьбу 28. Уплотнение 27 расположено за пределами внутренней резьбы 28.
Уплотнение 27 снабжено четырьмя пластинами 29, внешний диаметр которых несколько превышает внутренний диаметр второй соединительной напорной трубы 7. Если уплотнение 27 сдвинуть в сторону, противоположную первой соединительной напорной трубе 6, пластины 29 изогнутся в направлении первой напорной трубы 6. Если теплоноситель находится под некоторым давлением, то пластины 29 упираются во внутреннюю поверхность второй напорной трубы 7 с несколько большей силой. Это обеспечивает отличную степень герметизации. В результате исключается возможность прохождения теплоносителя из теплообменника 4 во вторую секцию мимо вставного клапанного узла 15. Этот путь блокирован уплотнением 27. Теплоноситель может пройти только через вставной клапанный узел 15. При этом следует отметить, что изоляция радиатора от внешней среды, обеспечиваемая расположенным между двумя секциями 2, 3 уплотнением 13, и внутренняя герметизация радиатора, обеспечиваемая уплотнением 27, не связаны друг с другом в отношении используемых компонентов.
Уплотнение 27 выполнено из эластичного материала, способного выдерживать температуру до 100°С. Для этих целей можно использовать резину или, например, EPDM (этилен-пропилен монодиен).
Трубка 23 имеет круговой паз 30. Уплотнение 27 снабжено проходящим радиально внутрь круговым выступом 31, входящим в зацепление с пазом 30. Такой вариант выполнения имеет два преимущества. Во-первых, уплотнение 27 защищено от смещения по трубке 23. Во-вторых, данная конструкция обеспечивает улучшенную герметизацию, в том числе между трубкой 23 и уплотнением 27.
Количество пластин 29 не ограничено четырьмя – их можно использовать в большем или меньшем количестве. Число пластин зависит, с одной стороны, от желаемой степени герметизации, а с другой стороны, от трения, которое требуется для установки вставного клапанного узла 15.
На чертеже также показано дополнительное уплотнение 32, размещенное между концом трубки 23 и внутренней поверхностью соединительной муфты 10. Однако в большинстве случаев это уплотнение 32 отсутствует.
На фиг.2 изображен второй вариант изобретения. Его элементы, соответствующие аналогичным элементам варианта, показанного на фиг.1, обозначены такими же номерами позиций.
Существенная особенность данного варианта вставного клапанного узла 15 заключается в том, что в нем используют трубку 23, выполненную за одно целое с соединительной муфтой 16. В трубку 23 вставляют средство 33 отклонения потока и соединяют его с корпусом 17 клапана.
Секции 2, 3 радиатора 1 имеют примыкающие друг к другу торцевые стороны 34, 35, каждая из которых образует торец соединительных напорных труб 7, 8. В первую соединительную напорную трубу 6 первой секции 2 вставлен резьбовой элемент 36, обеспечивающий фиксацию соединительной муфты 16.
Торцевые стороны 34, 35 могут быть соединены посредством сварки или спайки.
На трубке 23 также установлено уплотнение 27, снабженное радиальными пластинами 29, имеющими наклон в направлении первой соединительной напорной трубы 6. При таком соединении не все пластины упираются в торцевую стенку 34 второй соединительной напорной трубы 7. Однако желаемая степень герметизации обеспечивается даже в том случае, когда на вторую соединительную напорную трубу 7 опирается всего только одна пластина 29. Тем не менее, если при установке секционного радиатора возникают какие-либо нарушения, то лучше скорректировать эту ситуацию позволяют несколько пластин.
Формула изобретения
1. Секционный радиатор, оснащенный несколькими секциями, каждая из которых содержит соединительные напорные трубы и, по меньшей мере, один теплообменник, присоединена к другой секции указанными соединительными напорными трубами и изолирована от окружающей среды в зоне этих соединений, при этом первая из секций содержит вставной клапанный узел, который размещен в первой соединительной напорной трубе, проходящей в противоположную от второй секции сторону, и заходит во вторую соединительную напорную трубу, проходящую в сторону второй секции, причем между вставным клапанным узлом (15) и второй соединительной напорной трубой (7) предусмотрено уплотнение (27), отличающийся тем, что уплотнение (27) снабжено несколькими периферическими пластинами (29), обеспечивающими соответствующее число зон уплотнения.
2. Радиатор по п.1, отличающийся тем, что внешний диаметр, по меньшей мере, одной пластины (29) превышает внутренний диаметр второй соединительной напорной трубы (7) в зоне уплотнения (27).
3. Радиатор по п.2, отличающийся тем, что пластина (29) расположена с наклоном в направлении первой соединительной напорной трубы (6).
4. Радиатор по любому из пп.1-3, отличающийся тем, что уплотнение (27) снабжено средством (30, 31) предотвращения смещения по вставному клапанному узлу (15).
5. Радиатор по п.4, отличающийся тем, что средство (30, 31) предотвращения смещения включает в себя паз (30), выполненный в одном элементе из указанных вставного клапанного узла (15) и уплотнения (27), и выступ (31), входящий в зацепление с этим пазом (30) и предусмотренный на другом из указанных двух элементов.
6. Радиатор по любому из пп.1-3, отличающийся тем, что вторая соединительная напорная труба (7) имеет внутреннюю резьбу (28), в которую ввинчена соединительная муфта (10), соединяющая первую секцию (2) и вторую секцию (3), причем указанное уплотнение (27) предусмотрено вне пределов этой внутренней резьбы (28).
7. Радиатор по любому из пп.1-3, отличающийся тем, что вставной клапанный узел (15) оснащен трубкой (23) в виде патрубка, проходящей до указанной зоны соединения, причем указанное уплотнение (27) предусмотрено на данной трубке (23).
8. Радиатор по п.7, отличающийся тем, что трубка (23) прикреплена к соединительной муфте (16), вставляемой, предпочтительно ввинчиваемой, в первую соединительную напорную трубу (6).
9. Радиатор по п.8, отличающийся тем, что трубка (23) выполнена за одно целое с соединительной муфтой (16).
РИСУНКИ
|
|