|
(21), (22) Заявка: 2009112230/06, 02.04.2009
(24) Дата начала отсчета срока действия патента:
02.04.2009
(46) Опубликовано: 10.08.2010
(56) Список документов, цитированных в отчете о поиске:
ХЗМАЛЯН Д.М. и КАГАН Я.А. Теория горения и топочные устройства. – М.: Энергия, 1976, с.196, р.11-7. SU 1820151 A1, 07.06.1993. SU 1218249 А, 15.03.1986. SU 1607521 A1, 27.11.2001. SU 1574993, 30.06.1990. US 3785570 A, 15.01.1974. GB 2211594 A, 05.07.1989.
Адрес для переписки:
420066, г.Казань, ул. Красносельская, 51, Казанский государственный энергетический университет (ОПНТИ)
|
(72) Автор(ы):
Таймаров Михаил Александрович (RU), Таймаров Валерий Михайлович (RU)
(73) Патентообладатель(и):
Государственное образовательное учреждение высшего профессионального образования “Казанский государственный энергетический университет” (КГЭУ) (RU)
|
(54) ФОРСУНКА
(57) Реферат:
Изобретение относится к области энергетики и может быть использовано для сжигания органических жидких топлив и нефтесодержащих отходов в промышленных печах и топках котлов. Форсунка состоит из корпуса со штуцерами подвода топлива и распылителя, сопла в виде перевернутого стакана с радиальными боковыми отверстиями, расположенными у торца штуцера, угол наклона которых к вертикали равен 30°. В полости стакана, для саморегулирования проходного сечения отверстий, размещен плунжер с тарированной пружиной. С одной стороны у торца сопла между наружной поверхностью сопла и внутренней поверхностью корпуса установлена шайба, образуя полость для распылителя, которая имеет отверстия с углом наклона 30° к горизонтали, расположенные попарно с отверстиями сопла, а с противоположной стороны сопла смонтирован с возможностью перемещения вдоль оси распыливающий насадок, зафиксированный стопорной гайкой с тарированной мембраной, образуя с корпусом щелевое круговое отверстие. Такая форсунка позволяет исключить наброс пламени на противоположенную стенку, засорение топливных отверстий пластичными включениями и закоксовывание отверстий насадка при увеличении скорости выгорания при сжигании нефтеотходов. 1 ил.
Изобретение относится к области энергетики и может быть использовано для сжигания органических жидких топлив и нефтесодержащих отходов в промышленных печах и топках котлов.
Горение жидких топлив происходит после их испарения в основном в паровой и газовой фазах, поэтому интенсификация сжигания жидких топлив связана с интенсификацией их испарения, газификацией и смесеобразованием. Испарение интенсифицируется путем многократного увеличения поверхности испарения распылением жидкого топлива на мелкодисперсные частицы. Равномерным распределением мелкодисперсного топлива в турбулизированных потоках воздуха обеспечивается хорошее смешение образующихся паров с воздухом.
Распыление – сложный комплекс физико-химических процессов. Для распыления жидких топлив и нефтесодержащих отходов в промышленных печах и топках котлов применяют паровые и воздушные форсунки. В паровых форсунках для распыления топлива используют водяной пар, в воздушных – нагретый воздух.
Известна паровая форсунка, состоящая из корпуса со штуцерами для подвода мазута и пара, центрального мазутного сопла, шайбы с отверстиями для периферийного подвода пара, диффузора (А.А.Винтовкин и др. Горелочные устройства промышленных печей и топок. Справочник. – М.: Интермет Инжиниринг, 1999, с.262). Распыление мазута достигается за счет использования перегретого пара с температурой 220-250°С с давлением 7 кг/см2. Вместо перегретого пара может быть использован нагретый до температуры 220-250°C воздух и давлением 7 кг/см2. Недостатками этой паровой форсунки являются:
1. Длинный факел из-за подачи мазута под давлением 4 кг/см2 по центральному соплу, что вызывает наброс факела на противоположную стенку топки и ее разрушение.
2. Засорение центрального сопла со стороны подачи при сжигании плохо очищенных от механических примесей нефтеотходов.
3. Недостаточное дробление центральной струи мазута распыливающим паром на мелкие капли и, как следствие, недогорание топлива.
4. Небольшой диапазон регулирования расхода мазута через форсунку, так как геометрические размеры факела стабильны лишь при определенных соотношениях значений давлений мазута, пара и проходных площадей сечений центрального сопла и отверстий периферийной шайбы.
5. Закоксовывание сопла с огневой стороны при длительной работе при сжигании нефтеотходов из-за образования коксовых отложений на стенках сопла.
Известна воздушная форсунка, состоящая из корпуса со штуцерами для подвода жидкого топлива и подогретого воздуха, воздушного центрального сопла, шайбы с отверстиями для периферийного подвода мазута, диффузора и распыливающего конического насадка с отверстиями для прохода диспергированного мазута (А.А.Винтовкин и др. Горелочные устройства промышленных печей и топок. Справочник. – М.: Интермет Инжиниринг, 1999. – 281 с.). Нагретый воздух подается при давлении 5 кг/см2, мазут – при 4 кг/см2.
Недостатками этой воздушной форсунки являются:
1. Длинный факел из-за выхода диспергированного мазута через круглые отверстия распыливающего насадка с большой скоростью, что вызывает наброс факела на противоположную стенку топки и ее разрушение.
2. Засорение периферийных отверстий подачи топлива в случае сжигания плохо очищенных нефтеотходов.
3. Недостаточная скорость выгорания топлива в случае сжигания нефтеотходов, так как скорость горения ограничивается скоростью подвода воздуха в зону горения из-за того, что топливо из распыливающего насадка выходит в виде капельной струи.
4. Небольшой диапазон регулирования расхода топлива через форсунку, так как геометрические размеры факела стабильны лишь при определенных соотношениях значений давлений мазута, воздуха и проходных площадей сечений центрального сопла и периферийных отверстий шайбы.
5. Закоксовывание отверстий насадка при длительной работе при сжигании нефтеотходов.
Наиболее близкой к заявляемому изобретению является мазутная паровая форсунка, состоящая из корпуса со штуцерами для подвода мазута и пара, парового центрального сопла, шайбы с отверстиями для периферийного подвода мазута, диффузора и распыливающего сферического насадка с отверстиями (Д.М.Хзмалян, А.Каган. Теория горения и топочные устройства. – М., Энергия, 1976, с.196 – прототип). Пар подается под давлением 12,5 кг/см2, мазут – под давлением 5 кг/см2. За счет высокой кинетической энергии пара при давлении 12 кг/см2 на выходе из сопла достигается первичное более тонкое дробление мазута. Применение пара с повышенным давлением позволяет увеличить диапазон регулирования расхода сжигаемого топлива через форсунку.
Недостатками этой паровой форсунки являются:
1. Длинный факел из-за выхода диспергированного мазута через круглые сечения распыливающего насадка с большой скоростью, что вызывает наброс факела на противоположную стенку топки и ее разрушение.
2. Засорение периферийных отверстий подачи топлива шайбы в случае плохо очищенных нефтеотходов.
3. Недостаточная скорость выгорания топлива в случае сжигания нефтеотходов, так как скорость горения ограничивается скоростью подвода воздуха в зону горения из-за того, что топливо из распыливающего насадка выходит в виде капельной струи.
4. Закоксовывание отверстий насадка при длительной работе при сжигании нефтеотходов.
Задачей настоящего изобретения является исключение наброса пламени на противоположенную стенку, засорения топливных отверстий пластичными включениями и закоксовывание отверстий насадка при увеличении скорости выгорания при сжигании нефтеотходов.
Технический результат достигается тем, что в форсунке, состоящей из корпуса со штуцерами подвода топлива и распылителя, сопла, шайбы с отверстиями, распыливающего насадка, центральное сопло для подачи топлива выполнено в виде перевернутого стакана с радиальными боковыми отверстиями, расположенными у торца штуцера, угол наклона которых к вертикали равен 30°, а в полости стакана, для саморегулирования проходного сечения отверстий, размещен плунжер с тарированной пружиной, шайба установлена между наружной поверхностью сопла и внутренней поверхностью корпуса, образуя полость для распылителя, и имеет отверстия с углом наклона 30° к горизонтали, которые расположены попарно с отверстиями сопла, с противоположной стороны сопла смонтирован с возможностью перемещения вдоль оси распыливающий насадок, зафиксированный стопорной гайкой с тарированной мембраной, образуя с корпусом щелевое круговое отверстие.
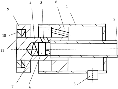
Форсунка приведена на чертеже.
Форсунка состоит из корпуса 1 с соосно смонтированным штуцером для подвода топлива 2 и боковым штуцером распылителя 3. На выходе штуцера для подвода топлива закреплено сопло 4, выполненное в виде перевернутого стакана с радиальными боковыми отверстиями 5, расположенными у торца штуцера, угол наклона которых к вертикали равен 30°, а внутри полости сопла размещены плунжер 6 с тарированной пружиной 7 для саморегулирования проходного сечения отверстий сопла. Между наружной поверхностью сопла 4 и внутренней поверхностью корпуса 1 установлена шайба 8 с наклонными к горизонтали отверстиями для подвода распылителя. С противоположной стороны сопла смонтирован с возможностью перемещения вдоль оси горелки распыливающий насадок 9, зафиксированный стопорной гайкой 10 с тарированной пружиной 11, образуя с корпусом щелевое круговое отверстие.
Заявляемая форсунка отличается тем, что топливное сопло 4 выполнено с возможностью саморегулирования проходного сечения в зависимости от вязкости топлива за счет плунжера 6 и тарированной пружины 7, а распыливающий насадок 9 выполнен плоским без отверстий с возможностью саморегулирования щелевого зазора между корпусом 1 и насадком 9 за счет стопорной гайки 10 и тарированной пружины 11.
Заявляемая форсунка работает следующим образом.
Через штуцер 2 подается жидкое топливо при давлении 3-5 кг/см2, а через штуцер 3 подается водяной пар или воздух с давлением 5-12 кг/см2. Топливо проходит через сопловые отверстия. Водяной пар проходит через отверстия шайбы 8. Топливные и паровые отверстия расположены попарно. Угол наклона к вертикали оси топливного отверстия 30°, а парового отверстия – 30° к горизонтали. При таких углах наклона отверстий в практике испытаний экспериментальной форсунки для сжигания нефтеотходов – тяжелых смол и водосмоляных эмульсий пиролизного производства было достигнуто наилучшее дробление капель.
При начальном пуске устанавливается равенство площадей проходных сечений топливных и паровых отверстий с помощью тарированной пружины 7. Первично паровая струя дробит за счет своей кинетической энергии топливную струю в точке встречи струй. Вторичное дробление образовавшихся при первичном дроблении капель происходит за счет сноса капель и их соударения с плоской поверхностью распыливающего насадка 9. Образовавшиеся в результате вторичного дробления мелкодисперсные капли в виде веера выносятся паром из зазора между корпусом 1 и насадком 9 в топку, при этом хорошо перемешиваясь с воздухом и тем самым образуя горючую смесь, которая при поджигании от запальника воспламеняется, и получается факел из продуктов горения. При равных площадях топливных отверстий в известной форсунке и в заявляемой форсунке площадь щели между корпусом 1 и насадком 9 в заявляемой форсунке в среднем в 5 раз превышает суммарную площадь отверстий сферического распыливающего насадка в известной форсунке, и тем самым достигается дополнительное дробление капель топлива от соударения с поверхностью насадка 9 в различных направлениях. Так как в заявляемой форсунке площадь выхода диспергированного топлива больше, то предотвращается образование локального закоксовывания при длительном сжигании нефтеотходов.
В случае попадания посторонних включений в топливное сопловое отверстие давление возрастает и передается на плунжер 6. Плунжер преодолевает сопротивление пружины 7 и перемещается, открывая проходное сечение топливного отверстия. Постороннее включение проходит через топливное отверстие и поступает на дробление струей пара. Таким образом предупреждается засор, связанный с наличием в сжигаемом топливе или в нефтепродуктах коагулянтов, тяжелых смол и других пластичных включений. При локальном закоксовывании или засорении щелевого зазора между насадком 9 и корпусом 1 происходит повышение давления пара перед щелевым зазором. Избыток давления передается на насадок 9, который преодолевает сопротивление пружины 11 и перемещается вдоль оси форсунки, увеличивая проходное сечение между корпусом горелки 1 и плоскостью насадка 9. Вследствие этого проходное сечение освобождается от засора или закоксовывания.
Пример конкретного осуществления работы форсунки.
Через штуцер 2 подается жидкое топливо при давлении 5 кг/см2, а через штуцер 3 подается водяной пар с температурой 250°C и давлением 12 кг/см2. Топливо проходит через три сопловые отверстия, диаметр каждого из которых 8 мм. Водяной пар проходит через три отверстия, максимальный диаметр каждого из которых 5 мм. Топливные и паровые отверстия расположены попарно. Угол наклона к вертикали оси топливного отверстия 30°, а парового отверстия – 30° к горизонтали. При начальном пуске устанавливается равенство площадей проходных сечений топливных и паровых отверстий с помощью тарированной пружины 7. Первично паровая струя дробит за счет своей кинетической энергии топливную струю в точке встречи струй. Вторичное дробление образовавшихся при первичном дроблении капель происходит за счет сноса капель и их соударения с плоской поверхностью распыливающего насадка 9. Образовавшиеся в результате вторичного дробления мелкодисперсные капли в виде веера выносятся паром из зазора между корпусом 1 и насадком 9 в топку, при этом хорошо перемешиваясь с воздухом и тем самым образуя горючую смесь, которая при поджигании от запальника воспламеняется, и получается факел из продуктов горения.
Производительность горелки с указанными диаметрами паровых и топливных отверстий составляет по мазуту 600 кг/ч. Расход пара с давлением равен 650 кг/ч. В качестве распыливающего энергоносителя может применяться нагретый до 250°C воздух при давлении 10 кг/см2 с расходом 780 м3/ч.
Преимущества заявляемого изобретения.
1. При сжигании жидких топлив получается короткий факел длиной 0,8 м при диаметре не более 2 м. В известной форсунке длина факела составляет 3 м при диаметре 1 м. Для котлов и печей малой производительности исключается наброс факела на противоположную стенку и ее преждевременное разрушение.
2. Отсутствие засорения топливных отверстий при попадании посторонних пластичных примесей размером, равным диаметру отверстий.
3. Повышение скорости выгорания топлива и отсутствие закоксовывания отверстий насадка в случае сжигания нефтеотходов, так как используется двухкратное дробление капель сжигаемого топлива и веерообразное раскрытие факела по периметру шели между корпусом и насадком. Площадь контакта частиц топлива с воздухом в заявляемой форсунке в 5 раз превосходит площадь сечения отверстий в известной форсунке.
4. Отсутствие закоксовывания отверстий насадка при длительной работе при сжигании нефтеотходов.
Формула изобретения
Форсунка, состоящая из корпуса со штуцерами подвода топлива и распылителя, сопла, шайбы с отверстиями, распыливающего насадка, отличающаяся тем, что сопло для подачи топлива выполнено в виде перевернутого стакана с радиальными боковыми отверстиями, расположенными у торца штуцера, угол наклона которых к вертикали равен 30°, а в полости стакана для саморегулирования проходного сечения отверстий размещен плунжер с тарированной пружиной, шайба с отверстиями установлена между наружной поверхностью сопла и внутренней поверхностью корпуса, образуя полость для распылителя, и имеет отверстия с углом наклона 30° к горизонтали, которые расположены попарно с отверстиями сопла, с противоположной стороны сопла смонтирован с возможностью перемещения вдоль оси распыливающий насадок, зафиксированный стопорной гайкой с тарированной мембраной, образуя с корпусом щелевое круговое отверстие.
РИСУНКИ
|