|
|
(21), (22) Заявка: 2009122124/06, 09.06.2009
(24) Дата начала отсчета срока действия патента:
09.06.2009
(46) Опубликовано: 10.08.2010
(56) Список документов, цитированных в отчете о поиске:
RU 2084749 C1, 20.07.1997. SU 1229503 A1, 07.05.1986. SU 156390 A1, 21.08.1963. SU 1519305 A2, 30.10.1993. CN 2269516 Y, 03.12.1997. FR 1146661 A, 14.11.1957.
Адрес для переписки:
198216, Санкт-Петербург, б-р Новаторов, 36, кв.51, В.И. Кулухову
|
(72) Автор(ы):
Кулухов Владимир Ильич (RU)
(73) Патентообладатель(и):
Кулухов Владимир Ильич (RU)
|
(54) СИЛЬФОННОЕ КОМПЕНСИРУЮЩЕЕ УСТРОЙСТВО
(57) Реферат:
Изобретение предназначено для компенсации деформаций и вибраций трубопроводных систем высокого давления во всех областях техники. Устройство содержит два одинаковых разгруженных сильфонных компенсатора 1 и 2, жестко соединенных патрубком 3. Компенсаторы 1 и 2 состоят из одинаковых крайних сильфонов 4 и 6 меньшего диаметра, которые жестко соединены двумя промежуточными фланцами 7 и 8 со средним сильфоном 5 большего диаметра и жестко связаны с концевыми фланцами 9 и 10. Каждый концевой фланец жестко соединен со вторым от него промежуточным фланцем посредством разгрузочных тяг 11, установленных снаружи крайних сильфонов 4, 6 и внутри среднего сильфона 5. Тяги 11 пропущены через проходные отверстия 14 промежуточных фланцев 7, 8 и изолированы от рабочей среды внутри среднего сильфона 5 гибкими элементами 15. Проходные отверстия 14 обеспечивают относительные перемещения тяг 11 в этих отверстиях при максимальных угловых перемещениях компенсаторов 1, 2. Технический результат: повышение устойчивости и технических характеристик устройства. 5 ил.
Изобретение относится к области компенсирующих устройств и защитной амортизации машиностроения и может быть использовано во всех отраслях техники для компенсации деформации газопроводов, паропроводов, воздухопроводов, присоединенных к амортизируемым механизмам в качестве виброизолирующего элемента
Известен сильфонный компенсатор (СК), состоящий из двух соосно расположенных сильфонов, которые жестко соединены друг с другом посредством патрубка и снабжены присоединительными фланцами (см. каталог “Bellows Type Expansion Joints. Okuda Sogable Co. Ltd., No. EE-1, ’83, p.20, Fig.12, Tabl. 10). Данный СК предназначен для компенсации больших осевых перемещений, когда для этой цели не достаточно одного сильфона. Недостатком конструкции является то, что СК передает распорные усилия на опоры трубопровода и механизмы и не может быть использован в трубопроводах с давлением рабочей среды значительно выше 10 атм вследствие потери устойчивости сильфонов. Кроме того, СК не компенсирует угловые и сдвиговых перемещения трубопровода.
Известен СК, в котором два соосно расположенных сильфона жестко соединены между собой соединительным патрубком, а концевые патрубки СК шарнирно связаны с тягами, воспринимающими распорные усилия от внутреннего давления рабочей среды (см. каталог HYDRA “Kompensatoren NW 1100 – NW 6000”. Ergänzung zu Taschehbuch Nr. 456, 1976, p.26-39). Установка тяг предотвращает передачу осевых распорных усилий на трубопроводы и механизмы и, за счет шарнирных узлов, обеспечивается сдвиговое перемещение одного торца СК относительно другого. Посредством дополнительных скользящих опор, жестко прикрепленных к соединительному патрубку, исключается потеря устойчивости СК при давлении рабочей среды. Однако такая конструкция СК не воспринимает осевые и угловые перемещения трубопровода и не обеспечивает снижение уровня вибраций, передаваемых трубопроводом, так как колебательная энергия от одного концевого патрубка СК к другому концевому патрубку передается через тяги.
Наиболее близким техническим решением, принятым за прототип, является сильфонное компенсирующее устройство (СКУ), описанное в патенте РФ 2084749, кл. МПК F16L 53/03. Это устройство представляет собой разгруженный компенсатор, который состоит из трех сильфонов, соосно расположенных так, что между двумя одинаковыми крайними сильфонами меньшего диаметра установлен средний сильфон большего диаметра. Сильфоны жестко соединены между собой двумя промежуточными фланцами, а на концах крайних сильфонов жестко закреплены концевые фланцы. Вдоль оси компенсатора, с наружной стороны крайних сильфонов и внутри среднего сильфона, установлены разгрузочные тяги, соединяющие каждый концевой фланец со вторым, наиболее удаленным от него, промежуточным фланцем. Тяги свободно пропущены через проходные отверстия промежуточных фланцев, расположенных между соединяемыми фланцами, изолированы от рабочей среды гибкими элементами и шарнирно закреплены на фланцах посредством сферических шайб, обеспечивающих сдвиговые перемещения компенсатора. Средний сильфон выполнен с эффективной площадью, которая рассчитана из условия равновесия распорных усилий в разгруженном компенсаторе и равна сумме эффективных площадей крайних сильфонов и эффективных площадей всех гибких элементов, используемых для изоляции тяг.
Под воздействием статических и динамических нагрузок разгруженный компенсатор совершает угловые, осевые и поперечные перемещения, которые вызывают относительное перемещение тяг в проходных отверстиях промежуточных фланцев. Диаметры проходных отверстий обеспечивают свободное перемещение тяг в этих отверстиях при максимально допустимых угловых и сдвиговых перемещениях компенсатора.
Описанный разгруженный компенсатор может воспринимать статистические и динамические деформации (сжатие-растяжение, сдвиг, изгиб), вызванные тепловыми расширениями трубопроводов, погрешностями монтажа и вибрациями энергетических установок. Достоинством разгруженного компенсатора является то, что он обеспечивает равновесие распорных усилий, действующих в нем вследствие наличия внутреннего давления рабочей среды. В процессе эксплуатации разгруженный компенсатор не передает усилия на опоры трубопроводов и механизмов, снижает уровень вибраций, передающихся по трубопроводу, так как отсутствует жесткая связь между крайними фланцами компенсатора. Кроме того, рассматриваемая конструкция позволяет создавать компенсаторы больших диаметров (DN>450 мм) для работы с рабочими средами более высоких параметров по сравнению с другими аналогами.
Технические характеристики компенсатора такой конструкции зависят от нескольких факторов, в том числе от длины среднего и крайнего сильфонов. Увеличение длины среднего и крайних сильфонов с целью повышения компенсирующей способности разгруженного компенсатора ведет к снижению устойчивости его конструкции под действие внутреннего давления среды и, как следствие, – к снижению его надежности в процессе эксплуатации. Поэтому компенсационные характеристики такого разгруженного компенсатора ограничены и не могут удовлетворить требования современных энергетических установок с высокими параметрами рабочей среды.
Задачей предлагаемого технического решения является повышение устойчивости и технических характеристик сильфонного компенсирующего устройства при сохранении равновесия распорных усилий, действующих в этом устройстве.
Поставленная задача достигается следующим образом Сильфонное компенсирующее устройство (СКУ) содержит разгруженный компенсатор, который состоит из трех сильфонов, фланцев и разгрузочных тяг, и в котором одинаковые крайние сильфоны меньшего диаметра жестко соединены двумя промежуточными фланцами со средним сильфоном большего диаметра и жестко связаны с концевыми фланцами. Каждый концевой фланец соединен со вторым от него промежуточным фланцем посредством разгрузочных тяг, установленных вдоль оси разгруженного компенсатора снаружи крайних сильфонов и внутри среднего сильфона. Разгрузочные тяги закреплены на соединенных ими фланцах, пропущены через проходные отверстия промежуточных фланцев, расположенных между соединенными фланцами, и изолированы от рабочей среды внутри среднего сильфона гибкими элементами. Средний сильфон выполнен с эффективной площадью, которая рассчитана из условия равновесия распорных усилий в разгруженном компенсаторе и равна сумме эффективных площадей крайних сильфонов и эффективных площадей всех гибких элементов.
Согласно предлагаемому техническому решению сильфонное компенсирующее устройство снабжено дополнительным разгруженным компенсатором. Разгруженные компенсаторы установлены соосно и жестко соединены патрубком. Крепления разгрузочных тяг с соединенными фланцами каждого разгруженного компенсатора выполнены жесткими. Проходные отверстия промежуточных фланцев выполнены с возможностью обеспечения относительного перемещения разгрузочных тяг в этих отверстиях при максимальных угловых перемещениях разгруженных компенсаторов.
Предложенная установка дополнительного разгруженного компенсатора и жесткое соединение разгруженных компенсаторов между собой посредством патрубка позволяют значительно увеличить, по сравнению с прототипом и другими аналогами, осевые, угловые и сдвиговые перемещения СКУ в целом, а также его устойчивость при сохранении равновесия распорных усилий, действующих в каждом разгруженном компенсаторе и, следовательно, в СКУ. Вследствие этого предложенная конструкция может быть использована в трубопроводах диаметром до 1600 мм и с давлением рабочей среды PN до 150 атмосфер. Жесткое закрепление разгрузочных тяг на соответствующих фланцах разгруженных компенсаторов, а также предложенное выполнение проходных отверстий промежуточных фланцев, через которые пропущены разгрузочные тяги, обеспечивают устойчивость разгруженных компенсаторов при воздействии внутреннего давления и восприятие каждым разгруженным компенсатором максимальных осевых и изгибных нагрузок при воздействии на СКУ в целом максимальных осевых, изгибных и сдвиговых нагрузок. В каждом из разгруженных компенсаторов происходят только угловые и осевые перемещения сильфонов. При этом относительные перемещения разгрузочных тяг в поперечной плоскости и поперечные размеры упомянутых проходных отверстий, в отличие от прототипа, обусловлены только угловыми перемещениями сильфонов, рассчитываемыми из условия максимальных угловых и сдвиговых нагрузок, действующих на СКУ в целом.
Предложенная конструкция поясняется чертежами.
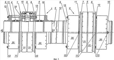
На фиг.1 – общий вид СКУ.
На фиг.2 – разгруженный компенсатор в продольном сечении А-А на фиг.1.
На фиг.3 – иллюстрация взаимного расположения составных частей СКУ под действием сдвиговой нагрузки.
На фиг.4 – пояснительный чертеж к расчету сдвигового перемещения СКУ.
На фиг.5 – схема угловых и осевых перемещений СКУ.
Сильфонное компенсирующее устройство (фиг.1) состоит из двух одинаковых разгруженных компенсаторов 1, 2, жестко соединенных между собой патрубком 3 сварными соединениями (не обозначены). Разгруженный компенсатор 1 содержит три соосно расположенных сильфона 4, 5, 6. Два крайних сильфона 4, 6 меньшего диаметра жестко соединены промежуточными фланцами 7, 8 со средним сильфоном 5 большего диаметра и жестко связаны с концевыми фланцами 9, 10 сварными швами (не обозначены). Концевой фланец 9 соединен со вторым, наиболее удаленным от него, промежуточным фланцем 8 при помощи двух и более разгрузочных тяг 11, установленных продольно оси 12 компенсатора и жестко закрепленных на фланцах 9 и 8 болтовыми соединениями 13. Концевой фланец 10 аналогично соединен со вторым, наиболее удаленным от него, промежуточным фланцем 7 при помощи двух и более разгрузочных тяг 11, установленных продольно оси 12 компенсатора и жестко закрепленных на фланцах 10 и 7 болтовыми соединениями 13 (фиг.2). Тяги 11 расположены снаружи крайних сильфонов 4 и 6 и пропущены через проходные отверстия 14 соответствующих промежуточных фланцев 7 (фиг.1) и 8 (фиг.2) внутри среднего сильфона 5. Тяги 11 изолированы от внутренней полости среднего сильфона 5 гибкими элементами 15, выполненными в виде сильфонов с патрубками 16, герметично соединенными с фланцами 7, 8 в отверстиях 14 (фиг.2). В качестве изолирующих элементов 15 могут быть также использованы гибкие металлические рукава или шланги (не показано). Эффективная площадь Fэф среднего сильфона 5 рассчитывается по известной формуле, аналогично приведенной в описании патента РФ 2084749 (в прототипе), и равна

где Fэф1 – эффективные площади крайних сильфонов 4 и 6,
Fэф2 – эффективная площадь изолирующего элемента 15,
n – количество изолирующих элементов, равное количеству тяг.
Эффективная площадь Fэфi любого сильфона определяется по формуле

где DBH – внутренний диаметр сильфона,
Н – высота гофров сильфона.
Равенство (1) обеспечивает равновесие распорных усилий, действующих в компенсаторе 1 или 2 при внутреннем давлении среды. При этом сумма всех распорных усилий равна нулю, что характерно для разгруженных компенсаторов. Поэтому разгруженные компенсаторы 1 и 2 при эксплуатации не передают усилия на опоры трубопроводов и механизмов, повышая, таким образом, надежность и долговечность трубопроводных систем и механизмов. Также снижается стоимость трубопроводных систем за счет удешевления конструкций опор.
Для уменьшения гидравлического сопротивления и эрозивного износа сильфонов внутри компенсаторов 1, 2 установлены консольные направляющие патрубки 17, 18, 19. Защитные кожухи 20, 21 предохраняют сильфоны от наружных повреждений.
Под воздействием на СКУ сдвиговой нагрузки Р со стороны трубопроводной системы (фиг.3, 4) фланцы 10 и 7 компенсатора 2, вследствие жесткого соединения между собой тягами 11, смещаются от общей оси 12 и относительно фланцев 9 и 8 компенсатора 1 на величину . При этом фланец 8 компенсатора 2, а также все жестко связанные с фланцем 8 конструктивные элементы СКУ: тяги 11 и фланец 9 компенсатора 2, патрубок 3, фланцы 10, 7 с соединяющими их тягами 11 компенсатора 1, поворачиваются на угол за счет изгиба всех сильфонов обоих компенсаторов 1 и 2 вследствие их упругих свойств, обусловленных сжатием-растяжением гофров. Сдвиговое перемещение (фиг.4) определяется осевыми геометрическими размерами СКУ и углом поворота сильфонов 4, 5, 6 (углом поворота разгруженного компенсатора) по формуле
,
где – сдвиговое перемещение СКУ,
– угол поворота разгруженного компенсатора при сдвиге СКУ,
L – расчетная длина СКУ,
L1 – длина разгруженного компенсатора,
l – длина патрубка 3, соединяющего разгруженные компенсаторы 1, 2.
При повороте упомянутые тяги 11 свободно перемещаются в проходных отверстиях 14 (фиг.1, 2), так как диаметры отверстий 14 выполнены из расчета на максимальные перемещения тяг 11 при максимальном повороте разгруженного компенсатора.
Под воздействием на СКУ изгибающих моментов M со стороны трубопровода происходит поворот на угол фланцев 9 и 8 компенсатора 1 и фланцев 10 и 7 компенсатора 2 относительно геометрических точек O1 и О поворота компенсаторов в направлении действия моментов, как показано на фиг.5. Компенсирующее угловое перемещение СКУ определяется суммой углов поворота компенсаторов 1 и 2 и равно 2 .
При воздействии на СКУ осевых нагрузок каждый разгруженный компенсатор 1, 2 совершает перемещения вдоль оси 12 (фиг.1), работая на сжатие (перемещение – 0) или на растяжение (перемещение+ о) – фиг.5. Максимальный осевой ход СКУ определяется суммой осевых перемещений компенсаторов 1 и 2 и равен ±2 0.
В отличие от прототипа и других известных аналогов, предложенное СКУ обладает более высокой устойчивостью конструкции при высоких давлениях (P 40 кгс/см2) рабочей среды за счет жесткой связи тяг с фланцами. Это позволяет:
– повысить технические характеристики (растяжение-сжатие, поворот) каждого из разгруженных компенсаторов 1, 2 за счет увеличения длин сильфонов (количества гофров каждого сильфона) по сравнению с прототипом;
– увеличить сдвиговое перемещение предложенного СКУ, по сравнению с прототипом, как за счет увеличения длин сильфонов и, следовательно, угла поворота каждого разгруженного компенсатора, так и за счет длины l патрубка, соединяющего эти компенсаторы,
– увеличить осевое и угловое перемещения предложенного СКУ в целом за счет суммирования перемещений обоих разгруженных компенсаторов.
Формула изобретения
Сильфонное компенсирующее устройство, содержащее разгруженный компенсатор, состоящий из трех соосно расположенных сильфонов, фланцев и разгрузочных тяг, причем одинаковые крайние сильфоны меньшего диаметра жестко соединены двумя промежуточными фланцами со средним сильфоном большего диаметра и жестко связаны с концевыми фланцами, каждый концевой фланец соединен со вторым от него промежуточным фланцем посредством разгрузочных тяг, которые установлены вдоль оси разгруженного компенсатора с наружной стороны крайних сильфонов и внутри среднего сильфона, закреплены на соединенных фланцах, свободно пропущены через проходные отверстия промежуточных фланцев, расположенных между соединенными фланцами, и изолированы от рабочей среды внутри среднего сильфона гибкими элементами, а средний сильфон выполнен с эффективной площадью, которая рассчитана из условия равновесия распорных усилий в разгруженном компенсаторе и равна сумме эффективных площадей крайних сильфонов и эффективных площадей всех гибких элементов, отличающееся тем, что оно снабжено дополнительным разгруженным компенсатором, разгруженные компенсаторы установлены соосно и жестко соединены патрубком, крепления разгрузочных тяг с фланцами выполнены жесткими, а проходные отверстия промежуточных фланцев выполнены с возможностью обеспечения относительного перемещения разгрузочных тяг в этих отверстиях при максимальных угловых перемещениях разгруженных компенсаторов.
РИСУНКИ
|
|