|
|
(21), (22) Заявка: 2009114379/06, 15.04.2009
(24) Дата начала отсчета срока действия патента:
15.04.2009
(46) Опубликовано: 10.08.2010
(56) Список документов, цитированных в отчете о поиске:
RU 45494 U1, 10.05.2005. SU 1618976 A1, 07.01.1991. RU 2334149 C2, 20.09.2008. GB 1203703 A, 03.09.1970. US 3912220 A, 14.10.1975. FR 2091808 A5, 14.01.1972. DE 3003203 A1, 11.12.1980. EP 0386460 A2, 12.09.1990.
Адрес для переписки:
347387, Ростовская обл., г. Волгодонск, ул. К. Маркса, 30, кв.12, Е.Н. Бокачу
|
(72) Автор(ы):
Бокач Евгений Николаевич (RU), Веремеев Дмитрий Николаевич (RU), Мусвик Александр Борисович (RU), Топчиев Андрей Алексеевич (RU)
(73) Патентообладатель(и):
Бокач Евгений Николаевич (RU), Веремеев Дмитрий Николаевич (RU), Мусвик Александр Борисович (RU), Топчиев Андрей Алексеевич (RU)
|
(54) ШАРОВОЙ КРАН С ВЕРХНИМ РАЗЪЕМОМ ДЛЯ ОБЪЕКТОВ ЭНЕРГЕТИКИ
(57) Реферат:
Изобретение относится к трубопроводной арматуре для энергетических объектов, характеризующихся высокими параметрами рабочих сред – температура до 560°С, давление до 40 МПа, и предназначено для перекрытия потоков. Шаровой кран с верхним разъемом содержит корпус с соединенным с ним резьбовыми соединениями верхним фланцем, с входным и выходным патрубками и шаровую пробку. Пробка установлена на подпружиненные седла с контактными поверхностями в форме шарового пояса. Подпружиненные седла установлены в дополнительные, снабженные кольцевыми буртами кольцевые втулки. Эти втулки уплотнены по торцевой поверхности относительно корпуса шарового крана. Упомянутые контактные поверхности седел выполнены, по меньшей мере, двухконтурными по ширине шарового пояса. Контуры на поверхности шарового пояса разделены, по меньшей мере, одной кольцевой проточкой. Дополнительные кольцевые втулки установлены соосно седлам и закреплены на последних по резьбовой поверхности с возможностью передачи поджимающего усилия на упомянутые уплотнения. В седле, в зоне резьбовой контактной поверхности дополнительной втулки и седла, выполнен, по меньшей мере, один сквозной канал, соединяющийся с кольцевой проточкой. Уплотнения между торцевой поверхностью дополнительных кольцевых втулок и корпусом выполнены сальниковыми. Изобретение направлено на расширение диапазона температур и давления среды использования шарового крана и на повышение его надежности и долговечности. 3 з.п. ф-лы, 2 ил.
Изобретение относится к трубопроводной арматуре для энергетических объектов, характеризующихся высокими параметрами рабочих сред – температура до 560°С, давление до 40 МПа, предназначенной для перекрытия потоков.
Одним из требований, предъявляемых к энергетической трубопроводной арматуре, является обеспечение ремонтопригодности без вырезки из трубопровода.
Известна конструкция шарового крана, предназначенная для установки на трубопроводах в качестве перекрывающего устройства, не требующая его вырезки из трубопровода при ремонте [1]. Указанная конструкция содержит корпус с люком и крышкой, размещенный между подвижными подпружиненными седлами сферический затвор, поверхность которого уплотнена кольцами, в пазах которых размещены уплотняющие эластичные элементы. (фиг.2 к [1]). Для замены уплотнительных колец с эластичными элементами шаровой кран снабжен дополнительными элементами отжима седел в виде силовых сухарей.
Недостатком известного шарового крана является наличие в уплотнительных кольцах уплотняющих эластичных элементов, которые не предназначены для работы в средах с высокими температурами и при высоких давлениях.
Известен также шаровой кран с верхним разъемом [2]. Указанная конструкция содержит корпус с верхним фланцем, входным и выходным патрубками, шаровую пробку, расположенную на цельных седлах, постоянно нагруженных пружинами в сторону шаровой пробки. В контактных с шаровой пробкой поверхностях седел завальцованы эластомерные уплотнения, а между поверхностью седла и корпусом размещены уплотнительные кольца.
Недостатком известного шарового крана является наличие изнашиваемых эластомерных уплотнений в контактной с шаровой пробкой поверхности седла, снижающих надежность крана по мере его эксплуатации. Кроме того, из-за использования эластомерных уплотнений в конструкции шаровых кранов возникают ограничения для их эксплуатации на энергетических объектах при повышенных температурах и давлениях.
Наиболее близким по назначению, технической сущности и достигаемому результату к заявляемому шаровому крану для объектов энергетики является шаровой кран с верхним разъемом, содержащий корпус, соединенный резьбовыми соединениями с верхним фланцем, входной и выходной патрубки и шаровую пробку, установленную на подпружиненные седла, с контактными поверхностями в форме шарового пояса [3] (прототип). Подпружиненные седла снабжены уплотнениями из эластомерного материала, расположенными в зоне контактных поверхностей в форме шаровых поясов, контактирующих с поверхностью шаровой пробки, и установлены в дополнительные кольцевые втулки, на торцевой поверхности которых, со стороны шаровой пробки, выполнен кольцевой конусный срез и кольцевой бурт в месте окончания среза, а на внутренних поверхностях верхнего фланца и нижней части корпуса, в месте их контакта с кольцевыми конусными срезами дополнительных кольцевых втулок, выполнены ответные им конусные поверхности, причем дополнительные кольцевые втулки уплотнены по торцевой поверхности относительно корпуса шарового крана эластомерными кольцами, а подпружиненные седла уплотнены по внутренней поверхности кольцевых буртов.
Недостатком известного шарового крана является ограниченный диапазон технологических параметров рабочей среды, для перекрывания потока которой он используется. В частности, наличие уплотнений из эластичного материала между шаровой пробкой и седлами, между седлом и кольцевой втулкой и кольцевой втулкой и корпусом не позволяет использовать шаровой кран при давлениях и температурах рабочих сред, использующихся в энергетических установках, а выполнение механизма крепления подпружиненных седел с контактными конусными поверхностями на дополнительной втулке и ответных им поверхностях верхнего фланца и кольцевой канавки корпуса требует обеспечения расчетных усилий на резьбовом соединении верхнего фланца и корпуса, т.к. при их превышении возможно ослабление усилия прижима подпружиненного седла к поверхности шаровой пробки, а при недостаточно жесткой затяжке резьбовых соединений верхнего фланца и корпуса нарушается герметичность всего клапана из-за недостаточной нагруженности уплотнений между дополнительной втулкой и корпусом и дополнительной втулкой и седлом. В условиях эксплуатации сложно обеспечить расчетные нагрузки на резьбовых соединениях между корпусом и верхним фланцем, например, после ремонта при сборке крана, что снижает надежность крана.
Кроме того, недостатком всех известных конструкций шарового крана является невозможность инспекции герметичности его в процессе сборки, что также снижает надежность конструкции.
Технической задачей, решаемой предлагаемым изобретением, является расширение диапазона температуры и давления среды использования шарового крана и повышение его надежности и долговечности.
Поставленная задача достигается тем, что в шаровом кране с верхним разъемом, содержащем корпус с соединенным с ним резьбовыми соединениями верхним фланцем, с входным и выходным патрубками и шаровую пробку, установленную на подпружиненные седла с контактными поверхностями в форме шарового пояса, при этом подпружиненные седла установлены в дополнительные, снабженные кольцевыми буртами кольцевые втулки, которые уплотнены по торцевой поверхности относительно корпуса шарового крана, согласно изобретению контактные поверхности седел, имеющие форму шарового пояса, сформированы наплавкой и выполнены хотя бы двухконтурными по ширине шарового пояса, при этом контуры на поверхности шарового пояса разделены хотя бы одной кольцевой проточкой и притерты к сферической поверхности шаровой пробки, а дополнительные кольцевые втулки соосны седлам и закреплены на последних по резьбовой поверхности с возможностью передачи поджимающего усилия на уплотнение, расположенное между торцевой поверхностью кольцевой втулки и корпусом, при этом кольцевые бурты дополнительных втулок снабжены отверстиями под торцевой ключ, кроме того, в седле, в зоне резьбовой контактной поверхности дополнительной втулки и седла, выполнен хотя бы один сквозной канал, соединяющийся с кольцевой проточкой, например, пазом или углублением, выполненным на дне кольцевой проточки, а уплотнения между торцевой поверхностью дополнительных кольцевых втулок и корпусом выполнены сальниковыми, например, в виде набивки или графлексовых колец.
Формирование наплавкой поверхности седел, контактирующей с шаровой пробкой по шаровому поясу, и выполнение последней хотя бы двухконтурной по высоте шарового пояса благодаря наличию в нем хотя бы одной разделяющей их кольцевой проточки позволяет упрочнить указанную поверхность и повысить точность прилегания образуемых контуров на поверхности шаровых поясов контактных поверхностей седел. Повышение точности прилегания контактной поверхности седел обеспечивается выполнением предварительной притирки поверхностей седел к сферической поверхности шаровой пробки. При этом притирка шарового пояса, разделенного по ширине на контуры, представляющие собой шаровые пояса с меньшей шириной, осуществляется с большей точностью. Благодаря повышению точности прилегания контактных поверхностей подпружиненных седел к поверхности шаровой пробки повышается герметичность шарового крана. Кроме того, наличие кольцевых проточек, разделяющих контактные с поверхностью шаровой пробки поверхности седел на более узкие шаровые пояса, обеспечивает снижение давления в проточках при потере герметичности одного из контуров упомянутых контактирующих поверхностей. При этом общая герметичность прилегания контактной поверхности подпружиненных седел к поверхности шаровой пробки сохраняется, что повышает надежность шарового крана.
Кроме того, упрочнение контактных с поверхностью шаровой пробки поверхностей седел, имеющих форму двухконтурного (или многоконтурного) шарового пояса, и выполнение дополнительных кольцевых втулок соосными седлам, соединенных с последними по резьбовой поверхности, позволяет сократить число уплотнений шарового крана до одного, установленного между седлом и корпусом. Такое выполнение дополнительных кольцевых втулок исключает контакт рабочей среды с уплотнением со стороны шаровой пробки, позволяет выполнить его сальниковым, в виде набивки или графлексовых колец, для уплотнения которых не требуется больших усилий, что значительно повышает надежность шарового крана, увеличивает его долговечность и позволяет расширить диапазон давлений и температур рабочих сред до применяемых на объектах энергетики. При этом снабжение кольцевых буртов дополнительных втулок отверстиями под торцевой ключ превращает последние в силовой элемент, обеспечивающий возможность фиксации уплотнения между седлом и корпусом с постоянным усилием, определяемым размерными параметрами упомянутой резьбовой поверхности, и не зависящий от других элементов конструкции шарового крана и параметров рабочей среды.
Выполнение в седле, в зоне резьбовой контактной поверхности дополнительной втулки и седла, сквозного радиального канала, соединяющегося с кольцевой проточкой, например, пазом или углублением, выполненным на дне кольцевой проточки, позволяет в процессе сборки осуществить контроль герметичности прилегания упрочненных поверхностей седел, контактирующих с поверхностью шаровой пробки, и обеспечивает возможность мониторинга состояния его рабочих элементов в процессе эксплуатации, что повышает надежность шарового крана, увеличивает его долговечность.
Пример выполнения предлагаемого шарового крана представлен на чертежах.
На фиг.1 показана конструкция предлагаемого шарового крана с верхним разъемом в разрезе.
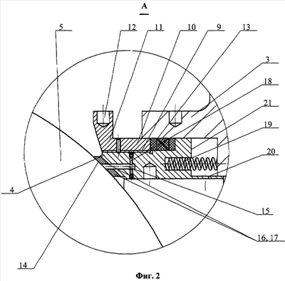
На фиг.2 изображена выноска А-А на фиг.1, где представлено увеличенное взаимное расположение подпружиненного седла, корпуса, дополнительной кольцевой втулки и шаровой пробки.
Шаровой кран с верхним разъемом содержит корпус 1, в установочном гнезде 2 которого, сформированном кольцевым выступом 3, установлены подпружиненные седла 4, контактирующие с шаровой пробкой 5. Патрубки 6 и 7 и центральное отверстие 8 в шаровой пробке формируют проходной канал крана. На поверхности седел соосно последним посредством резьбовой поверхности 9 установлены дополнительные кольцевые втулки 10, снабженные кольцевыми буртами 11, на поверхности которых выполнены отверстия 12 под торцевой ключ (не показан). Между кольцевым выступом 3 корпуса и подпружиненным седлом 4 размещено сальниковое уплотнение 13, выполненное в виде набивки или графлексовых колец, поджимаемое дополнительной кольцевой втулкой. Контактная поверхность подпружиненного седла с шаровой пробкой сформирована наплавкой 14 по шаровому поясу, прилегающему к сферической поверхности шаровой пробки, и в ней выполнена кольцевая проточка 15, разделяющая поверхность шарового пояса на два контура 16 и 17, которые притерты по сферической поверхности шаровой пробки.
В теле седла, в зоне резьбовой поверхности 9, выполнено хотя бы одно радиальное отверстие 18, пересекающее кольцевую проточку 15.
Подача рабочей среды в шаровой кран возможна в обоих направлениях. Перекрывание потока рабочей среды осуществляется поворотом шаровой пробки 5 на угол 90 градусов.
В закрытом положении герметичность крана обеспечивается усилием пружин, поджимающих седла 4 к пробке 5 и дополнительным усилием, создаваемым давлением рабочей среды на торцевую поверхность седла. Герметичность между подпружиненным седлом 4 и корпусом обеспечивается сальниковым уплотнением 13, выполненным в виде набивки или графлексовых колец, установленных в торце дополнительной кольцевой втулки 10 и поджимаемых ею при завинчивании по резьбовой поверхности 9 под воздействием усилия торцевого ключа (не показан), вставляемого в отверстие 12 кольцевого бурта 11. Контроль герметичности шарового крана в местах контакта шаровой пробки и подпружиненного седла производится путем контроля протечек через отверстие 18, пересекающее кольцевую проточку 15.
Благодаря притирке контуров 16 и 17 по сферической поверхности шаровой пробки обеспечивается высокая герметичность прилегания двухконтурного шарового пояса подпружиненного седла, сформированного наплавкой 14 и кольцевой проточкой 15.
Предлагаемое выполнение поверхности седел и дополнительной кольцевой втулки, позволяющее выполнить уплотнения между корпусом и седлами шарового крана сальниковыми, обеспечивает расширение диапазона температуры и давления рабочей среды, повышение его надежности и долговечности, что обуславливает снижение затрат на обслуживание и ремонт в процессе эксплуатации.
Источники информации
1. SU 1618976, кл. F16K 5/20, 07.01.1991 г.
2. RU 2108512, кл. F16K 5/20, 10.04.1998 г.
3. RU 45494 U1, кл. F16K 5/20, 10.05.2005 г. (прототип).
Формула изобретения
1. Шаровой кран с верхним разъемом, содержащий корпус с соединенным с ним резьбовыми соединениями верхним фланцем, с входным и выходным патрубками, и шаровую пробку, установленную на подпружиненные седла с контактными поверхностями в форме шарового пояса, при этом подпружиненные седла установлены в дополнительные, снабженные кольцевыми буртами, кольцевые втулки, которые уплотнены по торцевой поверхности относительно корпуса шарового крана, отличающийся тем, что контактные поверхности седел, имеющие форму шарового пояса, выполнены хотя бы двухконтурными по ширине шарового пояса, при этом контуры на поверхности шарового пояса разделены хотя бы одной кольцевой проточкой, а дополнительные кольцевые втулки соосны седлам и закреплены на последних по резьбовой поверхности с возможностью передачи поджимающего усилия на уплотнение, расположенное между торцевой поверхностью кольцевой втулки и корпусом, кроме того в седле, в зоне резьбовой контактной поверхности дополнительной втулки и седла, выполнен хотя бы один сквозной канал, соединяющийся с кольцевой проточкой, а уплотнения между торцевой поверхностью дополнительных кольцевых втулок и корпусом выполнены сальниковыми.
2. Шаровой кран с верхним разъемом по п.1, отличающийся тем, что контуры на поверхности шарового пояса упрочнены наплавкой и притерты к сферической поверхности шаровой пробки.
3. Шаровой кран с верхним разъемом по п.1, отличающийся тем, что кольцевые бурты дополнительных втулок снабжены отверстиями под торцевой ключ.
4. Шаровой кран с верхним разъемом по п.1, отличающийся тем, что сальниковые уплотнения между торцевой поверхностью дополнительных кольцевых втулок и корпусом выполнены, например, в виде набивки или графлексовых колец.
РИСУНКИ
|
|