|
|
(21), (22) Заявка: 2009121822/06, 08.06.2009
(24) Дата начала отсчета срока действия патента:
08.06.2009
(46) Опубликовано: 10.08.2010
(56) Список документов, цитированных в отчете о поиске:
МАЛЮШЕНКО В.В., МИХАЙЛОВ А.К. Энергетические насосы, Справочное пособие. – М.: Энергоиздат, 1981, с.72, рис.4.15. RU 2276287 C1, 10.05.2006. SU 1325210 A1, 23.07.1987. PL 254228 A, 03.06.1986. JP 2000145688 A, 26.05.2000.
Адрес для переписки:
614025, Пермский край, г.Пермь, ул. Пихтовая, 35, ООО “Пермэнергокомплект”
|
(72) Автор(ы):
Каторгин Дмитрий Ильич (RU), Флягин Олег Владимирович (RU)
(73) Патентообладатель(и):
Общество с ограниченной ответственностью “Пермэнергокомплект” (RU)
|
(54) ОСЕВАЯ ОПОРА ВАЛА ИЗДЕЛИЯ
(57) Реферат:
Изобретение может быть использовано в насосостроении, в частности в погружных электронасосах. Осевая опора вала изделия содержит пяту 1, подпятники 2 и устройства скрепления подпятников 2 с элементами 3, 4 изделия. Устройства скрепления выполнены в виде ввернутых в элементы 3, 4 изделия винтов 5 с удлиненными головками в виде разжимных цанг с буртиками на лепестках, сопряженными с выполненными в элементах подпятников 2 ступенчатыми отверстиями. Изобретение направлено на повышение надежности и возможности унификации опоры вала. 2 ил.
Изобретение относится к машиностроению и может быть использовано, например, в погружных электронасосах.
Известна осевая опора вала изделия, содержащая пяту, подпятники и устройства скрепления подпятников с элементами изделия – смотри, например, прилагаемый чертеж ИБ 100.763 СБ на «Гидрозащита 1П92», инв. 567-06, 2006 г. от 17.10.06, разработка ООО «Пермэнергокомплект», г.Пермь.
По своим признакам и достигаемому результату эта опора наиболее близка к заявляемой и принята за прототип.
В этой осевой опоре устройства скрепления подпятников с элементами изделия (гидрозащиты) выполнены в виде винтов с доступом к их головкам под ключ вдоль вала как при закреплении, так и при откреплении подпятников, что сужает область применения (унификацию), уменьшает опорную площадь пяты с подпятниками и, следовательно, надежность такой опоры.
Задачей изобретения является повышение надежности и возможности унификации опоры.
Эта задача решается усовершенствованием осевой опоры вала изделия, содержащей пяту, подпятники и устройства скрепления подпятников с элементами изделия.
Усовершенствование заключается в том, что устройства скрепления подпятников с элементами изделия выполнены в виде ввернутых в элементы изделия винтов с удлиненными головками в виде разжимных цанг с буртиками на лепестках, сопряженными с выполненными в элементах подпятников ступенчатыми отверстиями.
Выполнение усовершенствования по изобретению позволяет сначала ввернуть в элементы изделия винты с удлиненными головками в виде разжимных цанг с буртиками на лепестках, а затем на разжимные цанги установить подпятники, выполненными в их элементах (корпусах) ступенчатыми отверстиями, что позволяет выполнить опорные поверхности подпятников без отверстий под винты и, тем самым, повысить надежность и возможность унификации опоры.
Ниже, со ссылкой на прилагаемый чертеж, где показано на:
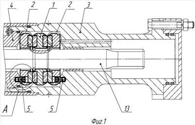
Фиг.1 – общий вид опоры;
Фиг.2 – вид А на Фиг.1,
дается описание предлагаемого изобретения.
Тонкими линиями показаны примыкающие к опоре элементы изделия в виде гидрозащиты.
Осевая опора вала изделия содержит пяту 1, подпятники 2 и устройства скрепления подпятников 2 с элементами 3, 4 изделия.
Устройства скрепления подпятников 2 с элементами 3, 4 изделия выполнены в виде ввернутых в элементы 3, 4 винтов 5 с удлиненными головками 6 под ключ в виде разжимных цанг 7 с буртиками 8 на лепестках 9, сопряженными с выполненными в элементах (корпусах) 10 подпятников 2 ступенчатыми отверстиями 11.
Подпятники 2 выполнены сборными с завальцованными в корпусах 10 твердосплавными вставками 12.
При сборке изделия вворачивают в его элементы 3, 4 винты 5 до упора головками 6, на цанги 7 которых устанавливают ступенчатыми отверстиями 11 подпятники 2 (что обеспечило безлюфтовую фиксацию подпятников цангами и удержание их в процессе сборки-разборки). Вал 13 с закрепленной на нем пятой 1 вставляют до упора последней в подпятник 2, закрепленный на элементе 3 изделия, в который затем вворачивают до упора элемент 4 с подпятником 2 на нем (что обеспечило сборку опоры с увеличенной площадью контакта пяты с подпятниками).
Осевая опора вала изделия по сравнению с прототипом имеет повышенную надежность и возможность унификации.
Формула изобретения
Осевая опора вала изделия, содержащая пяту, подпятники и устройства скрепления подпятников с элементами изделия, отличающаяся тем, что устройства скрепления подпятников с элементами изделия выполнены в виде ввернутых в элементы изделия винтов с удлиненными головками в виде разжимных цанг с буртиками на лепестках, сопряженными с выполненными в элементах подпятников ступенчатыми отверстиями.
РИСУНКИ
|
|