|
|
(21), (22) Заявка: 2008142113/06, 15.02.2007
(24) Дата начала отсчета срока действия патента:
15.02.2007
(30) Конвенционный приоритет:
24.03.2006 EP 06006059.7
(43) Дата публикации заявки: 27.04.2010
(46) Опубликовано: 10.08.2010
(56) Список документов, цитированных в отчете о поиске:
WO/2005/003512 A1, 13.01.2005. SU 844824 A1, 07.07.1981. DE 3729486 C1, 12.15.1988. EP 0990798 A1, 05.04.2000. WO/94/29597 A1, 22.12.1994.
(85) Дата перевода заявки PCT на национальную фазу:
24.10.2008
(86) Заявка PCT:
EP 2007/051474 20070215
(87) Публикация PCT:
WO 2007/110275 20071004
Адрес для переписки:
129090, Москва, ул.Б.Спасская, 25, стр.3, ООО “Юридическая фирма Городисский и Партнеры”, пат.пов. А.В.Мицу, рег. 364
|
(72) Автор(ы):
МАТЕЙССЕН Гастон (NL), ВАН АРСЕН Марк (NL)
(73) Патентообладатель(и):
СИМЕНС АКЦИЕНГЕЗЕЛЛЬШАФТ (DE)
|
(54) КОМПРЕССОРНЫЙ БЛОК
(57) Реферат:
Изобретение относится к компрессоростроению. Компрессорный блок для подводной эксплуатации (1) содержит компрессор (3) с осью (60) вращения и электродвигателем (2), корпус (4) с впускным и выпускным отверстиями (6, 7) и автоматизирующий блок (51) для задач управления и регулирования. На корпусе (4) установлен дополнительный корпус (56), в котором размещен автоматизирующий блок (51). Изобретение обеспечивает улучшение взаимодействия автоматизирующего блока с компрессорным блоком и, в частности, уменьшение затрат на охлаждение автоматизирующего блока и передачу сигналов и энергии. 8 з.п. ф-лы, 1 ил.
Изобретение относится к компрессорному блоку, в частности, для подводной эксплуатации, содержащему компрессор с осью вращения и электродвигателем, корпус, имеющий впускное и выпускное отверстия для добываемой среды, и автоматизирующий блок, выполненный с возможностью выполнения задач управления и регулирования компрессорного блока.
Новейшие разработки в области компрессоростроения сконцентрированы на подводном расположении мощных компрессоров, которые должны служить для добычи природного газа. Вследствие особых эксплуатационных условий, в частности, из-за сильно ограниченного доступа для обслуживания и наличия питающих линий, специалисты стоят перед большими вызовами. Требования защиты окружающей среды в этой области запрещают любой материальный обмен между устанавливаемыми агрегатами и окружающей их морской водой. К тому же морская вода является агрессивной средой, и на различных морских глубинах встречаются предельные условия давления и температуры. Другое требование состоит в том, что агрегаты, с одной стороны, должны иметь предельно длительный срок службы, а с другой стороны, должны быть выполнены так, чтобы они почти не требовали обслуживания. Дополнительным осложняющим обстоятельством является значительное загрязнение частично химически агрессивной добываемой среды.
Компрессорные блоки требуют для своей эксплуатации, как правило, многочисленных электрических присоединений, в частности, для электропитания и передачи управляющих сигналов между вышестоящим автоматизирующим блоком и компрессорным блоком. При этом вышестоящие автоматизирующие блоки расположены на удалении от компрессорного блока, чтобы, с одной стороны, достичь высокой модульности конструкции, а с другой стороны, обеспечить оптимальные эксплуатационные условия для электронной части автоматизирующего блока. В частности, при использовании активных магнитных подшипников требуются многочисленные сигнальные линии между автоматизирующим и компрессорным блоками, по которым на автоматизирующий блок передаются различные данные измерений, а на магнитные подшипники – соответствующие параметры управления.
Передача энергии для работы компрессорного блока и сигналов между ним и автоматизирующим блоком требует значительных затрат, поскольку многочисленные линии должны быть выполнены, в том числе, с возможностью разъединения посредством очень дорогостоящих разъемных соединений. Аспект повышения издержек приобретает во много раз большее значение, если речь идет о подходящей для подводной эксплуатации установке, поскольку для этого разъемное соединение должно отвечать особым требованиям.
Кроме того, для автоматизирующего блока следует создать охлаждающую систему, посредством которой должна отводиться значительная мощность потерь конструктивных элементов, выполненных частично в виде силовой электроники.
Из WO-А-2005/003512 уже известен компрессорный блок для подводной эксплуатации, в котором компрессор с электродвигателем размещен в общем газонепроницаемом корпусе. Регулирующий работу магнитных подшипников автоматизирующий блок находится в сигналопередающей связи с ними.
Исходя из проблем уровня техники изобретение поставило своей задачей улучшение взаимодействия автоматизирующего блока с компрессорным блоком и, в частности, уменьшение затрат на охлаждение автоматизирующего блока и передачу сигналов и энергии.
Эта задача решается посредством компрессорного блока по п.1 формулы. В зависимых пунктах приведены предпочтительные варианты осуществления изобретения.
Расположение дополнительного корпуса, в котором расположен автоматизирующий блок, на корпусе компрессорного блока имеет, прежде всего, то преимущество, что соответствующие токопитающие и сигнальные линии между автоматизирующим и компрессорным блоками больше необязательно должны отвечать стандарту, предусматривающему пригодность для непосредственного контакта с окружающими условиями. Напротив, эти линии могут быть выполнены так, что они отвечают только всегда воспроизводимым и точно предсказываемым эксплуатационным условиям внутри дополнительного корпуса и корпуса компрессорного блока. Кроме того, не требуется никаких особых разъемных соединений для разъединения линий между автоматизирующим и компрессорным блоками. Кроме того, неожиданным образом удалось обнаружить, что некоторые участки корпуса компрессорного блока без дополнительной модификации создают необходимые для работы автоматизирующего блока термические краевые условия. Это решающее преимущество ведет к тому, что больше не требуется отдельной охлаждающей системы для автоматизирующего блока. Это преимущество проявляется, в частности, тогда, когда дополнительный корпус для автоматизирующего блока расположен в зоне всасывающего патрубка впускного отверстия на корпусе теплопроводящим образом, так что мощность потерь автоматизирующего блока посредством теплопроводности отводится на корпус. Хотя это преимущество является принципиально важным для компрессорных блоков, оно приобретает дополнительное значение в области подводной эксплуатации, поскольку здесь доступность к компрессорному блоку в высшей степени ограничена и по этой причине дополнительные охлаждающие среды трудноприменимы, если вообще применимы. Использование морской воды в качестве охлаждающей среды почти исключено из-за ее агрессивных химических свойств. При добыче природного газа мощность потерь может без проблем восприниматься холодной добываемой средой. Однако проблемой при этом является проникновение тепла в поток добываемой среды.
Как правило, компрессорный блок, в частности, если речь идет об одновальной конструкции с электродвигателем и компрессором вдоль единственной оси вращения, выполнен продолговатым, и в продольной протяженности при эксплуатации возникает температурный профиль. В осевой зоне впускного отверстия или всасывающего патрубка температура особенно оптимальна для теплопроводящего расположения дополнительного корпуса автоматизирующего блока. Согласно изобретению тепло отводится из автоматизирующего блока посредством теплопроводности в зоне всасывающего патрубка корпуса и вводится в протекающую через компрессорный блок добываемую среду. В каком месте периферии расположить дополнительный корпус в осевой зоне всасывающего патрубка, специалист может решить в соответствии с условиями теплопроводности между корпусом компрессорного блока и дополнительным корпусом.
При этом автоматизирующий блок связан с конструктивными элементами компрессорного блока целесообразно посредством внутренних сигнальных линий и/или внутренних токопитающих линий. Эти внутренние линии могут быть выполнены с возможностью разъединения целесообразно посредством разъемных соединений, так что элементы могут быть заменены без проблем также в рамках проведения работ по обслуживанию. Разъемные соединения требуют только расчета, отвечающего всегда воспроизводимым и точно предсказываемым эксплуатационным условиям внутри корпуса. В случае связанных с автоматизирующим блоком конструктивных элементов речь идет, в частности, о магнитных опорах роторов компрессора и электродвигателя и об электродвигателе. Помимо этого могут быть предусмотрены различные устройства для измерения температуры и давления.
Автоматизирующий блок целесообразно посредством внешних сигнальных линий или внешних токопитающих линий или посредством обеих связан с базовой станцией.
В одном предпочтительном варианте осуществления изобретения дополнительный корпус соединен с корпусом компрессорного блока посредством сварки, что, с одной стороны, обеспечивает хорошую теплопроводность между корпусами, а с другой стороны, создает требуемую газонепроницаемость для подводной эксплуатации. Чтобы, тем не менее, конструктивные элементы в дополнительном корпусе были доступны при проведении работ по обслуживанию, предпочтительно, если дополнительный корпус имеет закрываемое отверстие. Это закрываемое отверстие может быть герметизировано посредством традиционного уплотнения. Для длительной подводной эксплуатации возможна герметизация этого дополнительного отверстия посредством сварного шва, что в любом случае противодействует тяжелым эксплуатационным условиям.
Чтобы, с одной стороны, надежно отводить мощность потерь из автоматизирующего блока, а с другой стороны, из компрессорного блока при работе, целесообразно, если сам компрессорный блок содержит мощную охлаждающую систему. Эта охлаждающая система, в частности, при подводной добыче природного газа, может быть выполнена с возможностью обтекания различных конструктивных элементов компрессорного блока добываемой средой и отдачи ей тепла потерь.
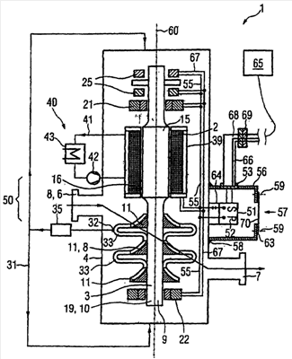
Ниже изобретение более подробно поясняется с помощью специального примера его осуществления со ссылкой на чертежи. Изображенный пример следует понимать только как иллюстрацию изобретения. На чертеже представлен: схематичный продольный разрез компрессорного блока с расположением автоматизирующего блока.
На чертеже схематично изображен разрез вдоль компрессорного блока 1, который в качестве основных деталей содержит электродвигатель 2 и компрессор 3 в газонепроницаемом корпусе 4. Корпус 4 заключает в себе электродвигатель 2 и компрессор 3. В зоне перехода от электродвигателя 2 к компрессору 3 корпус 4 снабжен впускным 6 и выпускным 7 отверстиями, причем через впускное отверстие 6 посредством всасывающего патрубка 8 сжимаемая текучая среда всасывается, а через выпускное отверстие 7 вытекает.
При работе компрессорный блок 1 расположен вертикально, причем ротор 15 электродвигателя 2 и расположенный под ним ротор 9 компрессора 3 объединены, образуя общий вал 19, вращающийся вокруг общей вертикальной оси 60 вращения.
Ротор 15 установлен в первом радиальном подшипнике 21 на своем верхнем конце.
Ротор 9 посредством второго радиального подшипника 22 установлен в нижнем положении.
На верхнем конце общего вала 19, т.е. на верхнем конце ротора 15, предусмотрен упорный подшипник 25. Радиальные 21, 22 и упорный 25 подшипники имеют электромагнитный принцип работы и, соответственно, заключены в кожухи. Радиальные подшипники 21, 22 расположены при этом в направлении периферии вокруг соответствующего места опоры вала 19, выполнены с возможностью вращения на 360° и неразъемными.
Выполненный центробежным компрессор 3 содержит три ступени 11, соответственно, сообщенные посредством перетока 33. Возникающие на ступенях 11 разности давления создают тягу на роторе 9, которая передается через муфту на ротор 15 и направлена навстречу массе образованного роторами 9, 15 общего ротора, так что в номинальном режиме происходит значительная компенсация тяги. Таким образом, упорный подшипник 25 может быть выполнен сравнительно меньше, чем при горизонтальном расположении оси 60 вращения.
Электромагнитные подшипники 21, 22, 25 охлаждаются охлаждающей системой 31 до рабочей температуры, причем охлаждающая система 31 предусматривает ответвление 32 в одном перетоке компрессора 3. Из ответвления 32 по трубопроводам через фильтр 35 направляется часть добываемой среды, преимущественно природного газа, а затем по двум отдельным трубопроводам – к внешним местам опоры (первый 21 и второй 22 радиальные подшипники и упорный подшипник 25). Это охлаждение посредством холодной добываемой среды делает ненужными дополнительные питающие линии.
Ротор 15 окружен статором 16, содержащим кожух 39, так что агрессивная добываемая среда не повреждает обмотки статора 16. При этом кожух 39 рассчитан предпочтительно так, что он способен выдерживать полное рабочее давление. Это происходит потому, что предусмотрено отдельное охлаждающее устройство 40 для статора 16, который через теплообменник 43 посредством насоса 42 подает собственную охлаждающую среду 41. По меньшей мере, кожух 39 выполнен таким образом, что участок, расположенный между статором 16 и ротором 15, имеет, правда, небольшую толщину стенки, однако при полном заполнении охлаждающего устройства 40 охлаждающей средой 41 способен выдерживать расчетное давление. Таким образом, в этой зоне предотвращаются крупные потери от вихревых токов, и повышается к.п.д. всего устройства.
Ротор 9 целесообразно содержит вал 10, на котором смонтированы отдельные ступени 11 компрессора. Это может осуществляться предпочтительно посредством горячей прессовой посадки. Точно так же возможно геометрическое замыкание, например, посредством многоугольников. В другом варианте предусмотрена сварка различных ступеней 11 компрессора друг с другом, в результате чего возникает монолитный ротор 9.
На корпусе 4 компрессорного блока 1 посредством сварного шва 58 теплопроводящим образом расположен дополнительный корпус 56. Дополнительный корпус 56 имеет отверстие 57, обеспечивающее доступ внутрь него и закрытое винтами 59 и крышкой 70. Крышка 70 сварена с примыкающими элементами дополнительного корпуса 56 герметичным швом 63, чтобы при подводной эксплуатации не могла проникнуть окружающая среда. Внутри дополнительного корпуса 56 находится автоматизирующий блок 51, состоящий из силовой электроники 52 и других конструктивных элементов. Автоматизирующий блок 51 посредством теплопроводящего элемента 64 соединен теплопроводящим образом с корпусом 4 компрессорного блока, так что возникающая мощность потерь посредством теплопроводности отводится на корпус 4.
Дополнительный корпус 56 расположен в осевой зоне 50 впускного отверстия 6 или всасывающего патрубка 8 компрессорного блока, так что господствующие там термические условия обеспечивают особенно эффективное охлаждение автоматизирующего блока 51. Вдоль оси 60 вращения компрессорного блока 1 при работе устанавливается определенный температурный профиль, который в зоне всасывающего патрубка 8 имеет, в основном, низкую точку.
Автоматизирующий блок 51 посредством внешних сигнальных линий 61 и внешних токопитающих линий 68 связан со станцией 65, которая обеспечивает управление и питание компрессорного блока 1. Внешние сигнальные линии 61 и внешние токопитающие линии 68 выполнены с возможностью разъединения посредством внешних разъемных соединений 69. Ввод 53 герметизирует вход внешних линий 66, 68 в дополнительный корпус 56.
Автоматизирующий блок 51 посредством внутренних сигнальных линий 55 и внутренних токопитающих линий 67 связан с конструктивными элементами компрессорного блока 1. Конструктивные элементы представляют собой упорные подшипники 25 и радиальные подшипники 21, 22, а также электродвигатель 2. Помимо этого предусмотрены дополнительные датчики и конструктивные элементы (не показаны), связанные с автоматизирующим блоком 51.
Дополнительный корпус, в частности, для подводной эксплуатации, выполнен из высококачественной стали. Питание от базовой станции 65 осуществляется током с напряжением 400 В.
Формула изобретения
1. Компрессорный блок (1), в частности для подводной эксплуатации, содержащий компрессор (3) с осью (60) вращения и электродвигателем (2), корпус (4), имеющий впускное отверстие (6) и выпускное отверстие (7) для добываемой среды, и автоматизирующий блок (51), выполненный с возможностью выполнения задач управления и регулирования компрессорного блока (1), отличающийся тем, что на корпусе (4) расположен дополнительный корпус (56), в котором размещен автоматизирующий блок (51).
2. Блок по п.1, отличающийся тем, что дополнительный корпус (56) расположен в зоне всасывающего патрубка (8) впускного отверстия (6) на корпусе (4) теплопроводящим образом, так что мощность потерь автоматизирующего блока (51) посредством теплопроводности отводится на корпус (4).
3. Блок по п.1 или 2, отличающийся тем, что добываемой средой является природный газ, а компрессорный блок (1) выполнен для подводной эксплуатации.
4. Блок по п.1, отличающийся тем, что автоматизирующий блок (51) связан с конструктивными элементами посредством внутренних сигнальных линий (55) и/или внутренних токопитающих линий (67).
5. Блок по п.4, отличающийся тем, что конструктивными элементами являются магнитные подшипники (упорные подшипники 25 и радиальные подшипники 21, 22) и/или электродвигатель (2).
6. Блок по п.1, отличающийся тем, что автоматизирующий блок (51) посредством внешних сигнальных линий (66) и/или внешних токопитающих линий (68) связан со станцией (65).
7. Блок по п.1, отличающийся тем, что дополнительный корпус (56) соединен с корпусом (4) посредством сварки (сварной шов (58)).
8. Блок по п.1, отличающийся тем, что дополнительный корпус (56) имеет закрываемое отверстие (70).
9. Блок по п.1, отличающийся тем, что предусмотрена охлаждающая система (31), имеющая ответвление (32) и выполненная с возможностью охлаждения компрессорного блока (1) добываемой средой.
РИСУНКИ
|
|