|
|
(21), (22) Заявка: 2008142114/06, 22.03.2007
(24) Дата начала отсчета срока действия патента:
22.03.2007
(30) Конвенционный приоритет:
24.03.2006 EP 06006071.2
(43) Дата публикации заявки: 27.04.2010
(46) Опубликовано: 10.08.2010
(56) Список документов, цитированных в отчете о поиске:
WO/2005/003512 A1, 13.01.2005. RU 2154231 C1, 10.08.2000. GB 370003 A, 29.03.1932. US 4768888 A, 06.09.1988. DE 19623553 A1, 18.12.1997.
(85) Дата перевода заявки PCT на национальную фазу:
24.10.2008
(86) Заявка PCT:
EP 2007/052755 20070322
(87) Публикация PCT:
WO 2007/110368 20071004
Адрес для переписки:
129090, Москва, ул.Б.Спасская, 25, стр.3, ООО “Юридическая фирма Городисский и Партнеры”, пат.пов. А.В.Мицу, рег. 364
|
(72) Автор(ы):
МАТЕЙССЕН Гастон (NL), ВАН АРСЕН Марк (NL)
(73) Патентообладатель(и):
СИМЕНС АКЦИЕНГЕЗЕЛЛЬШАФТ (DE)
|
(54) СПОСОБ ЭКСПЛУАТАЦИИ КОМПРЕССОРНОГО БЛОКА И КОМПРЕССОРНЫЙ БЛОК
(57) Реферат:
Изобретение относится к способу эксплуатации компрессорного блока (1), в частности, для подводной эксплуатации. При сжатии природного газа (NG) посредством компрессорного блока (1), расположенного при работе под водой, к конструктивным элементам компрессорного блока (1) подают антифриз (73) и/или в тракт течения сжимаемого природного газа (NG) впрыскивают антифриз (73). В компрессорном блоке на всасывающем патрубке (8), и/или по меньшей мере на одном подшипнике (радиальном подшипнике 21, 22, упорном подшипнике 25), и/или на двигателе (2), и/или по меньшей мере на одном перетоке (33) между двумя ступенями (11) компрессора расположен по меньшей мере один впрыскивающий модуль (72), выполненный с возможностью впрыскивания антифриза (73) в путь движения потока добываемой среды или возможностью подачи антифриза (73) в соответствующий конструктивный элемент. Использование изобретения позволяет минимизировать опасность гидратообразования. 2 н. и 9 з.п. ф-лы, 1 ил.
Изобретение относится к способу эксплуатации компрессорного блока, конкретно для подводной эксплуатации. Изобретение относится к компрессорному блоку, в частности для подводной эксплуатации, содержащему компрессор, электродвигатель, корпус с впускным и выпускным отверстиями для добываемой среды и ось вращения, вокруг которой вращается ротор компрессорного блока.
Новейшие разработки в области компрессоростроения сконцентрированы на подводном расположении мощных компрессоров, которые должны служить для добычи природного газа. Вследствие особых эксплуатационных условий, в частности из-за сильно ограниченного доступа для обслуживания и наличия питающих линий, специалисты стоят перед большими требованиями. Требования защиты окружающей среды в этой области запрещают любой материальный обмен между устанавливаемыми агрегатами и окружающей их морской водой. К тому же морская вода является агрессивной средой, и на различных морских глубинах встречаются предельные условия давления и температуры. Другое требование состоит в том, что агрегаты, с одной стороны, должны иметь предельно длительный срок службы, а с другой стороны, должны быть выполнены так, чтобы они почти не требовали обслуживания. Дополнительным осложняющим обстоятельством является значительное загрязнение частично химически агрессивной добываемой среды.
Компрессорный блок описанного выше рода уже известен из международной патентной заявки WO 01/099286 А1. Для бескомпромиссного упрощения в целях уменьшения затрат на обслуживание при одновременно длительном сроке службы в этой публикации предложено выполнить ротор компрессора за одно целое с ротором электродвигателя и установить их концами только в двух радиальных подшипниках.
Помимо этого из ЕР 1074746 В1 известно оснащение турбокомпрессора тремя радиальными подшипниками, причем ротор электродвигателя соединен с ротором компрессора посредством муфты.
Из WO 2005/003512 А1 уже известен компрессорный блок для подводного сжатия, к которому посредством специальных, пригодных для подводного использования соединителей присоединен автоматизирующий блок. Из GB 370003 А известен впрыск антифриза при сжатии воздуха.
Сжатие сред может быть проблематичным вблизи точки замерзания. При добыче природного газа перед разработчиками встают значительные проблемы в отношении газогидратообразования. Последние представляют собой похожие на лед соединения включений, в которых небольшие гостевые молекулы, например инертные газы и различные компоненты природного газа, окружены клеткой из молекул воды. Уже при небольших количествах воды и при температурах, например 10°С, приходится считаться с гидратообразованием. Катастрофа, вызванная взрывом газа на буровой платформе Piper Alpha в Северном море в 1988 г., предположительно, объясняется таким гидратообразованием. Значительные дополнительные эксплуатационные расходы при добыче природного газа вызваны, кроме того, осаждениями гидрата газа, забивающими трубопроводы.
Задачей изобретения является создание способа эксплуатации компрессорного блока и создание компрессорного блока, который в самой значительной степени минимизировал бы опасность газогидратообразования, например при подводной добыче природного газа.
Эта задача решается посредством способа по п.1 и компрессорного блока по п.11 формулы. В подчиненных им зависимых пунктах содержатся предпочтительные варианты осуществления изобретения.
Особое преимущество изобретения заключается в надежной защите от гидратообразования за счет впрыска антифриза. Это позволяет защитить как конструктивные элементы компрессорного блока, так и весь тракт добычи, начиная с места впрыска антифриза до последующего отделения. Таким образом способ также особенно целесообразен, потому что в рамках химической подготовки природного газа на примыкающей к компрессорному блоку посредством трубопровода базовой станции и без того происходит отделение нежелательных примесей. Достигнутая эксплуатационная безопасность выражается как в более высокой готовности компрессорного блока к работе, так и в высокой защите от гидратообразования в примыкающем к компрессорному блоку трубопроводе.
Впрыск антифриза может происходить во всасывающем патрубке или непосредственно в компрессоре. Подача антифриза к конструктивным элементам компрессорного блока целесообразна, в частности, для подшипников, электродвигателя и прочих подвижных деталей. Если в зоне перетока отдельных ступеней компрессора возникает особая опасность гидратообразования, то также здесь может осуществляться впрыск антифриза. Основной областью применения изобретения является добыча природного газа, поскольку здесь относительно велика опасность образования его гидратов.
В частности, обеспечить защиту от замерзания газов позволяют различные спирты. Как по экономическим, так и по техническим причинам целесообразен впрыск метилэтиленгликоля.
Немного более экономичный вариант достижения защиты от гидратообразования заключается в том, что перед каждым пуском компрессорного блока в его основных местах впрыскивается антифриз, в частности в упомянутых выше местах. В одном предпочтительном варианте перед каждой плановой остановкой компрессорного блока в его чувствительных местах впрыскивается определенное количество антифриза.
Особенно целесообразным является использование антифриза как перед каждым пуском, так и перед каждой остановкой компрессорного блока. В случае аварийной остановки компрессорного блока на переднем плане стоит его как можно более быстрое выключение, так чтобы предварительный впрыск антифриза, как правило, был невозможен. Другая возможность заключается во впрыске антифриза одновременно с инициированием остановки.
Ниже изобретение более подробно описано на специальном примере его осуществления со ссылкой на чертеж. Изображенный вариант следует понимать только как пример для пояснения изобретения. На чертеже представлен схематично продольный разрез компрессорного блока и основных соседних модулей, эксплуатируемых предложенным в изобретении способом.
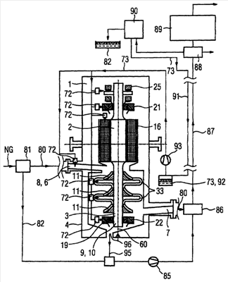
На чертеже схематично изображен разрез вдоль компрессорного блока 1, который в качестве основных деталей содержит электродвигатель 2 и компрессор 3 в газонепроницаемом корпусе 4. Корпус 4 заключает в себе электродвигатель 2 и компрессор 3. В зоне перехода от электродвигателя 2 к компрессору 3 корпус 4 снабжен впускным 6 и выпускным 7 отверстиями, причем через впускное отверстие 6 посредством всасывающего патрубка 8 сжимаемая текучая среда всасывается, а через выпускное отверстие 7 вытекает.
При работе компрессорный блок 1 расположен вертикально, причем ротор электродвигателя 2 и расположенный под ним ротор 9 компрессора 3 объединены в общий вал 19, вращающийся вокруг общей вертикальной оси 60 вращения.
Ротор электродвигателя 2 установлен в первом радиальном подшипнике 21 на своем верхнем конце.
Ротор 9 компрессора 3 посредством второго радиального подшипника 22 установлен в нижнем положении.
На верхнем конце общего вала 19, т.е. на верхнем конце ротора 15 электродвигателя 2, предусмотрен упорный подшипник 25. Радиальные и упорный подшипники имеют электромагнитный принцип работы и соответственно заключены в кожухи. Радиальные подшипники расположены при этом в направлении периферии вокруг соответствующего места опоры вала 19, выполнены с возможностью вращения на 360° и неразъемными.
Выполненный центробежным компрессор 3 содержит три ступени 11, соответственно сообщенные посредством перетока 33. Возникающие на ступенях 11 разности давления создают тягу на роторе 9, которая передается на ротор электродвигателя 2 и направлена навстречу массе образованного ротором 9 компрессора 3 и ротором электродвигателя общего ротора, так что в номинальном режиме происходит значительная компенсация тяги. Таким образом, упорный подшипник 25 может быть выполнен сравнительно меньше, чем при горизонтальном расположении оси 60 вращения.
Электромагнитные подшипники 21, 22, 25 охлаждаются охлаждающей системой (не показана) до рабочей температуры, причем охлаждающая система предусматривает ответвление в одном перетоке компрессора 3. Из ответвления по трубопроводам через фильтр направляется часть добываемой среды, преимущественно природного газа, а затем по двум отдельным трубопроводам – к внешним местам опоры (первый 21 и второй 24 радиальные подшипники и упорный подшипник 25). Это охлаждение посредством холодной добываемой среды 80 делает ненужными дополнительные питающие линии.
Ротор электродвигателя 2 окружен статором 16, содержащим кожух, так что агрессивная добываемая среда 80 не повреждает обмотки статора 16. При этом кожух рассчитан предпочтительно так, что он способен выдерживать полное рабочее давление. Это происходит потому, что предусмотрено отдельное охлаждающее устройство для статора, в котором циркулирует собственная охлаждающая среда.
Ротор 9 целесообразно содержит вал 10, на котором смонтированы отдельные ступени 11 компрессора. Это может осуществляться предпочтительно посредством горячей прессовой посадки. Точно так же возможно геометрическое замыкание, например, посредством многоугольников. В другом варианте предусмотрена сварка различных ступеней 11 компрессора друг с другом, в результате чего возникает монолитный ротор 9.
Добываемая среда 80 или природный газ NG поступает сначала из естественного резервуара в конденсатоотделитель 71, который отделяет конденсаты 82, в том числе воду, от газообразной фазы. Конденсаты 82 попадают в конденсатную линию, в которую впадает также дренажная линия 95, направляющая отделенные в компрессорном блоке конденсаты в конденсатную линию. Конденсаты 82 транспортируются конденсатным насосом 85 в смесительный блок 86, в котором происходит смешивание со сжатым природным газом NG или с добываемой средой 80. Образующаяся смесь транспортируется по трубопроводу 87 в направлении базовой станции 89.
Компрессорный блок 1 содержит систему для распределения антифриза 73, включающую в себя распределительные линии и впрыскивающие модули 72. Антифриз 73 подается насосом-дозатором 93 к различным впрыскивающим модулям 72 компрессорного блока 1. Посредством впрыскивающих модулей 72 антифриз 73 подается локально к первому радиальному подшипнику 21, упорному подшипнику 25, второму радиальному подшипнику 22 и к перетокам 33. На всасывающем патрубке 8 находится дополнительный впрыскивающий модуль 72, посредством которого антифриз 73 впрыскивается непосредственно во всасываемую добываемую среду 80.
Впрыскиваемый антифриз 73 частично отделяется в компрессорном блоке 1 и через дренаж 96 (в точке «Single-Drain-Point») компрессорного блока 1 подается в дренажную линию 95. Остаток вместе со сжатым природным газом NG транспортируется через выпускное отверстие 7 в смесительный блок 86. По трубопроводу 87 антифриз 73, природный газ NG и конденсат 82 транспортируются к базовой станции 89 на поверхности земли. Гидратообразование в трубопроводе 87 исключено за счет подхватываемого антифриза 73. Перед достижением базовой станции 89 другой конденсатоотделитель 88 обеспечивает высушивание природного газа NG, причем конденсат, включая антифриз 73, попадает в подготовитель 90, в котором антифриз 73 отделяется от остального конденсата 82. Подготовленный антифриз 73 по возвратной линии 91 возвращается вдоль трубопровода 87 в сборник 92. Замкнутый контур антифриза 73 обеспечивает защиту от гидратообразования, с одной стороны, и соблюдение соответствующих экологических стандартов, с другой стороны.
Формула изобретения
1. Способ сжатия природного газа (NG) посредством компрессорного блока (1), расположенного при работе под водой, отличающийся тем, что к конструктивным элементам компрессорного блока (1) подают антифриз (73) и/или в тракт течения сжимаемого природного газа (NG) впрыскивают антифриз (73).
2. Способ по п.1, отличающийся тем, что антифриз (73) впрыскивают непосредственно в компрессор (3) компрессорного блока (1).
3. Способ по п.1, отличающийся тем, что антифриз (73) впрыскивают непосредственно во всасывающий патрубок (8) для природного газа (NG).
4. Способ по любому из пп.1-3, отличающийся тем, что антифриз (73) подают к подшипникам (радиальным подшипникам 21, 22, упорному подшипнику 25) или в двигатель (2).
5. Способ по п.1, отличающийся тем, что антифриз (73) впрыскивают в переток (33) между двумя ступенями (11) компрессора (3) компрессорного блока (1).
6. Способ по п.1, отличающийся тем, что антифризом (73) является метилэтиленгликоль.
7. Способ по п.1, отличающийся тем, что антифриз (73) впрыскивают перед пуском компрессорного блока (1).
8. Способ по п.1, отличающийся тем, что антифриз (73) добавляют только перед пуском компрессорного блока (1).
9. Способ по п.1, отличающийся тем, что антифриз (73) добавляют перед остановкой компрессорного блока (1).
10. Способ по п.1, отличающийся тем, что антифриз (73) добавляют только перед пуском и перед остановкой компрессорного блока (1).
11. Компрессорный блок для работы согласно способу по любому из предыдущих пунктов, отличающийся тем, что на всасывающем патрубке (8) и/или по меньшей мере на одном подшипнике (радиальном подшипнике 21, 22, упорном подшипнике 25), и/или на двигателе (2), и/или по меньшей мере на одном перетоке (33) между двумя ступенями (11) компрессора расположен по меньшей мере один впрыскивающий модуль (72), выполненный с возможностью впрыскивания антифриза (73) в путь движения потока добываемой среды или возможностью подачи антифриза (73) в соответствующий конструктивный элемент.
РИСУНКИ
|
|