|
|
(21), (22) Заявка: 2008117547/06, 30.04.2008
(24) Дата начала отсчета срока действия патента:
30.04.2008
(43) Дата публикации заявки: 10.11.2009
(46) Опубликовано: 10.08.2010
(56) Список документов, цитированных в отчете о поиске:
US 5066200 А, 19.11.1991. RU 2088807 C1, 27.08.1997. RU 2326270 C1, 10.06.2008. RU 2290540 C1, 27.12.2006. GB 1496035 A, 21.12.1977.
Адрес для переписки:
662972, Красноярский край, ЗАТО Железногорск, г. Железногорск, ул. Ленина, 52, ОАО “ИСС”
|
(72) Автор(ы):
Двирный Валерий Васильевич (RU), Тестоедов Николай Алексеевич (RU), Бартенев Владимир Афанасьевич (RU), Туркенич Роман Петрович (RU), Роскин Сергей Михайлович (RU)
(73) Патентообладатель(и):
Открытое акционерное общество “Информационные спутниковые системы” имени академика М.Ф. Решетнева” (RU)
|
(54) ЭЛЕКТРОНАСОСНЫЙ АГРЕГАТ
(57) Реферат:
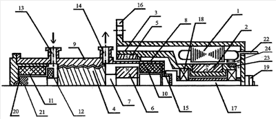
Изобретение относится к машиностроению, а именно к герметичным электронасосным агрегатам, преимущественно систем терморегулирования космических аппаратов. Электронасосный агрегат содержит корпус 9 насоса 4 с входом 13 и выходом 14, корпус 16 электродвигателя со статором 1 и ротором 2, дополнительный ротор 7 насоса на опорах 10, 11, магнитную муфту, предназначенную для передачи вращения от двигателя дополнительному ротору 7 насоса. Магниты 5, 6 муфты размещены противоположно относительно находящейся между ними герметичной тонкостенной гильзы 8. Ротор 2 электродвигателя выполнен в виде раструба 3 со стороны тонкостенной гильзы 8 с установленным на нем постоянным магнитом 5 магнитной муфты, взаимодействующим с постоянным магнитом 6, закрепленным на дополнительном роторе 7 насоса, внутри тонкостенной гильзы 8, выполненной заодно с корпусом 9 насоса 4. Со стороны входа 13 насоса выполнен гидродинамический подпятник 12. Дополнительный ротор 7 со стороны входа 13 имеет коническую выемку 21, сопряженную с шариком шариковой опоры 20 корпуса насоса. Тонкостенная гильза 8 снабжена центрирующей поверхностью 15, сопрягаемой с поверхностью неподвижной оси 17 насоса 4. Изобретение направлено на повышение КПД и улучшение эксплуатационных характеристик за счет регулирования частоты вращения в широких пределах. 5 з.п. ф-лы, 1 ил.
Предполагаемое изобретение относится к машиностроению, а именно к герметичным электронасосным агрегатам (в дальнейшем ЭНА), преимущественно систем терморегулирования космических аппаратов (в дальнейшем СТР КА). В различных областях машиностроения остро стоит проблема перекачивания агрессивных, токсичных, пожароопасных, радиоактивных, парфюмерных жидкостей, где требуется высокая герметизация внутренней полости насоса.
Известны конструкции герметичных электронасосов (см. стр.4-6 книги: С. В. Поклонов. Асинхронные двигатели герметичных электронасосов. Ленинград. Энергоатомиздат., Ленинградское отделение. 1987). Данные устройства имеют экран статора, отделяющий статор электродвигателя от полости ротора, расположенного в рабочей жидкости. Недостатком электронасосов на базе указанного электродвигателя является наличие ротора, расположенного в рабочей жидкости, сравнительно больших габаритов с относительно малыми зазорами, вызывающими при вращении повышенные потери на трение пропорциональные скорости вращения. Кроме того, материалы, применяемые при изготовлении ротора и оптимальные с точки зрения электрической машины, зачастую оказываются не стойкими в агрессивных средах, таких, например, как аммиак, применяемый в СТР КА с двухфазными контурами (далее ДФК).
В настоящее время в СТР КА для малоагрессивного теплоносителя типа изооктан применяются ЭНА (см. стр.3-4, 6-9, 16-20 книги: Краев М.В., Лукин В.А., Овсянников Б.В. Малорасходные насосы авиационных и космических систем. М.: Машиностроение, 1985), которые обеспечивают циркуляцию теплоносителей в замкнутых контурах СТР КА с заданным расходом и напором, но относительно малым кпд по вышеуказанным недостаткам ротора электрической машины, расположенного в рабочей жидкости и имеющего повышенные потери на трение о жидкость.
Известен ЭНА для СТР с ДФК применяемый в наземном оборудовании с малоагрессивным (фреон 113) и малоэффективным теплоносителем из-за нестойкости некоторых материалов, например меди, в высокоэффективном теплоносителе аммиаке (см. сборник HEAT PIPE TECHNOLOGY Theory and Applications, Proceedings of The 7th International heat Pipe Symposium, Jeju, Korea, October 12-16, 2003, стр.216, 217). ЭНА имеет затопленный ротор с вышеуказанными недостатками.
Известен также ЭНА, который содержит корпус насоса, корпус электродвигателя, выполненные из алюминиевого сплава АМг6 и герметично соединенные корпусной сваркой, рабочее колесо, подшипники качения, датчик положения ротора с магнитом, экранирующую гильзу статора, выполненную из немагнитного материала (титанового сплава), герметично соединенную сваркой с корпусом электродвигателя посредством слоистой биметаллической втулки, выполненной из алюминиевого сплава снаружи со стороны корпуса электродвигателя и из титанового сплава изнутри со стороны экранирующей гильзы (см. патент Российской Федерации 2290540 C1, MHK F 04 D 13/06, F04D 29/02). Несмотря на более высокий кпд по сравнению с известными аналогами благодаря подбору материалов, например гильзы из титанового сплава, ЭНА имеет затопленный ротор электрической машины и, соответственно, повышенные потери на трение и необходимость применения материалов ротора электрической машины в первую очередь стойких в агрессивных средах и не оптимальных по электрическим характеристикам.
Проведенный анализ патентных и научно-технических источников информации показал, что наиболее близким по технической сути (прототипом) для предлагаемого технического решения является электронасосный агрегат, сущность которого раскрыта в изобретении US 5066200. Данный центробежный насос предназначен для перекачки агрессивных и/или коррозийных материалов. ЭНА содержит корпус насоса со входом и выходом, корпус электродвигателя со статором и ротором, приводной вал насоса на опорах; магнитную сборку в виде втулки несущей магниты, размещенные таким образом, чтобы находиться в отношении противостояния с магнитами, прикрепленными к радиально-расходящейся несущей одного из концов приводного вала насоса, с расположенной между магнитами втулки и насадки герметичной стенкой; приводной вал двигателя, средства сцепления для соединения вала двигателя с валом насоса; кожух, расположенный между корпусом двигателя и корпусом насоса и герметично к ним крепящийся; герметичный резервуар для хранения жидкости.
Данное устройство является сложным конструкционно и состоит из большого числа деталей, что определяет увеличение веса и снижение надежности, что неприемлемо в условиях работы космических аппартов.
Целью предлагаемого изобретения является устранение вышеуказанных недостатков, а также увеличение КПД и улучшение эксплуатационных характеристик.
Поставленная цель достигается за счет того, что в электронасосном агрегате, содержащем корпус насоса с входом и выходом, корпус электродвигателя со статором и ротором, дополнительный ротор насоса на опорах; магнитную муфту, предназначенную для передачи вращения от двигателя дополнительному ротору насоса, магниты которой размещены противоположно относительно находящейся между ними герметичной тонкостенной гильзы, ротор электродвигателя выполнен в виде раструба со стороны тонкостенной гильзы с установленным на нем постоянным магнитом магнитной муфты, взаимодействующим с постоянным магнитом, закрепленным на дополнительном роторе насоса, внутри тонкостенной гильзы, выполненной заодно с корпусом насоса. При этом рекомендуется со стороны входа корпуса насоса выполнить подпятник, например, гидродинамический; на дополнительном роторе со стороны входа выполнить коническую выемку, сопряженную с шариком шариковой опоры корпуса насоса; снаружи тонкостенную гильзу снабдить центрирующей поверхностью, сопрягаемой с поверхностью неподвижной оси насоса; постоянные магниты на раструбе ротора электродвигателя и на дополнительном роторе насоса установить со смещением в осевом направлении; корпус электродвигателя соединить с корпусом насоса с помощью установленной неподвижно оси и гайки.
Предложенное устройство поясняется чертежом, на котором показан ЭНА, включающий следующие элементы.
Бесконтактный электродвигатель постоянного тока со статором 1 и ротором 2, который выполнен в виде раструба 3 со стороны тонкостенной гильзы 8; на внутренней стороне раструба 3 установлен постоянный магнит 5, взаимодействующий с дополнительно установленным постоянным магнитом 6, закрепленным на дополнительном роторе 7 рабочего колеса 4 лабиринтно-винтового насоса (ЛВН) внутри герметичной части ЭНА.
Герметичная часть ЭНА заключена в тонкостенную гильзу 8, выполненную заодно с корпусом 9 ЛВН. Данная конструкция включает в себя:
– постоянный магнит 6;
– гидродинамические опоры 10 и 11;
– упорный подпятник 12 (например, гидродинамический), выполненный со стороны входа корпуса ЛВН 9;
– рабочее колесо 4 лабиринтно-винтового насоса;
– штуцера входа (впуска) и выхода (выпуска) рабочего теплоносителя 13 и 14 соответственно.
Гильза 8 ЭНА точно совмещена с неподвижной осью 17 ЛВН по центрирующей поверхности 15. Благодаря этому «эксцентриситет» между магнитами 5 и 6 снижается до минимума, что снижает радиальную нагрузку на гидродинамические опоры 10 и 11.
ЭНА содержит неподвижный корпус электродвигателя 16 с осью 17 и опорами 18.
Неподвижный корпус 16 соединен с корпусом 9 ЛВН с помощью установленной неподвижно на последнем оси 17 и гайки 19.
Теплоноситель поступает к штуцеру входа 13, через штуцер выхода 14 покидает ЭНА, имея расход и повышенное давление.
В момент раскрутки шариковая опора 20 на входе корпуса ЛВН вращается и взаимодействует с конической частью (выемкой) 21 дополнительного ротора 7. Затем при возрастании скорости вращения момент в шариковой опоре 20, как известно, возрастает по кубической зависимости от скорости вращения вала n. В предложенном устройстве при скорости вращения n=nост момент трения в шариковой опоре 20 превышает момент трения в подпятнике 12, шарик шариковой опоры 20 останавливается, и работает только гидродинамический подпятник 12. Номинальная скорость вращения nном дополнительного ротора 7 больше скорости остановки nост шарика шариковой опоры 20. Постоянные магниты 5 и 6 смещаются в осевом направлении на расстояние ± , тем самым создавая усилие в осевом направлении разгружая или нагружая определенным усилием подпятник 12. Таким образом, предложенный ЭНА имеет оптимизированную электрическую часть в виде бесконтактного электродвигателя постоянного тока с «сухим» ротором 2, многофазной обмоткой статора 22, датчиком положения ротора 23 и обмоткой датчика положения ротора 24. Полупроводниковый коммутатор ППК не показан.
ЭНА работает следующим образом.
При подаче напряжения на ППК по сигналу датчика положения ротора 23 с обмоткой датчика положения ротора 24 происходит коммутация соответствующего транзисторного ключа ППК и соответствующей обмотки статора 22, затем следующей обмотки статора 22. В примере конкретного осуществления предлагаемого изобретения обмотка статора 22 была трехфазной. Коммутацией в ППК поочередно обмоток статора 22 создается вращающееся магнитное поле, которое, взаимодействуя с постоянным магнитом 5 ротора 2, приводит его во вращение. Через синхронную муфту в виде постоянных магнитов 5 и 6 вращение передается на дополнительный ротор 7 с рабочим колесом 4 лабиринтно-винтового насоса. Рабочее колесо 4 ЛВН при вращении засасывает теплоноситель через штуцер входа 13 и выпускает через штуцер выхода 14. На корпусе 9 имеется обратная винтовая нарезка.
Номинальная скорость вращения дополнительного ротора 7 поддерживалась на уровне nном=5800 об/мин. При наружном диаметре рабочего колеса 4 ЛВН, равном 22 мм, расход аммиака был равен 40 г/сек, а напор 1,8 кг/см2, что требовалось для СТР КА с ДФК. Смещение в осевом направлении постоянных магнитов 5 и 6 относительно друг друга составило 1 мм, что обеспечило устойчивую работу ЭНА.
При эксплуатации на орбите в невесомости рабочее колесо 4 ЛВН с корпусом 9 представляет собой третью гидродинамическую опору, расположенную между двумя радиальными опорами 10 и 11 дополнительного ротора 7, который имеет сравнительно небольшие размеры и соответственно небольшие гидравлические потери и высокий кпд ЭНА.
Благодаря третьей опоре обеспечена устойчивая работа в невесомости.
При nост=1800 об/мин шарик шариковой опоры 20 останавливался. Явление полускоростного вихря не наблюдалось, что подтверждено испытаниями ЭНА в вертикальном положении (электродвигатель сверху). Внутри герметичной части гильзы 8 все материалы деталей подобраны совместимыми с агрессивной жидкостью аммиак, и эти детали не являются частями электрической машины, которая оптимизирована по кпд с применением требуемых материалов для обеспечения высоких электрических характеристик. По сравнению с известными ЭНА кпд увеличен на 11%; улучшены эксплуатационные характеристики за счет ремонтопригодности.
Предложенная конструкция ЭНА предполагает осевое усилие от рабочего колеса 4 ЛВН, действующее на дополнительный ротор 7 насосного агрегата и направленное в сторону «от двигателя». Осевое усилие может быть создано осевым сдвигом магнитов 5 и 6, образующих синхронную магнитную муфту, или компенсировано до нужной величины.
Используемые до настоящего времени электродвигатели с заполнением полости ротора хладоагентом имеют ряд существенных недостатков, в частности низкий кпд, определяемый вышеуказанными дополнительными потерями, а также эксплуатационные трудности, возникающие при замене электродвигателя в системе охлаждения КА при наземной отработке и особенно в космосе, в том числе в обитаемых КА.
Использование в качестве привода бесконтактного электродвигателя постоянного тока с «сухим» ротором позволяет обеспечить:
– регулирование частоты вращения в широких пределах;
– кпд на уровне 80%;
– необходимую гарантийную наработку.
Электронный блок управления двигателем может быть выполнен как во встроенном исполнении, так и раздельно от электропривода.
В настоящее время предложенный ЭНА проходит стадию испытаний.
Формула изобретения
1. Электронасосный агрегат, содержащий корпус насоса с входом и выходом, корпус электродвигателя со статором и ротором, дополнительный ротор насоса на опорах, магнитную муфту, предназначенную для передачи вращения от двигателя дополнительному ротору насоса, магниты которой размещены противоположно относительно находящейся между ними герметичной тонкостенной гильзы, отличающийся тем, что ротор электродвигателя выполнен в виде раструба со стороны тонкостенной гильзы с установленным на нем постоянным магнитом магнитной муфты, взаимодействующим с постоянным магнитом, закрепленным на дополнительном роторе насоса, внутри тонкостенной гильзы, выполненной заодно с корпусом насоса.
2. Электронасосный агрегат по п.1, отличающийся тем, что со стороны входа корпуса насоса выполнен подпятник, например, гидродинамический.
3. Электронасосный агрегат по п.1, отличающийся тем, что дополнительный ротор со стороны входа имеет коническую выемку, сопряженную с шариком шариковой опоры корпуса насоса.
4. Электронасосный агрегат по п.1, отличающийся тем, что снаружи герметичная часть – тонкостенная гильза, снабжена центрирующей поверхностью, сопрягаемой с поверхностью неподвижной оси насоса.
5. Электронасосный агрегат по п.1, отличающийся тем, что постоянные магниты на раструбе ротора электродвигателя и на дополнительном роторе насоса установлены со смещением в осевом направлении.
6. Электронасосный агрегат по п.1, отличающийся тем, что корпус электродвигателя соединен с корпусом насоса с помощью установленной неподвижно оси и гайки.
РИСУНКИ
|
|