|
|
(21), (22) Заявка: 2008145214/06, 18.11.2008
(24) Дата начала отсчета срока действия патента:
18.11.2008
(46) Опубликовано: 10.08.2010
(56) Список документов, цитированных в отчете о поиске:
RU 2331797 C2, 20.08.2008. RU 67201 U1, 10.10.2007. SU 848757 A, 23.07.1981. US 4275988 A, 30.06.1981. WO 2006061914 A1, 15.06.2006.
Адрес для переписки:
248010, г.Калуга, ул. Билибина, 15, кв.15, Б.Н.Зотову
|
(72) Автор(ы):
Зотов Борис Николаевич (RU)
(73) Патентообладатель(и):
Зотов Борис Николаевич (RU)
|
(54) НАСОС
(57) Реферат:
Насос предназначен для установки в качестве предвключенной ступени центробежного насоса или использования в качестве осевого насоса в широком диапазоне подач. Насос состоит из шнека, имеющего лопасти 2 переменного шага. Шаг лопастей 2 изменяется от входа к выходу, причем шаг на входе S1 больше шага лопастей 2 на выходе S2. Изобретение направлено на повышение напора и КПД, улучшение кавитационных качеств насоса. 3 ил.
Насос предназначен для установки в качестве предвключенной ступени центробежного насоса или для использования в качестве осевого насоса в широком диапазоне подач.
Известно, что для улучшения кавитационных характеристик насосов перед центробежным колесом устанавливается осевое колесо – шнек постоянного шага.
Это техническое решение имеет ряд недостатков – пульсации напора и подачи на режимах по подаче, меньше 50% от максимальной подачи.
Этот недостаток частично устраняется, если шнек поместить в винтовую втулку. Такая ступень получила название «осевихревой насос» (RU 2014509 С1, 15.06.1994).
Однако известный насос также имеет ряд недостатков: повышенный напор ступени по сравнению со шнеком достигается только при подачах 50% и менее от максимальной, где КПД ступени невысок. Если параметры насоса значительны, то мощность, им потребляемая, значительна, что снижает общий КПД насоса.
В известном конструктивном исполнении насоса максимально эффективно реализована теория работы шнека как объемного насоса с утечкой, предложенная автором (Б.Н.Зотов. Расчет характеристик осевихревого насоса. «Химическое и нефтегазовое машиностроение», 2006, 7, с.20-21).
Наиболее близким аналогом изобретения является насос, состоящий из шнека, имеющего лопасти переменного шага лопастей (RU 2331797 С2, 10.12.2007). В известном насосе шнек переменного шага применяется в качестве предвключенной ступени, причем шаг лопастей шнека на входе выполняется меньше, чем шаг на выходе. Такие шнеки устанавливаются, в частности, перед центробежным колесом в насосах ракет для подачи топлива в камеры сгорания.
К недостаткам известного насоса следует отнести недостаточно эффективное повышение напора, недостаточно высокий КПД.
Задачей настоящего изобретения является повышение напора, повышение КПД, улучшение кавитационных качеств насоса при сохранении всех качеств ближайшего аналога: отсутствие пульсаций, устойчивая работа в режимах частично развитой кавитации, работа на газожидкостной смеси.
Технический результат достигается за счет того, что в насосе, состоящем из шнека, имеющего лопасти переменного шага, согласно изобретению шаг лопастей изменяется от входа к выходу, причем шаг на входе S1 больше шага лопастей на выходе.
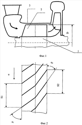
Изобретение поясняется чертежами, где схематично показаны варианты исполнения насоса.
На фиг.1 показан разрез насоса со ступенчато изменяемым шагом лопастей шнека.
На фиг.2 – лопастная система на фиг.1 в развертке по наружному диаметру лопастей D и направление окружной скорости.
На фиг.3 – разрез предлагаемого насоса с плавно изменяемым шагом лопастей шнека.
Насос содержит шнек, состоящий из цилиндрической втулки 1 с установленными на ней лопастями 2, помещенный в цилиндрический патрубок 3. Лопасти 2 выполнены переменного шага. Шаг лопастей 2 изменяется от входа к выходу, причем шаг на входе S1 больше шага лопастей на выходе S2. В отличие от известных применяемых шнеков переменного шага у предлагаемого насоса осевое расстояние между лопастями 2 шнека уменьшается от входа в насос к выходу (L1>L2>L3, фиг.3). На фиг.2 показаны S1 и S2 – шаги лопасти 2 на развертке D, если шнек двухлопастной. Шаг S может меняться ступенчато, как показано на фиг.1, 2, или плавно от входа к выходу, как показано на фиг.3.
Насос работает следующим образом. Поскольку шаг на входе S1 больше шага лопастей на выходе S2, то на входе угол 1 установки лопастей 2 больше, чем на выходе, т.е. 1> 2, то входная часть шнека будет работать с обратными токами величиной Q=uh(S1-S2), где u – окружная скорость на среднем диаметре Dcp шнека, h – высота лопастей 2, S1 – шаг лопастей 2 шнека на входе, S2 – шаг лопастей 2 шнека на выходе. Если шнек образован винтовыми поверхностями, то это шаги нарезки винтов. Расчеты показывают, что при таком исполнении напор шнека увеличивается на 25%-30% при тех же геометрических размерах по сравнению с традиционным исполнением, когда угол лопасти на входе меньше угла лопасти на выходе.
Как известно из публикаций, особые кавитационные качества шнеков реализуются, если они работают с обратными токами. В предлагаемой конструкции обратные токи имеют место во всем диапазоне подач, включая номинальную. При выборе геометрии шнека в соответствии с предлагаемым конструктивным исполнением повышается напор, повышается КПД на номинальном режиме по подаче, не требуется согласование потока за шнеком с лопастной системой центробежного колеса, так как поток за лопастной решеткой шнека практически осевой и имеет минимальную закрутку, что существенно упрощает согласование лопастной системы шнека на выходе и углов лопастей на входе в установленное за шнеком центробежное колесо.
Формула изобретения
Насос, состоящий из шнека, имеющего лопасти переменного шага, отличающийся тем, что шаг лопастей изменяется от входа к выходу, причем шаг на входе S1 больше шага лопастей на выходе S2.
РИСУНКИ
|
|