|
|
(21), (22) Заявка: 2008144573/06, 07.05.2007
(24) Дата начала отсчета срока действия патента:
07.05.2007
(30) Конвенционный приоритет:
12.05.2006 FR 0604206
(46) Опубликовано: 10.08.2010
(56) Список документов, цитированных в отчете о поиске:
FR 2760973 A1, 25.09.1998. RU 53372 U1, 10.05.2006. EP 0560709 A2, 15.09.1993. DE 3709901 A1, 06.10.1988. DE 8121531 U1, 10.10.1985. EP 0324669 A1, 19.07.1989.
(85) Дата перевода заявки PCT на национальную фазу:
11.11.2008
(86) Заявка PCT:
FR 2007/000778 20070507
(87) Публикация PCT:
WO 2007/135261 20071129
Адрес для переписки:
129090, Москва, ул.Б.Спасская, 25, стр.3, ООО “Юридическая фирма Городисский и Партнеры”, пат.пов. А.В.Мицу, рег. 364
|
(72) Автор(ы):
ГРИММЕ Марк (FR), ПАРКЕ Жан-Марк (FR), КАРПЕНТЬЕ Ален (FR), ВАРТЕЛЛЬ Клод (FR)
(73) Патентообладатель(и):
КАРМА (FR)
|
(54) РОТОРНЫЙ ОБЪЕМНЫЙ НАСОС С МАЛЫМИ РАДИАЛЬНЫМИ РАЗМЕРАМИ
(57) Реферат:
Изобретение относится к роторному объемному насосу с малыми радиальными размерами. Роторный насос состоит из внешнего зубчатого колеса 13 с множеством внутренних зубьев 16 в виде беличьей клетки и внутреннего зубчатого колеса 9, размещенного со смещением относительно центра внутри внешнего зубчатого колеса 13 и снабженного множеством внешних зубьев, входящим во взаимное зацепление с множеством внутренних зубьев 16 и имеющим меньшее на единицу число зубьев относительно числа зубьев последнего. Средство вращения множества внешних зубьев 13 содержит подшипники 11, 12, центрально лежащие на фланцах торцов 14, 15 внешнего зубчатого колеса 13. Внешнее зубчатое колесо 13 является частично разбираемым, чтобы вставить указанное внутреннее зубчатое колесо 9. Изобретение направлено на уменьшение радиальных размеров насоса с одновременным обеспечением установления и извлечения внутреннего зубчатого колеса из внешнего. 2 н. и 7 з.п. ф-лы, 9 ил.
ОПИСАНИЕ
Настоящее изобретение относится к роторному объемному насосу с малыми радиальными размерами.
В документах US 2458958, FR 1504705, EP 0560709 и DE 8121531 U1 уже описан роторный объемный насос, содержащий:
– кожух, в котором есть насосная камера и радиальные впуск и выпуск для текучей среды для указанной насосной камеры;
– внешнее зубчатое колесо с множеством внутренних зубьев, расположенное в указанной насосной камере и имеющее форму беличьей клетки, снабженной двумя торцевыми пластинами, которые соединены продольными стержнями, которые образуют указанное множество внутренних зубьев, указанное внешнее зубчатое колесо является, по меньшей мере, частично разбираемым;
– средство вращения, позволяющее указанному внешнему зубчатому колесу вращаться внутри указанной насосной камеры вокруг первой оси и содержащее, по меньшей мере, один подшипник, расположенный центрально в торцевой пластине указанного внешнего зубчатого колеса;
– внутреннее зубчатое колесо, размещенное внутри указанного внешнего зубчатого колеса и выполненное с множеством внешних зубьев, входящим в зацепление с указанным множеством внутренних зубьев внешнего зубчатого колеса, указанное внутреннее зубчатое колесо, вращающееся вокруг второй оси, параллельно и на расстоянии от указанной первой оси, а множество внешних зубьев, содержащее число зубьев меньше на один, чем число зубьев множества внутренних зубьев указанного внешнего зубчатого колеса; и
– двигатель для приведения во вращение указанного внутреннего зубчатого колеса вокруг указанной второй оси.
Предметом настоящего изобретения является усовершенствование роторного объемного насоса такого типа с целью уменьшить радиальные размеры насоса и в то же время позволить указанному внутреннему зубчатому колесу быть установленным и извлеченным из указанного внешнего зубчатого колеса.
С этими целями согласно изобретению роторный объемный насос типа, описанного выше, заслуживает внимания в том, что:
– указанная насосная камера содержит удаляемую стенку, которая может быть прикреплена к указанному кожуху, чтобы закрыть указанную насосную камеру, а подшипник указанного средства вращения расположен в указанной удаляемой стенке;
– подшипник указанного средства вращения расположен в неподвижной стенке указанной насосной камеры;
– указанный кожух содержит корпус для указанного двигателя, и указанная неподвижная стенка отделяет указанный корпус от указанной насосной камеры;
– вал двигателя, приводящего во вращение внутреннее зубчатое колесо, проходит через указанную неподвижную стенку внутри указанного подшипника; и
– указанный вал двигателя является пустотелым, и через него проходит с зазором соединительная тяга, используемая для крепления указанной удаляемой стенки к указанному кожуху.
В качестве предпочтения, по меньшей мере, одна из торцевых пластин указанного внешнего зубчатого колеса является разбираемой.
Кроме того, предпочтительно, чтобы подшипники для указанного вала двигателя, т.е. для указанного внутреннего зубчатого колеса, были размещены на указанной соединительной тяге.
Если насос согласно настоящему изобретению предназначен для погружения в гидравлическую жидкость, указанная соединительная тяга может сама по себе быть полой, чтобы указанная жидкость могла войти в нее, а в боковой стенке указанной соединительной тяги могут быть пробиты отверстия. Таким образом, указанные подшипники внутреннего зубчатого колеса, находящиеся на указанной соединительной тяге, могут смазываться указанной гидравлической жидкостью.
Чтобы избежать рисков кавитации и турбулентных потерь в жидкости, перемещаемой насосом, предпочтительно для указанного радиального впуска для текучей среды и/или для указанного радиального выпуска для текучей среды проходить от одной торцевой пластины указанного внешнего зубчатого колеса до другой.
По тем же причинам, множество внутренних зубьев внешнего зубчатого колеса и множество внешних зубьев внешнего зубчатого колеса содержит пять, самое большое, и четыре зуба соответственно. Таким образом, внешний диаметр указанного насоса может быть меньше, что соответственно сокращает скорости жидкости вокруг периферии указанного насоса.
Благодаря конкретным признакам, описанным выше, будет нетрудно понять, что насос согласно настоящему изобретению может быть уменьшен, и в то же самое время иметь реверсивную производительность.
Согласно одному примеру применения изобретения уменьшенный насос, согласно настоящему изобретению, может быть вставлен в сердечный протез, который может быть имплантирован в перикардиальную полость пациента.
Таким образом, в сердечном протезе, таком как этот, который может заменить природные левый и правый желудочки указанного пациента сразу же, как только они были удалены, и который содержит корпус, в котором размещены искусственные левый и правый желудочки, управляемые, по меньшей мере, одним гидравлическим приводом, отмечено, что указанный гидравлический привод является объемным насосом, описанным выше.
Если, как обычно, искусственные желудочки имеют закрывающую крышку, прикрепленную к указанному корпусу протеза, тогда предпочтительно, согласно настоящему изобретению, для объемного насоса, такого как этот, быть соединенным с указанной закрывающей крышкой.
Цифры на приложенных чертежах сделают более легким понимание того, как изобретение может быть осуществлено. На этих чертежах идентичные обозначения обозначают одинаковые элементы.
Фиг.1 – вид сверху одного варианта осуществления роторного объемного насоса малого размера согласно настоящему изобретению.
Фиг.2 – сечение по линии II-II на фиг.1.
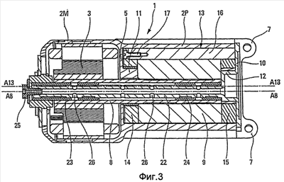
Фиг.3 – осевое сечение по линии III-III на фиг.2.
Фиг.4 – общий вид насоса на фиг.1-3, из которого были извлечены внешнее и внутреннее зубчатые колеса.
Фиг.5 – общий вид внешнего зубчатого колеса.
Фиг.6 – общий вид узла внешнего и внутреннего зубчатых колес.
Фиг.7 – общий вид, показанный схематично и частично, сердечного протеза, снабженного гидравлическим приводом.
Фиг.8 – вид сверху насоса на фиг.1-3, установленного на закрывающей пластине желудочка.
Фиг.9 – сечение по линии IX-IX на фиг.8.
Роторный объемный насос 1 согласно настоящему изобретению, показанный на фиг.1-6, содержит кожух 2, содержащий часть 2М, в которой установлен электрический двигатель 3, и часть 2Р, в которой размещена насосная камера 4. Части 2М и 2Р кожуха 2 отделены одна от другой внутренней неподвижной стенкой 5, которая является интегральной частью кожуха 2. Питание к электрическому двигателю 3 подается через электрический вывод 6, проходящий через часть кожуха 2М, и указанный кожух снабжен фиксирующими ушками 7.
Роторный вал 8 электрического двигателя 3 имеет ось А8, проходит через неподвижную внутреннюю стенку 5 и входит в насосную камеру 4. Вытянутое зубчатое колесо 9 с четырьмя закругленными внешними зубьями 9D закреплено на части указанного вала 8, который размещен в насосной камере 4.
Часть 2Р кожуха 2, которая образует указанную насосную камеру 4, открыта со стороны, противоположной части 2М, и которая может быть закрыта водонепроницаемым образом удаляемой стенкой 10, которая может быть прикреплена к указанному кожуху 2.
Подшипники 11 и 12, обозначающие ось А13 для зубчатого колеса 13, размещенного в указанной насосной камере 4, расположены в указанной внутренней стенке 5 и в указанной удаляемой стенке 10, соответственно, на той же стороне указанной насосной камеры 4 и находятся друг напротив друга,
Ось А13 параллельна оси А8, но смещена относительно нее.
Зубчатое колесо 13 воспроизводит форму беличьей клетки с двумя торцевыми пластинами 14 и 15, которые соединены пятью продольными стержнями 16, которые образуют закругленные внутренние зубы для указанного зубчатого колеса 13. В примере, показанном на чертежах, стержни 16 прикреплены к торцевой пластине 15, тогда как торцевая пластина 14 является удаляемой, будучи прикрепленной с помощью винтов 17, позволяющих ей быть отделяемой от торцевой пластины 15 и от стержней 16.
Торцевые пластины 14 и 15 выполнены соответственно с центральными круговыми вырезами 18 и 19, которые могут соответственно взаимодействовать с подшипниками 11 и 12, позволяя указанному зубчатому колесу 13 вращаться внутри указанной насосной камеры 4.
Зубчатое колесо 9 размещено внутри зубчатого колеса 13 с его торцевыми сторонами 9Е, соответственно, поблизости от торцевых пластин 14 и 15 и валом 8, проходящим через центральный круговой вырез 18 торцевой пластины 14. Необходимо понимать, что благодаря тому, что торцевая пластина 14 может быть снята, легко установить зубчатое колесо 9 внутри зубчатого колеса 13.
Если зубчатое колесо 13 установлено на подшипниках 11 и 12, а зубчатое колесо 9 размещено внутри указанного зубчатого колеса 13 и закреплено на валу 8, соответствующие закругленные зубья 9D и 16 указанных зубчатых колес могут взаимодействовать друг с другом, чтобы создать эффект разрежения.
Кроме того, та часть 2Р кожуха 2, которая определяет насосную камеру 4, имеет два противоположных отверстия 20 и 21, проходящих по длине зубчатого колеса 9, которые могут соответственно действовать как радиальное впускное отверстие и радиальное выпускное отверстие для жидкости, которая закачивается.
Таким образом, когда двигатель 3 с помощью вала 8 приводит во вращение зубчатое колесо 9 вокруг оси А8, закругленные внешние зубы 9D указанного зубчатого колеса 9 взаимодействуют с закругленными внутренними зубьями 16 зубчатого колеса 13 для приведения этого зубчатого колеса во вращение вокруг оси А13 подшипников 11 и 12. Как только это происходит, жидкость всасывается через впускное отверстие 20 и спускается через выпускное отверстие 21.
Как можно ясно видеть на фиг.3, вал 8 двигателя 3 и внутреннего зубчатого колеса 9 является полым, и соединительная тяга 22, прикрепленная к удаляемой стенке 10, проходит через него с зазором. Подшипники 23, 24 установлены на соединительной тяге 22 и участвуют во вращении внутреннего зубчатого колеса 9. Винт 25, входящий в зацепление на свободном конце соединительной тяги 22, поддерживает торец кожуха 2, противоположный торец по отношению к удаляемой стенке 10, чтобы плотно прижать указанную удаляемую стенку 10 к указанному кожуху.
Винт 25 и соединительная тяга 22 являются полыми, и в боковой стенке соединительной тяги 22 пробиты отверстия 26.
Таким образом, когда насос 1 погружен в гидравлическую жидкость, эта жидкость может смазывать подшипники 23, 24 внутреннего зубчатого колеса 9.
На фиг.7 схематично показан общий вид корпуса 30 сердечного протеза, который может быть имплантирован после того, как естественный желудочек пациента был удален, и который снабжен отверстиями 31-34 для соединения соответственно с правым предсердием, с левым предсердием, с аортой и с легочной артерией указанного пациента. Фиг.7 указывает, с внешней стороны корпуса 30, место искусственного желудочка 35, закрытого закрывающей пластиной 36, несущей привод 37 для указанного желудочка.
На фиг.8 и 9 показан вариант осуществления закрывающей пластины 36 для искусственного желудочка 35, в котором указанный привод 37 образован насосом 1, согласно настоящему изобретению, указанный насос 1 прикреплен к указанной закрывающей пластине 36 болтами 38, проходящими через ушки 7.
Формула изобретения
1. Роторный объемный насос, содержащий кожух (2), в котором есть насосная камера (4) и радиальный впуск (20) для текучей среды и выпуск (21) для указанной насосной камеры (4), внешнее зубчатое колесо (13) с множеством (16) внутренних зубьев, расположенное в указанной насосной камере (4) и образующее форму беличьей клетки с двумя торцевыми пластинами (14, 15), которые соединены продольными стержнями, которые образуют указанное множество внутренних зубьев, указанное внешнее зубчатое колесо (13) является, по меньшей мере, частично разбираемым, средство вращения (11, 12), позволяющее указанному внешнему зубчатому колесу (13) вращаться внутри указанной насосной камеры (4) вокруг первой оси (А13) и содержащее, по меньшей мере, один подшипник (11, 12), расположенный центрально в торцевой пластине (14, 15) указанного внешнего зубчатого колеса (13), внутреннее зубчатое колесо (9), размещенное внутри указанного внешнего зубчатого колеса (13) и выполненное с множеством (9D) внешних зубьев, входящим в зацепление с указанным множеством (16) внутренних зубьев внешнего зубчатого колеса (13); причем указанное внутреннее зубчатое колесо (9), вращающееся вокруг второй оси (А8), параллельно и на расстоянии от указанной первой оси (А13), и указанное множество (9D) внешних зубьев содержит число зубьев меньше на один, чем число зубьев множества внутренних зубьев указанного внешнего зубчатого колеса (13), и двигатель (3) для приведения во вращение указанного внутреннего зубчатого колеса (9) вокруг указанной второй оси (А8), при этом указанная насосная камера (4) содержит удаляемую стенку (10), которая выполнена с возможностью прикрепления к указанному кожуху (2), чтобы закрыть указанную насосную камеру (4), а подшипник (12) указанного средства вращения расположен в указанной удаляемой стенке (10), подшипник (11) указанного средства вращения расположен в неподвижной стенке (5) указанной насосной камеры (4), указанный кожух (2) содержит корпус (2М) для указанного двигателя (3), и указанная неподвижная стенка (5) отделяет указанный корпус (2М) от указанной насосной камеры (4), вал (8) двигателя (3), приводящего во вращение внутреннее зубчатое колесо (9), проходит через указанную неподвижную стенку (5) внутри указанного подшипника (11), и указанный вал (8) двигателя (3) является полым, и через него проходит с зазором соединительная тяга (22), используемая для крепления указанной удаляемой стенки (10) к указанному кожуху (2).
2. Объемный насос по п.1, в котором, по меньшей мере, одна из торцевых пластин (14, 15) указанного внешнего зубчатого колеса (13) является разбираемой.
3. Объемный насос по п.1, в котором подшипники (23, 24) для указанного внутреннего зубчатого колеса (9) размещены на указанной соединительной тяге (22).
4. Объемный насос по п.3, предназначенный для погружения в гидравлическую жидкость, при этом указанная соединительная тяга (22) является полой таким образом, что жидкость может входить в нее, и в боковой стенке указанной соединительной тяги (22) выполнены отверстия (26).
5. Объемный насос по п.1, в котором указанный радиальный впуск (20) для текучей среды проходит от одной торцевой пластины указанного внешнего зубчатого колеса (13) до другой.
6. Объемный насос по п.1, в котором указанный радиальный выпуск (21) для текучей среды проходит от одной торцевой пластины указанного внешнего зубчатого колеса (13) до другой.
7. Объемный насос по п.1, в котором множество (16) внутренних зубьев внешнего зубчатого колеса (13) содержит пять зубьев самое большее, тогда как множество внешних зубьев внутреннего зубчатого колеса (9) имеет, самое большее, четыре зуба (9D).
8. Сердечный протез, который может быть имплантирован в перикардиальную полость пациента, указанный протез выполнен с возможностью замены естественного левого и правого желудочков указанного пациента, как только они удалены, и содержит корпус (30), в котором размещены искусственные левый и правый желудочки (35), управляемые, по меньшей мере, одним гидравлическим приводом (37), в котором указанный гидравлический привод является объемным насосом (1) по п.1.
9. Сердечный протез по п.8, в котором искусственные желудочки (35) содержат закрывающую пластину (36), прикрепленную к указанному корпусу (30), в котором объемный насос соединен с такой закрывающей пластиной (36).
РИСУНКИ
|
|